Часть 1 | Часть 2 | Часть 3 | Часть 4 | Часть 5 | Часть 6 | Часть 7 | Часть 8 | Часть 9 | Часть 10
Пособие к СНиП 2.03.11-85 по проектированию защиты от коррозии бетонных и железобетонных строительных конструкций Часть 6
|
Пример 2. Усреднитель хромсодержащих стоков с габаритами 6600´1800´2300 (h). Установлен в здании. Подробные условия эксплуатации изложены в поз. 2 Задания. Из перечня компонентов гр. 5 Задания агрессивными являются Na2Cr2O7 и H2SO4, которые вызывают коррозию II вида (кислотную) при величине рН = 3 — 4. По табл. 5(5) при рН = 3 — 4 степень агрессивного воздействия среды к бетону марки по водонепроницаемости W8 оценивается как среднеагрессивная, a W6 — сильноагрессивная. Принимаем бетон марки по водонепроницаемости W8. Содержание аммонийной соли (NН4)2Сr2О7 может оказывать влияние на коррозию бетона, но концентрация соли в растворе мала и в пересчете на ион NH4+ неагрессивна к бетону с маркой по водонепроницаемости W8. По табл. 18(13) для среднеагрессивной среды могут быть применены мастичные, оклеечные или облицовочные (футеровочные) покрытия III—IV группы. Усреднитель относится к очистным сооружениям. В соответствии с табл. 23 и «Руководством по проектированию защиты от коррозии железобетонных резервуаров очистных сооружений» (ММСС, СССР, 1981) для среднеагрессивной среды рекомендуется толстослойное лакокрасочное (мастичное) покрытие на основе модифицированных эпоксидных материалов. Учитывая, однако, опыт проектирования аналогичных емкостей и особенности эксплуатации, принимаем покрытие не III, а IV группы, вариант I эпоксидно-сланцевый состав. Покрытие принято с учетом малой концентрации компонентов агрессивной среды и экономии дефицитных дорогостоящих эпоксидных материалов в соответствии с ТП 101-81*. В связи с наличием шлама на днище емкости и необходимостью периодического его удаления предусматриваем по днищу футеровку кислотоупорными штучными материалами. Принимая во внимание конструктивные особенности емкости и необходимость защиты днища и стенок на высоту образования шлама (Н = 300 мм от наиболее высокой точки днища), футеровка принята кислотоупорным кирпичом в 1/4 из условия ее статической устойчивости. Опорные столбики под барботер для перемешивания раствора выполнены в виде кладки из кислотоупорного кирпича с сохранением заданной отметки верха. Штуцер слива защищается кислотоупорным вкладышем. Покрытие емкости из монолитного железобетона с двумя люками диаметром 800 мм окрашивается эпоксидно-сланцевыми материалами аналогично защите корпуса емкости. Узлы защиты даны на рис. 2.
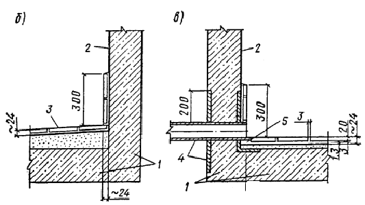
Рис. 2. Усреднитель хромсодержащих стоков а — общий вид; б — узел защиты днища и корпуса А; в — узел установки столбика из кислотоупорных материалов Б; г — узел защиты сливного штуцера В; 1 — корпус и днище желозобетонные; 2 — эпоксидно-сланцевое покрытое ЭСД-2; 3 ¾ кирпич кислотоупорный; 4 ¾ кислотоупорный вкладыш; 5 — химически стойкое уплотнение Пример 3. Нефтеловушка 12000´4000´2400 (h). Установлена в здании. Подробные условия эксплуатации изложены в позиции 3 задания. Раствор серной кислоты (графа 5 и 7 Задания) вызывает коррозию бетона II вида — кислотную. В соответствии с п. 2.58 СНиП 2.03.11¾85 бетон для емкостных сооружений для нефти и нефтепродуктов принимается марки W8. По табл. 5(5) настоящего Пособия при величине рН 3—5 определяем степень агрессивного воздействия среды к бетону марки по водонепроницаемости W8 как среднеагрессивную. По табл. 8(8) определяем степень агрессивного воздействия минерального масла. К бетону W8 минеральные масла неагрессивны. По табл. 18(13) для среднеагрессивной среды могут быть применены мастичные, оклеечные, облицовочные (футеровочные) покрытия III—IV группы. Из перечисленных покрытий принимаем толстослойное (мастичное) лакокрасочное покрытие по табл. 23 IV группы, вариант I ¾ эпоксидно-сланцевый состав. Покрытие принято с учетом малой концентрации компонентов агрессивной среды (10 мг/л Н2SО4) и экономии дефицитных и дорогостоящих эпоксидных материалов в соответствии с ТП 101-81*. Учитывая наличие шлама на днище емкости и необходимость периодического его удаления, предусматриваем по днищу слой кислотоупорной керамической плитки толщиной 20 мм. Емкость перекрыта съемными деревянными щитами. Узел установки сливного штуцера, выполненного из коррозионно-стойкой стали, и другие узлы защиты приводятся на рис. 3.
Рис. 3. Нефтеловушка (перекрытие — съемные деревянные щиты) а — общий вид; б — узел защиты днища и корпуса А; в — узел установки штуцера из коррозионно-стойкой стали Б; г — узел защиты приямка в днища В; д — узел защиты внутреннего переливного лотка Г; 1 — корпус и днище железобетонные; 2 — эпоксидно-сланцевое покрытие ЭСД-2; 3 — плитка кислотоупорная керамическая КШ-20; 4 — штуцер с фартуком из коррозионно-стойкой стали; 5 — химически стойкое уплотнение; 6 — лоток железобетонный; 7 — деревянная доска и крепление Дымовые, газодымовые и вентиляционные трубы 5.2 (2.50—2.56). Трубы по назначению разделяются на: дымовые и газодымовые — отводящие дым и газовоздушные смеси, образующиеся при сжигании различных видов топлива. В смесях содержатся газы среднеагрессивные или неагрессивные, взвеси сажи, золы и пыли. Влажность дымо- и газовоздушных смесей не превышает 60 %, температура от 70 — 600 °С; вентиляционные — отводящие слабоагрессивные, среднеагрессивные или сильноагрессивные газовоздушные смеси от вентиляционных систем или местных отсосов газовыделяющей аппаратуры или образующиеся при сжигании топлива для обжига и плавления различных материалов. Влажность слабоагрессивных или среднеагрессивных газовоздушных смесей не превышает 80 %. Температура 20—70 °С, периодически возможно образование конденсата. Влажность сильноагрессивных газовоздушных смесей достигает 95 %. Антикоррозионная защита труб устанавливается в зависимости от условий эксплуатации по среде и температуре и требований по рассеиванию дымовых газов с учетом конструктивного решения труб и определяется: высотой трубы, внутренним диаметром выходного отверстия; температурой, относительной влажностью и химическим составом отводимых газов; точкой росы удаляемых газов, возможностью образования и химическим составом конденсата на поверхности футеровки и несущего ствола; количеством, скоростью движения и статическим давлением или разрежением газов в газоотводящем стволе; суточными, месячными и годовыми изменениями условий эксплуатации; климатическим районом строительства трубы; способом возведения несущего ствола. Для железобетонного ствола дымовых и газодымовых труб с агрессивными газообразными средами, содержащими соединения серы, необходимо применять бетон на сульфатостойком портландцементе или сульфатостойком портландцементе с минеральными добавками. Допускается применение портландцементов с минеральными добавками, в клинкере которых содержание трехкальциевого алюмината c3a не превышает 7 % и общее количество C3A + C4AF £ 22 %. В качестве заполнителей для бетона труб следует применять фракционированный щебень плотных и прочных невыветренных изверженных пород водопоглощением не более 0,5 % и кварцевый или полевошпатовый песок с модулем крупности не менее 2,2. Требования к материалам и бетону труб приведены в «Инструкции по возведению монолитных железобетонных труб и башенных градирен» (ВСН 430-82 ММСС, СССР). Применение материалов с другими характеристиками для приготовления бетона несущих стволов труб производится по согласованию с проектной организацией. Защиту внутренней поверхности стволов железобетонных дымовых и газодымовых труб, а также наружных поверхностей участков зоны окутывания при температуре до 80°С следует выполнять в зависимости от степени агрессивного воздействия среды лакокрасочными покрытиями на основе эпоксидных, эпоксидно-каменноугольных, полиуретановых, бутилкаучуковых и других пленкообразующих, применяемых для получения высоконаполненных утолщенных мастичных и обычных лакокрасочных покрытий по табл. 19. Как правило, следует предусматривать лакокрасочные материалы заводского производства: эпоксидной шпатлевки ЭП-00-10, эпоксидных эмалей ЭП-140, ЭП-582, ЭП-917 и эпоксидно-каменноугольных эмалей ЭКП, полиуретанового лака УР-231, бутилкаучуковых мастик и др. Для защиты участков железобетонных стволов труб, на которых возможно образование конденсата от удаляемых газов, следует применять листовые и рулонные защитные покрытия: полиизобутилен, бутилкаучук и др., наклеиваемые на изолируемую поверхность в два слоя. От температурного воздействия дымовых газов, а также для обеспечения эффективной защиты при использовании листовых и рулонных материалов необходимо устройство прижимной футеровки. В условиях непосредственного воздействия паров серной и других кислот с температурой до 50 °С следует применять мастики на основе бутилкаучука. Общая толщина двухслойного бутилкаучукового покрытия составляет 4—5 мм. Толщина первого грунтовочного слоя — 1 ¸ 1,5 мм. Второй покровный слой (с добавкой антофилитового асбеста) наносится на изолируемую поверхность шпателем. В качестве растворителя применяется гексан. Для таких же условий эксплуатации, но при температуре отходящих газов >50°С (100 — 140°С), несущий железобетонный ствол трубы рекомендуется защитить фторлоноэпоксидным лаком ЛФЭ-32х (ТУ 6-05-1884-80). Покрытие из цементно-песчаного раствора, наносимого методом полусухого торкретирования или пневмобетонирования, применяется при подготовке поверхности бетона или кирпичной кладки, для нанесения антикоррозионной защиты, а при отсутствии в отходящих газах агрессивных составляющих — в качестве самостоятельной защиты. При повышенной влажности отходящих газов, но в отсутствии агрессивных составляющих, применяются торкрет-смеси из вяжущего, мелкого заполнителя, пластификатора и воды. В качестве вяжущего используется портландцемент или пластифицированный портландцемент марки не ниже 400, соответствующий требованиям ГОСТ 10178—85, с нормальной густотой цементного теста не более 27 %. Для улучшения качества торкрет-бетона рекомендуется добавлять в воду лигносульфонат технический (0,15 % массы цемента) или мылонафт (0,2 % массы цемента). При наличии в отходящих газах агрессивных компонентов применяются кислотоупорные торкрет-штукатурки в соответствии с ВСН 421-81 ММСС СССР «Инструкция по составам, технологии изготовления и укладки кислотоупорных торкрет-штукатурок». В зависимости от режима работы трубы и химического состава газов футеровка выполняется из глиняного кирпича на цементно-песчаном, цементно-глиняном или кислотоупорном растворе; из шамотного кирпича на цементно-шамотно-глиняном растворе; из кислотоупорного кирпича на кислотоупорном растворе. Для футеровки вентиляционных железобетонных труб должны быть применены фасонная кислотоупорная керамика и кислотоупорный кирпич на полимерной или кислотостойкой замазке. Футеровку железобетонных стволов труб при отводе продуктов сгорания природного газа, не содержащих агрессивных компонентов, с температурой 70—250 °С следует выполнять из лекального или обыкновенного глиняного кирпича на цементном растворе марки не ниже 50. Футеровку железобетонных стволов труб при отводе дымовых газов, содержащих 0,05 — 0,4 % SO2 и до 0,008 % SO3 с температурой выше точки росы и не образующих в стволе конденсата кислот (на футеровке), следует выполнять из лекального или глиняного или кислотоупорного кирпича на цементном или кислотоупорном растворе марки не ниже 50. Футеровку железобетонных стволов труб при отводе дымовых газов, содержащих 0,05 — 0,4% SO2, до 0,01 % SO3 и окислов азота с температурой 70 — 150 °С и способных образовывать на поверхности кислотный конденсат, следует выполнять из кислотоупорного кирпича на кислотоупорном растворе с устройством в местах сопряжений слезниковых поясов из кислотоупорной керамики или из блоков легкого кислотоупорного бетона на калиевом или натриевом жидком стекле, модифицированного уплотняющими добавками. Стыки блоков заполняются кислотоупорным раствором. Футеровку железобетонных стволов труб при отводе дымовых газов с температурой 300 °С и выше следует выполнять из шамотного кирпича на цементно-шамотном растворе. Заполнение зазоров в узлах сопряжения звеньев футеровки выполняется теплостойкой мягкой резиной или битумно-асбестовыми составами, обладающими эластичными свойствами в широком интервале температур. В двухслойных конструкциях дымовых труб, представляющих собой несущий ствол из тяжелого портландцементного бетона и расположенную вплотную к нему монолитную футеровку, в качестве футеровки должны применяться легкие полимерцементные или полимерсиликатные бетоны. В слабоагрессивных средах рекомендуется футеровка из легкого полимерцементного бетона повышенной коррозионной стойкости с добавкой водорастворимой ацетоноформальдегидной смолы АЦФ ЗМ (ТУ 59.02.039.57—83). В средне- и сильноагрессивных газовых средах рекомендуется несущий ствол защищать полимерсиликатным бетоном. Подземные трубопроводы 5.3 (2.61). В настоящем разделе излагается защита от коррозии подземных трубопроводов, выполненных из железобетонных труб: напорных виброгидропрессованных (ГОСТ 12586.0—83); со стальным цилиндром РТНС (ТУ 33-6-82); со стальным цилиндром, пропитанных петролатумом (ГОСТ 26819—86). Указанные трубы предназначены для транспортирования неагрессивных по отношению к бетону стальной арматуре жидкостей и эксплуатации в неагрессивных грунтах или грунтовых водах; в агрессивных средах для обеспечения их долговечности следует предусматривать меры защиты от коррозии стальной арматуры и бетона. Степень агрессивного воздействия внутренней или внешней жидкой агрессивной среды по отношению к бетону виброгидропрессованных труб устанавливается по табл. 5(5), 6(6). При этом в защитном слое марка бетона труб по водонепроницаемости должна приниматься со стороны внешней и внутренней поверхностей соответственно не ниже W4 и W6. Для труб со стальным цилиндром марка бетона по водонепроницаемости должна быть не ниже W4. По отношению к стальным элементам железобетонных труб внутренняя или внешняя среда считается агрессивной по содержанию хлор-ионов (в транспортируемой жидкости, грунтовых водах или выше уровня грунтовых вод в поровой влаге грунтов), мг/л: для виброгидропрессованных труб св. . . . . . . . . . . . . . . . . . . . 500; для труб со стальным цилиндром, не пропитанных петролатумом, при марке по водонепроницаемости защитного слоя бетона более W4 и допустимой ширине раскрытия трещин 0,1мм . . . . . . . . . . . . . . . . . . . . . . . . . . . . . . . св. 300; при марке по водонепроницаемости защитного слоя бетона менее W4 и допустимой ширине раскрытия трещин 0,2 мм . . . . . . . . . . . . . . . . . . . . . . . . . . . . . . . . . . . . . . . . . . . . . . . св. 150; для труб со стальным цилиндром, пропитанных петролатумом . . . . . . . . . . . . . . . . . . . . . . . . . . . . . . . . . . . . . . . . . св. 500 Для защиты от коррозии бетона труб следует предусматривать при слабой степени агрессивного воздействия лакокрасочные или мастичные покрытия, а при средней или сильной степени агрессивного воздействия — утолщенные мастичные покрытия или пропитку. Все защитные покрытия должны обладать механической прочностью. При содержании хлорид-ионов в грунтовых водах или выше уровня грунтовых вод в поровой влаге грунтов менее или равных величин, указанных выше, стальные элементы железобетонных труб подземных трубопроводов (арматура, стальной цилиндр, закладные детали) можно не защищать от коррозии. При содержании хлорид-ионов более величин, указанных выше, необходимо применять электрохимическую защиту от коррозии. Электрохимическая защита подземных трубопроводов предусматривается от электрокоррозии и от почвенной коррозии. Защиту металлических элементов железобетонных трубопроводов от электрокоррозии следует выполнять в анодных и знакопеременных зонах при обнаружении опасных значений потенциала «арматура—бетон» или плотности тока утечки с арматуры по табл. 24(14) в соответствии с требованиями разд. 6 настоящего Пособия. Защиту подземных трубопроводов от почвенной коррозии следует осуществлять катодной поляризацией с помощью установок катодной защиты или протекторов, которые могут использоваться самостоятельно или в комплексе друг с другом. Катодную поляризацию труб следует осуществлять так, чтобы создаваемые на поверхности металлических элементов защитные поляризационные потенциалы были (по абсолютной величине) не ниже — 0,85 В и не выше — 1,1 В по медносульфатному электроду сравнения. Защитные поляризационные потенциалы на поверхности металлических элементов труб следует измерять в специально оборудованных контрольно-измерительных пунктах, устанавливаемых с интервалом 150 — 200 м, по методике прил. 2 к ГОСТ 9.015—74*. На трубопроводах, подлежащих электрохимической защите, следует выполнять мероприятия по созданию непрерывной продольной электрической проводимости по металлу. Для этого металлические элементы отдельных труб (арматура, стальные цилиндры) должны соединяться металлическими перемычками. Электрическое сопротивление перемычки не должно превышать электрического сопротивления 1 м трубопровода. Установки электрохимической защиты (катодные станции, анодные заземления, протекторы, датчики электрохимического потенциала, неполяризующиеся электроды сравнения, кабели) должны соответствовать ГОСТ 9.015—74*. Для электрохимической защиты виброгидропрессованных труб рекомендуется использовать автоматические катодные станции акс, импульсные катодные станции ИКС, типовые катодные станции малой мощности КСС-150, КСС-300, КСС-600, КСГ-500, для протекторной защиты — протектор МП-10, для дренажной защиты — поляризованные электродренажи ПГД-200, ПГД-100, ПГД-60. 6. ОСОБЕННОСТИ ЗАЩИТЫ ЖЕЛЕЗОБЕТОННЫХ КОНСТРУКЦИЙ ОТ ЭЛЕКТРОКОРРОЗИИ 6.1 (2.62—2.65). Защита от электрокоррозии должна быть предусмотрена: а) при наличии блуждающих токов от установок постоянного тока для: железобетонных конструкций зданий и сооружений отделений электролиза; конструкций сооружений электрифицированного на постоянном токе рельсового транспорта; трубопроводов, коллекторов, фундаментов и других протяженных подземных конструкций зданий и сооружений, расположенных в поле тока от постороннего источника; б) от действия переменного тока: при использовании железобетонных конструкций в качестве заземляющих устройств; для железобетонных конструкций железнодорожного транспорта, электрифицированного на переменном токе. Опасность коррозии блуждающими токами следует устанавливать по основным показателям — величинам потенциала «арматура—бетон» или по плотности тока утечки с арматуры. Основные показатели опасности приведены в табл. 24. Таблица 24(14)
Опасность коррозии блуждающими токами допускается оценивать также по косвенным показателям (ток утечки с арматуры, электрическое сопротивление цепи заземления и т. п.). Косвенные показатели наиболее часто используются для оценки опасности электрокоррозии в анодных и знакопеременных зонах подземных частей железобетонных конструкций сооружений железнодорожного транспорта, электрифицированного на постоянном токе (табл. 25). Таблица 25
Опасность коррозии переменным током промышленной частоты для конструкций, используемых в качестве заземляющих устройств, определяется плотностью тока, длительно стекающего с внешней поверхности арматуры подземных конструкций в грунт, превышающей 10 мА/дм2. Состояние железобетонных конструкций зданий и сооружений отделений электролиза и железобетонных конструкций электрифицированного на постоянном токе рельсового транспорта является заведомо опасным, в связи с чем при проектировании этих конструкций следует в обязательном порядке предусматривать мероприятия по защите от электрокоррозии, а в период эксплуатации производить контроль за коррозионным состоянием с целью установления опасности электрокоррозии и необходимости осуществления дополнительных мероприятий по защите. Опасность электрокоррозии подземных железобетонных конструкций, расположенных в поле тока от постороннего источника, и необходимость их защиты от электрокоррозии должны быть установлены: при проектировании — по результатам расчета плотности тока утечки с арматуры или по результатам электрических измерений потенциалов «арматура—бетон» и «арматура—земля», имеющихся на трассе (площадке) аналогичных подземных железобетонных конструкций зданий и сооружений; в период эксплуатации — по результатам электрических измерений. 6.2(2.66—2.70). Способы защиты железобетонных конструкций от коррозии блуждающими токами подразделяются на группы: I — ограничение токов утечки, выполняемое на источниках блуждающих токов; II — пассивная защита, выполняемая на железобетонных конструкциях; III — активная (электрохимическая) защита, выполняемая на железобетонных конструкциях, если пассивная защита невозможна или недостаточна. При проектировании железобетонных конструкций зданий и сооружений отделений электролиза и сооружений электрифицированного на постоянном токе рельсового транспорта следует предусматривать способы защиты от электрокоррозии I и II группы. Мероприятия I группы по ограничению токов утечки выполняются на источниках блуждающих токов в соответствии с ГОСТ 9.015—74* и прил. 10 настоящего Пособия. А. Мероприятия II группы защиты — пассивная защита железобетонных конструкций, зданий и сооружений отделений электролиза и сооружений электрифицированного на постоянном токе рельсового транспорта должна обеспечиваться: применением марки бетона по водонепроницаемости не ниже W6; исключением применения бетонов с добавками — электролитами, понижающими электросопротивление бетона, в том числе ингибирующими коррозию стали; ограничением ширины раскрытия трещин не более 0,1 мм для предварительно напряженных конструкций и не более 0,2 мм для обычных конструкций; назначением толщины защитного слоя, мм, бетона не менее: а) для арматуры железобетонных конструкций отделений электролиза: плоских и ребристых плит, стен, стеновых панелей . . . . . . . . . . 20 балок, ферм, колонн . . . . . . . . . . . . . . . . . . . . . . . . . . . . . . . . . . . . 25 фундаментных балок, фундаментов . . . . . . . . . . . . . . . . . . . . . . . 30 б) для арматуры железобетонных конструкций сооружений электрифицированного железнодорожного транспорта: шпал . . . . . . . . . . . . . . . . . . . . . . . . . . . . . . . . . . . . . . . . . . . . . . . . . . 20 опор и фундаментов опор контактной сети . . . . . . . . . . . . . . . . . 16 в) для арматуры железобетонных конструкций объектов метрополитена: монолитных и сборных обделок . . . . . . . . . . . . . . . . . . . . . . . . . . 30 шпал . . . . . . . . . . . . . . . . . . . . . . . . . . . . . . . . . . . . . . . . . . . . . . . . . . 20 При изготовлении железобетонных конструкций, предназначенных для укладки под землей или под водой, применение стальных фиксаторов положения арматуры не допускается. Следует применять фиксаторы из плотного цементно-песчаного раствора или из пластмассы. Не допускается приемка в эксплуатацию подземных или подводных железобетонных конструкций, подвергающихся опасности электрокоррозии, с повреждениями защитного слоя бетона (отколы, выбоины) глубиной более 5 мм и длиной более 50 мм. На поврежденных участках необходимо восстановить защитный слой бетона. В бетон конструкций, находящихся в поле тока от постороннего источника, не допускается вводить добавки хлористых солей, а в бетон предварительно напряженных конструкций, армированных сталью классов aт-iv, aт-v, aт-vi, a-V и A-VI, — добавки хлористых солей, нитратов и нитритов. Б. Для защиты от электрокоррозии в железобетонных конструкциях отделений электролиза следует предусматривать электроизоляционные швы шириной не менее 30 мм. В отделениях водных растворов устройство швов необходимо: в перекрытиях под электролизеры и рабочих площадках для обслуживания электролизеров не реже, чем через каждые 24 м в обоих направлениях; между перекрытием под электролизеры и примыкающими к нему железобетонными стенами, колоннами и перекрытиями других отделений; в подземных конструкциях (ленточных фундаментах, фундаментных балках, каналах, коллекторах) на выходе из отделения. Швы выполняются из электроизоляционных мастичных, листовых и рулонных материалов на основе битума (кроме рубероида), полиэтилена, полихлорвинилового пластиката и т. п., полимерраствора, в виде клеевых соединений монтажных стыков конструкций или в виде воздушных зазоров. В отделениях электролиза расплавов устройство швов необходимо: в надземных конструкциях, совмещая их с температурными швами; в подземных конструкциях — не реже, чем через каждые 40 м и не менее одного между двумя продольными рядами электролизеров. Швы выполняются из материалов на основе битума и т. п. или в виде воздушных зазоров. В условиях эксплуатации воздушные зазоры должны содержаться в чистоте и ничем не перекрываться. В. В отделениях электролиза водных растворов солей опоры под электролизеры, башмаки для железобетонных опор под электролизеры, балки под электролизеры, опорные столбы под шинопроводы, фундаменты под электролизеры, опорные балки и фундаменты под оборудование, соединяемое с электролизерами, рекомендуется предусматривать из полимербетона или сталеполимербетона. Не допускается предусматривать из железобетона: фундаменты под электролизеры при установке электролизеров на нулевой отметке или отметке ниже нулевой; каналы, желоба и тому подобные конструкции для прокладки коммуникаций в полу отделений электролиза водных растворов солей. Указанные конструкции следует проектировать: для отделений электролиза водных растворов солей — из неармированного бетона, полимербетона, кислотостойкого кирпича; для отделений электролиза расплавов солей — из неармированного бетона или из бетона с местным армированием. Эстакады под электролизеры и фундаменты под оборудование (насосы, моечные машины и другое оборудование) в отделениях электролиза водных растворов солей рекомендуется устанавливать непосредственно на пол при сохранении сплошности гидроизоляции. Для защиты от электрокоррозии железобетонных фундаментов зданий цехов электролиза следует предусматривать антикоррозионную защиту поверхности фундаментов не слабее, чем для слабоагрессивных сред. При наличии агрессивных грунтовых вод защита выполняется в соответствии с СНиП 2.03.11—85 и настоящим Пособием (разд. 4). Примечания: 1. При высоком уровне грунтовых вод любой агрессивности для повышения надежности защиты железобетонных фундаментов от электрокоррозии рекомендуется предусматривать (при соответствующем технико-экономическом обосновании) устройство электроизолирующего слоя между колонной и фундаментом; в отделениях электролиза водных растворов — омоноличиванием колонны в стакане полимерраствором на основе эпоксидных (в соответствии с «Рекомендациями по приготовлению и применению полимеррастворов на основе эпоксидных смол для защиты строительных конструкций от электрокоррозии», (Свердловск, Уральский ПромстройНИИпроект, 1985), полиэфирных, полиамидных смол; при этом электроизолирующий слой (толщиной не менее 10 мм в отвержденном состоянии) должен быть выведен выше уровня пола на высоту 300 мм; в отделениях электролиза расплавов — укладкой плиток из диабаза, базальта, шлакоситалла на арзамит-замазке или полимеррастворе с введением добавок антипренов, а также из других материалов с учетом температурных условий. 2. При высоком уровне грунтовых вод любой агрессивности для повышения надежности защиты от электрокоррозии свайных фундаментов под оборудование рекомендуется предусматривать (при соответствующем технико-экономическом обосновании) электроизолирующий слой по верху бетонной подготовки: в отделениях электролиза растворов — из полимерраствора (толщиной не менее 10 мм в отвержденном состоянии), рулонных материалов и т. п.; в отделениях электролиза расплавов — из асфальта (толщиной 20 мм) и т.п. Для защиты балок подванных эстакад отделений электролиза водных растворов солей в местах обливов должны предусматриваться козырьки из армированного винипласта, полиэтилена и тому подобных материалов или металлические гуммированные козырьки. Если по условиям технологического процесса и монтажа оборудования при выходе из отделения электролиза водных растворов солей не может быть обеспечен разрыв пути блуждающего тока по трубопроводам и другим коммуникациям, транспортирующим электролит, должны предусматриваться мероприятия по защите от электрокоррозии железобетонных конструкций других отделений цеха и отдельно стоящих зданий и сооружений, связанных с трубопроводами с отделением электролиза. Г. Для защиты железобетонных конструкций сооружений транспорта, электрифицированного на постоянном токе, предусматриваются требования, изложенные в данном пункте. Для железобетонных конструкций железнодорожного транспорта должна предусматриваться установка электроизолирующих деталей и устройств для изоляции: а) деталей крепления конструкций контактной сети от арматуры и бетона железобетонных конструкций опор контактной сети, мостов, эстакад, тоннелей и т. п. или деталей крепления от заземляемых на рельсы элементов конструкций контактной сети (щеток изоляторов, штырей и т. п.); б) железобетонных анкеров опор контактной сети от оттяжек; в) всех металлических конструкций (перила и т.п.), располагаемых на железобетонных сооружениях и по условиям техники безопасности заземляемых на рельсы, от арматуры сооружений; г) арматуры железобетонных опор и фундаментов металлических опор, устанавливаемых на мостах, эстакадах и т. п., от арматуры конструкций указанных сооружений; д) заземляющих проводников от бетона и арматуры; е) металлических мачт светофоров и консольных металлических опор от анкерных болтов и бетона фундаментов; ж) заземленных на рельсы металлических частей железобетонных мачт светофоров от бетона и арматуры мачт. Электрическое сопротивление цепи заземления опор контактной сети и деталей крепления контактной сети к конструкциям мостов, эстакад, тоннелей и т. п. при приемке их в эксплуатацию должно быть не менее 10000 Ом. Арматура конструкций железнодорожных платформ не должна иметь контактов с металлическими конструкциями и арматурой железобетонных конструкций пешеходных мостов. Для защиты железобетонных конструкций линий трамвая: на лежневые части блоков или лежней следует укладывать прокладки из полимерных материалов, обладающих высокими диэлектрическими свойствами; арматура железобетонных элементов подрельсовых оснований и промежуточные рельсовые крепления не должны иметь прямого контакта с рельсами. Для защиты железобетонных конструкций метрополитена: отделку перегонных тоннелей и станций метрополитена следует выполнять из водонепроницаемых материалов. В случаях применения отделок из сборных железобетонных конструкций должны предусматриваться надежная гидроизоляция, исключающая обводнение тоннелей, а также смачивание внутренней поверхности тоннелей и бетона верхнего строения пути; в местах примыкания перегонных тоннелей к вестибюлям станций метрополитена мелкого заложения должны предусматриваться швы, заполняемые бетоном, с обеспечением сплошности гидроизоляции между тоннелями и вестибюлями станций; при необходимости применения непрерывных стержней распределительной арматуры для армированного омоноличивания элементов сборных обделок тоннелей метрополитена следует предусматривать разрывы этой арматуры, имея в виду, что длина участков омоноличивания должна быть не более 30 м; Все железобетонные подземные коллекторы и трубопроводы, расположенные на территории депо метрополитена, должны иметь наружное защитное гидроизоляционное покрытие; в местах пересечения линий метрополитена мелкого заложения с трамвайными путями обделка тоннелей метрополитена со стороны, обращенной к грунту, должна иметь защитное гидроизоляционное покрытие в пределах трамвайной линии и по 20 м в каждую сторону от оси пересечения; не разрешается оставлять металлические монтажные связи между элементами обделки тоннелей метрополитена, если они создают непрерывную цепь для блуждающих токов. Д. Мероприятия III группы защиты железобетонных конструкций от коррозии блуждающими токами заключаются в применении катодной, активной (электрохимической), протекторной, электродренажной защиты. При проектировании активной защиты должны выполняться требования настоящего Пособия, а также ГОСТ 9.015—74*, ГОСТ 16149—70 в части требований к установкам электродренажной, катодной и протекторной защиты и требований к безопасности при проведении работ по строительству и эксплуатации этих установок. При активной (электрохимической) защите железобетонных конструкций от электрокоррозии вся арматура этих конструкций должна соединяться между собой электросваркой или должны предусматриваться другие меры по исключению опасного влияния токов на отдельные части арматуры. Конструкции должны иметь выводы арматуры для подсоединения к ним устройств активной защиты и контрольно-измерительных пунктов. Электрохимическая защита должна осуществляться таким образом, чтобы исключалось вредное влияние токов защиты на смежные железобетонные и металлические сооружения. Вредным влиянием на смежные сооружения считается появление опасности электрокоррозии на соседних сооружениях, ранее не требовавших защиты; изменение величины защитного потенциала, которое не может быть снято регулировкой применяемых средств защиты. Е. Катодная защита железобетонных конструкций от электрокоррозии заключается в катодной поляризации арматуры от внешнего источника тока; при этом отрицательный полюс источника тока подключается к арматуре защищаемых конструкций, положительный — к катодному заземлению, не имеющему непосредственной электрической связи с арматурой. Катодная защита железобетонных конструкций предусматривается в случае, если эти конструкции удалены от источника блуждающих токов. Кроме того, катодная защита применяется совместно с электродренажной защитой на участках железобетонных конструкций, удаленных от точки дренирования, если включением электродренажей не удается обеспечить защиту железобетонных конструкций в пределах опасной зоны. Протекторная защита железобетонных конструкций от электрокоррозии заключается в катодной поляризации арматуры путем подключения к ней электродов (протекторов) из металла, обладающего в данной среде более отрицательным потенциалом, чем потенциал арматуры. Протекторная защита железобетонных конструкций должна предусматриваться в тех же случаях, что и катодная, если величина блуждающих токов может быть скомпенсирована током протектора. Электродренажная защита железобетонных конструкций от электрокоррозии заключается в том, что блуждающие токи, попавшие на железобетонные конструкции, отводятся на источник блуждающего тока путем устройства электрической перемычки между арматурой защищаемых конструкций и источником. Электродренажная защита должна предусматриваться для железобетонных конструкций, расположенных вблизи источников блуждающих токов (как правило, на расстоянии не более 300 — 500 м). Ж. Для подземных железобетонных конструкций зданий и сооружений, расположенных в поле тока от постороннего источника, рекомендуются следующие виды активной защиты: для трубопроводов, коллекторов, протяженных железобетонных фундаментов и т. п. — электродренажная, катодная или протекторная защита (прил. 11); для железобетонных заглубленных и полузаглубленных резервуаров — катодная и протекторная защита. Примечания: 1. При заводском изготовлении железобетонных труб необходимо предусматривать специальные выводы арматуры или закладные детали, соединенные с арматурой, для устройства электрических перемычек между арматурой смежных секций труб. 2. В каждой секции железобетонных коллекторов должны оставляться специальные выводы арматуры для устройства электрических перемычек между арматурой смежных секций коллекторов. 3. При катодной и протекторной защите железобетонных резервуаров для создания электрического контакта всех витков арматуры между собой по периметру резервуара должна предусматриваться установка вертикальных стальных шин, а при многорядном размещении арматуры соединение витков арматуры между собой должно выполняться путем установки основных и дополнительных шин. И. В отделениях электролиза при невозможности устранения в процессе эксплуатации утечки тока на отдельные конструкции рекомендуется предусматривать электродренажную защиту: для подванных железобетонных конструкций отделений электролиза водных растворов, заключающуюся в том, что металлические основания изоляторов последовательно расположенных электролизеров соединяются между собой металлическими перемычками, привариваемыми к основаниям изоляторов; для железобетонных фундаментов при попадании блуждающих токов на арматуру фундаментов с надземной части металлических и железобетонных конструкций, заключающуюся в том, что арматура фундаментов соединяется металлическими перемычками с металлическими электродами, устанавливаемыми в грунт вокруг фундамента. При этом для повышения надежности защиты между заземляющими электродами и арматурой фундамента может устанавливаться вентильная перемычка. 6.3 (2.71—2.72). Способы защиты от действия переменного тока при использовании железобетонных конструкций в качестве заземляющих устройств заключаются в соединении арматуры всех элементов конструкций (а также закладных деталей, устанавливаемых в железобетонные колонны для присоединения электрического технологического оборудования) в непрерывную электрическую цепь по металлу путем сварки арматуры или закладных деталей, соприкасающихся элементов конструкций (при этом не должна меняться расчетная схема работы конструкций). Не допускается использование в качестве заземлителей железобетонных фундаментов, подвергающихся воздействию сред средней и сильной степени агрессивного воздействия, а также железобетонных конструкций для заземления электроустановок, работающих на постоянном электрическом токе. Для защиты от электрокоррозии железобетонных конструкций сооружений рельсового транспорта, электрифицированного на переменном токе, следует предусматривать установку электроизолирующих деталей и устройств, обеспечивающих электрическое сопротивление не менее 10000 Ом цепи заземления опор контактной сети и деталей крепления контактной сети к элементам конструкций мостов, эстакад, тоннелей и т. п. В этом случае опасность электрокоррозии железобетонных конструкций в период эксплуатации не устанавливается, так как указанное электрическое сопротивление, при котором отсутствует опасность электрокоррозии, обеспечивается при выполнении требований, необходимых для нормальной работы рельсовых цепей автоблокировки. 7. ТЕХНИКО-ЭКОНОМИЧЕСКИЕ ОБОСНОВАНИЯ ВЫБОРА ЭФФЕКТИВНЫХ ПРОЕКТНЫХ РЕШЕНИЙ АНТИКОРРОЗИОННОЙ ЗАЩИТЫ 7.1. При проектировании защиты от коррозии железобетонных конструкций выбор конструктивных решений, средств и способов защиты в зависимости от вида, степени и условий агрессивного воздействия должен проводиться на основе оценки технико-экономической целесообразности их применения в конкретных условиях строительства и эксплуатации. Основной технической задачей при этом является учет функционального назначения производственных зданий и сооружений при обеспечении нормальной эксплуатации размещаемого технологического оборудования и машин в течение длительного срока службы и соответствующих условий производственной среды для работающих. При сравнении рекомендуемых вариантов защиты следует учитывать периодичность возобновления мер вторичной защиты конструкций, освоение промышленного выпуска и порядок поставки коррозионно-стойких материалов для конкретных объектов строительства. Примерные сроки службы (периодичность возобновления) антикоррозионной защиты поверхностей конструкции в зависимости от условий эксплуатации приведены в табл. 26.
Таблица 26
Предусматриваемые в проекте меры первичной и вторичной защиты должны обеспечивать указанные в табл. 27 межремонтные сроки службы (периодичность капитальных ремонтов) бетонных и железобетонных конструкций — при различных условиях эксплуатации в агрессивных средах. Таблица 27
Капитальным ремонтом считается ремонт, при котором производятся восстановление или частичная замена изношенных за межремонтный срок службы строительных конструкций, состояние которых снижает эксплуатационные характеристики зданий и сооружений или их отдельных частей. Приведенные сроки возобновления вторичной защиты и периодичность капитальных ремонтов конструкций следует рассматривать как минимальные при соблюдении действующих правил проектирования, строительства и эксплуатации производственных зданий в агрессивных средах. При применении новых коррозионно-стойких материалов и средств антикоррозионной защиты с использованием достижений науки, техники и передового опыта они могут быть повышены до оптимальных с учетом ожидаемой народнохозяйственной экономической эффективности. 7.2. Методика определения экономической эффективности антикоррозионной защиты строительных конструкций предусматривает сравнение совокупных капитальных вложений и эксплуатационных расходов по вариантам защиты, приведенных к годовой размерности с учетом фактора времени. Оптимальные меры защиты от коррозии с точки зрения экономичности выявляются сопоставлением приведенных затрат различных вариантов антикоррозионных мероприятий. Приведенные затраты по каждому из сравниваемых вариантов антикоррозионной защиты учитываются а сфере изготовления изделий и деталей, транспортирования и монтажа конструкций, возведения зданий и сооружений, а также затрат по последующей их эксплуатации. Приведенные затраты (в руб.) рассчитываются на единую натуральную единицу измерения, характеризующую сравниваемые строительные конструкции или способ антикоррозионной защиты (шт., м3, м2, м, т). Из рассматриваемых вариантов защиты от коррозии наиболее экономичным (оптимальным) следует принимать тот, при котором суммарные приведенные затраты будут наименьшими. Величина экономического эффекта при сравнении вариантов антикоррозионной защиты конструкций определяется по формуле Э = [(Зн1 + Зэ1) (Зн2 + Зэ2)] А2, (1) где Зн1 и Зн2 — приведенные затраты, осуществляемые до начала эксплуатации зданий или сооружений, по сравниваемым вариантам защиты; Зэ1 и Зэ2 — то же, осуществляемые в процессе эксплуатации; А2 — объем (количество) или площадь поверхности конструкций с эффективной защитой, приходящиеся на проектируемый строительный объект. 7.3. При оценке экономической эффективности антикоррозионной защиты на предварительных стадиях проектирования приведенные затраты для каждого из сравниваемых вариантов рекомендуется определять по формуле
где Зм(с) — приведенные капитальные вложения в сопряженные отрасли промышленности, изготавливающие и поставляющие используемые для антикоррозионной защиты материалы; n —количество материалов, отличающихся по виду или расходу в сравниваемых вариантах защиты; Сд — стоимость конструкций «в деле» без защиты от коррозии; Сз — проектная стоимость антикоррозионной зашиты (Зм(с), Сд и Сз принимаются по усредненным (удельным показателям, приведенным в табл. 1 прил. 12); Ск.р. — затраты на один капитальный ремонт; Сз.к. — затраты на возобновление вторичной защиты конструкций от коррозии (Ск.р. и Сз.к. принимаются по ориентировочным данным табл. 2 прил. 12); Сп.о. — народнохозяйственные потери, связанные с простоями размещенного в здании технологического оборудования при проведении ремонтов строительных конструкций. Для учета различий вытекающих из разновременности рассматриваемых в формуле (2) затрат и приведения этих затрат к одному моменту времени (база приведения), используется коэффициент приведения at, определяемый по формуле at = (l + E)t. (3) где Е — норматив приведения разновременных затрат, принимаемый 0,08 — 0,1; t — время в годах между моментом осуществления затрат и базой приведения. За базу приведения принимается начало первого года эксплуатации здания и сооружения. Как видно из формулы (2), затраты, осуществляемые до начала эксплуатации, приводятся к базе приведения умножением на коэффициент at, а эксплуатационные затраты делятся на соответствующий им по времени коэффициент at. При нормативных сроках строительства от 1 до 4 лет коэффициенты at равны 1,1; 1,21; 1,33 и 1,46. Значения коэффициентов приведения эксплуатационных затрат l/at = l/(l + E)t при нормативе Е = 0,1 указаны в табл. 28. Таблица 28
Количество капитальных ремонтов в формуле (2) определяется величиной gк.р. — 1 = Тс/Tк.p. — 1 (Тс — нормативный срок службы здания в годах; Тк.р. — периодичность капитального ремонта конструкций), а количество возобновлений вторичной защиты от коррозии ¾ величиной gз.к. — 1 = Тс/Tз.к. — 1 (Тз.к. — сроки службы вторичной защиты). | |||||||||||||||||||||||||||||||||||||||||||||||||||||||||||||||||||||||||||||||||||||||||||||||||||||||||||||||||||||||||||||||||||||||||||||||||||||||||||||||||||||||||||||||||||||||||||||||||||||||||||||||||||||||||||||||||||||||||||||||||||||||||||||||||||||||||||||||||||||||
Часть 1 | Часть 2 | Часть 3 | Часть 4 | Часть 5 | Часть 6 | Часть 7 | Часть 8 | Часть 9 | Часть 10
Хотите оперативно узнавать о новых публикациях нормативных документов на портале? Подпишитесь на рассылку новостей!
Все СНиПы >> СНиПы «Теплоизоляция, гидроизоляция, звукоизоляция, клеи >>





,
(2)