Часть 1 | Часть 2 | Часть 3 | Часть 4 | Часть 5 | Часть 6 | Часть 7 | Часть 8 | Часть 9 | Часть 10
Пособие к СНиП 2.03.11-85 по проектированию защиты от коррозии бетонных и железобетонных строительных конструкций Часть 5
|
4.4 (2.35—2.36). При наличии в производстве жидких агрессивных сред бетонные и железобетонные фундаменты под металлические колонны и оборудование, а также участки поверхностей других конструкций должны выступать над уровнем пола не менее чем на 300 мм. В случае невозможности выполнения данного требования должно предусматриваться обетонирование нижних участков колонн на высоту не менее 300 мм выше уровня пола с защитой от попадания агрессивных сред отгибом вверх рулонной изоляции пола на высоту 300 мм. Изоляция фундаментов и пола должна быть сплошной и единой, а для ее сохранности следует предусматривать устройство температурных компенсаторов или других мероприятий. Для компенсаторов могут быть использованы нержавеющая сталь, полиизобутилен по черной стали и т. п. Деформационные швы устраиваются, как правило, в местах расположения швов сооружения. Их герметизация осуществляется заполнением эластичными мастиками. В сухих грунтах, а также в зоне капиллярного поднятия (при неагрессивных грунтовых водах) швы могут герметизироваться битумом с волокнистым наполнителем (асбестом) или мастикой битуминоль. При слабой степени агрессивности среды деформационный шов может быть выполнен с применением в качестве компенсатора оцинкованной стали, при средней и сильной — нержавеющей стали или полиизобутилена. При систематическом попадании на фундаменты жидкостей средней и сильной степени агрессивного воздействия необходимо предусматривать устройство поддонов под оборудованием и трубопроводами. Участки поверхностей конструкций, где невозможно технологическими мероприятиями избежать облива или обрызга агрессивными жидкостями, должны иметь местную дополнительную защиту оклеечными, облицовочными или другими покрытиями. Трубопроводы подземных коммуникаций, транспортирующие агрессивные по отношению к бетону или железобетону жидкости, должны быть расположены в каналах или тоннелях и быть доступны для систематического осмотра. Сточные лотки, приямки, коллекторы, транспортирующие агрессивные жидкости, должны быть удалены от фундаментов зданий, колонн, стен, фундаментов под оборудование не менее чем на 1 м. В случае если температура технологических жидкостей внутри труб выше 60 °С, состав мастик для заливки швов назначается с соответствующей термостойкостью. 4.5 (2.38). Для конструкций, в которых устройство защиты поверхности затруднено (буронабивные сваи, конструкции, возводимые методом «стена в грунте», и т. п.), необходимо применять первичную защиту с использованием специальных видов цементов, заполнителей, подбором составов бетона, введением добавок, повышающих стойкость бетона, и т. п. 4.6 (2.39). В деформационных швах ограждающих конструкций должны быть предусмотрены компенсаторы из оцинкованной, нержавеющей или гуммированной стали, полиизобутилена или других материалов и установка их на химически стойкой мастике с плотным закреплением. Конструкция деформационного шва должна исключать возможность проникания через него агрессивной среды. Герметизация стыков и швов ограждающих конструкций должна быть предусмотрена путем заполнения зазоров герметиками. 4.7 (2.40—2.46). Защиту от коррозии поверхностей необетонируемых стальных закладных деталей и соединительных элементов сборных железобетонных конструкций в зависимости от их назначения и условий эксплуатации следует производить лакокрасочными, металлическими (цинковыми или алюминиевыми) или комбинированными покрытиями (лакокрасочными по металлизационному слою), по табл. 21. Возможно также применение термодиффузионных цинковых покрытий в соответствии с прил. 14 к СНиП 2.03.11—85.
Таблица 21
Закладные и соединительные детали элементов здания, возводимых в сейсмических районах, на просадочных грунтах и на подрабатываемых территориях, необходимо в слабоагрессивной среде при нормальном влажном режиме помещения защищать металлическими покрытиями. При соответствующем технико-экономическом обосновании могут быть применены другие системы покрытий, например протекторные грунты на жидкостекольной или лакокрасочной основе, органосиликатные покрытия, ингибированные консистентные смазки, или допущен лимитированный коррозионный износ. Каждый случай применения защитных систем, не предусмотренных СНиП 2.03.11—85, должен быть согласован с проектной организацией — автором проекта здания или сооружения и автором СНиП 2.03.11—85. Степень агрессивного воздействия среды на необетонируемые поверхности закладных и соединительных деталей определяется как к элементам металлических конструкций по разд. 5 СНиП 2.03.11—85. Выбор групп и систем лакокрасочных, металлических и комбинированных покрытий производится по табл. 29 и прил. 14 СНиП 2.03.11—85. Толщина металлизационных покрытий и металлизационного слоя в комбинированных покрытиях должна быть для цинковых и алюминиевых покрытий не менее 120 мкм. Толщина цинковых покрытий, получаемых горячим цинкованием, должна быть не менее 50 мкм, а гальваническим способом — не менее 30 мкм. При толщине слоя алюминиевого покрытия свыше 120 мкм следует перед соединением закладных деталей сваркой удалять покрытие с места наложения сварного шва. Алюминиевые металлизационные покрытия применяются для защиты закладных деталей наряду с цинковыми покрытиями. Алюминиевые покрытия закладных деталей в целях предотвращения от повреждения бетоном предварительно, до установки их в формы, подвергаются специальной гидротермальной обработке паром в соответствии с «Рекомендациями по антикоррозионной защите стальных закладных деталей и сварных соединений сборных железобетонных и бетонных конструкций покрытиями на основе алюминия» (М., 1972). Алюминиевые покрытия необходимо предусматривать для защиты закладных деталей в конструкциях из бетонов автоклавного твердения, а также в конструкциях зданий и сооружений, в атмосфере которых цинковые покрытия не являются достаточно стойкими (при наличии сернистого газа, сероводорода и др.). При нанесении покрытий степень подготовки поверхности под покрытие должна соответствовать требованиям табл. 30 СНиП 2.03.11—85. Закладные детали и соединительные элементы, находящиеся внутри стыков ограждающих конструкций, в которых возможно выпадение конденсата или увлажнение атмосферными осадками (например, при дожде с ветром) вследствие недостаточной герметичности стыков, следует защищать металлическими покрытиями, а в зданиях с агрессивными газами — комбинированными покрытиями. Защиту от коррозии закладных деталей и соединительных элементов допускается не производить, если они необходимы только на период монтажа конструкций или до стабилизации неравномерных осадок здания (когда срок стабилизации не превышает 10 лет, а степень агрессивного воздействия среды не является средней или сильной, при влажном или мокром режиме помещения) и если при этом появление ржавчины на их поверхности в период эксплуатации здания не вызовет нарушения эстетических требований. Допускается также не наносить защитные покрытия на участке закладных деталей и соединительных элементов, обращенных друг к другу плоскими поверхностями (типа листовых накладок), свариваемыми по всему контуру. Незащищенные закладные детали перед установкой в формы для бетонирования очищают от пыли, грязи, ржавчины и других загрязнений. Для защиты поверхностей элементов, полностью доступных для возобновления на них покрытий в процессе эксплуатации, независимо от степени агрессивного воздействия среды могут предусматриваться лакокрасочные покрытия. Во избежание повреждения металлического (неорганического или кремнийорганического) покрытия с тыльной стороны закладной детали при монтажной сварке рекомендуется для изготовления таких деталей применять стальные элементы (лист, полосу, профиль) толщиной не менее 6 мм. При защите поверхности железобетонных элементов и закладных деталей лакокрасочными или комбинированными покрытиями следует по возможности выбирать одно и то же лакокрасочное покрытие. При защите комбинированными или лакокрасочными покрытиями нанесение последних на лицевую поверхность закладной детали осуществляется после проведения монтажной сварки и защиты сварного шва. Восстановление разрушенного покрытия на сварном шве и близлежащих участках закладной и соединительной деталей должно осуществляться с помощью тех же систем покрытия, что и защита лицевой части. При наличии соответствующих обоснований восстановление покрытия на сварном шве может производиться другими системами покрытий (например, протекторными грунтами на жидкостекольной и лакокрасочной основе и др.), обеспечивающими требуемую долговечность. Пример 1. В атмосфере отапливаемого цеха с нормальным влажностным режимом присутствует сернистый ангидрид со средней концентрацией 50 мг/м3. Необходимо выбрать защиту для необетонируемых закладных деталей, недоступных в процессе эксплуатации для возобновления на их поверхности защитных покрытий. По прил. 1(1) определяем, что среда цеха характеризуется наличием газов группы С. По табл. 24 СНиП 2.03.11—85 определяем, что по отношению к металлическим элементам воздушная среда цеха является среднеагрессивной. По табл. 21 настоящего Пособия находим, что для защиты закладных и соединительных деталей следует применять комбинированные покрытия. В соответствии с табл. 29 СНиП 2.03.11—85 выбираем защитное покрытие системы IIIх-4(110) или IIIх-2(60). Для первой системы по прил. 14 СНиП 2.03.11—85 назначаем горячее цинковое покрытие толщиной 60 — 100 мкм, а для второй системы — металлизационное (наносимое газотермическим напылением) цинковое или алюминиевое (со специальной обработкой) покрытие толщиной 120 — 180 мкм. По горячему цинковому покрытию (табл. 29 СНиП 2.03.11—85) должны быть нанесены четыре слоя химически стойкого лакокрасочного покрытия III группы общей толщиной (включая грунтовку) 110 мкм, которые по прил. 15 СНиП 2.03.11—85 могут быть эпоксидными, перхлорвиниловыми и др. с соответствующими грунтовками. По металлизационному покрытию (табл. 29 СНиП 2.03.11—85) должны быть нанесены два слоя химически стойкого лакокрасочного покрытия III группы общей толщиной 60 мкм. Конкретная система лакокрасочного покрытия также выбирается в соответствии с прил. 15 СНиП 2.03.11—85. 4.8 (2.47—2.49). Полы производственных зданий с агрессивными средами должны проектироваться в соответствии с требованиями СНиП и обладать химической стойкостью и непроницаемостью для агрессивных растворов данного производства (кислот, солей и щелочей, органических растворителей и масел). Полы, кроме своего обычного назначения, должны служить на нижних этажах защитой от проникания технологических растворов в грунт, а на междуэтажных перекрытиях предохранять несущие конструкции от разрушения. Конструкция пола включает следующие элементы: покрытие, прослойку, гидроизоляцию с защитным слоем, стяжку, подстилающий слой и элемент защиты подстилающего слоя снизу (в полах на грунте при наличии агрессивных грунтов или грунтовых вод). Материалы, применяемые для полов предприятий с агрессивными средами, приведены в табл. 22. Таблица 22
А. Выбор гидроизоляции пола определяется степенью агрессивности жидких сред и интенсивностью их воздействия (интенсивность воздействия принимать по СНиП. При малой интенсивности и слабой степени агрессивного воздействия среды должна быть предусмотрена окрасочная изоляция. При средней и большой интенсивности воздействия слабоагрессивных жидких сред или при малой интенсивности воздействия средне- и сильноагрессивной среды следует предусматривать оклеечную изоляцию, выполняемую из рулонных материалов на основе битумов или рулонных и листовых полимерных материалов. При большой интенсивности воздействия сильноагрессивной среды должна предусматриваться усиленная оклеечная изоляция. Усиленная изоляция должна предусматриваться также под каналами и сточными лотками с распространением ее на расстояние 1 м в каждую сторону. При проектировании полов на грунте в случае средней и большой интенсивности воздействия, средне- и сильноагрессивных сред должна дополнительно предусматриваться изоляция под подстилающим слоем независимо от наличия грунтовых вод и их уровня. Б. Покрытие пола, непосредственно воспринимающее воздействие агрессивных жидкостей, выполняется монолитным (из цементно-песчаного, кислотостойкого силикатного, полимерного растворов, мастик и т. п.), из штучных химически стойких материалов на химически стойких мастиках и замазках, из листовых и рулонных химически стойких материалов. Химическая стойкость материалов для покрытий полов в зависимости от вида и концентрации агрессивных жидкостей приведена в прил. 9. В случае устройства полов на открытых этажерках и площадках при возможном попеременном их замораживании и оттаивании материал прослойки и покрытия должен обладать требуемой для данных условий эксплуатации морозостойкостью. При выборе материалов, образующих конструкцию химически-стойких полов, следует руководствоваться технико-экономическими соображениями. В. При проектировании полов в зданиях цехов с агрессивными средами особое внимание следует уделять мероприятиям, обеспечивающим непроницаемость деталей водосливных и водоотводящих устройств, деформационных швов, примыканий к фундаментам, колоннам, стенам, технологическим проемам и местам прохода через перекрытия подвесного оборудования, а также коммуникаций. Нижние участки стен и колонн следует защищать плинтусами высотой не менее 300 мм из материалов, применяемых для устройства покрытия пола, с обязательным заведением в конструкцию плинтуса гидроизоляции. Проемы для трубопроводов, проходящих через междуэтажные перекрытия, следует выполнять с таким расчетом, чтобы просвет между трубой и стенкой проема был не менее 10 мм. В проемы следует вставлять металлические или пластмассовые патрубки соответствующих диаметров. Вокруг проемов необходимо установить бортики высотой не менее высоты плинтусов, а пространство вокруг трубопровода изолировать. Места расположения технологической аппаратуры для предотвращения растекания проливов технологических растворов на поверхности пола следует окаймлять ограждающими бортиками. Гидроизоляция бортиков должна составлять с гидроизоляцией пола одно целое. Такие места должны проектироваться обязательно с жидкостеотводящими устройствами. Для отвода смывных вод и технологических агрессивных растворов с полов должны предусматриваться сточные каналы и лотки, доступные для осмотра, с максимальной протяженностью их прямолинейных участков. Каналы, лотки и приямки для отвода смывных вод следует располагать таким образом, чтобы приямки, из которых жидкость удаляется по трубам, находились у наружных стен. Трубы от приямков до первого колодца необходимо укладывать в каналы, имеющие уклон в сторону последнего. Фундаменты под оборудование, располагаемые на уровне пола. или выше, должны иметь единую с конструкцией пола сплошную гидроизоляцию. Для сохранения целостности следует предусматривать устройство компенсаторов или другие подобные меры. Деформационные швы в полах и перекрытиях следует устраивать в местах расположения деформационных швов здания. Деформационные швы в полах с уклонами для стока жидкостей должны совпадать с водоразделами полов. Заполнять деформационные швы необходимо эластичной прослойкой из мастики с волокнистыми наполнителями (асбест). 5. ЗАЩИТА ОТ КОРРОЗИИ КОНСТРУКЦИЙ СПЕЦИАЛЬНОГО НАЗНАЧЕНИЯ Емкостные сооружения 5.1 (2.57—2.60), При проектировании емкостных сооружений, предназначенных для хранения жидких агрессивных сред, рекомендуется учитывать способ установки и размещение конструкций емкостей, обеспечивать контроль за состоянием самих железобетонных конструкций и антикоррозионного защитного покрытия в период эксплуатации и отвечать требованиям ГОСТ 12.3.016—87. Конструкции емкостных наливных сооружений с агрессивной средой не должны являться одновременно конструкциями зданий. Не допускается: а) использование в качестве опор для стен, колонн и перекрытий зданий элементов железобетонных сооружений, находящихся в контакте со средне- и сильноагрессивными средами; устройство опор и колонн внутри сооружения; б) устройство смежных стен (перегородок) в сооружениях, предназначенных под налив различными по степени агрессивности средами; в) наличие металлических скоб и упоров на внутренней поверхности сооружения; г) прокладка трубопроводов в толще бетона днищ и заделка в бетон труб из полимерных материалов. При проектировании железобетонных сооружений, устанавливаемых на фундаменте, конструкция последнего должна исключать просадку сооружения. При проектировании железобетонных емкостей, заглубленных в грунт, следует предусматривать: контрольные колодцы, количество которых должно быть не менее двух. Допускается использовать в качестве контрольных колодцы, которые предусматриваются в местах подсоединения коммуникаций к штуцерам сооружения. При проектировании сооружений выше уровня грунта следует учитывать возможность промерзания стенок и в связи с этим предусматривать мероприятия (например, обваловку), исключающие возможность промерзания и деформацию защитного покрытия. Проект строительной части емкостных железобетонных сооружений должен содержать указания о необходимости проверки сооружений на герметичность до начала защитных работ по соответствующим нормативным документам. Для емкостей, расположенных в грунте, должны быть даны указания об испытании на герметичность до выполнения обратной засыпки грунта и устройства наружной гидроизоляции или защиты от коррозии. Нагревательные элементы, установленные внутри емкости с защитным покрытием, кроме футеровочного и комбинированного футеровочного покрытия, следует располагать на расстоянии не менее 50 мм, а отверстия паровых барботеров — не менее 200 мм от поверхности защитного покрытия. Отверстия для выхода пара и воздуха в барботерах должны быть направлены в сторону от защитного покрытия. Установку мешалок следует предусматривать на расстоянии не менее 300 мм от поверхности футеровочного покрытия днища или устанавливать под мешальными устройствами подкладные листы из нержавеющей стали или других материалов, устойчивых против коррозии и абразивного износа в среде данной емкости. Проектирование защиты от коррозии внутренних поверхностей емкостных сооружений (емкости для кислотных и щелочных растворов, растворов солей, воды, нефти и нефтепродуктов, очистные сооружения и т. п., именуемые в дальнейшем емкости) производится в зависимости от вида и степени агрессивного воздействия среды. Степень агрессивного воздействия жидких сред для емкостных сооружений определяется по табл. 5(5) — 8(8). Для внутренних поверхностей днищ и стенок резервуаров для хранения нефти и нефтепродуктов воздействие на конструкции сырой нефти и мазута следует оценивать как среднеагрессивное, а воздействие дизельного топлива и керосина — как слабоагрессивное. Для внутренних поверхностей покрытия резервуаров воздействие перечисленных жидкостей следует оценивать как слабоагрессивное. Требования к железобетонным конструкциям емкостных сооружений в зависимости от степени агрессивного воздействия среды следует принимать по табл. 15(11). В емкостных сооружениях для нефти и нефтепродуктов должен быть применен бетон марки по водонепроницаемости не менее W8. Выбор группы и вида защитных покрытий производится по табл. 18(13). Наружные поверхности емкостных сооружений следует защищать в соответствии с требованием разд. 4 настоящего Пособия. Емкости, заглубленные в грунт, должны иметь наружную гидроизоляцию, исключающую попадание капиллярной влаги и агрессивных грунтовых вод к поверхности железобетона. Наружная оклеечная гидроизоляция выполняется в соответствии с разд. 4. Покрытия для защиты внутренних поверхностей емкостных сооружений должны удовлетворять следующим требованиям: быть стойкими к агрессивной среде, прочными, устойчивыми к абразивному истиранию, механическим нагрузкам; обеспечивать длительную эксплуатацию защищаемых емкостей, работоспособность в заданных условиях; быть технологичными при выполнении и ремонтопригодными. Для защитных покрытий применяют специальные химически стойкие лакокрасочные материалы, в том числе армированные. Армированные лакокрасочные покрытия представляют собой химически стойкие лакокрасочные покрытия, упрочненные слоем стеклоткани. Армированные лакокрасочные покрытия применяют в виде самостоятельных антикоррозионных покрытий, а также для создания непроницаемого подслоя в комбинированных конструкциях защитных покрытий. Они обладают механической прочностью и стойкостью к абразивным воздействиям. Из мастичных покрытий применяются жидкие резиновые смеси, эпоксидно-сланцевые покрытия и др. Из листовых покрытий для антикоррозионной защиты емкостей применяются профилированный полиэтилен, активированная полиэтиленовая пленка, поливинилхлоридный пластикат и т.д. Футеровочные покрытия предусматриваются по лакокрасочному или мастичному покрытиям при наличии абразивных воздействий. Футеровочные комбинированные покрытия включают в себя один или несколько слоев штучных кислотоупорных материалов (кирпич, углеграфитовые материалы, каменное литье и т.д.) на химстойких замазках (силикатных, на основе огранических смол и т.д.) и непроницаемый подслой (листовые термопласты и т.д.). При этом необходимо обеспечивать: допустимую температуру на непроницаемом подслое; статическую устойчивость футеровки; механическую прочность футеровки. Штучные кислотоупорные материалы обеспечивают допустимую для непроницаемого подслоя температуру на его поверхности и защищают его от механических нагрузок и эрозионного воздействия среды, одновременно снижают агрессивность проницающей к непроницаемому подслою, рабочей среды. Непроницаемый подслой непосредственно защищает корпус от проникающей через поры и дефекты футеровочного слоя агрессивной среды. Выбор вяжущего для растворов обусловливается характером агрессивной среды (кислота, щелочь, переменная среда, наличие примеси органических продуктов). Для кислых растворов рекомендуются кислотоупорные силикатные замазки (андезитовая, диабазовая), замазки арзамит. Для щелочных растворов — портландцементный раствор, замазка арзамит-5 и др. Для переменных сред футеровка штучными материалами может быть выполнена с разделкой швов кислотощелочестойкой замазкой арзамит-5. В каждом случае при выборе материалов покрытия следует проверить по документам их коррозионную стойкость к каждому из компонентов агрессивной среды. Рекомендуемые варианты защитных покрытий внутренних поверхностей железобетонных емкостных сооружений приведены в табл. 23. Таблица 23 (прил. 4)
Условия эксплуатации, обусловленные воздействием повышенной температуры, абразива, предъявляют повышенные требования к долговечности и надежности защиты корпуса. Крышки футерованных емкостей, расположенные в газовой среде, не подвергаются прямому воздействию жидкой агрессивной среды, что позволяет в большинстве случаев использовать для них более слабую защиту по сравнению с корпусом. Для штуцеров и люков больших диаметров (400 мм и более) может быть принята та же конструкция защитного покрытия, что и для корпуса аппарата. Для штуцеров меньшего диаметра в большинстве случаев необходима установка в штуцер вкладышей из химически стойкого в агрессивной среде материала. Для упрощения оценки условий эксплуатации и выбора защитных мер целесообразно оформлять задание на проектирование антикоррозионной защиты емкостных сооружений и их элементов в форме таблицы, куда включаются сведения по химическому составу агрессивной среды (по компонентам); концентрации компонентов, водородному показателю среды рН; температуре; давлению; наличию абразивных примесей; степени наполнения; месту установки и др. Ниже приводятся пример оформления задания и примеры выбора защитных покрытий в соответствии с этим заданием для емкости, усреднителя стоков и нефтеловушки. Пример 1. Емкость для хранения сернокислого алюминия с габаритами 4000´7600´3000 (h). Подробные условия эксплуатации изложены в поз. 1 Задания. На основании данных граф 5 и 7 Задания определяем вид коррозии Al2(SO4)3 по отношению к бетону. ФОРМА 1 Заказчик ПСД Объект (завод, корпус) Производство Стадия проектирования Задание на проектирование антикоррозионной защиты железобетонных емкостных сооружение
Продолжение формы
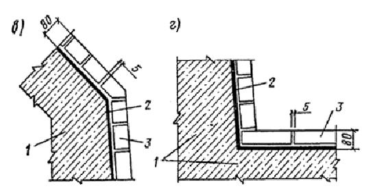
Сульфат алюминия является агрессивным компонентом по следующим показателям: по содержанию соли — 260000 мг/л и по содержанию сульфатов в пересчете на ионы SO4 — 222000 мг/л (физическая и химическая коррозия III вида). Кроме того, Al2(SO4)3 как соль слабого основания и сильной кислоты опасна и по показателю рН (кислотная коррозия II вида). Исходя из этого по табл. 5(5) и 6(6) настоящего Пособия оцениваем степень агрессивного воздействия среды как сильноагрессивную к бетону марки по водонепроницаемости W8. Конструкция емкости должна быть выполнена из бетона на сульфатостойком цементе марки по водонепроницаемости W8. По табл. 18(13) для сильноагрессивной среды могут быть применены мастичные, оклеечные или облицовочные (футеровочные) покрытия IV группы. Емкость для хранения сернокислого алюминия является ответственным сооружением, внутренняя поверхность которого подвергается абразивным воздействиям, связанным с технологическими особенностями загрузки и растворения продукта. В соответствии с табл. 23, с учетом особенностей эксплуатации емкости, учитывая опыт проектирования аналогичных сооружений, принимается футеровочное комбинированное покрытие IV группы, вариант I с непроницаемым подслоем из полиизобутилена ПСГ. В качестве футеровочного слоя принят кислотоупорный кирпич на силикатной замазке, стойкой в кислых средах. Исходя из условия статической устойчивости футеровки, по подслою, с учетом высоты и конструкции емкости с наклонными стенками, футеровка принята в 1/4 кирпича. Емкость перекрыта съемными деревянными щитами. Узел установки сливного штуцера, выполненного из коррозионно-стойкой стали, и другие узлы защиты приводятся на рис. 1.
Рис. 1. Емкость для хранения сернокислого алюминия (перекрытие — съемные деревянные щиты) а ¾ общий вид емкости; б — узел защиты верхней части корпуса А; в — узел защиты корпуса Б; г — узел защиты корпуса и днища В; д — узел защиты верхней части перегородки Г; е — узел установки штуцера из коррозионно-стойкой стали Д; 1 — корпус и днище железобетонные; 2 — полиизобутилен ПСГ; 3 — кирпич кислотоупорный; 4 — перегородка железобетонная; 5 — решетка металлическая; 6 — штуцер с фартуком из коррозионно-стойкой стали; 7 — химически стойкое уплотнение | |||||||||||||||||||||||||||||||||||||||||||||||||||||||||||||||||||||||||||||||||||||||||||||||||||||||||||||||||||||||||||||||||||||||||||||||||||||||||||||||||||||||||||||||||||||||||||||||||||||||||||||||||||||||||||||||||||||||||||||||||||||||||||||||||||||||||||||||||||||||||||||||||||||||||||||||||||||||||||||||||||||||||||||
Часть 1 | Часть 2 | Часть 3 | Часть 4 | Часть 5 | Часть 6 | Часть 7 | Часть 8 | Часть 9 | Часть 10
Хотите оперативно узнавать о новых публикациях нормативных документов на портале? Подпишитесь на рассылку новостей!
Все СНиПы >> СНиПы «Теплоизоляция, гидроизоляция, звукоизоляция, клеи >>


