CНиП 2.01.09-91. Здания и сооружения на подрабатываемых территориях и просадочных грунтах Часть 3
|
ПРИЛОЖЕНИЕ 7
Обязательное
ИНЖЕНЕРНЫЕ СООРУЖЕНИЯ И ТРУБОПРОВОДЫ
1. Сооружения башенного типа (силовые корпуса, угольные башни и т.п.) следует проектировать на основе жестких конструктивных схем.
При расчетных кренах башенных сооружений, превышающих предельные, необходимо увеличивать размеры подошвы фундамента, опускать, по возможности, центр тяжести сооружения, предусматривать вантовые устройства, а также мероприятия по выравниванию сооружения.
2. Транспортерные галереи следует проектировать по податливым схемам.
Для подрабатываемых территорий групп I, Iк и II, IIк (табл. 1, 2 п.2.4), а также для просадочных грунтов групп I’, 0, I и II (табл. 5, 6 п.2.9) несущие конструкции транспортерных галерей необходимо, как правило, предусматривать металлическими.
3. Транспортерные галереи следует предусматривать разрезной конструкции со швами на опорах, при этом должна обеспечиваться возможность рихтовки галереи на опорах в горизонтальной плоскости по нормали к ее продольной оси.
Опирание транспортерной галереи на здание следует проектировать подвижным. Деформационные швы должны быть перекрыты нащельниками.
4. Опоры транспортерных галерей на подрабатываемых территориях групп Iк-IIIк следует проектировать на общих фундаментах, рассчитанных на воздействие уступов земной поверхности в их основании.
5. Протяженные подземные сооружения (тоннели, каналы, переходы и т.п.) следует проектировать:
в продольном направлении - по податливым схемам с разрезкой деформационными швами на отдельные жесткие отсеки;
в поперечном направлении - по податливым и жестким конструктивным схемам.
6. Длину отсеков протяженных подземных сооружений следует принимать в зависимости от несущей способности конструкции, величин нагрузок и воздействий от деформаций основания.
Деформационные швы между смежными отсеками необходимо защищать от попадания подземных вод с применением упругих заполнений, компенсационных вставок и т.п.
7. Продольные уклоны протяженного подземного сооружения, предусматриваемые для отвода аварийных вод, следует устанавливать с учетом возможных наклонов земной поверхности.
8. Для обеспечения нормальной эксплуатации инженерных коммуникаций, проложенных в протяженных подземных сооружениях, следует предусматривать устройство специальных податливых опор и компенсационных устройств.
9. Емкостные заглубленные сооружения, возводимые на подрабатываемых территориях, следует проектировать по податливым, комбинированным или жестким конструктивным схемам с учетом требований СНиП 2.04.01-85, СНиП 2.04.02-84, СНиП 2.04.03-85.
10. При проектировании закрытых емкостных заглубленных сооружений преимущество следует отдавать податливым и комбинированным конструктивным схемам.
Податливая конструктивная схема осуществляется устройством приспособленных к неравномерным деформациям основания податливых водонепроницаемых швов на стыках сборных конструктивных стен, а также в их соединениях с покрытием, днищем и перегородками.
11. При проектировании открытых емкостных заглубленных сооружений предпочтение следует отдавать жестким и комбинированным конструктивным схемам.
Открытые емкостные заглубленные сооружения, имеющие стационарное оборудование, следует проектировать по жестким схемам.
Открытые заглубленные сооружения, не имеющие стационарного оборудования, следует проектировать:
прямоугольными в плане - по жесткой конструктивной схеме;
круглыми - по жесткой конструктивной схеме при наличии подземных вод и по комбинированной - с днищем, отсеченным от стен деформационным швом, при отсутствии подземных вод.
12. При проектировании емкостных заглубленных сооружений для строительства на площадках с высоким уровнем подземных вод конструкции податливых швов должны обеспечивать восприятие двухстороннего гидростатического давления.
13. Расстояние от водосодержащих сооружений, проектируемых для строительства на просадочных грунтах, до зданий и сооружений должно быть:
при грунтовых условиях I типа по просадочности - не менее полуторной толщины просадочного слоя;
при грунтовых условиях II типа по просадочности при водопроницаемых подстилающих грунтах - не менее полуторной толщины просадочного слоя, при водонепроницаемых - не менее трехкратной толщины этого слоя (но более 40 м) .
14. Сооружения с мокрыми технологическими процессами и сооружения, предназначенные для хранения запасов воды (градирни, брызгальные бассейны, очистные устройства, резервуары и т.п.), следует проектировать с учетом водозащитных мероприятий.
Сооружения, эксплуатация которых приводит к обводнению прилегающей к ним территории (брызгальные бассейны, градирни и т.п.), необходимо окружать отмостками шириной не менее 10 м с уклонами 3% в сторону сооружения.
15. Сооружения, у которых замачивание просадочных грунтов оснований возможно из-за утечек из внутренних сетей близко расположенных наружных водонесущих коммуникаций или из-за общего или местного повышения уровня подземных вод, следует проектировать с учетом водозащитных мероприятий, а в случае подтопления заглубленных частей - с учетом воздействия подпора подземных вод.
16. Не допускаются строительство на подрабатываемых территориях объектов с ядерными технологическими процессами и предприятий по производству и хранению токсичных, взрыво- и пожароопасных веществ, а также прокладка соответствующих технологических трубопроводов.
17. Трубопроводы, транспортирующие взрыво- и пожароопасные жидкости и газы на просадочных грунтах, следует прокладывать на безопасных расстояниях от жилых массивов, промышленных предприятий, железных, шоссейных дорог и других объектов в соответствии со СНиП 2.04.07-86 "Тепловые сети", СНиП II-89-80 "Генеральные планы промышленных предприятий" и СНиП 2.04.02-84 "Водоснабжение. Наружные сети и сооружения".
18. Прочность трубопроводов следует проверять при совместном действии нагрузок, возникающих в обычных условиях строительства и регламентированных установленными нормами, а также при воздействиях от подработки или просадки грунтов.
19. В качестве конструктивных мер защиты следует устанавливать компенсаторы, повышать прочность труб и сварных стыков в сочетании с полимерными покрытиями и малозащемляющими обсыпками, а также повышать герметичность раструбных стыков.
ПРИЛОЖЕНИЕ 8
Справочное
ТЕРМИНЫ И ОПРЕДЕЛЕНИЯ (ДЛЯ ПОДРАБАТЫВАЕМЫХ ТЕРРИТОРИЙ)
1. Вероятные сдвижения и деформации - величины сдвижений и деформаций, определяемые в условиях, когда отсутствуют календарные планы развития горных работ.
2. Вертикальные деформации земной поверхности (наклоны, кривизна) - деформации земной поверхности в вертикальной плоскости, вызванные неравномерностью вертикальных сдвижений.
3. Горизонтальное сдвижение - горизонтальная составляющая вектора сдвижения точки земной поверхности в мульде сдвижения.
4. Кривизна мульды сдвижения - отношение разности наклонов двух соседних интервалов мульды к полусумме длин этих интервалов.
В точках мульды различают кривизну:
5. Мульда сдвижения земной поверхности - участок земной поверхности, подвергшийся сдвижению под влиянием подземных разработок.
6. Наклоны интервалов в мульде сдвижения - отношение разности оседаний двух соседних точек мульды к расстоянию между ними.
В точках мульды различают наклоны:
7. Ожидаемые сдвижения и деформации - величины сдвижений и деформаций, определяемые в условиях, когда имеются календарные планы развития горных работ и известны необходимые для расчетов исходные данные.
8. Оседание - вертикальная составляющая вектора сдвижения точки земной поверхности в мульде сдвижения.
9. Относительные горизонтальные деформации растяжения или сжатия - деформации земной поверхности в горизонтальной плоскости, вызванные неравномерностью горизонтальных сдвижений в мульде сдвижения.
В точках мульды сдвижения различают горизонтальные деформации:
10. Подработка объекта - выемка полезного ископаемого, оказывающая влияние на объект.
11. Подрабатываемая территория - территория, подвергающаяся влиянию подземных горных разработок. Границы зоны влияния горных разработок определяются граничными углами.
12. Предохранительный целик - часть залежи полезного ископаемого, оставляемая в недрах в целях предотвращения опасности влияния горных разработок на объекты.
13. Провал - участок земной поверхности, подвергшийся обрушению под влиянием подземных горных выработок.
14. Скашивание в точках мульды сдвижения - величина изменения прямого (до деформации) угла квадрата, стороны которого параллельны и перпендикулярны линии простирания пласта. Различают скашивание в направлении простирания (вкрест простирания) пласта и в заданном направлении.
15. Скручивание в точках мульды сдвижения - отношение разности наклонов параллельных до деформаций границ квадратной площадки к ее стороне. При расчете скручивание в направлении простирания (вкрест простирания) определяется как вторая производная функции оседаний по перемещениям х и у (где х - расстояние по направлению простирания от рассматриваемой точки до главного сечения мульды вкрест простирания; у - расстояние по направлению вкрест простирания от рассматриваемой точки до главного сечения мульды по простиранию пласта).
Различают скручивание в направлении простирания (вкрест простирания) и в заданном направлении.
16. Тектонические дизъюнктивные нарушения - нарушения сплошности массива горных пород, выражающиеся в перемещении блоков пород относительно друг друга по плоскости разрыва сместителя.
17. Уступы - сосредоточенные деформации земной поверхности, проявляющиеся в образовании трещин со сдвигом пород. Уступы возникают как следствие относительных разрывных перемещений смежных участков по напластованию, поверхностям разрывных нарушений, осевым поверхностям складок и т.п.
Различают прямые и обратные уступы. У прямого уступа участок у края трещины, расположенной ближе к точке максимального оседания, оседает больше, чем расположенный дальше от этой точки; у обратного уступа - наоборот.
ПРИЛОЖЕНИЕ 9
Рекомендуемое
КАТЕГОРИИ ТЕРРИТОРИЙ ЗАЛЕГАНИЯ ПОЛЕЗНЫХ ИСКОПАЕМЫХ ПО УСЛОВИЯМ СТРОИТЕЛЬСТВА
ПРИЛОЖЕНИЕ 10
Рекомендуемое
РАСЧЕТНЫЕ СХЕМЫ ДЕФОРМАЦИЙ ОСНОВАНИЙ
ПОДРАБАТЫВАЕМЫЕ ТЕРРИТОРИИ
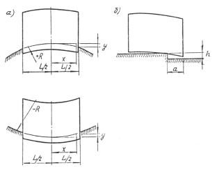
1. Схема вертикальных перемещений земной поверхности при подработке принимается в зависимости от горногеологических условий в виде параболического цилиндра с радиусом в вершине, равным R, или смещения основания параллельно начальной горизонтальной поверхности с образованием вертикального уступа высотой h (черт. 1 настоящего приложения).
2. Перемещение любой точки основания у относительно оси здания (сооружения) или его отсека определяется по формуле
где х -расстояние от рассматриваемой точки до центральной оси здания (сооружения) или его отсека (см. черт. 1 настоящего приложения) .
Черт. 1. Схемы вертикальных перемещений земной поверхности при подработке, вызванных кривизной (а) или образованием уступа (б)
земной поверхности, определяется по формуле
где X(1), Х(2) - расстояние от рассматриваемых точек основания до соответствующей центральной оси здания (сооружения) или его отсека.
равномерным наклоном i земной поверхности, определяется по формуле
определяется по формуле
6. Расчетное направление линии уступа следует принимать по простиранию пластов полезных ископаемых.
7. Расчетное местоположение уступа в плане здания (сооружения) следует принимать таким, при котором возникают наибольшие усилия в несущих конструкциях или наибольший крен здания (сооружения).
В тех случаях, когда линии уступов могут быть протрассированы со стороны участка, расположенного рядом с застраиваемой площадкой, расчетное местоположение уступа в плане следует принимать по его возможному расположению.
8. Схема горизонтальных перемещений земной поверхности принимается в виде линейных треугольных эпюр с нулевой точкой, расположенной в центре здания (сооружения). Перемещение любой точки основания
(черт. 2 настоящего приложения), вызванное горизонтальными деформациями (растяжением-сжатием), следует определять по формуле
Черт. 2. Схемы к расчету перемещений точек земной поверхности под воздействием горизонтальных деформаций а - растяжения; б - сжатия
Примечание.
В продольной раме каркасного здания или его отсека положение центральной оси следует принимать в середине блока жесткости независимо от расположения блока жесткости относительно оси симметрии.
ТЕРРИТОРИИ С ПРОСАДОЧНЫМИ ГРУНТАМИ
9. При выборе схем деформаций основания в результате локального замачивания грунтов необходимо рассматривать два случая расположения источника замачивания: первый - под серединой здания (сооружения); второй - под торцом здания (сооружения), черт. 3, 4 настоящего приложения.
10. В грунтовых условиях I типа по просадочности расчетную схему вертикальных перемещений основания с неустраненной или частично устраненной просадочностью грунтов в деформируемой зоне h(sl,p) (см. черт. 3 настоящего приложения) следует принимать с учетом просадки грунтов при совместном воздействии внешней нагрузки, передаваемой фундаментами здания (сооружения), и собственного веса грунтов, а также принимать в виде основания переменной жесткости (с участками неравномерной просадки в зонах замачивания грунтов) .
Черт. 3. Схемы вертикальных перемещений основания здания (сооружения) при просадке грунтов от внешней нагрузки
а - замачивание основания под серединой здания (сооружения); б - то же, под торцом; 1- источник замачивания; 2 - область растекания воды; а - длина участка неравномерной просадки;
Н(w) - глубина расположения источника замачивания; h(sl,p) - зона просадки основания от вншней нагрузки; Н(sl) - просадочная толща
Черт. 4. Схемы вертикальных и горизонтальных перемещений земной поверхности при просадке грунтов от собственного веса
а - при расположении просадочной воронки под серединой здания (сооружения); б - то же, под торцом; 1- просадочная воронка; 2 - кривая горизонтальных перемещений поверхности грунта
Схемы изменения жесткости основания при местном его замачивании следует принимать по линейному закону от минимального С(I) до максимального С значений коэффициентов жесткости (черт. 5 настоящего приложения), в котором значения коэффициентов С(I) и С определяются согласно рекомендуемому приложению 11.
Длину a(0) участка основания переменной жесткости следует определять в зависимости от глубины заложения фундамента, глубины расположения источника замачивания, глубины зоны просадки от внешней нагрузки и от величины угла растекания воды.
Черт. 5. Схемы изменения жесткости основания в грунтовых условиях I типа по просадочности
а - замачивание основания под серединой здания (сооружения); б - то же, под торцом
11. В случае полного устранения просадочных свойств грунтов в зоне h(sl,p) под зданием (сооружением) расчетную схему деформации его основания в грунтовых условиях I типа по просадочности следует принимать как для обычных непросадочных грунтов.
12. В грунтовых условиях II типа по просадочности необходимо учитывать: просадку грунтов в верхней зоне основания
деформации земной поверхности.
13. Вертикальные перемещения земной поверхности в грунтовых условиях II типа по просадочности (при просадке грунтов от
в виде просадочной воронки (см. черт. 4 настоящего приложения) и записывать в виде следующих формул:
При замачивании на площади шириной b(w) < Н(sl) просадку грунта следует определять по формулам (6) настоящего приложения, где вместо величины полной просадки грунта s(sl,g) подставляется величина возможной просадки грунта s’(sl,g), вычисляемая по формуле
14. Значение горизонтального перемещения земной поверхности (см. черт. 4 настоящего приложения), вызванного просадкой грунтов от собственного веса в различных точках просадочной воронки, следует определять по формулам:
15. Наклон земной поверхности в различных точках просадочной воронки следует определять по формулам:
ПРИЛОЖЕНИЕ 11
Рекомендуемое
ОПРЕДЕЛЕНИЕ КОЭФФИЦИЕНТОВ ЖЕСТКОСТИ ОСНОВАНИЙ ЗДАНИЙ И СООРУЖЕНИЙ
Основания, сложенные непросадочными грунтами, при сжатии
1. Коэффициенты жесткости, используемые для оценки напряженно-деформированного состояния конструкций зданий и сооружений в предположении линейной деформируемости грунтов, определяются исходя из осадок основания от действия среднего давления под подошвой фундамента.
Расчет осадок основания следует, как правило, выполнять, применяя расчетную схему основания в виде линейно-деформируемого полупространства с условным ограничением глубины сжимаемой толщи или линейно-деформируемого слоя в соответствии со СНиП 2.02.01-83 и указаниями настоящего приложения.
За расчетное состояние грунтов по влажности принимается установившееся значение влажности, равное
2. При определении коэффициентов жесткости основания следует учитывать форму и размеры подошвы фундамента, неоднородность геологического строения основания и, в необходимых случаях, распределительные свойства грунтов.
Форму и размеры подошвы фундамента следует учитывать при определении вертикальных нормальных напряжений по глубине основания согласно требованиям обязательного приложения 2 СНиП 2.02.01-83.
Неоднородность геологического строения основания следует учитывать определением осадок в точках под подошвой фундамента на расчетных вертикалях геологического разреза, выбираемых в зависимости от характера напластований, наличия линз, включений и т. п. (черт. 1 настоящего приложения). По выбранным вертикалям следует назначать расчетные слои в пределах сжимаемой толщи основания.
Распределительные свойства грунтов основания следует учитывать определением переменного коэффициента жесткости исходя из раздельного учета упругих и остаточных осадок.
3. Остаточные осадки основания следует определять в случаях, когда
4. При определении остаточных осадок основания по всем расчетным вертикалям следует принимать такое же распределение дополнительных напряжений по глубине, как и для вертикали, проходящей через центр подошвы фундамента.
Черт. 1. Геологический разрез неоднородного основания
Остаточная осадках s(pl) с использованием расчетной схемы основания в виде линейно-деформируемого полупространства определяется методом послойного суммирования по формуле
При этом распределение вертикальных нормальных напряжений по глубине основания следует принимать в соответствии с обязательным приложением 2 СНиП 2.02.01-83.
5. Упругие осадки основания по расчетным вертикалям следует определять с учетом неравномерного распределения вертикальных нормальных напряжений по горизонтальным сечениям сжимаемой толщи основания. Значения этих напряжений на глубине по вертикали, проходящей через произвольную точку в пределах или за пределами рассматриваемого фундамента, следует определять методом угловых точек (см. обязательное приложение 2 СНиП 2.02.01-83) или с использованием формул, по которым производится распределение напряжений в линейно-деформируемом полупространстве от действия нагрузки на поверхность основания.
Упругую осадку основания s(el) по расчетной вертикали следует определять по формуле
6. При использовании расчетной схемы основания в виде линейно-деформируемого слоя остаточные и упругие осадки основания допускается определять по формулам (2) и (3) настоящего приложения, в которых глубина сжимаемой толщи принимается равной толщине линейно-деформируемого слоя.
7. Коэффициент жесткости основания С по рассматриваемой вертикали определяется по формуле
где s - полная осадка основания по рассматриваемой вертикали, определяемая по формуле
Промежуточные значения коэффициента жесткости на участках поверхности основания между расчетными вертикалями следует определять интерполяцией.
8. При определении коэффициентов жесткости основания допускается не учитывать распределительные свойства грунта, если соблюдается условие
В этом случае при определении упругих осадок основания по формуле (3) настоящего приложения
проходящей через центр подошвы фундамента. Остаточные осадки следует определять по формуле (2) настоящего приложения.
9. В случае, когда значения нормальных контактных напряжений на отдельных участках подошвы фундамента, полученные при расчете конструкции на линейно-деформируемом основании с использованием величин коэффициентов жесткости по формуле (4) настоящего приложения, не удовлетворяют условиям (3) п. 4.27, необходимо учитывать нелинейную зависимость осадки основания от давления (нормального контактного напряжения), черт. 2 настоящего приложения.
При возрастании давления на поверхность основания следует принимать для расчетов гиперболическую зависимость между осадкой и давлением, при уменьшении давления - линейную зависимость.
Допускается применять и другие виды зависимостей осадка (давление), которые проверены экспериментальным путем и опытом проектирования и эксплуатации зданий и сооружений.
Черт. 2. Расчетная зависимость между осадкой и давлением (нормальным контактным напряжением) для нелинейно-деформируемого основания
10. Осадку s поверхности основания при возрастающем давлении р’ следует определять по формуле
Осадку s поверхности основания при уменьшении давления (разгрузке) следует определять по формуле
11. Коэффициенты жесткости нелинейно-деформируемого основания следует определять по формулам:
касательный (действительный) С(k) при нагружении
секущий (средний) С(c) при нагружении
касательный C(pk) при разгрузке
секущий C(pc) при разгрузке
Значения касательных коэффициентов жесткости следует использовать при расчетах конструкций на нелинейно-деформируемом основании при ступенчатом нагружении (шаговый метод), значения секущих коэффициентов жесткости - при фиксированном значении нагрузки (метод секущих или метод последовательного уточнения жесткостей).
12. При зависимостях между осадкой и давлением по формулам (7) и (9) настоящего приложения значения коэффициентов жесткости следует определять по формулам:
касательный (действительный) С(k) при нагружении
секущий (средний) С(c) при нагружении
касательный С(pk) при разгрузке
секущий С(pc) при разгрузке
Основания, сложенные просадочными грунтами, при сжатии
13. Коэффициенты жесткости основания, сложенного просадочными грунтами, следует определять без учета и с учетом просадочных свойств грунтов исходя из двух состояний просадочных грунтов по влажности:
без учета просадочных свойств грунтов - исходя из деформационных характеристик грунтов при
с учетом просадочных свойств грунтов при возможном их замачивании - исходя из деформационных
Коэффициенты жесткости основания без учета просадочных свойств грунтов следует определять в соответствии с указаниями пп.1-12 настоящего приложения.
Коэффициенты жесткости основания с учетом просадочных грунтов следует определять в зависимости от типа грунтовых условий по просадочности согласно указаниям пп. 14-16.
При определении коэффициентов жесткости оснований, сложенных просадочными грунтами, допускается не учитывать распределительные свойства грунтов в соответствии с указаниями п.8.
14. Коэффициент жесткости линейно-деформируемого основания с учетом просадочных свойств грунтов в грунтовых условиях I типа С(I) следует определять по формуле
где С - коэффициент жесткости основания без учета просадочных свойств грунтов, определяемый по формуле (4) настоящего приложения;
s - осадка основания без учета просадочных свойств грунтов с деформационными характеристиками, соответствующими природной или установившейся влажности;
s(d) - дополнительная осадка при замачивании непросадочных слоев грунта, находящихся в пределах сжимаемой толщи основания;
s(sl) - просадка грунтов основания от внешней нагрузки и от собственного веса грунта в пределах сжимаемой толщи основания.
15. Коэффициент жесткости линейно-деформируемого основания с учетом просадочных свойств грунтов в грунтовых условиях II типа С(II) следует определять по формуле
где С, s, s(d), - те же, что в формуле (18) настоящего приложения;
s(sl,p) - просадка грунтов основания от внешней нагрузки в пределах сжимаемой толщи основания.
Примечание.
Не допускается пользоватъся формулой (19) при вычислении среднего коэффициента жесткости в грунтовых условиях II типа, если расчетные схемы основания здания отличаются от указанных в п.13 рекомендуемого приложения 10.
16. В случае, когда по результатам расчета здания (сооружения) во взаимодействии с основанием с использованием значений коэффициентов жесткости С, С(I) или С(II) не удовлетворяются условия п.4.19, необходимо определять коэффициенты жесткости с учетом нелинейности деформирования основания.
Нелинейные коэффициенты жесткости без учета просадочных свойств грунтов следует определять по формулам (14)-(17) настоящего приложения.
Нелинейные коэффициенты жесткости с учетом просадочных свойств грунтов следует определять по формулам (7)-(17) настоящего приложения, в которых:
предельное сопротивление р(u) грунта основания вычисляется с использованием расчетных значений прочностных характеристик грунта в водонасыщенном состоянии;
полная осадка основания s’ определяется по формулам:
для грунтов I типа по просадочности
для грунтов II типа по просадочности
где s, s(d), s(sl,p), s(sl) - те же, что в формулах (18) и (19) настоящего приложения;
среднее давление под подошвой фундамента p’ не должно превышать расчетного сопротивления грунта основания, определяемого с использованием расчетных значений прочностных характеристик грунта в водонасыщенном состоянии.
Основания, длительно деформируемые при сжатии
17. При определении коэффициентов жесткости оснований, характеризуемых невысокими скоростями протекания осадок во времени (глинистые или водонасыщенные грунты), допускается учитывать зависимость величины коэффициента жесткости от времени.
Коэффициент жесткости основания С(t) для момента времени t следует определять по формуле
где p - среднее давление под подошвой фундамента;
s(t) - осадка основания на рассматриваемой вертикали в момент времени t от действия давления р, определяемая на основе имеющихся методов расчета осадок во времени.
18. Для предварительных расчетов по оценке влияния длительного деформирования грунтов на напряженно-деформированное состояние конструкций зданий и сооружений, подвергающихся воздействиям от подработки, коэффициент жесткости С(t) для момента времени t допускается определять по формуле
где С - коэффициент жесткости линейно-деформируемого основания, определяемый по формуле (4) настоящего приложения;
n(t) - функция, характеризующая длительность деформирования основания, значения которой принимаются в зависимости от величины коэффициента сжимаемости а грунтов по следующей таблице:
В случае, если имеются данные наблюдений за осадками зданий и сооружений во времени, значения можно определять по эмпирическим формулам, составленным по данным этих наблюдений. Полученные значения можно использовать при проектировании зданий и сооружений, возводимых в аналогичных условиях.
Коэффициенты жесткости основания при сдвиге
19. Коэффициенты жесткости D линейно деформируемого основания при сдвиге следует определять исходя из горизонтальных перемещений u поверхности основания от действия среднего касательного напряжения
следует, как правило, определять методами, учитывающими ограниченную глубину зоны горизонтальных перемещений грунта.
Коэффициент жесткости D при сдвиге следует определять по формуле
20. Коэффициенты жесткости нелинейно деформируемого основания при сдвиге следует определять исходя из гиперболической зависимости между горизонтальным перемещением и касательным контактным напряжением при его увеличении; при уменьшении напряжения принимается линейная зависимость. График зависимости между горизонтальным
Горизонтальное перемещение u поверхности основания при уменьшении касательного напряжения
(разгрузке) следует определять по формуле
здесь s’(el), s’ - те же. что в формулах (8) и (9) настоящего приложения.
21. При зависимостях между горизонтальным перемещением и касательным напряжением по формулам (25) и (28) настоящего приложения, значения коэффициентов жесткости при сдвиге следует определять по формулам:
касательный (действительный) D(k) при нагружении
секущий (средний) D(c) при нагружении
касательный D(pk) при разгрузке
секущий D(pc) при разгрузке
Коэффициенты жесткости основания при сжатии в зоне растяжения земной поверхности от подработки
22. При определении коэффициентов жесткости основания в зоне растяжения земной
свойства грунтов основания не следует учитывать.
следует определять по формуле
При этом необходимо соблюдать условие:
если вычисленное по формуле (35) настоящего приложения значение
то принимается
где
ПРИЛОЖЕНИЕ 12
Рекомендуемое
ОПРЕДЕЛЕНИЕ МОДУЛЕЙ ОСТАТОЧНЫХ И УПРУГИХ ДЕФОРМАЦИЙ ГРУНТА
1. Для определения модуля остаточных E(pl) и упругих E(el) деформаций грунта по результатам полевых испытаний грунта штампами или лабораторных компрессионных испытаний образцов грунта следует при испытаниях получать кривую разгрузки. При этом допускается производить разгрузку после достижения стабилизации осадки от последней ступени нагрузки. Разгрузку следует производить теми же ступенями, которыми производилась нагрузка, с достижением требуемой стабилизации деформации.
2. В случае штамповых испытаний модули деформации E(pl) и E(el) следует определять по графику зависимости осадки штампа от нагрузки на него (см. чертеж настоящего приложения) по формулам:
А - площадь подошвы штампа;
3. В случае компрессионных испытаний модуль остаточных деформаций грунта E(pl) следует определять по формуле
где Е - модуль полной деформации, определяемый с учетом коэффициента перехода от компрессионного к штамповому модулю полных деформаций;
E(el) - модуль упругой деформации, определяемый по кривой разгрузки компрессионной диаграммы сжатия на рассматриваемом диапазоне изменения давления.
График зависимости осадки от давления при испытаниях грунта штампом
1- кривая нагружения; 2 - кривая разгрузки
4. Если при полевых испытаниях грунтов штампами или при компрессионных испытаниях образцов грунтов кривые разгрузки не определялись, то следует принимать значение
Текст документа сверен по: официальное издание М: АПП ЦИТП, 1992
| |||||||||||||||||||||||||||||||||||||||||||||||||||||||||||||||||||||||||||||||||||||||||||||||||||||||||||||||||||||||||||||||||||||||||||||||||||||||||||||||||||||||||||||||||||||||||||||||||||||||||||||||||||||||||||||||||||||||||||||||||||||||||||||||||||||||||||||||||||||||||||||||||||||||||||||||||||||||||||||||||||||||||||||||||||||||||||||||||||||||||||||||||||||||||||||||||||||||||||||||||||||||||||||||||||||||||||||||||||||||||||||||||||||||||||||||||||||||||||||||||||||||||||||||||||||||||||||||||||||||||||||||||||||||||||||||||||||||||||||||||||||||||||||||||||||||||||||||||||||||||||||||||||||||||||||||||||||||||||||||||||||||||||||||||||||||||||||||||||||||||||||||||||||||||||||||||||||||||||||||||||||||||||||||||||||||||||||||||||||||||||||||||||||||||||||||||||||||||||||||||||||||||||||||||||||||||||||||||||||||||||||
Хотите оперативно узнавать о новых публикациях нормативных документов на портале? Подпишитесь на рассылку новостей!

































