Часть 1 | Часть 2
ГОСТ 6942-98 от 01.01.1999. Трубы чугунные канализационные и фасонные части к ним. Технические условия Часть 2
|
Таблица 7 Размеры в миллиметрах
4.5 Патрубки переходные 4.5.1 Конструкция и размеры переходных патрубков должны соответствовать указанным на рисунке 9 и в таблице 8. Пример условного обозначения патрубка переходного Dу1 =50 мм и Dy = 100 мм: ПП-50/100 ГОСТ 6942-98
1— раструб типа I; 2 — хвостовик Рисунок 9 Таблица 8
4.6 Колена 4.6.1 Конструкция и размеры колен должны соответствовать указанным на рисунке 10 и в таблице 9. Пример условного обозначения колена Dу = 100 мм; К-100 ГОСТ 6942-98
a = 92° 30' ± 1°30'; 1— раструб типа I; 2 — хвостовик Рисунок 10
Таблица 9 Размеры в миллиметрах
4.7 Колена низкие 4.7.1 Конструкция и размеры колен низких должны соответствовать указанным на рисунке 11. Масса колена низкого 3,4 кг. Условное обозначение колена низкого: КН-100 ГОСТ 6942-98
1 — раструб типа IV; 2 — хвостовик Рисунок 11 4.8 Отводы 110° и 120° 4.8.1 Конструкция и размеры отводов должны соответствовать указанным на рисунке 12 и в таблицах 10 и 11. Пример условного обозначения отвода с a = 120° и Dy = 50 мм: О 120°-50 ГОСТ 6942-98 То же, с a = 150° и Dу=100Д (удлиненный) мм: О 150°-100Д ГОСТ 6942-98
1 — раструб типа I; 2 — хвостовик Рисунок 12
Таблица 10 Размеры в миллиметрах
Таблица 11 Размеры в миллиметрах
4.9 Отводы-тройники приборные 4.9.1 Отводы-тройники приборные изготавливают в двух исполнениях: правом и левом. 4.9.2 Конструкция и размеры отводов-тройников приборных должны соответствовать указанным на рисунке 13. Масса отводатройника 7,0 кг. Условное обозначение отвода-тройника приборного в правом исполнении: ОТПр ГОСТ 6942-98 То же, в левом исполнении: ЛОТПр ГОСТ 6942-98
1 — раструб типа I; 2 — раструб типа III; 3 — хвостовик Рисунок 13 4.10 Отступы 4.10.1 Конструкция и размеры отступов должны соответствовать указанным на рисунке 14 и в таблице 12. Пример условного обозначения отступа Dу = 100 мм: ОТС-100 ГОСТ 6942-98
1 — раструб типа 1; 2 — хвостовик Рисунок 14
Таблица 12 Размеры в миллиметрах
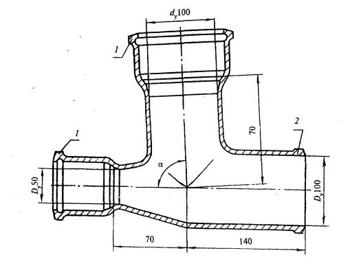
4.11 Тройники прямые 4.11.1 Конструкция и размеры тройников прямых должны соответствовать указанным на рисунке 15 и в таблице 13. Пример условного обозначения тройника прямого Dу = 50 мм и dу = 50 мм: ТП-50х50 ГОСТ 6942-98 То же, длинного, Dу = 100 мм и dу = 100Д мм: ТП-100х100Д ГОСТ 6942-98
Рисунок 15 a = 87°30'+1°30'; 1 — раструб типа I; 2 — хвостовик
Таблица 13 Размеры в миллиметрах
4.12 Тройники прямые компенсационные 4.12.1 Конструкция и размеры тройников прямых компенсационных должны соответствовать указанным на рисунке 16 и в таблице 14. Пример условного обозначения тройника прямого компенсационного Dу = 100 мм, dу = 50 мм: ТПК-100х50 ГОСТ 6942-98
1 — раструб типа II; 2 — раструб типа I; 3— хвостовик Рисунок 16
Таблица 14 Размеры в миллиметрах
4.13 Тройники прямые низкие 4.13.1 Конструкция и размеры тройников прямых низких должны соответствовать указанным на рисунке 17. Масса тройника 5,8 кг. Условное обозначение тройника прямого низкого: ТН-100х100 ГОСТ 6942-98
1 — раструб типа I; 2 — раструб типа IV; 3 — хвостовик Рисунок 17
4.14 Тройники прямые переходные 4.14.1 Конструкция и размеры тройников прямых переходных должны соответствовать указанным на рисунке 18. Масса тройника 6,8 кг. Условное обозначение тройника прямого переходного: ТПР-100/50х100 ГОСТ 6942-98
a = 87°30' ± 1°30'; 1 — раструб типа I ; 2 — хвостовик Рисунок 18
4.15 Тройники прямые переходные низкие 4.15.1 Конструкция и размеры тройников прямых переходных низких должны соответствовать указанным на рисунке 19. Масса тройника 4,7 кг. Условное обозначение тройника прямого переходного низкого: ТПРН-100/50х100 ГОСТ 6942-98
1 — раструб типа I ; 2 — раструб типа IV; 3 — хвостовик Рисунок 19
4.16 Тройники косые 4.16.1 Конструкция и размеры тройников косых должны соответствовать указанным на рисунке 20 и в таблице 15. Пример условного обозначения тройника косого с a = 45°, Dу = 100 мм и dу = 50 мм: ТК 45°-100х50 ГОСТ 6942-98 То же, с 60°, Dy = 150 мм и dу = 100 мм: ТК 60°-150х100 ГОСТ 6942-98
1 — раструб типа I; 2 — хвостовик Рисунок 20
Таблица 15 Размеры в миллиметрах
4.17 Крестовины прямые 4.17.1 Конструкция и размеры крестовин прямых должны соответствовать указанным на рисунке 21 и в таблице 16. Пример условного обозначения крестовины прямой Dу = 100 мм и dу = 50 мм: КП-100х50 ГОСТ 6942-98
a = 87°30' ± 1°30' ; 1 — раструб типа I; 2 — хвостовик Рисунок 21
Таблица 16 Размеры в миллиметрах
4.18 Крестовины прямые со смещенной осью отвода 4.18.1 Конструкция и размеры крестовин прямых со смещенной осью отвода должны соответствовать указанным на рисунке 22. Масса тройника 7,6 кг. Условное обозначение крестовины прямой со смещенной осью отвода: КПС-100х50 ГОСТ 6942-98
a = 87°30' ± 1°30'; 1 — раструб типа I; 2 — хвостовик Рисунок 22
4.19 Крестовины косые 4.19.1 Конструкция и размеры крестовин косых должны соответствовать указанным на рисунке 23 и в таблице 17. Пример условного обозначения крестовины косой с a = 45°, Dу = 100 мм и dy = 100 мм: КК45°-100х100 ГОСТ 6942-98 То же, с a = 60°, Dy = 150 мм и dy == 50 мм: КК 60° -150х50 ГОСТ 6942-98
1— раструб типа I; 2 — хвостовик Рисунок 23
Таблица 17 Размеры в миллиметрах
4.20 Крестовины двухплоскостные 4.20.1 Крестовины двухплоскостные изготавливаются в двух исполнениях: правом и левом. 4.20.2 Конструкция и размеры двухплоскостных крестовин должны соответствовать указанным на рисунке 24 и в таблице 18. Пример условного обозначения крестовины двухплоскостной Dу = 150 мм в правом исполнении: КД-150х100х50 ГОСТ 6942-98 То же, в левом исполнении: ЛКД-150х100х50 ГОСТ 6942-98
a = 87°30' ±1°30'; 1 — раструб типа I; 2 — раструб типа III; 3 — хвостовик Рисунок 24
Таблица 18 Размеры в миллиметрах
4.21 Муфты 4.21.1 Конструкция и размеры муфт должны соответствовать указанным на рисунке 25 и в таблице 19. Пример условного обозначения муфты Dу = 100 мм: Мф-100 ГОСТ 6942-98
1 — раструб типа I Рисунок 25 Таблица 19
4.22 Муфты надвижные 4.22.1 Конструкция и размеры муфт надвижных должны соответствовать указанным на рисунке 26 и в таблице 20. Пример условного обозначения муфты надвижной Dу =100 мм: МфН-100 ГОСТ 6942-98
1 — раструб типа II Рисунок 26 Таблица 20 Размеры в миллиметрах
4.23 Ревизия 4.23.1 Конструкция и размеры ревизий должны соответствовать указанным на рисунке 27 и в таблице 21. Пример условного обозначения ревизии Dу =100 мм: Р-100 ГОСТ 6942-98 4.23.2 Допускается размещение болтов в плоскости А-А и изготовление крышки 2 из стали.
1 — раструб типа I; 2 — крышка; 3 — прокладка; 4 — корпус; 5 — хвостовик; 6 — гайка; 7 — болт Рисунок 27
Таблица 21 Размеры в миллиметрах
4.24 Заглушки 4.24.1 Конструкция и размеры заглушек должны соответствовать указанным на рисунке 28 и в таблице 22. Пример условного обозначения заглушки Dу =100 мм: 3-100 ГОСТ 6942-98 4.24.2 Допускается размещение болтов в плоскости Б-Б и изготовление крышки 3 из стали.
1— болт; 2 — гайка; 3 — крышка; 4 — прокладка; 5 — корпус; 6 — хвостовик Рисунок 28 Таблица 22 Размеры в миллиметрах
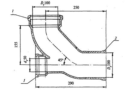
4.25 Отводы-тройники переходные 4.25.1 Конструкция и размеры отводов-тройников переходных должны соответствовать указанным на рисунке 29. Масса отводатройника переходного 7,8 кг. Пример условного обозначения отвода-тройника переходного: ОТП-100х50 ГОСТ 6942-98
1 — раструб типа I; 2 — хвостовик Рисунок 29
4.26 Прочистки 4.26.1 Конструкция и размеры прочисток должны соответствовать указанным на рисунке 30 и в таблице 23. Пример условного обозначения прочистки: Пр-100 ГОСТ 6942-98 4.26.2 Прочистки должны поставляться комплектно со всеми деталями, указанными на рисунке, и в собранном виде.
1 — раструб типа I; 2 — гайка; 3 — болт; 4 — крышка; 5 — прокладка; 6 — корпус; 7 — хвостовик Рисунок 30
Таблица 23 Размеры в миллиметрах
4.27 Размеры и масса даны без учета антикоррозионного покрытия.
5. Технические требования 5.1 Чугунные канализационные трубы и фасонные части к ним следует изготавливать в соответствии с требованиями настоящего стандарта, по конструкторской и технологической документации, утвержденной в установленном порядке. 5.2 Характеристики 5.2.1 Трубы и фасонные части к ним не должны иметь дефектов, ухудшающих их монтажные и эксплуатационные качества: заливов, наростов, капель металла, шлаковых наслоений на наружной и внутренней поверхностях. Допускается устранение незначительных дефектов, обусловленных способом производства и не ухудшающих качества изделий. 5.2.2 Трубы и фасонные части к ним не должны иметь отбела по всей наружной поверхности глубиной более 1 мм, а на торцах и наружной поверхности гладких концов труб на длине 60 мм от торца и в местах разъема литейных форм на фасонных частях — глубиной более 2 мм. 5.2.3 Отклонения от номинальных размеров внутренних диаметров раструбов труб и фасонных частей и наружных диаметров гладких концов труб и хвостовиков фасонных частей (до нанесения на изделие антикоррозионного покрытия) не должны превышать ±2 мм. Отклонения от размеров строительных длин в изделиях всех типов и диаметров не должны превышать ± 0,9 %. 5.2.4 Допускается утолщение не более чем на 2 мм стенок гладких концов труб на участке длиной до 150 мм и хвостовиков фасонных частей на участке длиной до 70 мм от их торцов с соответствующим уменьшением внутренних диаметров изделий в этих местах, а также закругление с наружной стороны торцов гладких концов труб и хвостовиков фасонных частей. 5.2.5 Предельные отклонения от номинальных размеров отливок изделий, за исключением регламентированных в 3.2.3 и 3.2.4, должны соответствовать 11т классу точности по ГОСТ 26645. 5.2.6 Отклонения от расчетных значений масс изделий, установленных в стандартах на конструкции, и размеры этих изделий (при подсчете которых плотность чугуна принята равной 7,1 г/см3) должны соответствовать 11 т классу точности по ГОСТ 26645. Отливки, масса которых превышает максимальную, признаются годными при условии, что по всем прочим качественным характеристикам они соответствуют настоящему стандарту. 5.2.7 Отклонения от прямолинейности труб Dу 100 и Dу 150 мм не должны превышать 2 мм на 1 м длины, а труб Dу 50 мм — 5 мм на 1 м длины. 5.2.8 Трубы и фасонные части в сборе после нанесения на их внутренние и наружные поверхности антикоррозионного покрытия и заделки раструбов должны выдерживать гидравлическое давление не менее 0,1 МПа (1,0 кгс/см2). 5.3 Требования к сырью, материалам и комплектующим изделиям 5.3.1 Трубы и фасонные части к ним должны изготавливаться из серого чугуна с пластинчатым графитом по ГОСТ 1412 и в соответствии с требованиями к отливкам по ГОСТ 26358. 5.3.2 Наружная и внутренняя поверхности труб и фасонных частей должны быть покрыты антикоррозионным составом на основе битумов марки БНИ IУ-3 по ГОСТ 9812 или другими составами, обеспечивающими температуру размягчения антикоррозионного покрытия не ниже 333 К (60 °С) и условия эксплуатации УХЛ 4 ГОСТ 15150. Антикоррозионное покрытие должно быть сплошным, прочным, гладким, без трещин и пузырей, прочно сцепленным с металлом изделий и не должно быть липким. На поверхности покрытия труб допускаются кольцевые отпечатки от опор для перекатывания труб, а на поверхности покрытия фасонных частей — следы от крючков подвесок цепных конвейеров, а также потеки, вызываемые стоком антикоррозионного состава с труб и фасонных частей, или несплошности покрытия. 5.4 Комплектность 5.4.1 Предприятие-изготовитель должно комплектовать трубы и фасонные части для поставки в ассортименте, определяемом заказом потребителя. 5.5 Маркировка и упаковка 5.5.1 Трубы и фасонные части должны иметь маркировку, отлитую или нанесенную несмываемой краской на торцевой или образующей поверхности раструба или непосредственно за раструбом и включающую: - товарный знак предприятия-изготовителя; - условное обозначение изделия; - обозначение настоящего стандарта. 5.5.2 Трубы упаковывают в контейнеры, пакеты, в кассеты или в связки, увязанные проволокой. При упаковке трубы укладывают раструбами попеременно в противоположные стороны. Фасонные части укладывают на ящичные поддоны или контейнеры по ГОСТ 26598, при этом грузоподъемность контейнера должна быть использована полностью.
6. Правила приемки 6.1 Трубы и фасонные части принимают партиями. Партией считают количество труб и фасонных частей, изготовленных в течение одной смены и оформленных одним документом о качестве. 6.2 Для проверки соответствия труб и фасонных частей требованиям настоящего стандарта предприятие-изготовитель проводит приемосдаточные и периодические испытания изделий. 6.3 При приемосдаточных испытаниях проводят проверку изделий на соответствие требованиям: 5.2.2 — 0,5 % изделий от партии; 5.2.1 и 5.3.2 в части внешнего вида антикоррозионного покрытия — 100 % изделий в партии; 5.2.3 — 5.2.8, 5.3.2 в части липкости антикоррозионного покрытия — не менее 2 % изделий от партии. 6.4 Периодические испытания проводят не реже одного раза в квартал. 6.5 Периодическим испытаниям подвергаются изделия, выдержавшие приемосдаточные испытания. 6.6 При периодических испытаниях проводят проверку изделий на соответствие требованиям 5.2.3; 5.5.1 и 5.3.2 в части определения температуры размягчения антикоррозионного покрытия и прочности сцепления его с металлом в объеме 0,5 % изделий от партии. 6.7 Потребитель имеет право проводить контрольную проверку труб и фасонных частей по любому показателю качества, соблюдая порядок отбора изделий, приведенный в 6.3; 6.6, и применяя методы контроля, указанные в разделе 7. 6.8 Если при проверке хотя бы одно изделие по какому-либо показателю не будет соответствовать требованиям настоящего стандарта, то проводят повторную проверку по этому показателю удвоенного числа изделий из той партии. При неудовлетворительных результатах повторной проверки партию изделий бракуют или проводят поштучную приемку изделий с проверкой показателей, по которым при повторной проверке были получены неудовлетворительные результаты.
7. Методы контроля 7.1 Глубину отбела и размеры отбеленного слоя (5.2.2) проверяют на выбракованных по другим показателям изделиях путем их раскалывания и замера глубины и размеров отбеленного слоя линейкой или штангенциркулем по ГОСТ 166. 7.2 Внешний вид и качество поверхностей изделий (5.2.1) и внешний вид антикоррозионного покрытия изделий (5.3.2) проверяют визуально без применения увеличительных приборов сравнением проверяемого изделия с эталоном. 7.3 Отклонения от размеров труб и фасонных частей (5.2.3 — 5.2.5) проверяют универсальными измерительными инструментами, обеспечивающими необходимую точность измерений. Измерения проводят в двух взаимно перпендикулярных направлениях. Среднее арифметическое значение результатов двух измерений считают наружным (внутренним) диаметром. При этом результат каждого измерения должен находиться в пределах допускаемых отклонений. 7.4 Проверку массы изделий и отклонения от нее (5.2.6) проводят путем взвешивания изделий на весах с классом точности не грубее 2-го. 7.5 Определение наличия и значения величины непрямолинейности труб (5.2.7) 7.5.1 Приспособления и инструменты: - штангенрейсмас по ГОСТ 164; - контрольная горизонтальная плита; - две стальные призматические опоры одинаковой высоты. 7.5.2 Проведение проверки На контрольную плиту устанавливают параллельно между собой на расстоянии друг от друга более половины длины проверяемой трубы две призматические опоры и на них укладывают трубу прогибом вниз. При помощи штангенрейсмаса с точностью до 0,1 мм измеряют расстояние от поверхности плиты до нижней точки трубы в месте ее наибольшего прогиба. 7.5.3 Подсчет результатов проверки Значение отклонения от прямолинейности трубы на 1 м ее длины А подсчитывают по формуле
где a — высота опоры, мм; b — расстояние от горизонтальной поверхности плиты до нижней точки трубы, мм; l — расстояние между призматическими опорами, м. 7.6 Температуру размягчения антикоррозионного покрытия (5.3.2) проверяют по ГОСТ 11506. 7.7 Прочность сцепления антикоррозионного покрытия с металлом изделия (5.3.2) проверяют путем нанесения на покрытие лезвием ножа надрезов в виде сетки с расстояниями между линиями надрезов не менее 40 мм. Сцепление покрытия считают прочным, если при надрезах покрытие не будет отслаиваться. 7.8 Липкость антикоррозионного покрытия (5.3.2) проверяют при температуре окружающего воздуха от 15 до 30 °С путем легкого прижатия к покрытию изделия чистого листа писчей бумаги по ГОСТ 18510. Покрытие считают нелипким, если после снятия бумаги на ней не остается следов покрытия. Липкость покрытия проверяют не ранее чем через 24 ч после нанесения его на изделие. 7.9 Проверка герметичности труб и фасонных частей (5.2.8) 7.9.1 Приспособления, материалы и оборудование: - стенд, оборудованный манометром с ценой деления не грубее 0,01 МПа(0,1 кгс/см2); - насос, создающий гидравлическое давление 0,2 МПа (2 кгс/см2); - заглушки (глухие и с патрубками). 7.9.2 Проведение проверки Трубы и фасонные части в сборе располагают на стенде, и на ближайшее к насосу отверстие устанавливают заглушку с патрубком для присоединения к насосу, а на другое отверстие устанавливают заглушку с патрубком для слива воды. Если имеются другие отверстия, то на них устанавливают глухие заглушки. При помощи насоса испытываемый участок трубопровода заполняют водой, перекрывают вентилем или другим запорным устройством патрубок для слива воды и создают в нем давление не менее 0,1 МПа (1,0 кгс/см2). Такое давление поддерживают не менее 15 с, в течение которых производят осмотр соединений участка трубопровода. 7.9.3 Результаты проверки Участок трубопровода считают герметичным, если при его осмотре не будет обнаружено течи воды через его стенки или раструбные соединения, запотевания наружных поверхностей труб и фасонных частей.
8 Транспортирование и хранение 8.1 Трубы и фасонные части перевозят всеми видами транспорта в соответствии с правилами перевозки грузов, действующими на транспорте данного вида. 8.2 Трубы следует хранить рассортированными по условным диаметрам, фасонные части — по типам и типоразмерам в условиях, исключающих возможность механических повреждений изделий.
9 Указания по монтажу и эксплуатации 9.1 Монтаж труб и фасонных частей должен осуществляться по технологии, обеспечивающей их работоспособность и герметичность соединений, в соответствии со строительными нормами и правилами. 9.2 Трубы и фасонные части могут быть соединены между собой методом зачеканки раструбов просмоленной прядью и цементом или заливкой нагретой серой, а также с помощью резиновой уплотнительной манжеты.
10 Гарантии изготовителя 10.1 Изготовитель гарантирует соответствие труб и фасонных частей к ним требованиям настоящего стандарта при соблюдении правил транспортирования, хранения, монтажа и эксплуатации. 10.2 Гарантийный срок хранения — 3 года со дня изготовления. Гарантийный срок эксплуатации — 2 года со дня ввода объекта в эксплуатацию или продажи в пределах гарантийного срока хранения.
Содержание 1 Область применения 2 Нормативные ссылки 3 Сортамент 4 Типы, конструкции и размеры 5 Технические требования 6 Правила приемки 7 Методы контроля 8 Транспортирование и хранение 9 Указания по монтажу и эксплуатации 10 Гарантии изготовителя
| |||||||||||||||||||||||||||||||||||||||||||||||||||||||||||||||||||||||||||||||||||||||||||||||||||||||||||||||||||||||||||||||||||||||||||||||||||||||||||||||||||||||||||||||||||||||||||||||||||||||||||||||||||||||||||||||||||||||||||||||||||||||||||||||||||||||||||||||||||||||||||||||||||||||||||||||||||||||||||||||||||||||||||||||||||||||||||||||||||||||||||||||||||||||||||||||||||||||||||||||||||||||||||||||||||||||||||||||||||||||||||||||||
Часть 1 | Часть 2
Хотите оперативно узнавать о новых публикациях нормативных документов на портале? Подпишитесь на рассылку новостей!






















