ГОСТ 26447-85 Породы горные. Метод определения механических свойств глинистых пород при одноосном сжатии

ГОСУДАРСТВЕННЫЙ СТАНДАРТ СОЮЗА ССР
ПОРОДЫ ГОРНЫЕ
МЕТОД
ОПРЕДЕЛЕНИЯ МЕХАНИЧЕСКИХ СВОЙСТВ
ГЛИНИСТЫХ ПОРОД ПРИ ОДНООСНОМ СЖАТИИ
ГОСТ 26447-85
ГОСУДАРСТВЕННЫЙ КОМИТЕТ СССР ПО СТАНДАРТАМ
Москва
РАЗРАБОТАН Министерством геологии СССР
ИСПОЛНИТЕЛИ
Л. И. Одинцова, канд. геол.-минерал. наук
ВНЕСЕН Министерством геологии СССР
Начальник Технического управления С.И. Голиков
УТВЕРЖДЕН И ВВЕДЕН В ДЕЙСТВИЕ Постановлением Государственного комитета СССР по стандартам от 26 февраля 1985 г. № 379
ГОСУДАРСТВЕННЫЙ СТАНДАРТ СОЮЗА ССР
|
ПОРОДЫ ГОРНЫЕ Метод
определения Rocks. Method for determination of mechanical |
ГОСТ
|
Постановлением Государственного комитета СССР по стандартам от 26 февраля 1985 г. № 379 срок действия установлен
с 01.07.86
до 01.07.91
Настоящий стандарт распространяется на глинистые горные породы и устанавливает метод определения их механических свойств одноосным сжатием при инженерно-геологических работах.
Сущность метода заключается в сжатии образца породы в условиях свободного бокового расширения.
Стандарт не распространяется на глинистые породы, содержащие крупнообломочные включения размером более 0,1 диаметра образца свыше 10 % по объему, породы в мерзлом состоянии и породы текучей (за исключением скрытотекучей) консистенции.
1. ОБЩИЕ ТРЕБОВАНИЯ
1.1. Испытания проводятся по сокращенной или полной программе. При испытаниях по сокращенной программе определяется предел прочности пород; полная программа включает определение предела прочности пород, модулей упругой и общей деформации, типа деформационного поведения и построение диаграммы «напряжение - деформация».
1.2. Предел прочности sR при одноосном сжатии образцов с продольной деформацией в момент разрушения e £ 0,1 определяется как отношение приложенной силы Р, при которой происходит разрушение образца породы, к площади его начального поперечного сечения S0.
Предел прочности sR при e > 0,1 определяется с учетом увеличения площади поперечного сечения образца S.
1.3. В случае необходимости определение дополнительных характеристик пород при одноосном сжатии проводится в соответствии с рекомендуемым приложением 1.
2. МЕТОД ОТБОРА ПРОБ
2.1. Для получения образцов глинистых пород отбирают пробы по ГОСТ 12071-72 со следующими дополнениями.
2.1.1. Образцы пород для испытаний должны иметь форму цилиндра диаметром 28, 40, 56, 80 мм, с отношением высоты к диаметру 1,5:1 или 2:1, для глинистых пород со скрытотекучей консистенцией (типа иольдиевых глин) и мягкопластичных - 1,5:1.
Предпочтительным является диаметр 40 мм.
2.1.2. Количество образцов для сокращенных испытаний должно быть не менее двух, а для полных - не менее трех.
2.1.3. Образцы должны иметь ровную поверхность без сколов, раковин и сквозных трещин, обнаруживаемых визуально.
3. ОБОРУДОВАНИЕ, ИНСТРУМЕНТЫ И МАТЕРИАЛЫ
3.1. Для подготовки образцов пород и проведения испытаний применяют:
кольца режущие (см. черт. 1-5 рекомендуемого приложения 2);
насадки на кольца;
выталкиватель;
пресс винтовой;
весы лабораторные по ГОСТ 24104-80 с гирями по ГОСТ 7328-82;
стаканчики стеклянные по ГОСТ 25336-82 или алюминиевые;
эксикатор по ГОСТ 25336-82 с кальцием хлористым техническим по ГОСТ 450-77;
линейку лекальную;
скальпель;
штангенциркуль по ГОСТ 166-80;
смазку, не оказывающую химического воздействия на породу (вазелин технический, солидол и др.).
3.2. Для определения предела прочности применяют прибор одноосного сжатия ИГП-10 или П-12М либо пресс (механический, гидравлический), обеспечивающие передачу на образец непрерывно возрастающей силы, измеряемой с погрешностью не более 5 %.
Допускается применять пресс со ступенчатым нагружением.
3.3. Для испытания образцов пород по полной программе оборудование, указанное в п. 3.2, должно иметь устройство, обеспечивающее непрерывную запись перемещения торца образца в зависимости от приложенной силы. Погрешность измерения перемещения торца - не более 0,1 мм.
4. ПОДГОТОВКА К ИСПЫТАНИЮ
4.1. Образцы породы вырезают из монолита или керна режущим кольцом с помощью винтового пресса.
4.2. Внутренний диаметр и высоту кольца измеряют штангенциркулем с погрешностью не более 0,1 мм. Измерения проводят в трех-четырех сечениях и из полученных результатов измерений вычисляют среднее арифметическое значение диаметра и высоты кольца.
4.3. Режущее кольцо без образца породы взвешивают с погрешностью не более 0,01 г.
4.4. Кольцо помещают на выровненную поверхность монолита или керна и скальпелем срезают породу с наружной стороны кольца для обеспечения с помощью винтового пресса свободной насадки кольца на столбик породы. Перекос кольца при заполнении его породой не допускается.
После заполнения кольца породой на 0,90-0,95 его высоты на его верхний торец помещают насадку и заполняют ее породой на 2-3 мм, после чего кольцо с породой ножом отделяют от монолита, насадку снимают, а торцевые поверхности образца в кольце тщательно зачищают лекальной линейкой. При зачистке породу удаляют от центра образца к краям. Допускается установка насадки на кольцо до начала вырезания образца.
4.5. В непосредственной близости от места отбора образца берут две пробы для определения влажности.
4.6. Кольцо с породой взвешивают с погрешностью не более 0,01 г для определения плотности.
4.7. Образец породы с помощью выталкивателя осторожно извлекают из кольца.
4.8. Поверхность образца осматривают и характерные признаки породы (наличие или отсутствие слоистости, трещин, включений и др.) записывают в журнал испытаний в соответствии с рекомендуемым приложением 4 или в паспорт испытаний в соответствии с рекомендуемым приложением 5.
4.9. Образцы породы природной влажности испытывают непосредственно после их изготовления. Допускается хранить образцы, покрытые смазкой, не более 6 ч в эксикаторе. Перед испытанием смазку с торцов образца удаляют.
4.10. Для всех образцов пород определяют физические характеристики: влажность - по ГОСТ 5180-75, плотность - по ГОСТ 5182-78, влажность на границах раскатывания и текучести - по ГОСТ 5183-77 и рассчитывают плотность сухого грунта, коэффициент пористости, коэффициент водонасыщения, число пластичности и показатель консистенции.
5. ПРОВЕДЕНИЕ ИСПЫТАНИЙ
5.1. Образец породы помещают в центре столика прибора одноосного сжатия (или опорной плиты пресса). При испытаниях пород, разрушающихся по хрупкому типу, в целях беспрепятственного развития сдвига по плоскости скольжения рекомендуется помещать образец породы между сплошными жесткими штампами (см. черт. 1 рекомендуемого приложения 3).
5.2. Верхнюю опорную (нагрузочную) площадку приводят в соприкосновение с верхним торцом образца.
5.3. Скорость нагружения выбирают в зависимости от предполагаемой прочности породы таким образом, чтобы время проведения испытания составляло 5-7 мин.
5.4. При испытаниях по сокращенной программе записывают величину разрушающей силы, зафиксированной измерителем силы. При испытаниях пород, разрушающихся по пластическому типу, когда момент разрушения четко не фиксируется, за величину разрушающей силы принимается сила, соответствующая относительной продольной деформации 0,15.
5.5. При испытаниях по полной программе для определения модуля упругости образец нагружают до напряжения sе, равного примерно половине разрушающего напряжения, с последующей разгрузкой до 0, после чего образец снова нагружают до разрушения.
5.6. Условия и результаты испытаний записывают в журнал испытаний в соответствии с рекомендуемым приложением 4 или в паспорт испытаний в соответствии с рекомендуемым приложением 5.
6. ОБРАБОТКА РЕЗУЛЬТАТОВ
6.1. Предел прочности (sR) образца породы в паскалях вычисляют по формулам:
(при eR £ 0,1);
![]()
(при eR > 0,1),
где РR - сила, при которой происходит разрушение, Н;
S0 - начальная площадь поперечного сечения, м2;
S - текущая площадь среднего поперечного сечения образца, м2, рассчитанная в соответствии с рекомендуемым приложением 6;
eR - относительная продольная деформация в момент разрушения;
или в МПа по формулам:
(при eR £ 0,1);
![]()
(при eR > 0,1),
где S0 и S в см2.
Площади сечения образцов рекомендуемых диаметров указаны в справочном приложении 7.
6.2. Если значения предела прочности, полученные по параллельным испытаниям, различаются более чем на 20 %, проводят испытание еще одного образца. За результат принимают среднее арифметическое значение величины предела прочности.
6.3. Для получения предела прочности инженерно-геологического элемента (слоя) необходимое число определений устанавливают в зависимости от требований к точности и надежности результатов в соответствии с рекомендуемым приложением 8.
6.4. Статистическую
обработку результатов испытаний образцов (вычисление
; Sв;
) производят в соответствии с рекомендуемым приложением 9.
При необходимости вычисляют доверительный интервал величины sR при заданной доверительной
вероятности в соответствии с рекомендуемым приложением 9.
6.5. Модуль упругой деформации (Е) в МПа вычисляют по формуле
,
где sе - напряжение, с которого начинается разгрузка образца, МПа;
e" и e¢ - относительная продольная деформация в начале и конце разгрузки (см. черт. 1 обязательного приложения 10).
Модуль общей деформации (Е0) в МПа вычисляют по формуле
,
где sк и sн - напряжения в конце и начале выбранного участка кривой с монотонным возрастанием s, МПа (см. черт. 2 обязательного приложения 10);
eк и eн - относительные продольные деформации в конце и начале того же участка кривой (см. черт. 2 обязательного приложения 10).
6.6. Тип деформационного поведения устанавливают по виду диаграммы s - e (см. черт. 3 обязательного приложения 10).
ПРИЛОЖЕНИЕ 1
Рекомендуемое
ДОПОЛНИТЕЛЬНЫЕ ВИДЫ ИСПЫТАНИЙ ГЛИНИСТЫХ ПОРОД ПРИ ОДНООСНОМ СЖАТИИ
1. Определение коэффициента структурной прочности
Коэффициент структурной прочности (Ксп) определяется соотношением
,
где s¢R - предел прочности образца с нарушенной структурой.
Образцы с нарушенной структурой заданной влажности и плотности изготовляют в соответствии с ГОСТ 12248-78.
2. Определение длительной прочности
Кривая длительной прочности, т.е. зависимости времени t до разрушения образца от величины приложенного напряжения s представлена на черт. 1.
Кривая длительной прочности

Черт. 1
sст = sR - условно-мгновенная или «стандартная» прочность;
- предел длительной прочности,
строится по данным ряда испытаний с фиксированными напряжениями, составляющими
определенную долю от величины sR. Рекомендуется ряд напряжений 0,9sR; 0,8sR; 0,7sR; 0,6sR; 0,5sR.
За величину
принимается такое напряжение,
при котором в течение суток относительная продольная деформация увеличивается
менее чем на 0,1 %.
Для предохранения образца от высыхания его боковую поверхность покрывают смазкой, нагрузочное устройство с образцом помещают в полиэтиленовый мешок.
3. Определение характеристик сдвига - сцепления и угла внутреннего трения
В тех случаях, когда при разрушении четко выявляется плоская площадка скольжения, метод одноосного сжатия позволяет определять величину сцепления С0 и угла внутреннего трения j. С этой целью замеряют угол наклона поверхности площадки a (черт. 2). По определенным величинам sR и a находятся параметры прямолинейной огибающей диаграммы Мора:
![]()
j = 2a - 90°.
При малых углах внутреннего трения (j » 0 a = 45°) сцепление определяется как
.
Схема разрушения образца породы при одноосном сжатии

Диаграмма Мора при одноосном сжатии.

Черт. 3
ПРИЛОЖЕНИЕ 2
Рекомендуемое
РЕЖУЩИЕ КОЛЬЦА
1. Материал режущих колец и насадок - сталь коррозионно-стойкая (нержавеющая). Допускается сталь инструментальная легированная.
2. Ряд диаметров d0 режущих колец представляет произвольный ряд, полученный отбором третьих членов из ряда нормальных линейных размеров Rа 20 по ГОСТ 6636-69 (СТ СЭВ 514-77). Кольца выполняются геометрически подобными (черт. 1).
Режущие кольца сплошные

1 - кольцо; 2 - насадка
3. Допускается применение режущих колец с внутренним диаметром d0 = 70 мм.
4. Высота насадки h составляет 8-15 мм.
5. Ширина режущей кромки колец c (см. черт. 1) для глинистых пород полутвердой и твердой консистенции должна находиться в пределах 0,05-0,10 мм, для остальных глинистых пород - в пределах 0,03-0,05 мм.
6. Предельное отклонение размеров колец - охватывающих по Н 12, охватываемых - по h 12.
7. Разность максимальной и минимальной высот режущего кольца по образующей не должна превышать Dhт (см. таблицу).
Размеры режущих колец, мм
|
d0 |
h0 при |
D0 |
D0 |
Dhm |
|
|
|
|
||||
|
28 |
42 |
56 |
0,7 |
29,4 |
0,35 |
|
40 |
60 |
80 |
1,0 |
42 |
0,5 |
|
56 |
84 |
112 |
1,4 |
58,8 |
0,7 |
|
80 |
120 |
160 |
2,0 |
84 |
1,0 |
8. Шероховатость внутренней и внешней поверхностей режущих колец - не ниже 7-го класса по ГОСТ 2789-73.
9. Для облегчения извлечения образца породы из режущего кольца допускается применение колец с увеличенным внутренним диаметром кольца на верхнем торце по отношению к диаметру нижнего торца (отношение диаметров 1,01-1,02):
применение разрезных (черт. 2) и разъемных (черт. 3) режущих колец;
применение режущих колец с поднутрением (черт. 4).
10. Схема устройства для выталкивания образца из режущего кольца показана на черт. 5.
Режущее кольцо разрезное

1 - плоскость разъема кольца;
2 - стяжной хомут
Режущее кольцо разъемное

1 - плоскости разъема кольца;
2 - стяжной хомут
Режущее кольцо с поднутрением

Выталкиватель образца из режущего кольца

ПРИЛОЖЕНИЕ 3
Рекомендуемое
Схемы установки образцов породы в приборе одноосного сжатия

а - образцы с пластическим типом деформирования; б - образцы с хрупким типом деформирования;
1 - стальные или латунные штампы
Схемы установки силоизмерителя

1 - неподвижная опорная площадка; 2 - силоизмеритель (динамометр, тензодатчики и т.п.);
3 - испытуемый образец
Черт. 2
ПРИЛОЖЕНИЕ 4
Рекомендуемое
ЖУРНАЛ
испытаний глинистых пород на одноосное сжатие
(испытание по сокращенной программе)
|
№ п/п |
Дата испытания |
Район отбора |
Дата отбора |
Глубина, м |
Наименование породы |
|
|||||||||||||||
|
|
|
|
|
|
|
|
|||||||||||||||
|
|
|
|
|
|
|
|
|||||||||||||||
|
|
|
|
|
|
|
|
|||||||||||||||
|
|
|
|
|
|
|
|
|||||||||||||||
|
Характеристики кольца |
Масса кольца с породой mкп, кг |
Масса породы mп, г |
|
||||||||||||||||||
|
d0, мм |
h0, мм |
S0, см2 |
V0, см3 |
mк, г |
|
||||||||||||||||
|
|
|
|
|
|
|
|
|
||||||||||||||
|
|
|
|
|
|
|
|
|
||||||||||||||
|
|
|
|
|
|
|
|
|
||||||||||||||
|
|
|
|
|
|
|
|
|
||||||||||||||
|
Плотность r, г/см3 |
Плотность сухой породы ra, г/см3 |
Влажность W, % |
Коэффициент пористости е |
Граница текучести WL, % |
Граница раскатывания Wр, % |
|||||||||||||||||
|
|
|
|
|
|
|
|||||||||||||||||
|
|
|
|
|
|
|
|||||||||||||||||
|
|
|
|
|
|
|
|||||||||||||||||
|
|
|
|
|
|
|
|||||||||||||||||
|
Число пластичности Iр |
Показатель консистенции IL |
Коэффициент водонасыщения G |
Разрушающая сила РR, Н |
Относительная продольная деформация eR в момент разрушения |
||||||||||||||||||
|
|
|
|
|
|
||||||||||||||||||
|
|
|
|
|
|
||||||||||||||||||
|
|
|
|
|
|
||||||||||||||||||
|
|
|
|
|
|
||||||||||||||||||
|
Предел прочности sR, МПа |
Характеристика поверхности образца до испытания |
Зарисовка образца после испытания |
||||||||||||||||||||
|
|
|
|
||||||||||||||||||||
|
|
|
|
||||||||||||||||||||
|
|
|
|
||||||||||||||||||||
|
|
|
|
||||||||||||||||||||
ПРИЛОЖЕНИЕ 5
Рекомендуемое
ПАСПОРТиспытаний глинистых пород на одноосное сжатие(испытание по полной программе)Дата испытания ____________________ Район отбора ____________________________ Глубина отбора ____________________ Наименование породы _____________________ Характеристики кольца d0, мм _____________, h0, мм ____________, S0, см2 ___________, V0, см3 ____________, mк, г ____________, mкп, г ___________, mп, г ___________ Физические характеристики породы r, г/см3 ________, ra, г/см3 ________, W, % ________, wl, % _________, Wp, % ________, 1р, % __________, IL ___________, G ___________ Результаты испытания РR , Н _______, eR ______, sR, МПа _______, sе, МПа ________, e¢ ________, e² _______, eн _______, sн, МПа ______, eк ______, sк, МПа ______ Е, МПа ______, Е0, МПа ______ Место наклейки диаграммы Место для зарисовки или «напряжение-деформация» фотографии образца породы (s - e) после испытания Краткое описание поверхности образца перед испытанием и характера его разрушения ________________________________________________________________________ ___________________________________________________________________________ ___________________________________________________________________________ |
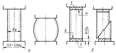
ПРИЛОЖЕНИЕ 6
Рекомендуемое
ОПРЕДЕЛЕНИЕ ПЛОЩАДИ СРЕДНЕГО ПО ВЫСОТЕ СЕЧЕНИЯ ДЛЯ ДЕФОРМИРОВАННЫХ ОБРАЗЦОВ ГЛИНИСТЫХ ПОРОД
При хрупко-пластичном и пластичном типах разрушения, когда разрушению образца предшествуют значительные деформации, необходимо при расчете предела прочности учитывать увеличение площади образца
,
где S > S0.
Величину площади S определяют непосредственным измерением диаметра образца штангенциркулем с погрешностью 0,1 мм и последующим расчетом.
В предположении о
несжимаемости породы
отношение
может быть определено
по известной относительной продольной деформации e. В случае сохранения
цилиндрической формы (Sh =
S0h0) (черт. б)
.
В случае, когда образец после сжатия приобретает форму бочки (черт. в) с образующей в виде дуги окружности, причем диаметр торца бочки сохраняется равным начальному диаметру образца, получается другое соотношение
.
Исходный (черт. а) и деформированные при одноосном сжатии (черт. б, в) образцы глинистых пород
ПРИЛОЖЕНИЕ 7
Справочное
Номинальные площади сечения и объемы образцов
|
Геометрические характеристики образца |
Диаметр образца, мм |
|||
|
28 |
40 |
55 |
80 |
|
|
Начальная площадь поперечного сечения S0, см2 |
6,15 |
12,5 |
24,5 |
50,0 |
|
Объем образца V0, см3: |
|
|
|
|
|
при |
25,9 |
75 |
206 |
600 |
|
при |
34,5 |
100 |
274 |
800 |
ПРИЛОЖЕНИЕ 8
Рекомендуемое
УСТАНОВЛЕНИЕ ЧИСЛА ОПРЕДЕЛЕНИЙ
Число определений (n) для получения среднего значения предела прочности для инженерно-геологического элемента (слоя) с допустимой погрешностью и требуемой надежностью (доверительной вероятностью) находят в зависимости от коэффициента вариации породы по графикам (см. черт. а, б) или рассчитывают по формуле
,
где g - доверительная вероятность;
- коэффициент вариации;
d - относительная погрешность среднего арифметического значения предела прочности.
Графики для установления числа определений при разных значениях коэффициента вариации и относительной погрешности
а - для доверительной вероятности g = 0,85; б - для доверительной вероятности g = 0,95
ПРИЛОЖЕНИЕ 9
Рекомендуемое
ОПРЕДЕЛЕНИЕ СТАТИСТИЧЕСКИХ ХАРАКТЕРИСТИК И ДОВЕРИТЕЛЬНОГО ИНТЕРВАЛА ДЛЯ ВЕЛИЧИНЫ ПРЕДЕЛА ПРОЧНОСТИ sR
1. Если проведено п опытов и получены значения предела прочности sR1, sR2, ... sRj, ... sRn, то определяются следующие величины:
- выборочное среднее
арифметическое значение;
- выборочное среднее
квадратическое отклонение;
- среднее квадратическое отклонение среднего
арифметического значения;
- коэффициент вариации.
2. Определение доверительного интервала позволяет оценить представительность эксперимента, зависящую от разброса значений показателя sR и количества испытаний.
При заданной доверительной вероятности g доверительный интервал ± D определяется соотношением:
, где
,
- квантили распределения
Стьюдента, находятся по ГОСТ 11.004-74.
Пример расчета
для слоя глинистой породы проведена серия опытов на одноосное сжатие, в результате которых получены следующие значения предела прочности sR: 0,35; 0,28; 0,53; 0,42; 0,43; 0,31; 0,41 МПа.
Выборочное среднее арифметическое значение полученных результатов составляет:
МПа.
Выборочное среднее квадратическое отклонение

Среднее квадратическое отклонение среднего арифметического значения
МПа.
Коэффициент вариации
%,
Задаемся величиной доверительной вероятности n =0,95.
К = 7 - 1 = 6.
По ГОСТ 11.004-74 значениям n = 0,95 и К = 6 соответствует значение tn = 1,94.
Величина D определяется как
МПа.
При этом относительная погрешность оценки среднего значения равна
%.
Доверительный интервал для предела прочности определяется соотношением:
.
Нижнее значение доверительного интервала предела прочности
sRн = 0,39 - 0,06 = 0,33 МПа.
Верхнее значение доверительного интервала предела прочности
sRв = 0,39 + 0,06 = 0,45 МПа.
ПРИЛОЖЕНИЕ 10
Обязательное
Определение модуля упругости

Определение модуля общей деформации

Типы деформационного поведения глинистых пород при одноосном сжатии

а - хрупкий тип деформирования; б - хрупко-пластический тип деформирования;
в - пластический тип деформирования
СОДЕРЖАНИЕ
Хотите оперативно узнавать о новых публикациях нормативных документов на портале? Подпишитесь на рассылку новостей!

