ГОСТ 18853-73 от 1974-07-01. Ворота деревянные распашные для производственных зданий и сооружений. Технические условия.

ГОСТ 18853-73

Группа Ж32


ГОСУДАРСТВЕННЫЙ СТАНДАРТ СОЮЗА ССР


ВОРОТА ДЕРЕВЯННЫЕ РАСПАШНЫЕ ДЛЯ

ПРОИЗВОДСТВЕННЫХ ЗДАНИЙ И СООРУЖЕНИЙ

Технические условия

Swing wooden gates for industrial buildings and structures.

Specifications


Дата введения 1974-07-01


ИНФОРМАЦИОННЫЕ ДАННЫЕ

1.  РАЗРАБОТАН

Всесоюзным  проектным и научно-исследовательским институтом типового и экспериментального проектирования сельскохозяйственных производственных комплексов и предприятий биологической промышленности (Гипронисельхоз) Министерства сельского хозяйства СССР

Центральным  научно-исследовательским и проектным институтом по планировке и застройке сельских населенных мест и жилищно-гражданскому строительству на селе (ЦНИИЭПграждансельстрой) Государственного комитета по гражданскому строительству и архитектуре при Госстрое СССР

РАЗРАБОТЧИКИ

И.М.Беркович,  И.А.Колодный, Л.Н.Крейндлин (руководители темы), Н.П.Птицын, Г.В.Левушкин

ВНЕСЕН  Министерством сельского хозяйства СССР


2.  ВВЕДЕН ВПЕРВЫЕ


3.  УТВЕРЖДЕН И ВВЕДЕН В ДЕЙСТВИЕ Постановлением Государственного комитета Совета Министров СССР по делам строительства от 29.05.73 N 79


4.  ССЫЛОЧНЫЕ НОРМАТИВНО-ТЕХНИЧЕСКИЕ ДОКУМЕНТЫ



Обозначение НТД, на который дана ссылка


Номер пункта


ГОСТ 515-77



1.3


ГОСТ 3916.1-89



2.2


ГОСТ 3916.2-89

 

2.2


ГОСТ 4598-86



1.3, 2.4


ГОСТ 5088-94



2.17


ГОСТ 6009-74



1.3


ГОСТ 7016-82



2.12


ГОСТ 7338-90



1.3


ГОСТ 7798-70



2.15


ГОСТ 8273-75



1.3


ГОСТ 8486-86



2.5, 2.6


ГОСТ 9330-76



2.1, 2.8


ГОСТ 14918-80



1.3


ГОСТ 15612-85



3.6


ГОСТ 15613.1-84



3.5


ГОСТ 15613.4-78



3.5


ГОСТ 16588-91



3.4


ГОСТ 17005-82

 

3.5


ГОСТ 24404-80



2.13


5.  ПЕРЕИЗДАНИЕ с Изменением N 1, утвержденным в апреле 1984 г. (ИУС 10-84)

Настоящий  стандарт распространяется на деревянные распашные ворота для зданий и сооружений сельскохозяйственных и промышленных предприятий с размерами по ширине и высоте не более 3 м.

Стандарт  не распространяется на ворота специального назначения.

(Измененная  редакция, Изм. N 1).


1. ТИПЫ И РАЗМЕРЫ

1.1.  Ворота деревянные распашные подразделяют на глухие и с  калиткой.

Ворота  состоят из левого и правого полотен.

Калитка  в воротах должна быть в правом полотне.

Открывание  ворот и калиток должно быть наружу, только правое, с  притвором в четверть.


1.2.  Размеры ворот должны соответствовать указанным на черт.1  и в табл.1.


1.3.  Общий вид ворот, форма и размеры сечений деталей ворот, а  также размер зазора в притворе калитки должны соответствовать указанным на четр.2-4.


1.2,  1.3. (Измененная редакция, Изм. N 1).

Схемы ворот

Черт.1


Таблица 1


                                 мм

--------------------------------------------------------------------

¦Типоразмер¦     В     ¦     Н     ¦    В(1)   ¦     b    ¦    h   ¦

¦  ворот   ¦           ¦           ¦           ¦          ¦        ¦

+------------------------------------------------------------------+

  ВРГ30-30    2950         2900        1480         -          -

  ВРГ30-27    2950         2600        1480         -          -

  ВРГ24-24    2350         2300        1180         -          -

  ВРК30-30    2950         2900        1480        800       1800

  ВРК30-27    2950         2600        1480        800       1800

1.4.  (Исключен, Изм. N 1).

1.5.  Предельные отклонения от размеров полотен ворот, калиток и деталей каркаса указаны в табл.2.

Таблица 2

+------------------------------------------------------------------+

¦Наименование элементов¦              Пред. откл., мм              ¦

¦       ворот          +-------------------------------------------¦

¦                      ¦   по высоте  ¦   по ширине  ¦  по толщине ¦

+------------------------------------------------------------------+

     1. Полотна ворот        ±3              ±3            ±2

     2. Калитки              ±2              ±2            ±1

     3. Детали каркаса       -               ±2            ±1


1.6.  (Исключен, Изм. N 1).

1.7.  Все размеры на чертежах приведены для неокрашенных деталей и изделий.

Общий вид ворот

Глухих

           


С калиткой

           

Сечения элементов приведены на черт.3 и 4.

Черт.2

1.8.  Условное обозначение ворот должно состоять из букв ВР (ворота распашные), Г (глухие) или К (с калиткой), двух чисел (через тире), означающих ширину и высоту проема в дециметрах, буквы Н для неутепленных ворот и обозначения настоящего стандарта.

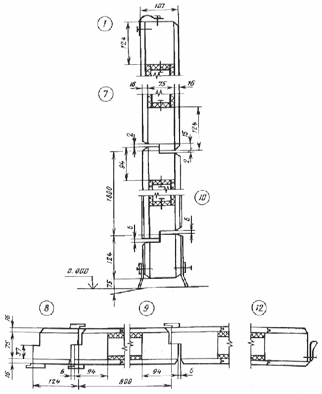
Форма и размеры сечений деталей ворот с глухими полотнами

   

1 - листовая техническая резина толщиной 3 мм по ГОСТ 7338;

2, 3 - наружная и внутренняя обшивка; 4 - оберточная бумага по ГОСТ 8273;

5 - упаковочная битумная бумага по ГОСТ 515; 6 - ДВП по ГОСТ 4598;

7 - тонколистовая оцинкованная сталь по ГОСТ 14918;

8 - стальная лента 20х2 мм по ГОСТ 6009; 9 - нащельник


Черт.3

Примечание.  Уплотнения притворов должны выполняться с обеих сторон полотна.

Форма и размеры сечений деталей ворот с калиткой

Черт.4

Примечание.  Уплотнения притворов калитки должны выполняться в соответствии с узлом 1 на черт.3.

Пример  условного обозначения

ворот  распашных глухих шириной 30 и высотой 27 дм:

ВРГ30-27 ГОСТ 18853-73

То  же, ворот с калиткой: ВРК30-27 ГОСТ 18853-73

То  же, ворот неутепленных: ВРК30-27 Н ГОСТ 18853-73

(Измененная  редакция, Изм. N 1).

2. ТЕХНИЧЕСКИЕ ТРЕБОВАНИЯ

2.1.  Полотна ворот и калиток состоят из деревянных каркасов, обшитых с двух сторон по вертикали строгаными досками толщиной 16 мм и шириной от 50 до 120 мм, соединенными между собой по кромке в четверть или паз и гребень по ГОСТ 9330.

Ширина  досок обшивки в комплекте ворот, состоящем из левого и правого полотен, должна быть одинаковой.

2.2.  Допускается обшивка каркасов полотен ворот и калиток березовой фанерой марки ФСФ толщиной 6 мм не ниже сорта В/ВВ по ГОСТ 3916.1 или ГОСТ 3916.2.

Фанеру  к каркасу полотен ворот крепят на клеях повышенной водостойкости и прижимают гвоздями длиной не менее 50 мм, располагаемыми на расстоянии 150-200 мм друг от друга.

На  каждой стороне полотна должно быть более одного соединения листов фанеры. Соединения следует располагать на бруске каркаса.


2.3.  Каркасы полотен ворот и калиток обшивают досками со стороны помещения по слою упаковочной битумной бумаги, а с наружной стороны - по слою оберточной бумаги (масса 1 кв.м бумаги не должна быть менее 70 г).

Доски  обшивки крепят к каркасам полотен ворот и калиток гвоздями длиной не менее 50 мм.


2.4.  Между обшивками, внутри каркаса полотен ворот и калиток укладывают утеплитель, как указано на черт.3 и 4.

В  качестве утеплителя применяют изоляционные ДВП толщиной 12 мм по ГОСТ 4598.

Допускается  применение и других теплоизоляционных материалов при условии отсутствия их усадки при ударах и сотрясениях ворот.

По  требованию потребителей допускается изготовление неутепленных ворот с односторонней обшивкой.

Допускается  заполнение утеплителем всей воздушной полости между обшивками.

(Измененная  редакция, Изм. N 1).


2.5.  Детали полотен ворот и калиток должны изготовляться из пиломатериалов хвойных пород не ниже 3-го сорта по ГОСТ 8486.

На  лицевых поверхностях изделий обзол не допускается.

На  нелицевых поверхностях изделий обзол должен быть очищен от коры и луба.


2.6.  Сучки частично сросшиеся, несросшиеся, загнившие, гнилые табачные, а также смоляные кармашки в деталях обшивки должны быть плотно (на клее повышенной водостойкости) заделаны пробками или планками, а червоточины, отщепы и выколы - синтетическими замазками.

Размеры  пробок не должны превышать размеров сучков, допускаемых для пиломатериалов 3-го сорта по ГОСТ 8486.


2.7.  Влажность древесины деталей полотен ворот не должна быть более 18 абс. %.

Влажность  древесины заделок должна быть на 2-3 абс. % ниже влажности древесины деталей.


2.8.  Детали ворот могут изготовляться клееными по сечению и длине на клеях повышенной водостойкости. Соединения по длине должны быть выполнены на зубчатый шип по ГОСТ 9330.

Прочность  клеевых соединений должна быть не менее, кгс/кв.см:

  на скалывание вдоль волокон ................................ 60

     

  на изгиб деталей, склеенных на зубчатый шип ............... 150

Предприятие-изготовитель  обязано проверить прочность клеевых соединений не реже одного раза в месяц и при получении каждой новой партии клея.


2.9.  Угловые соединения брусков каркасов полотен ворот и калиток должны быть выполнены на двойные открытые сквозные шипы; соединения горизонтальных и вертикальных брусков, образующих притвор калитки, - на серединный сквозный одинарный шип.

Каркасы  полотен ворот и калиток собирают на клеях повышенной водостойкости с креплением нагелями.

Провесы  в местах соединений брусков каркасов не должны превышать ±0,5 мм.

Бруски  под обшивку следует крепить гвоздями к брускам каркаса.


2.10.  Нащельники следует устанавливать на клеях повышенной водостойкости и прикреплять шурупами, имеющими антикоррозионное покрытие, с шагом 250 мм.


2.11.  Изделия и их элементы должны иметь правильную геометрическую форму.

Отклонение  от прямолинейности деталей не должно быть более 2 мм по всей длине. Отклонение от плоскостности полотен и калиток не должно быть более 3 мм по всей их поверхности.


2.12.  Шероховатость лицевых поверхностей обшивки не должна быть более Rm 320 мкм, брусков каркаса - Rm 500 мкм по ГОСТ 7016.


2.13.  Поверхности ворот должны иметь защитно-декоративное покрытие атмосферостойкими лакокрасочными материалами и соответствовать требованиям V класса по ГОСТ 24404. Допускается по согласованию изготовителя с потребителем поставка ворот с огрунтованными полотнами.


2.11-2.13.  (Измененная редакция, Изм. N 1).


2.14.  Форма и размеры металлических накладок и навесов должны соответствовать указанным на черт.5-7.


2.15.  Крепление металлических накладок и навесов к полотнам ворот должно производиться, как указано на черт.8 и 9.


2.16.  Накладки и навесы для установки их на полотна ворот должны иметь антикоррозионное покрытие. Допускается окраска их масляной краской за два раза.


2.17.  Калитка должна быть навешена на две петли типа ПН1-130 по ГОСТ 5088. Петли устанавливают на расстоянии 200 мм от верха и низа полотна калитки.


2.18.  Нижняя часть ворот должна быть защищена с обеих сторон полосами из оцинкованной стали толщиной 0,5-1,0 мм на высоту 250-300 мм.


2.19.  Ворота должны поставляться предприятием-изготовителем в комплекте, состоящем из левого и правого полотен с прикрепленными к ним металлическими навесами и накладками, с навешенными на петли калитками и резиновыми уплотнителями притворов.

Детали  навесов, привариваемые к закладным деталям при заполнении проемов, должны быть упакованы в тару и поставлены заказчику в комплекте с изделиями.

(Измененная  редакция, Изм. N 1).


2.20.  (Исключен, Изм. N 1).


2.21.  Примеры установки ворот в железобетонных и кирпичных стенах приведены в приложениях 1 и 2.

(Измененная  редакция, Изм. N 1).


2.22.  Ворота должны быть поштучно приняты отделом технического контроля предприятия-изготовителя.


2.23.  Навесы, гвозди, шурупы, болты и другие крепежные изделия должны иметь антикоррозионное покрытие.

(Введен  дополнительно, Изм. N 1).

3. ПРАВИЛА ПРИЕМКИ И МЕТОДЫ ИСПЫТАНИЙ

3.1.  Ворота принимают партиями. Объем партии устанавливают по согласованию изготовителя с потребителем.

(Измененная  редакция, Изм. N 1).


3.2.  Для контрольной проверки потребителем качества ворот от каждой партии отбирают 3% ворот, но не менее 2 шт.

Если  в результате проверки ворота не будут соответствовать хотя бы одному из требований настоящего стандарта, производят поштучно приемку ворот.


3.3.  Размеры, отклонения от формы проверяют с погрешностью до 1 мм металлическим измерительным инструментом; качество покрытия проверяют визуально; требования к материалам - по НТД, определяющей их качество.

(Измененная  редакция, Изм. N 1).


3.4.  Влажность древесины ворот определяют по ГОСТ 16588 или влагомером.


3.5.  Прочность клеевых соединений ворот проверяют по ГОСТ 15613.1 и ГОСТ 15613.4, водостойкость - по ГОСТ 17005.


3.6.  Шероховатость лицевых поверхностей ворот определяют по ГОСТ 15612.


3.7.  (Исключен, Изм. N 1).

Форма и размеры стальных накладок и навесов

а)  общий вид стальных накладок с навесами

1 - деталь 1; 2 - деталь 2

Примечания:


1.  Стальные накладки приведены на черт.6.


2.  Детали 1 и 2 приведены на черт.7.


Черт.5

б)  стальные накладки

Примечания:


1.  Накладки выполняют из стали толщиной 8 мм.

На  черт.5 и 6 стальные накладки и навесы показаны для левого полотна ворот; для правого полотна изображение - обратно чертежу (зеркальное).


Черт.6

в)  детали навесов


               Деталь 1                              Деталь 2

Примечание.  Деталь 1 приваривают к закладной детали колонны или стены, деталь 2 - к металлическим накладкам полотен ворот


Черт.7

4. МАРКИРОВКА, ХРАНЕНИЕ И ТРАНСПОРТИРОВАНИЕ

4.1.  На боковой кромке каждого изделия должны быть несмываемой краской нанесены: товарный знак предприятия-изготовителя, адрес предприятия-изготовителя, условное обозначение ворот, масса и дата выпуска изделия.

(Измененная  редакция, Изм. N 1).


4.2.  Ворота должны быть рассортированы по маркам и храниться в закрытом складе установленными на ребро, в вертикальном положении.


4.3.  При хранении и транспортировании ворот должны быть приняты меры к предохранению их от механических повреждений, увлажнения и загрязнения.

Крепление металлических накладок и навесов

а)  в глухих полотнах


Черт.8

б)  в полотнах с калиткой


1 - болты М12х120 по ГОСТ 7798


Черт.9



Приложение 1

Справочное

Пример установки ворот в проемах с железобетонным каркасом

         

1 - железобетонный каркас;  2 - полотно ворот; 3 - уголок 150х100х10;

4 - уголок обрамления 45х45х5.

Приложение 2

Справочное

Пример крепления обрамления проемов ворот

к кирпичной стене

             

1 -  железобетонная перемычка по проекту; 2 - закладная деталь перемычки; 3 - деталь 1;

4 - уголок обрамления 45х45х5; 5 - закладная деталь

Деталь 1 приведена на черт.7

Текст документа сверен по:

офицальное издание

Деревянные детали и изделия

из древесины для строительства.

Часть 2. Ворота, детали и изделия,

щиты перекрытий и покрытий, балки

перекрытий, изделия паркетные, конструкции

клееные, плиты ДВП и ЦСП: Сб. ГОСТов. -

М.: ИПК Издательство стандартов, 1996

Предоставлено компанией МГК "Информпроект".




Хотите оперативно узнавать о новых публикациях нормативных документов на портале? Подпишитесь на рассылку новостей!

Все ГОСТы >>    ГОСТы «Строительство, ремонт, монтаж >>



Смотрите также: Каталог «Строительство, ремонт, монтаж» >>
Компании «Строительство, ремонт, монтаж» >>
Статьи (246) >>
ГОСТы (116) >>
СНиПы (94) >>
СанПиНы (14) >>
Нормативные документы (13) >>
ВСН (38) >>
Подписка на рассылки >>
Задать вопрос в форуме >>
Форум "Строительство коттеджей, дачных домов, бань, гаражей" >>
Форум "Деревянные дома и бани" >>
Форум "Каркасные дома" >>
Форум "Дома из кирпича и строительных блоков" >>
Форум "Гаражи, беседки, хоз.постройки, заборы, ворота" >>
Форум "Отчеты и фото о строительстве" >>
Форум "Нормативные документы по строительству" >>
Форум "Фундамент, расчет фундамента, грунты, заливка фундамента" >>
наверх