Все Ведомственные строительные нормы (ВСН) >> Ведомственные строительные нормы (ВСН)«Отопление и газоснабжение»
ВСН 56-87. Геотермальное теплохладоснабжение жилых и общественных зданий и сооружений. Нормы проектирования.
ВСН 56-87
-----------------------------
Госкомархитектуры
ВЕДОМСТВЕННЫЕ СТРОИТЕЛЬНЫЕ НОРМЫ
ГЕОТЕРМАЛЬНОЕ ТЕПЛОХЛАДОСНАБЖЕНИЕ ЖИЛЫХ
И ОБЩЕСТВЕННЫХ ЗДАНИЙ И СООРУЖЕНИЙ
Нормы проектирования
Дата введения 1988-07-01
РАЗРАБОТАНЫ ЦНИИЭП инженерного оборудования Госкомархитектуры (канд. техн. наук В.И. Красиков - руководитель темы, ответственный исполнитель).
ВНЕСЕНЫ ЦНИИЭП инженерного оборудования Госкомархитектуры.
ПОДГОТОВЛЕНЫ К УТВЕРЖДЕНИЮ Управлением инженерного оборудования населенных мест (инж. А.Б.Рубцов) и Управлением по научным исследованиям и нормированию (инж. Т.С.Фомичева) Госкомархитектуры.
УТВЕРЖДЕНЫ приказом Государственного комитета по архитектуре и градостроительству при Госстрое СССР от 27 октября 1987 г. N 328.
С введением в действие ВСН 56-87/Госкомархитектуры "Геотермальное теплохладоснабжение жилых и общественных зданий и сооружений. Нормы проектирования" утрачивает силу "Инструкция по комплексному использованию геотермальных вод для теплохладоснабжения зданий и сооружений" ВСН 36-77/Госгражданстрой.
Согласовано с Минздравом СССР письмом N 121-4/321-6 от 16.06.87 г.
1. Общие положения
1.1. Настоящие Нормы распространяются на проектирование вновь строящихся и реконструируемых систем теплохладоснабжения с использованием теплоты геотермальных вод.
Нормы не распространяются на использование геотермальных вод для выработки электрической энергии в бальнеологии, извлечения из них полезных химических веществ.
1.2. Геотермальные воды, отнесенные в установленном порядке к категории лечебных, должны использоваться прежде всего для лечебных и курортных целей. На нужды теплоснабжения они могут быть использованы только при разрешении органов по регулированию использования и охране водных ресурсов, а также при согласовании с органами здравоохранения и управления курортами.
1.3. С учетом требований п.1.2 теплота геотермальных вод должна применяться для отопления, горячего водоснабжения, вентиляции и кондиционирования воздуха жилых, общественных и производственных зданий и сооружений.
1.4. Разработка проектов геотермальных систем теплоснабжения должна производиться, как правило, на основе расчетной потребности в теплоте и балансовых запасов геотермальных вод, утвержденных в соответствии с "Классификацией эксплуатационных запасов и прогнозных ресурсов подземных вод" и "Инструкцией по применению классификации эксплуатационных запасов подземных вод к месторождениям теплоэнергетических вод" Государственной комиссии по запасам полезных ископаемых при Совете Министров СССР.
1.5. Проектирование и строительство геотермальных систем теплоснабжения допускается без утверждения запасов геотермальных вод, если капитальные вложения при этом не превышают 500 тыс. руб.
1.6. В регионах распространения геотермальных вод, указанных в справочном прил.2, при проектировании вновь строящихся зданий и сооружений должен рассматриваться вопрос об их теплоснабжении за счет геотермального источника теплоты.
1.7. Разработка проектной документации систем геотермального теплоснабжения должна осуществляться в две стадии: проект и рабочая документация.
1.8. В случаях когда осуществление геотермальной системы теплоснабжения включает создание нового термоводозабора, а также при использовании термоводозабора, который ранее не использовался в качестве источника теплоты, проектированию должно предшествовать технико-экономическое обоснование.
1.9. Новые геотермальные скважины, как правило, следует располагать в непосредственной близости от потенциальных потребителей геотермальной теплоты.
2. Теплотехнические и экономические принципы использования геотермальных вод
2.1. Технические решения геотермальных систем теплоснабжения должны обеспечивать возможно большую глубину срабатывания теплового потенциала геотермального теплоносителя и равномерность использования утвержденного максимального дебита термоводозабора в течение года.
2.2. За расчетный расход геотермального теплоносителя следует принимать суммарный дебит скважин термоводозабора, соответствующий утвержденному режиму его эксплуатации.
2.3. За расчетную температуру геотермального теплоносителя, изливаемого одной скважиной, должна приниматься его температура при дебите, определенном в соответствии с п.2.2.
2.4.
За расчетную температуру геотермального
теплоносителя,
,
получаемого на термоводозаборе, имеющем
две и более скважин, должна приниматься
средневзвешенная температура
термоводозабора, которую следует
вычислять по формуле
(1)
|
|
|
|
|
к -
|
количество геотермальных скважин термоводозабора, шт;
|
|
|
температуры на устьях скважин, °С;
|
|
|
|
дебиты геотермальных скважин, кг/с.
|
|
2.5.
При разработке геотермальных систем
теплоснабжения необходимо обеспечивать
максимальное значение коэффициента их
эффективности
при
одновременном минимальном удельном
расходе геотермальной воды на единицу
расчетной тепловой нагрузки.
2.6.
Коэффициент эффективности геотермальной
системы теплоснабжения
должен определяться по формуле
(2)
|
|
|
|
|
|
|
|
|
|
степень относительного срабатывания температурного перепада;
|
|
|
|
Z -
|
степень относительного использования максимума нагрузки, определяется по табл.1;
|
|
|
|
|
степень относительного увеличения расчетного дебита термоводозабора, принимается по графикам рис.1;
|
|
|
|
|
доля пикового догрева в годовом тепловом балансе системы геотермального теплоснабжения (рис.2);
|
|
|
|
|
расчетная температура геотермального теплоносителя с учетом пикового догрева и его сбросная температура;
|
|
|
|
|
расчетная температура геотермального теплоносителя, определенная в соответствии с пп.2.3 или 2.4.
|
|
Обозначения в формулах табл.1:
|
|
|
|
|
|
|
продолжительность отопительного сезона, ч;
|
|
|
средние за сезон коэффициенты отпуска теплоты для систем отопления и вентиляции, определяемые по формуле
|
|
(3)
Таблица 1
|
|
|
|
|
Потребители
|
Степень использования максимума нагрузки
|
Коэффициент использования термоводозабора
|
|
Системы отопления:
с зависимым присоединением к геотермальной тепловой сети
|
|
|
|
с зависимым присоединением к сети и пиковым догревом
|
|
|
|
Системы вентиляции:
с зависимым присоединением к геотермальной тепловой сети
|
|
|
|
с зависимым присоединением к сети и пиковым догревом
|
|
|
|
Открытые системы горячего водоснабжения
|
|
|
Рис.1. Графики для определения степени относительного
увеличения расчетного дебита термоводозабора
|
|
|
|
|
|
температура воздуха в обслуживаемых помещениях, °С;
|
|
|
расчетная температура наружного воздуха для проектирования систем отопления или вентиляции, °С ;
|
|
|
|
средняя за период работы систем отопления или вентиляции температура наружного воздуха, °С;
|
|
|
|
среднегодовой коэффициент использования скважин термоводозабора, представляющий отношение фактического годового отбора геотермальной воды к максимальному отбору, вычисляемому как произведение
|
|
|
|
расчетный расход геотермального теплоносителя (см. п.2.2);
|
|
|
продолжительность работы пикового догрева, ч.
|
|
Величину
,
(сут.), следует определять по климатологическим
данным. В ориентировочных расчетах
допускается использовать формулу
(4)
|
|
|
|
|
А и В -
|
эмпирические коэффициенты, определяемые соответственно по графикам на рис.3 и 4;
|
|
|
относительные коэффициенты отпуска теплоты, средние за период работы с момента отключения пикового источника теплоты до окончания отопительного сезона и подогрева приточного воздуха, определяемые выражением
|
|
(5)
|
|
|
|
|
коэффициенты
отпуска теплоты, соответствующие
моментам отключения пикового догрева
и окончания отопительного сезона.
Ориентировочные значения
|
Рис.2. Графики для определения доли пикового догрева при отоплении
Рис.3. Эмпирический коэффициент А для опредедения доли пикового догрева
Рис.4. Эмпирический коэффициент В для определения доли пикового догрева
для
вентиляции
(6)
для
отопления
(7)
|
|
|
|
|
температура
сбросной геотермальной воды,
соответствующая
|
Примечания:
1. В системах геотермального теплоснабжения
с независимым присоединением систем
отопления и вентиляции при определении
величины
в
числителе вместо
следует
подставлять разность
![]()
где
-
разность температур греющего и
нагреваемого теплоносителя на "горячем
конце" противоточного промежуточного
теплообменника, принимаемая, как правило,
5-10 град. С.
2.
Примеры определения величины
для
различных геотермальных систем
теплоснабжения приведены в рекомендуемом
прил.4.
2.7.
Для объектов геотермального теплоснабжения,
имеющих нагрузку отопления, вентиляции
и горячего водоснабжения, общий
коэффициент
следует
определять по формуле
(8)
|
|
|
|
|
|
доли расчетного дебита геотермальной воды, расходуемые соответственно на отопление, вентиляцию и горячее водоснабжение, рассчитываемые по формулам:
|
(9)
,
(10)
,
(11)
|
|
|
|
|
|
расчетные нагрузки отопления, вентиляции и горячего водоснабжения, Вт;
|
|
c -
|
удельная теплоемкость теплоносителя, Дж/(кг°С);
|
|
|
|
расчетные перепады температур теплоносителя в системах отопления, вентиляции и горячего водоснабжения, °С
|
|
|
|
удельный расход геотермальной воды, приходящейся на единицу расчетной тепловой нагрузки объекта, кг/Дж, который следует рассчитывать по формуле
|
|
=
(12)
|
|
|
|
|
общая тепловая нагрузка объекта геотермального теплоснабжения, Вт;
|
|
|
степень относительного увеличения расчетного дебита термоводозабора для объекта в целом, определяемая по графикам, изображенным на рис.1 в зависимости от средневзвешенной величины коэффициента использования термоводозабора:
|
(13)
(14)
Примечание. Графики на рис.1 следует применять во всем диапазоне теплотехнических и гидрогеологических факторов для двух гидродинамических схем - неограниченного и полуограниченного пластов с нулевым расходом на контуре.
2.8.
Повышенные значения коэффициента
эффективности
и
сокращение удельного расхода геотермальной
воды следует обеспечивать путем
использования систем отопления с
увеличенным расчетным перепадом
температур теплоносителя, пикового
догрева, тепловых насосов, комплексного
использования геотермального теплоносителя
с последовательным присоединением
разнородных потребителей, предпочтительным
использованием геотермальной теплоты
на горячее водоснабжение, систем
воздушного отопления, сезонных
потребителей геотермальных вод. Указанные
способы могут комбинироваться.
2.9. В южных районах страны геотермальную воду, используемую зимой на отопление, в летний период допускается использовать для выработки холода.
2.10. С уменьшением тепловой нагрузки отопления, как правило, следует предусматривать использование высвобождающейся геотермальной теплоты в плавательных бассейнах, банях, прачечных и т.п.
2.11. При использовании в бальнеологических целях геотермальных вод, имеющих температуру выше 50 °С, их охлаждение до необходимых в бальнеологии температур допускается производить в закрытых системах теплоснабжения зданий.
2.12. При технико-экономических расчетах в качестве базисного следует принимать вариант, обеспечивающий покрытие заданной тепловой нагрузки традиционной системой с учетом реальных условий и ближайших перспектив развития теплоснабжения данного населенного пункта.
2.13. Сравнение вариантов традиционной и геотермальной систем теплоснабжения, различающихся продолжительностью строительства (свыше 1 года) или распределением капитальных вложений по годам строительства, следует производить приведением капитальных вложений более поздних лет к базисному году.
2.14.
Приведение капитальных вложений,
,
осуществляемых в разные сроки, и текущих
затрат, изменяющихся во времени, следует
производить по формуле
(15)
|
|
|
|
|
|
затраты в Т году;
|
|
Т -
|
период времени приведения в годах, принимаемый равным разности между годом Т и базисным годом, к которому производится приведение затрат. При этом затраты базисного года строительства приведению не подлежат;
|
|
|
|
норматив для приведения разновременных затрат.
|
|
2.15. В геотермальных системах теплоснабжения с расчетным сроком службы 20 лет приведение затрат по вариантам согласно требованиям п.2.14 настоящих Норм производится с учетом всего срока службы этих систем.
2.16. Сопоставимость базисного варианта с геотермальной системой теплоснабжения, обеспечивающей частичное покрытие расчетной тепловой нагрузки, производится введением экономических показателей традиционной системы, рассчитываемых с учетом разности тепловых нагрузок
(16)
|
|
|
|
|
|
где
|
|
общая расчетная тепловая нагрузка всех потребителей, МВт (см.п.2.7);
|
|
|
|
расчетная нагрузка, обеспечиваемая геотермальной системой теплоснабжения, МВт.
|
||
Аналогично должно производиться сравнение вариантов геотермальных систем теплоснабжения с различными показателями тепловых нагрузок.
2.17. При наличии в сравниваемых вариантах систем элементов, имеющих равные показатели капитальных вложений и эксплуатационных расходов, расчет показателей приведенных затрат по этим вариантам допускается производить на "разность" (расчет "нетто"), т.е. с исключением из расчета указанных элементов.
2.18. Дополнительную экономию тепловой энергии при комплексном использовании термоводозабора (например, при наличии сезонных потребителей геотермальной воды) в технико-экономическом расчете следует учитывать соответствующим увеличением эксплуатационных затрат в базисном варианте.
2.19. При технико-экономическом сравнении геотермального и базисного вариантов системы теплоснабжения следует учитывать экономию водопроводной воды в случае использования геотермальной воды на соответствующие нужды.
2.20. Амортизационные отчисления на реновацию по тем элементам систем геотермального теплоснабжения, которые за пределами расчетного срока функционирования геотермальных скважин не могут быть использованы, следует определять с учетом этого срока.
2.21. В технико-экономических расчетах должна учитываться необходимость расширения или нового строительства сооружений для обработки отработанной геотермальной воды перед ее сбросом или обратной закачкой.
3. Схемы и оборудование геотермальных систем теплоснабжения
3.1. Принципиальные схемы геотермальных систем теплоснабжения должны выбираться с учетом температуры и химического состава геотермального теплоносителя, характера возможного потребления геотермальной теплоты, условий сброса отработанной геотермальной воды, наличия источника питьевой воды, взаимного расположения термоводозабора, потребителя, места сброса и источника воды питьевого качества, а также расстояний между ними (см. обязательное прил.1 и рекомендуемое прил.3).
3.2. Оборудование геотермальных систем теплоснабжения должно выбираться с учетом данных по химическому и газовому составам геотермального теплоносителя, а также испытаний его на агрессивность и склонность к отложению солей (см. рекомендуемое прил.3).
3.3. В качестве исходных данных по запасам, физическим и химическим свойствам геотермального теплоносителя следует принимать данные, полученные от организаций, эксплуатирующих термоводозабор или производивших разведку месторождения геотермальных вод.
3.4. На термоводозаборе, как правило, следует предусматривать сборную емкость геотермальной воды, установку которой, а также прокладку сборных тепловых сетей следует производить с учетом рельефа местности и допустимой величины противодавления.
3.5. Избыточное давление скважин, как правило, следует использовать только для подачи геотермального теплоносителя в сборную емкость. Подача его потребителю должна производиться насосами.
При отсутствии гидрогеологических противопоказаний допускается использовать избыточное давление скважин для осуществления циркуляции геотермального теплоносителя в тепловой сети.
3.6. Объем сборной емкости следует, как правило, принимать в размере не менее 1 часового дебита термоводозабора.
3.7. При эксплуатации термоводозабора в режиме обратной закачки принципиальная схема системы геотермального теплоснабжения должна обеспечивать возврат, как правило, всего объема добытой геотермальной воды на насосную станцию обратной закачки после использования ее теплового потенциала.
3.8. Температура и качество геотермальной воды, поступающей на насосную станцию обратной закачки после использования, должны быть согласованы с организацией, эксплуатирующей термоводозабор.
3.9. Сброс отработанных геотермальных вод в открытые водоемы после использования их теплового потенциала должен производиться в соответствии с требованиями "Правил охраны поверхностных вод от загрязнения сточными водами".
3.10. При проектировании сбросных трубопроводов следует обеспечивать предотвращение замерзания сбросной геотермальной воды при транспортировании.
3.11. При проектировании систем геотермального теплоснабжения необходимо учитывать охлаждение теплоносителя при транспортировании до потребителя.
3.12. При соответствии слаботермального и термального (см. справочное прил.2), геотермального теплоносителя требованиям действующих норм на воду питьевую допускается создание однотрубных открытых систем горячего водоснабжения зданий и обеспечением отопления их от другого источника теплоты (см. рекомендуемое прил.3).
3.13. Геотермальные системы теплоснабжения на базе месторождений высокотермальных и перегретых вод (см. справочное прил.2) питьевого качества должны, как правило, представлять собой однотрубную открытую систему теплоснабжения с зависимым присоединением отопления (см. рекомендуемое прил.3).
3.14. При использовании природных теплоносителей непитьевого качества следует, как правило, применять закрытые геотермальные системы теплоснабжения с зависимым или независимым присоединением систем отопления. При этом для размещения теплообменного оборудования системы теплоснабжения должны включать центральные геотермальные тепловые пункты (ЦТПГ).
3.15. Проектирование ЦТПГ должно производиться в соответствии с требованиями СНиП 2.04.07-86 "Тепловые сети. Нормы проектирования".
3.16. ЦТПГ следует размещать таким образом, чтобы до минимума сократить протяженность трубопроводов, по которым циркулирует геотермальный теплоноситель.
3.17. При сбросе отработанной геотермальной воды близ термоводозабора или эксплуатации последнего методом обратной закачки ЦТПГ следует размещать в непосредственной близости от термоводозабора. При этом распределительная тепловая сеть негеотермального теплоносителя должна быть, как правило, двухтрубной. При обосновании допускается применение четырехтрубных распределительных сетей.
3.18. При отсутствии обратной закачки и размещении места сброса отработанной геотермальной воды вблизи потребителя допускается размещать ЦТПГ в непосредственной близости от последнего. При этом транзитная (магистральная) тепловая сеть геотермального теплоносителя, как правило, должна быть однотрубной, а распределительная тепловая сеть - четырехтрубной.
3.19. Термоводозаборы открытых геотермальных систем теплоснабжения должны иметь обустройство и зону санитарной охраны в соответствии с требованиями СНиПа по проектированию наружных сетей и сооружений водоснабжения.
3.20. Не допускается проектирование открытых геотермальных систем теплоснабжения в том случае, когда геотермальная вода способна оставлять осадок, портящий эстетический вид поверхности ванн, раковин и другого санитарно-технического оборудования.
3.21. Технические решения открытых геотермальных систем теплоснабжения необходимо согласовывать с органами санитарного надзора. Этими же органами при необходимости должны определяться меры по улучшению качества геотермального теплоносителя, подаваемого на водоразбор, а также методы и периодичность контроля их качества.
3.22. В геотермальных системах горячего водоснабжения допускается пониженная температура теплоносителя в точках водоразбора (но не ниже 45 °С) при условии соответствия показателей этого теплоносителя нормам питьевой воды.
3.23. При наличии (или проектировании) геотермальных систем теплоснабжения тепличных комбинатов, расположенных вблизи населенных мест, следует, как правило, использовать комплексную схему, обеспечивающую полностью или частично тепловые нагрузки коммунальных и промышленных потребителей (см. рекомендуемое прил.3).
3.24. При повышенной коррозионной активности и склонности к солеотложениям геотермального теплоносителя следует применять коррозионно-стойкое оборудование, а также реагентные и другие методы обработки геотермальной воды.
3.25. Применение коррозионно-стойких материалов, а также химических реагентов для антикоррозионной и антинакипной обработки геотермальной воды открытых систем теплоснабжения должно быть согласовано с органами санитарного надзора.
3.26. Выбор оборудования геотермальных систем теплоснабжения следует, как правило, производить в соответствии с рекомендациями, изложенными в справочном прил.3.
3.27. Конструкции элементов геотермальных систем теплоснабжения, как правило, должны исключать контакт геотермальной воды с атмосферным воздухом. Такой контакт допускается при обосновании с учетом возможного повышения при этом коррозионной агрессивности геотермальной воды.
3.28. Опорожнение геотермальных систем теплоснабжения или их элементов должно производиться на минимально необходимое для производства ремонтных работ время.
3.29. На обратных трубопроводах геотермальной воды систем теплоснабжения следует предусматривать устройства, обеспечивающие поддержание статического давления во всех точках системы, исключающих ее непредусмотренное опорожнение.
3.30. Качество геотермального теплоносителя, поступающего на догрев в водогрейные котлы, должно соответствовать действующим нормам проектирования котельных установок.
3.31. Догрев геотермального теплоносителя, не соответствующего действующим нормам проектирования котельных установок, должен производиться в теплообменных аппаратах.
3.32. Допускается использовать теплонасосные установки, утилизирующие теплоту сбросной геотермальной воды, в качестве пиковых источников теплоты.
3.33. Срок службы систем геотермального теплоснабжения должен устанавливаться равным не менее 20 лет. При экономическом обосновании допускается предусматривать замену отдельных узлов и элементов геотермальных систем теплоснабжения по истечении срока службы менее 20 лет.
4. Тепловой расчет геотермальных систем отопления и охлаждения
4.1.
Технические решения геотермальных
систем отопления должны обеспечивать
возможно более глубокое срабатывание
теплового потенциала геотермального
теплоносителя, что достигается созданием
повышенного расчетного перепада его
температур, характеризующегося высоким
(близким к 1) значением расчетного
коэффициента степени срабатывания
теплового потенциала теплоносителя
,
который следует вычислять по формуле
(17)
|
|
|
|
|
|
расчетные температуры горячей, обратной воды отопительного прибора и внутреннего воздуха, °С.
|
4.2. При использовании радиаторов или конвекторов требования п.4.1 следует выполнять путем максимально возможного по технико-экономическим, эстетическим и конструктивным соображениям увеличения поверхности этих приборов.
4.3. В геотермальных системах отопления следует, как правило, применять отопительные приборы повышенных теплоплотностей: "Универсал С", "Универсал О", радиаторы МС 140-108 и другие, имеющие такую же или большую теплоплотность. Применение приборов с меньшей теплоплотностью допускается при обосновании.
4.4. Подбор отопительных приборов, устанавливаемых в помещениях, следует выполнять по формуле
(18)
|
|
|
|
|
|
расчетная тепловая мощность отопительного прибора, Вт;
|
|
|
требуемый номинальный тепловой поток отопительных приборов, устанавливаемых в данном помещении, Вт;
|
|
_
(19)
относительный безразмерный среднестепенной температурный напор отопительного прибора;
(20)
расчетный среднестепенной температурный напор отопительного прибора, °С;
|
|
|
|
|
расчетный температурный напор на входе в отопительный прибор, °С;
|
|
|
расчетный температурный напор на выходе из отопительного прибора, °С;
|
|
|
показатель степени, характерный для каждого типа отопительных приборов;
|
|
|
паспортный показатель степени для расчета данного типа отопительных приборов, определенный опытным путем (выбирается по справочным данным);
|
(21)
относительный безразмерный расход теплоносителя через отопительный прибор;
|
|
|
|
|
расход теплоносителя через отопительный прибор, кг/с;
|
|
|
паспортный
показатель степени для данного типа
отопительных приборов, определенный
опытным путем при
|
4.5.
При
допускается
пользоваться расчетной формулой для
традиционных систем отопления вида
(22)
|
|
|
|
|
|
|
относительный среднеарифметический температурный напор.
|
(23)
|
При
этом когда
кг/с,
номинальный тепловой поток выбранного
типоразмера отопительного прибора
следует
уточнить с помощью вычисления по формуле
(24)
|
|
|
|
|
|
паспортный
номинальный тепловой поток данного
типоразмера отопительного прибора
при
|
|
|
паспортные
показатели степени при
|
|
4.6.
В геотермальных системах отопления,
имеющих зависимое присоединение к
тепловой сети, на расчетный размер
устанавливаемых отопительных приборов
допускается вводить коэффициенты,
равные: для радиаторов - 1,02
1,03,
для конвекторов - 1,05
1,1,
учитывающие возможное ухудшение
теплопередачи из-за солеотложения. При
отсутствии данных для обоснованного
выбора величины этих коэффициентов
следует принимать их максимальные
значения.
4.7. При гидравлическом расчете трубопроводов систем отопления, имеющих зависимое присоединение к геотермальной тепловой сети, значение коэффициента эквивалентной шероховатости следует принимать равным 0,5 мм.
На расчетные потери давления в таких системах допускается вводить коэффициент 1,1-1,5, учитывающий возможное зарастание трубопроводов. При отсутствии данных для обоснованного выбора величины этого коэффициента следует принимать его максимальную величину (1,5), а на вводе системы предусматривать установку арматуры для гашения избыточного давления.
4.8. При проектировании систем отопления, присоединяемых к геотермальным тепловым сетям по зависимой схеме, следует предусматривать:
возможность раздельной продувки каждого участка (стояка, ветви);
минимальное количество резьбовых соединений.
4.9. В зависимых геотермальных системах отопления при соответствующем технико-экономическом обосновании допускается применение труб и отопительных приборов из цветных металлов, коррозионно-стойких сплавов с антикоррозионными покрытиями, а также неметаллических труб и отопительных приборов.
4.10. Геотермальные системы отопления, как правило, следует проектировать однотрубными по бифилярной схеме или двухтрубными.
4.11. При температурах геотермального теплоносителя ниже 60 °С следует, как правило, применять потолочно-напольные радиационные системы отопления.
4.12. Перевод существующих систем отопления на геотермальный источник теплоты должен производиться с перерасчетом и конструктивным изменением элементов этих систем в соответствии с требованиями пунктов 4.1-4.11 настоящих Норм.
4.13. Для охлаждения помещений жилых и общественных зданий в теплый период года в районах с сухим жарким климатом допускается применять комбинированные потолочно-напольные системы радиационного отопления - охлаждения, присоединяемые к системам геотермального теплоснабжения с тепловыми насосами.
|
|
|
|
|
|
Рис.5. Зависимость
температуры хладоносителя от
относительной влажности внутреннего
воздуха
|
|
||
|
|
условный диаметр труб, мм;
|
Рис.6. Температура охлажденной поверхности
|
|
|
|
толщина слоя тяжелого бетона, по нейтральной оси которого замоноличены трубы, мм.
|
|
|
|
|
|
||
|
|
Рис.7. Зависимость температуры теплоносителя от температуры хладоносителя и соотношения холодо- и теплонагрузок для радиационных систем отопления
|
||
|
|
S -
|
шаг замоноличенных труб, мм;
|
|
|
|
|
температуры внутреннего воздуха и хладоносителя соответственно;
|
|
|
|
|
температура поверхности.
|
|
Рис.8. Система отопления - охлаждения с дополнительными стояками
|
|
|
|
1 -
|
задвижка на перемычке, открытая зимой и закрытая летом;
|
|
2 -
|
дополнительные стояки для режима охлаждения.
|
4.14. Выбор минимальных температур хладоносителя для радиационных систем охлаждения производится по графику рис.5.
4.15.
Допустимая по гигиеническим требованиям
средняя температура охлаждающей
поверхности потолка
должна
определяться по формуле
(25)
|
|
|
|
|
|
|
где
|
|
коэффициент облученности панели со стороны человека.
|
||
|
где
|
|
|
||
|
|
высота помещения от пола до потолка, м;
|
|||
|
|
средний размер охлаждающей панели, равный корню квадратному из ее площади, м.
|
|||
4.17. Определение средней температуры охлаждающей поверхности потолка следует производить по графику на рис.6.
4.18. Выбор расчетной температуры теплоносителя для радиационных систем потолочно-напольного отопления - охлаждения в зависимости от температуры хладоносителя и тепловых нагрузок следует производить по графику на рис.7.
4.19.
Относительное увеличение расчетных
потерь давления
в
радиационных системах отопления -
охлаждения при работе их в режиме
охлаждения следует определять по формуле
(27)
|
|
|
|
|
где
|
|
тепловые нагрузки в режиме отопления и охлаждения, Вт;
|
|
|
расчетные перепады температур в системе в режиме отопления и охлаждения соответственно, °С.
|
|
4.20. При необходимости уменьшения потерь давления в радиационных системах отопления - охлаждения следует применять схему с дополнительными стояками, изображенную на рис.8.
5. Регулирование геотермальных систем теплоснабжения
5.1.Регулирование отопительной нагрузки геотермальных систем теплоснабжения с независимым присоединением отопления, имеющих четырехтрубную распределительную сеть, следует производить на ЦТПГ путем изменения расхода геотермального теплоносителя через отопительный теплообменник (количественное регулирование).
5.2. Регулирование отопительной нагрузки двухтрубных открытых геотермальных систем теплоснабжения с зависимым присоединением отопления, а также закрытых систем с двухтрубной распределительной сетью следует, как правило, производить на индивидуальных тепловых пунктах путем подмешивания обратной воды (качественное регулирование).
5.3. При бифилярных системах отопления, присоединенных к тепловым сетям по зависимой схеме, может предусматриваться количественное регулирование отопительной нагрузки.
5.4. При построении графиков количественного регулирования по п.5.3. следует пользоваться расчетными зависимостями вида:
(28)
|
|
|
|
|
|
коэффициент отпуска теплоты на отопление;
|
|
|
текущий и расчетный расходы теплоносителя.
|
|
Показатель
степени
должен
вычисляться по формуле
(29)
текущая температура обратной воды равна:
(30)
|
|
|
|
|
|
расчетные температуры горячей и обратной воды в тепловой сети, °С (пример расчета см. в прил.5).
|
Построение графиков качественного регулирования специфики не имеет.
Приложение 1
Обязательное
Термины и определения
1. Месторождение геотермальных вод - часть водоносной системы, в пределах которой имеются благоприятные условия для отбора геотермальных вод в количестве, достаточном для их теплоэнергетического использования.
2. Термоводозабор - одна или несколько объединенных между собой трубопроводами скважин, пробуренных на месторождении геотермальных вод, специально обустроенных и предназначенных для подачи геотермального теплоносителя на нужды теплоснабжения зданий и сооружений.
3. Открытая система геотермального теплоснабжения - система, в которой геотермальная вода непосредственно подается на водоразбор горячего водоснабжения.
4. Закрытая система геотермального теплоснабжения - система, в которой на водоразбор горячего водоснабжения подается негеотермальная вода, нагретая за счет геотермальной теплоты.
5. Геотермальная система теплоснабжения с зависимым присоединением систем отопления - система, в которой геотермальная вода подается непосредственно в отопительные приборы отопительных установок.
6. Геотермальная система теплоснабжения с независимым присоединением систем отопления - система, в которой в отопительные приборы подается негеотермальный теплоноситель, нагретый в теплообменнике за счет геотермальной теплоты.
7. Транзитные геотермальные тепловые сети - трубопроводы от термоводозаборов до устройств перехода на другой температурный график, а при едином температурном графике - до первого ответвления к потребителям.
8. Магистральные геотермальные тепловые сети - трубопроводы от границы транзитных сетей, а при их отсутствии или протяженности менее 1 км - от термоводозаборов до ответвлений к жилым микрорайонам (кварталам), промышленным или сельскохозяйственным предприятиям.
9. Распределительные геотермальные тепловые сети - трубопроводы от границ магистральных сетей до узлов присоединения зданий.
10. Сборные сбросные трубопроводы (сети) - трубопроводы от узлов присоединения зданий до мест врезки в магистральные сбросные сети.
11. Магистральные сбросные сети - трубопроводы от узлов границы сбросных трубопроводов до места сброса или обратной закачки, а при расстоянии до этих мест более 1 км - до места врезки последнего сборного трубопровода.
12. Транзитные сбросные сети - трубопроводы от границы магистральных сбросных трубопроводов (сетей) до мест сброса или обратной закачки.
13. Сбросный пункт (СП) - пункт водоподготовки сбросной геотермальной воды для обеспечения сброса без ущерба для окружающей среды с соответствующим набором оборудования.
14. Насосная станция обратной закачки (НСОЗ) - насосная станция для закачки отработанной геотермальной воды в водоносный пласт.
Приложение 2
Справочное
Классификация и распространение геотермальных теплоносителей
В зависимости от температуры на устье скважины, химического и газового состава геотермальные воды условно классифицируются:
|
|
|
|
по
температуре
|
|
|
|
|
|
|
|
|
|
|
|
|
|
|
|
|
|
|
|
|
|
|
|
|
|
|
|
|
|
|
|
|
|
|
|
|
|
|
|
|
|
|
|
|
|
|
|
|
|
|
|
|
|
|
|
|
|
|
|
|
|
|
|
|
|
|
|
|
|
|
|
|
|
Продолжение прил.2
Распространение геотермальных вод на территории СССР
(данные по некоторым месторождениям)
|
|
|
|
|
|
|
Регион
|
Месторождение геотермальной воды
|
Температура на устье скважины, °С
|
Минерализация, г/л
|
Примечание
|
|
|
74-80
|
До 10
|
|
|
|
|
98-107
|
1,5-3
|
|
|
|
|
81-97
|
1,4
|
|
|
|
|
70-78
|
1-2
|
|
|
|
|
29
|
13,0
|
|
|
|
|
88
|
2,3
|
|
|
|
|
64
|
5,4
|
|
|
|
|
75
|
1,9
|
|
|
|
|
86
|
28
|
|
|
|
|
87
|
4-30
|
|
|
|
|
87
|
1,5
|
|
|
|
|
63
|
36
|
|
|
|
|
60-70
|
37-50
|
|
|
|
|
78
|
9/11
|
|
|
|
|
86-100
|
6,5-8
|
|
|
|
|
70-36
|
10-13
|
|
|
|
|
73
|
21
|
|
|
|
60
|
5-10
|
|
|
|
90
|
1,5
|
|
|
|
|
85
|
2,5
|
|
|
|
60
|
2-10
|
|
|
|
90
|
1
|
|
|
|
60
|
1
|
|
|
|
60
|
5
|
|
|
|
|
70
|
1
|
|
|
|
|
41-55
|
0,3
|
|
|
|
95
|
1-2
|
|
|
|
70
|
17
|
|
|
|
70
|
25
|
|
|
|
60-70
|
1-3
|
|
|
|
50
|
0,5
|
|
|
|
|
80
|
0,5
|
|
|
|
|
55-60
|
0,5
|
|
|
|
|
55
|
0,6
|
|
|
|
|
75
|
0,5
|
|
|
|
|
60-70
|
1-2
|
|
|
|
|
60-70
|
1-2
|
|
|
|
80-85
|
18
|
|
|
|
60
|
15
|
|
|
|
|
90
|
0,5
|
|
|
|
95
|
1
|
|
|
|
|
100
|
1-3
|
|
|
|
|
150-200
|
2-3
|
|
|
|
|
80-85
|
1
|
|
|
|
|
75-80
|
4-5
|
|
|
|
|
130-270
|
2-3
|
|
|
|
|
85
|
1-2
|
|
|
|
|
150
|
2-5
|
|
|
|
|
150-200
|
3-5
|
|
|
|
50-70
|
10-15
|
|
|
|
|
50-70
|
10
|
|
|
|
|
50-70
|
10
|
|
|
|
150-200
|
2-5
|
|
Приложение 3
Рекомендуемое
Принципиальные схемы систем геотермального теплоснабжения
А. Принципиальные схемы простейших систем геотермального теплоснабжения
1. Открытые системы геотермального теплоснабжения
1.1. Открытые системы теплоснабжения, обеспечивающие только горячее водоснабжение.
Схема 1а (рис.1). В соответствии со схемой геотермальная вода по однотрубной тепловой сети подается непосредственно на водоразбор. Суточная неравномерность потребления горячей воды компенсируется с помощью бака-аккумулятора.
Недостатком схемы 1а является отсутствие циркуляции теплоносителя в распределительной сети ГВ, в результате чего неизбежно остывание теплоносителя в период отсутствия водоразбора горячей воды (например, ночью). По причине этого недостатка схема может быть рекомендована к применению только при малых расстояниях между термоводозабором и потребителем геотермальной теплоты.
Схема 1б (рис.2). Схема отличается от схемы 1а наличием двухтрубной распределительной сети, в которой циркулирует геотермальная вода. Подпитка по мере водопотребления осуществляется из однотрубной транзитной тепловой сети. Суточная неравномерность водопотребления уравнивается баком-аккумулятором. Схема может быть рекомендована при сравнительно большом удалении термоводозабора от потребителя геотермальной теплоты.
Рис.1. Открытая однотрубная геотермальная система горячего водоснабжения
1 - геотермальная скважина; 2 - бак-аккумулятор; 3 - сетевой насос;
4 - водоразборный кран ГВ.
Рис.2. Открытая однотрубная геотермальная система горячего водоснабжения
с двухтрубной распределительной сетью
1 - геотермальные скважины термоводозабора; 2 - сборный бак-аккумулятор геотермальной воды; 3 - сетевой насос; 4 - бак-аккумулятор распределительной сети; 5 - двухтрубная распределительная сеть; 6, 7, 8 - сетевой циркуляционный и подпиточный насосы распределительной сети; 9 - водоразборный кран; 10 - регулятор слива; 11 - регулятор подпитки
Рис.3. Открытая двухтрубная геотермальная система теплоснабжения
1 - геотермальная скважина; 2 - бак-аккумулятор; 3 - сетевой насос;
4 - отопительные приборы; 5 - водоразборный кран.
1.2. Открытые геотермальные системы теплоснабжения с зависимым присоединением отопления. В зависимости от расположения места сброса схема имеет две модификации.
Схема 2а (рис.3). Геотермальная вода параллельно подается на отопление и горячее водоснабжение. После отопительных систем вода сбрасывается вблизи термоводозабора. Транзитная тепловая сеть имеет двухтрубную прокладку.
Схема 2б аналогична работе схемы 2а, но сброс отработанного геотермального теплоносителя производится вблизи потребителя. Транзитные подающая и сбросная тепловые сети имеют однотрубную прокладку.
Рис.4. Однотрубная закрытая геотермальная система горячего водоснабжения
с источником питьевой воды, расположенным на термоводозаборе
1 - геотермальные скважины термоводозабора; 2 - сборный бак-аккумулятор геотермальной воды; 3 - сетевой насос геотермальной воды; 4 - сетевой насос питьевой воды; 5 - сетевой теплообменник; 6 - однотрубная транзитная теплотрасса; 7 - водоразборный кран
Приведенные
схемы не могут быть применены при
несоответствии геотермальной воды
нормативным требованиям на воду питьевую
и при ее температуре
|
|
|
|
|
где
|
|
температура термальной воды на устье скважин, °С;
|
|
|
снижение температуры воды за счет охлаждения при транспортировании, °С;
|
|
|
|
нормируемая температура воды в системах горячего водоснабжения, °С.
|
|
2. Закрытые системы геотермального теплоснабжения
2.1. Закрытые геотермальные системы, обеспечивающие только горячее водоснабжение.
В зависимости от расположения места сброса и источника питьевой воды могут быть использованы три вида схемного решения:
Схема 3а (рис.4). Геотермальная вода подается на теплообменник ЦТПГ, расположенный вблизи термоводозабора, после чего сбрасывается или закачивается в пласт через скважину обратной закачки. Вода из источника питьевой воды (например, холодной артезианской скважины) нагревается в теплообменнике, транспортируется до потребителя и там разбирается на горячее водоснабжение. Суточная неравномерность водопотребления уравнивается с помощью бака-аккумулятора. Распределительная сеть выполняется однотрубной. Недостатком здесь также, как и у схемы 2а, является отсутствие циркуляции теплоносителя в период отсутствия водоразбора.
При сравнительно большом удалении термоводозабора от потребителя целесообразна схема 3б. Она отличается от схемы 3а наличием двухтрубной распределительной сети с баком-аккумулятором, которая полностью аналогична такой же распределительной сети, примененной в схеме 1б (см. рис.2). Преимуществом системы 3б по сравнению с 3а является возможность осуществления циркуляции в распределительной сети в период отсутствия водоразбора.
Рис.5. Однотрубная закрытая геотермальная
система горячего водоснабжения
1 - геотермальные скважины термоводозабора; 2 - сборный бак-аккумулятор геотермальной воды;
3 - однотрубная транзитная теплотрасса; 4 - сетевой теплообменник; 5 - сетевые насосы;
6 - водоразборный кран; 7 - двухтрубная распределительная теплосеть;
8 - сбросная теплосеть; 9 - расширительный бак
Схема 3в (рис.5). Применение этой схемы целесообразно при расположении места сброса отработанной геотермальной воды вблизи потребителя геотермальной теплоты. В соответствии со схемой геотермальный теплоноситель по однотрубной транзитной тепловой сети подается в теплообменник ЦТПГ (который расположен вблизи потребителя), после чего сбрасывается. Негеотермальный теплоноситель питьевого качества, циркулируя по двухтрубной распределительной сети, нагревается в теплообменнике ЦТПГ и подается на водоразбор. Подпитка осуществляется из водопровода. Ввиду сравнительно большой протяженности тепловой сети, по которой транспортируется геотермальная вода, схема 3в может быть рекомендована при отсутствии опасности интенсивной коррозии и солеотложения.
При эксплуатации термоводозабора методом обратной закачки или расположении места сброса вблизи продуктивной скважины целесообразна схема 3г. Эта схема в основном аналогична схеме 3в. Различие их заключается в том, что ЦТПГ в схеме 3г расположен вблизи термоводозабора, а распределительная сеть (так же, как и в 3в - двухтрубная) имеет транзитный участок, связывающий термоводозабор с потребителем. Преимуществом данной схемы является малая протяженность трубопроводов геотермальной воды, что делает систему менее уязвимой в части коррозии и солеотложения.
2.2. Закрытые геотермальные системы теплоснабжения, обеспечивающие отопление и горячее водоснабжение.
Расположение места сброса вблизи потребителя, а также отсутствие повышенной коррозионной активности и солеотложения делает возможным создание системы с однотрубной транзитной тепловой сетью для транспортирования геотермальной воды до ЦТПГ, расположенного рядом с потребителем. После ЦТПГ геотермальная вода сбрасывается. Распределительная сеть после ЦТПГ, в зависимости от качества и температуры геотермального теплоносителя, может быть четырехтрубной с зависимым присоединением отопления [схема 4а (рис.6)] четырехтрубной с независимым присоединением отопления [схема 4б (рис.7)] либо с двухтрубной распределительной сетью и независимым присоединением отопления (схема 4в).
Рис.6. Закрытая однотрубная геотермальная система теплоснабжения
с зависимым присоединением отопления (распределительная сеть четырехтрубная)
1 - геотермальные скважины; 2 - сборный бак-аккумулятор геотермальной воды;
3 - сетевой насос; 4 - однотрубная транзитная теплотрасса; 5 - теплообменник горячего водоснабжения;
6 - регулятор подпитки; 7 - отопительный прибор; 8 - водоразборный кран; 9 - расширительный бак
Рис.7. Закрытая геотермальная система теплоснабжения
с независимым присоединением отопления
1 - геотермальные скважины; 2 - сборный бак-аккумулятор; 3 - сетевой насос геотермальной воды;
4 - транзитная однотрубная теплосеть; 5 - транзитная сбросная теплосеть;
6 - водоподогреватель горячего водоснабжения; 7 - отопительный теплообменник;
8 - сетевой насос распределительной сети отопления; 9 - сетевой насос горячего водоснабжения;
10 - водоразборный кран; 11 - отопительный прибор; 12 - расширительный бак
Рис.8. Закрытая двухтрубная геотермальная система теплоснабжения
1 - геотермальные скважины термоводозабора; 2 - сборный бак-аккумулятор геотермальной воды;
3 - сетевой теплообменник; 4 - сетевой насос геотермальной воды;
5 - сетевой насос водопроводной воды; 6 - бак-аккумулятор водопроводной воды;
7 - регулятор подпитки; 8 - водоразборный кран ГВ; 9 - отопительный прибор
Рис.9. Геотермальная система теплоснабжения с зависимым
присоединением отопления (ГВ отсутствует)
1 - геотермальные скважины; 2 - промежуточный бак-аккумулятор геотермальной воды;
3 - сетевой насос; 4 - отопительные приборы
В случае обратной закачки или возможности сброса вблизи термоводозабора применима схема 4г (рис.8). Здесь геотермальная вода поступает в ЦТПГ, расположенный вблизи термоводозабора, где отдает свою теплоту негеотермальному теплоносителю в теплообменных аппаратах, после чего закачивается в пласт или сбрасывается. Подготовленный негеотермальный теплоноситель транспортируется от потребителя до ЦТПГ и обратно по двухтрубной распределительной сети, имеющей транзитный участок. В данной схеме (как и у всех схем с расположением ЦТПГ вблизи термоводозабора) положительной является малая протяженность трубопроводов тепловой сети, соприкасающихся с геотермальной водой.
2.3. Закрытые геотермальные системы теплоснабжения, обеспечивающие только отопление.
При непитьевом качестве геотермального теплоносителя и отсутствии воды питьевого качества возможно применение систем теплоснабжения, обеспечивающих только отопление зданий и сооружений.
Схема 5а (рис.9). Эта схема двухтрубной системы с зависимым присоединением отопления применима при отсутствии угрозы интенсивной коррозии и солеотложения. Система обеспечивает только отопление.
При расположении места сброса в отдалении от термоводозабора применима схема 5б. Эта схема отличается от 5а наличием однотрубных подающей и сбросной транзитных тепловых сетей. Распределительная сеть двухтрубная. Система обеспечивает только отопление.
Предварительный выбор принципиальной схемы с учетом перечисленных факторов может быть произведен с помощью табл.1. Оборудование этих систем может быть подобрано с помощью табл.2.
Б. Принципиальные схемы геотермальных систем теплоснабжения
с повышенной эффективностью использования геотермальной теплоты
1. Бессливная система геотермального теплоснабжения
При соответствии качества геотермального теплоносителя требованиям на питьевую воду может быть применена бессливная система геотермального теплоснабжения (рис.10), обеспечивающая минимальный расход геотермальной воды на единицу расчетной отопительной нагрузки, равный среднечасовому расходу горячего водоснабжения. В этой системе при наименьшем удельном расходе воды (по сравнению со всеми другими схемами) имеют место наибольшая мощность пикового источника теплоты и наибольший расход топлива. Регулирование отопительной нагрузки системы производится путем постепенного сокращения доли пикового догрева, работающего большую часть отопительного сезона с последующим переходом на пропуски. Эффективность такой системы тем выше, чем больше доля ГВ в суммарной тепловой нагрузке.
Таблица 1
|
|
|
|
|
|
|
|
|
|
|
|
Исходные данные проектирования
|
|||||||||
|
|
Сброс вблизи объекта теплоснабжения
|
Обратная закачка или сброс вблизи термоводозабора
|
|||||||
|
Характеристика
|
Источник
|
Расположение источника питьевой воды
|
|||||||
|
геотермального теплоносителя
|
питьевой воды - водопровод в населенном пункте
|
водопровод в населенном пункте
|
вблизи термоводозабора
|
||||||
|
|
Характер теплопотребления
|
||||||||
|
|
ГВ
|
ГВ и отоп-
ление
|
отоп- ление
|
ГВ
|
ГВ и отоп- ление
|
отоп- ление
|
ГВ
|
ГВ и отоп- ление
|
отоп- ление
|
|
|
|
|
|
|
|
|
|
|
|
питьевого
|
1а
|
2а
|
5б
|
1а
|
2а
|
5а
|
1а
|
2а
|
5а
|
|
качества
|
1б
|
2б
|
|
1б
|
2б
|
|
1б
|
2б
|
|
|
непитьевого
|
3б
|
4а
|
5б
|
3в
|
4г
|
5а
|
3а
|
4г
|
5а
|
|
качества
|
|
4б
|
|
|
|
|
|
|
|
|
|
|
4в
|
|
|
|
|
|
|
|
Таблица 2
|
|
|
|
|
|
|
|
|
|
|
|
Свойства геотермального теплоносителя
|
|||||||
|
|
общие
|
частные
|
||||||
|
Оборудование
|
случайная исходная темпе- ратура, однок- ратное исполь- зование и необ- ходимость сброса
|
малое устье- вое давле- ние и недос- таточ- ный дебит скважин
|
срав- ни- тель- но низкая тем- пера- тура
|
нали- чие взве- шен- ных частиц горных пород
|
высокое газо- содер- жание
|
высокая кор- рози- онная актив- ность
|
интен- сивное соле- отло- жение в трубо- проводах и обору- довании
|
наличие вредных веществ выше ПДК
|
|
Отопительные приборы повышенной теплоплотности
|
+
|
|
|
|
|
|
|
|
|
Водовоздушные теплообменники
|
+
|
|
|
|
|
|
|
|
|
Теплонасосные установки (ТНУ)
|
+
|
|
|
|
|
|
|
|
|
Промежуточные баки-аккумуляторы геотермальной воды
|
|
+
|
|
|
+
|
|
|
|
|
Погружные скважинные насосы
|
|
+
|
|
|
|
|
|
|
|
Пиковые котельные
|
|
|
+
|
|
|
|
|
|
|
Гидроциклоны
|
|
|
|
+
|
|
|
|
|
|
Дегазаторы
|
|
|
|
|
+
|
|
|
|
|
Теплообменники водоводяные в анти- коррозионном исполнении
|
|
|
|
|
|
+
|
|
|
|
Трубы и арматура в антикоррозионном исполнении
|
|
|
|
|
|
+
|
|
|
|
Дозаторы химреагентов
|
|
|
|
|
|
+
|
+
|
|
|
Ультразвуковые антинакипные установки
|
|
|
|
|
|
|
+
|
|
|
Установки для обработки сбросной воды
|
|
|
|
|
|
|
|
+
|
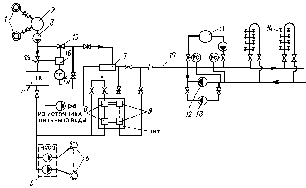
Рис.10. Принципиальная схема бессливной системы геотермального теплоснабжения
1 - скважина; 2 - система отопления; 3 - система горячего водоснабжения;
4 - пиковая котельная; 5 - бак-аккумулятор; 6 - насос; 7 - регулятор постоянства расхода;
8 - регулятор постоянства температуры; 9 - элеватор
Система
работает следующим образом. Геотермальная
вода по однотрубной магистрали от
скважины 1 подается к пиковой котельной.
Расход этой воды равен среднечасовому
расходу на горячее водоснабжение
,
а в подающем трубопроводе двухтрубной
распределительной сети среднечасовой
расход составляет
(1)
|
|
|
|
|
где
|
|
добавочный расход теплоносителя, равный расходу в обратном трубопроводе распределительной сети и определяемый по формуле
|
.
(2)
В
пиковой котельной 4 суммарный расход
воды
догревается
до
и
подается в системы отопления 2 через
регулятор постоянства расхода 7 и
элеватор 9, а также в системы ГВ 3. Суточная
неравномерность водопотребления ГВ
уравнивается баком-аккумулятором 5,
установленным на обратном трубопроводе
распределительной сети, циркуляция в
этой сети создается насосом 6.
Возможны три варианта соотношений между температурой геотермальной воды и нормируемой температурой теплоносителя в системах ГВ:
а)
Вся
отопительная нагрузка и часть нагрузки
ГВ при этом покрывается пиковой котельной.
Доля нагрузки горячего водоснабжения
покрываемая
пиковой котельной в расчетном режиме,
подсчитывается по формуле
(3)
Расчетная теплопроизводительность пиковой котельной равна
(4)
|
|
|
|
|
где
|
|
расчетная тепловая нагрузка объекта;
|
|
|
доли отопления и горячего водоснабжения в расчетный период.
|
|
Пиковая
котельная работает круглый год. Величина
значение
определяется
по уравнению
(5)
|
|
|
|
|
|
доля нагрузки горячего водоснабжения, покрываемая пиковой котельной в летнем режиме:
|
(6)
|
|
|
|
|
|
температура водопроводной воды летом;
|
б)
Пиковая
котельная подбирается на расчетную
отопительную нагрузку, т.е.
и
работает в течение всего отопительного
сезона.
Величина
величина
=0;
в)
В этом случае пиковый догрев обеспечивает часть отопительной нагрузки
(7)
Доля
пикового догрева для отопления
определяется
по формуле
(8)
Величина
=0.
Работа пиковой котельной продолжается до тех пор, пока вносимое геотермальное водой количество теплоты не станет равным необходимой теплопроизводительности отопительной системы, т.е.
(9)
2. Геотермальная система теплохладоснабжения с тепловыми насосами
При технико-экономическом обосновании экономии геотермальной теплоты рекомендуется геотермальная система теплоснабжения с применением теплонасосных установок (ТНУ). В летний период такая система может работать в режиме хладоснабжения.
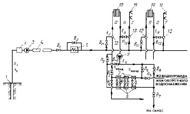
Теплонасосные установки следует размещать на обратной линии геотермальных систем. На рис.11 показана упрощенная схема с пиковой котельной и ТНУ.
Системы геотермального теплохладоснабжения могут выполняться централизованными или децентрализованными.
2.1. Система централизованного теплохладоснабжения с компрессионными тепловыми насосами.
Принципиальная схема системы изображена на рис.12.
Рис.11. Принципиальная схема системы геотермального теплоснабжения
с применением пикового догрева и тепловых насосов
1 - скважина; 2 - система отопления; 3 - система горячего водоснабжения;
4 - пиковая котельная; 5 - теплонасосная установка; 6 - бак-аккумулятор;
7 - насос; 8 - конденсаторы; 9 - испарители
Рис.12. Система централизованного теплохладоснабжения
с тепловыми насосами
1 - источник; 2 - дегазация; 3 - насосная станция; 4 - транзитная теплосеть; 5 - пиковая котельная;
6 - агрегаты теплового насоса; 7 - конденсаторы; 8 - испарители; 9 - циркуляционный насос;
10 - абоненты системы отопления; 11 - абоненты горячего водоснабжения;
12 - смеситель системы отопления; 13 - смеситель горячего водоснабжения;
П, О - прямая и обратная вода системы отопления; Г - линия горячего водоснабжения;
В - вентили (задвижки)
В этой системе при работе в режиме теплоснабжения:
а)
трехтрубная тепловая сеть - открыты
вентили
закрыты
вентили
Вентиль
закрыт
в период работы пиковой котельной;
б)
двухтрубная тепловая сеть - открыты
вентили
закрыты
вентили
При
работе в режиме хладоснабжения открыты
вентили
(или
);
закрыты вентили
(или
),
Рис.13. Система децентрализованного теплохладоснабжения с тепловыми насосами
1 - источник; 2 - дегазация; 3 - насосная станция; 4 - транзитная теплосеть; 5 - пиковая котельная;
6 - агрегаты теплового насоса; 7 - конденсаторы; 8 - испарители; 9 - насос; 10 - система
отопления и охлаждения; 11 - система горячего водоснабжения; 12 - смеситель системы
отопления; 13 - смеситель системы горячего водоснабжения; П, О - прямая и обратная вода
системы отопления; Г - линия горячего водоснабжения; В - вентили (задвижки)
При
работе в режиме теплоснабжения с
низкотемпературными источниками теплоты
(
)
открыты вентили
закрыты
вентили
Примечание:
При достаточном дебите термоводозабора
возможен режим работы с закрытым
вентилем
.
2.2. Система децентрализованного теплохладоснабжения с компрессионными тепловыми насосами.
Принципиальная
схема этой системы изображена на рис.13.
При работе в режиме теплоснабжения
открыты вентили
закрыты
вентили
вентиль
закрыт
в период работы пиковой котельной. При
работе в режиме хладоснабжения открыты
вентили
закрыты
вентили
Распределительные сети в централизованных системах при работе только в режиме теплоснабжения являются 2-трубными. При работе по летнему режиму - 3-трубными (прямая и обратная линии холодной воды и линия горячего водоснабжения) или 4-трубными (с циркуляционной линией ГВ).
Распределительные сети в децентрализованных системах представляют собой в основном однотрубную прокладку, за исключением участков между абонентами, если ТНУ установлены на групповом вводе.
Эффективность работы тепловых насосов возрастает при использовании низкотемпературных отопительных систем, а также за счет последовательно-противоточного включения нескольких агрегатов.
Соотношение
расходов нагреваемой в конденсаторах
ТНУ воды
и
сбрасываемой через испарители
определяется
по формуле
(10)
|
|
|
|
|
|
расчетные
температуры воды на выходе из
конденсаторов и испарителей (сброс),
°С; величина
|
|
|
расчетная температура обратной воды в тепловой сети после систем отопления, °С;
|
|
|
|
отопительный коэффициент ТНУ, при ориентировочных расчетах принимается
|
|
Ориентировочная
установленная мощность ТНУ
и
годовой расход электроэнергии
определяются
по формулам:
(11)
и
(12)
|
|
|
|
|
|
доля расчетной и среднегодовой тепловой мощности теплового насоса соответственно;
|
|
|
среднегодовой отопительный коэффициент ТНУ;
|
|
|
|
продолжительность отопительного сезона;
|
|
|
|
среднегодовой коэффициент отпуска теплоты, который можно вычислить по формуле (3) п.2.6. Норм.
|
|
3. Открытая геотермальная система с комбинацией водяного и воздушного отопления
При исходных условиях проектирования аналогичных предыдущему пункту и высоком качестве геотермальной воды может быть рекомендована открытая геотермальная система теплоснабжения с последовательным включением водяного и воздушного отопления (рис.14).
В
соответствии со схемой геотермальная
вода из скважины 1 направляется параллельно
в системы ГВ 7 и отопления. Вода, поступающая
на отопление, проходит пиковый догрев
2 и затем подается в системы водяного
отопления 3 и параллельно в калориферы
второго подогрева 6 системы воздушного
отопления 4. Обратная вода после
калориферов второго подогрева 6 и систем
водяного отопления 3 поступает в
калориферы первого подогрева 5 и затем
сбрасывается. Наличие пикового догрева
в схеме не является обязательным и
зависит от величины
Регулирование системы производится путем уменьшения доли пикового догрева с переходом на пропуски при его отключении. Если пиковая котельная отсутствует или нежелательно переходить на ранние пропуски, то может производиться качественное регулирование путем подмешивания обратной воды. С учетом циркуляционной линии ГВ распределительные сети имеют четырехтрубную прокладку.
Рис.14. Принципиальная схема системы геотермального теплоснабжения
с комбинированным использованием систем водяного и воздушного отопления
1 - геотермальная скважина; 2 - пиковая котельная; 3 - система водяного отопления;
4 - система воздушного отопления; 5 и 6 - калориферы первой и второй ступени подогрева;
7 - водоразборный кран ГВ; 8 - бак-аккумулятор ГВ
Уравнение теплового баланса отопительных установок системы описывается выражением
(13)
|
|
|
|
|
|
доля систем воздушного отопления в общей расчетной отопительной нагрузке объекта;
|
|
|
расчетная отопительная нагрузка объекта, МВт;
|
|
|
|
расчетная теплопроизводительность систем воздушного отопления, МВт;
|
|
(14)
расчетный расход геотермальной воды в водяных системах отопления;
(15)
расчетный
расход воды через калориферы второго
подогрева;
расчетная
нагрузка и температура обратной воды
калориферов 2-го подогрева.
Применение
схемы, представленной на рис.14, возможно
только при
где
снижение
температуры геотермального теплоносителя
из-за теплопотерь при транспортировании.
При низкой
схема
может применяться без ГВ.
4. Комплексные геотермальные системы теплоснабжения
Комплексные геотермальные системы теплоснабжения могут охватывать отопление гражданских зданий и, например, весенних теплиц, отопление гражданских, промышленных зданий и обеспечение технологических нужд производств (автомойки, прачечные и пр.), а также отопление теплиц и горячее водоснабжение гражданских и производственных зданий; они способны обеспечить существенное повышение технико-экономических показателей термоводозаборов с одновременным достижением дополнительного социального эффекта.
Рис.15. Комплексная двухтрубная геотермальная система теплоснабжения с пиковой котельной
1 - геотермальные скважины; 2 - промежуточная сборная емкость; 3 - насосная станция;
4 - отопление тепличного комбината; 5 - насосная станция обратной закачки;
6 - скважины обратной закачки; 7 - сетевой теплообменник; 8 - сетевые насосы;
9 - подпиточный насос; 10 - регулятор подпитки; 11 - сетевой бак-аккумулятор;
12 - водоразборный кран; 13 - пиковая котельная; 14 - регулирующие задвижки; 15 - регулятор
Выбор принципиальной схемы комплексной системы теплоснабжения, как и у всякой геотермальной системы, зависит от ряда исходных природных данных, уже рассмотренных ранее.
4.1. Комплексные геотермальные системы теплоснабжения, обеспечивающие отопление теплиц и горячее водоснабжение (ГВ) гражданских и промышленных зданий.
Принципиальные схемы комплексных систем, обеспечивающих отопление теплиц и горячее водоснабжение других объектов (в том числе и на технологические нужды), изображены на рис.15 и 16.
Наличие транзитного участка распределительных двухтрубных сетей связано с необходимостью расположения ЦТПГ на термоводозаборе ввиду обратной закачки (в другом случае это может быть место сброса). Системы различаются лишь видом пикового источника теплоты. В схеме на рис.15 таким источником служит пиковая котельная, работающая на органическом топливе и расположенная в населенном пункте вблизи потребителя ГВ. В схеме на рис.16 эту функцию выполняет теплонасосная установка (ТНУ), необходимость расположения которой на термоводозаборе при данных условиях сброса (обратной закачке) очевидна.
Рис.16. Комплексная двухтрубная геотермальная система теплоснабжения с ТНУ
1 - геотермальные скважины; 2 - промежуточная емкость; 3 - насосная станция;
4 - отопление тепличного комбината; 5 - насосная станция обратной закачки;
6 - скважины обратной закачки; 7 - сетевой теплообменник; 8 - испарители ТНУ;
9 - конденсаторы ТНУ; 10 - сетевые насосы; 11 - подпиточный насос; 12 - регулятор подпитки;
13 - водоразборный кран; 14 - сетевой бак-аккумулятор; 15 - регулирующие задвижки; 16 - регулятор
Подобные системы могут быть применены в тех случаях, когда геотермальный теплоноситель не отличается повышенной коррозионной активностью, но его качество не соответствует требованиям, предъявляемым к питьевой воде. При этом источником питьевой воды служит водопровод населенного пункта.
При других исходных условиях возможны и другие схемные решения подобных комплексных систем. Например, возможно создание закрытой комплексной системы с однотрубной тепловой сетью ГВ (рис.17) при наличии вблизи термоводозабора источника питьевой воды и места сброса.
При расположении места сброса близ потребителей геотермальной теплоты ЦТПГ может быть расположен в населенном пункте. Однако такое его расположение удлиняет протяженность тепловой сети, по которой циркулирует геотермальный теплоноситель, что нежелательно из-за распространенной повышенной коррозионной активности геотермальной воды. Создание систем, аналогичных приведенным, возможно также при независимом присоединении системы отопления тепличного комбината.
Учитывая
регулирование отопительной нагрузки
тепличного комбината (см. разд.5 Норм),
в годовом цикле работы изображенных
комплексных схем можно выделить три
режима эксплуатации в зависимости от
коэффициента отпуска теплоты на отопление
:
в
летний период (
=0)
термоводозабор имеет постоянный дебит
геотермальной воды, обеспечивающий
тепловую нагрузку ГВ;
Рис.17. Комплексная однотрубная закрытая геотермальная система теплоснабжения с ТНУ.
1 - геотермальные скважины; 2 - промежуточная емкость; 3 - сетевая насосная станция;
4 - тепличный комбинат; 5 - насосная станция обратной закачки; 6 - скважины обратной закачки;
7 - сетевой теплообменник ГВ; 8 и 9 - испарители и конденсаторы ТНУ;
10 - однотрубная транзитная теплосеть; 11 - сетевой бак-аккумулятор;
12 и 13 - сетевой и циркуляционный насосы; 14 - водоразборный кран;
15 - регулирующие задвижки; 16 - регулятор
с
наступлением отопительного периода до
включения пикового догрева (
дебит термоводозабора регулируется в
зависимости от нагрузки отопления и
полностью обеспечивает геотермальной
теплотой потребности отопления и ГВ;
при
низких температурах наружного воздуха
(
)
дебит термоводозабора постоянен, равен
максимальному и обеспечивает полностью
потребность в теплоте отопления теплиц,
в то время как на нужды ГВ теплоты не
хватает. Нехватка геотермальной теплоты
на нужды ГВ компенсируется пиковым
догревом. Регулирование производится
изменением тепловой мощности пикового
источника теплоты.
При
проектировании комплексных систем
геотермального теплоснабжения,
обеспечивающих отопление теплицы и ГВ
зданий, за расчетные условия следует
принимать расчетный режим эксплуатации
системы отопления теплицы, т.е. при
коэффициенте отпуска теплоты на отопление
=1.
Установленная
тепловая мощность пикового источника
теплоты
определяется
при этом по формуле
(16)
|
|
|
|
|
с -
|
удельная теплоемкость геотермального теплоносителя, Дж/кг · °С;
|
|
|
среднесуточный расход питьевой воды в системе ГВ, кг/с;
|
|
|
|
расчетная начальная температура водопроводной воды в системе ГВ после пикового догрева, °С;
|
|
|
|
расчетная температура водопроводной воды системы ГВ после сетевого теплообменника, °С;
|
|
|
|
расчетная температура обратной воды в сети после системы отопления теплицы, °С;
|
|
|
|
разность температур теплоносителей на "горячем" конце противоточного теплообменника в расчетном режиме (рекомендуется выбирать
|
|
Значение
коэффициента отпуска теплоты
,
соответствующее включению (выключению)
пикового догрева, следует определять
по формуле
(17)
где
(18)
ориентировочный коэффициент эффективности теплообменного аппарата системы ГВ в расчетном режиме;
|
|
|
|
|
расчетная температура водопроводной воды, поступающей в систему ГВ на подпитку, °С;
|
|
|
расчетная температура геотермальной воды, °С.
|
Температура
наружного воздуха
,
соответствующая
при
которой должен включаться (выключаться)
пиковый догрев, определяется по формуле
(19)
|
|
|
|
|
|
температура внутреннего воздуха теплиц, °С;
|
|
|
расчетная температура наружного воздуха, °С.
|
|
График
регулирования тепловой мощности пикового
источника теплоты
,
МВт, следует строить, пользуясь
зависимостью
(20)
|
|
|
|
|
|
текущий коэффициент отпуска теплоты.
|
График общего расхода геотермального теплоносителя в режиме регулирования дебита термоводозабора следует строить по формуле
(21)
|
|
|
|
|
|
текущий расход геотермальной воды, кг/с;
|
|
|
коэффициент
теплопередачи в расчетном режиме
(Вт/
|
|
Для
этого, подставляя в (21) значения текущего
расхода
получим
соответствующие значения
.
Затем, отложив по оси абсцисс вычисленные
значения
,
а по оси ординат - принятые значения
,
получаем искомый график. При этом расход
теплоносителя в летнем режиме (при
=0)
определяется графически.
Произведение KF характеризует конструктивные особенности и размеры теплообменного аппарата и вычисляется по формуле
при
(22)
или
при
(23)
График
температуры сбросной геотермальной
воды
(необходимый
для определения количества теплоты,
возвращаемой в водоносный пласт при
обратной закачке) следует строить по
следующим расчетным зависимостям:
для
систем с пиковой котельной в режиме
максимального дебита термоводозабора
и работы пикового догрева (т.е. при
)
(24)
для
тех же систем в режиме регулирования
дебита термоводозабора (т.е. при
,
а также для систем с ТНУ во всем диапазоне
изменения
(25)
для
любого пикового источника теплоты при
выключенной системе отопления теплиц
(
=0);
(26)
Во всех случаях текущий расход теплоносителя определяется по графику, построенному по формуле (21). Примеры укрупненного расчета описанных комплексных геотермальных систем теплоснабжения изложены в рекомендуемом прил.6.
Приложение 4
Рекомендуемое
Примеры расчета коэффициента эффективности для различных
систем геотермального теплоснабжения
В
рассматриваемых ниже примерах доли
расчетного дебита геотермальной воды,
расходуемой соответственно на отопление
,
вентиляцию
и
горячее водоснабжение
,
принимаются исходя из условных соотношений
нагрузок.
Общие исходные данные для рассматриваемых примеров:
температура
геотермальной воды
=65
°С;
расчетная
температура воды, идущей на отопление,
расчетная
температура обратной воды после систем
отопления
40
°С;
расчетная
температура наружного воздуха для
отопления
=-13
°С;
продолжительность
отопительного сезона
=160
сут;
месторождение
пластового типа, пласт полуограниченный
с
=5
км;
расчетная
нагрузка на отопление
=0,81
МВт;
расчетная
нагрузка на горячее водоснабжение
=0,35
МВт;
центральное регулирование температуры теплоносителя в тепловых сетях - качественное, путем подмешивания сбросной воды к горячей.
А. Открытая двухтрубная геотермальная система теплоснабжения с присоединением систем
ГВ к подающему трубопроводу (т.е. параллельная подача геотермального теплоносителя
на отопление и горячее водоснабжение)
1. Удельный расход геотермальной воды, приходящей на 1 МВт расчетной тепловой нагрузки, определяется по формуле (12) Норм
кг/с.
2.
Доля расчетного дебита геотермальной
воды, расходуемой на отопление,
определяется по формуле (9) Норм
То
же, на горячее водоснабжение получим
из формулы (14) Норм:
3. Степень относительного использования максимума нагрузки определяется по формулам табл.1 Норм: на отопление
![]()
|
|
|
|
|
|
среднеотопительный коэффициент отпуска теплоты, определяемый по формуле (3) п.2.6 Норм.
|
Пусть
=0,52,
тогда
=(160·24·0,52)/8500=0,23;
на
горячее водоснабжение
4. Коэффициент использования скважины определяется по формулам табл.1 Норм: для отопления
для
горячего водоснабжения
5.
Средневзвешенная величина коэффициента
использования скважины по формуле (13)
Норм
6.
Степень относительного увеличения
расчетного дебита скважины в целом для
объекта определяется при известном
=0,28
для полуограниченного пласта с
=5
км по рис.1 -
=1,55.
7. Степень относительного срабатывания температурного перепада определяется по формулам:
на отопление
![]()
=(65-40)/(65-5)=0,417;
на
горячее водоснабжение
=1
(так как
8.
Коэффициент эффективности геотермального
теплоснабжения для данной схемы
определяется по формуле (8) Норм
Б. Зависимая система отопления с пиковым догревом
геотермального теплоносителя
1.
2.
3.
Коэффициент отпуска теплоты, соответствующий
моменту отключения пикового догрева,
определяется по формуле (7) Норм
4.
Пусть коэффициент отпуска теплоты,
соответствующий моменту окончания
отопительного сезона
=0,27.
5.
Ориентировочная продолжительность
работы пикового догрева
(сут)
определяется по формуле (4) Норм:
![]()
|
|
|
|
|
А и B -
|
эмпирические
коэффициенты, определяемые соответственно
по графикам рис.3 и 4. При
|
6.
Относительный коэффициент отпуска
теплоты определяется по формуле (5) Норм
7. Температура сбросной воды, соответствующая моменту отключения пикового догрева, приближенно определяется по формуле
![]()
8. Коэффициент использования скважины при отоплении определяется по формуле из табл.1 Норм
![]()
9. Доля пикового догрева на отопление определяется по графикам рис.2 Норм. При
и
10. Степень относительного срабатывания температурного перепада:
для
систем отопления
для
систем горячего водоснабжения
11.
Средневзвешенная величина коэффициента
использования скважины определяется
по формуле (13) Норм
![]()
(см.
предыдущий пример).
12.
По рис.1 определяем
13.
Коэффициент эффективности геотермального
теплоснабжения объекта равен
Приложение 5
Обязательное
Пример подбора отопительных приборов и построение графиков
регулирования геотермальных систем отопления
Ниже приведен пример расчета требуемого номинального теплового потока отопительного прибора геотермальной системы отопления, устанавливаемого в помещении.
Исходные данные:
расчетная
мощность прибора
=1000
Вт;
расчетная
температура горячей воды
расчетная
температура внутреннего воздуха в
помещении
1.
Зададимся расчетной температурой
обратной воды
2.
Определяем расчетную степень срабатывания
теплового потенциала теплоносителя
при заданных условиях по формуле (17)
=(80-35)/(80-18)=0,73.
Поскольку
>0,4,
расчет следует вести по формуле (18).
3. Определим расчетный расход теплоносителя через отопительный прибор
кг/с.
4.
Выбираем тип отопительного прибора -
конвектор КН-20 "Комфорт" (
)
и по формуле (20) вычисляем расчетный
среднестепенной температурный напор.

Для
вычисления
можно
также воспользоваться программой 1
прил.7.
|
|
|
|
|
|
|
Рис.1. График расхода теплоносителя при количественном регулировании
|
|
5.
Определим значения
и
по
формулам (21) и (19):
=0,005/0,1=0,05;
=33,9/70=0,48.
6.
Определим по формуле (18) номинальный
тепловой поток отопительного прибора,
который необходимо установить в данном
помещении:
Вт.
Сопоставление полученного результата с паспортными данными на КН-20 показывает, что в данном случае для покрытия расчетных теплопотерь следует установить 3 прибора КН-20 -2,0, имеющих длину оребренной части 700 мм или 2 прибора КН-20 - 2,9 с длиной оребренной части 1000 мм.
7. В тех случаях, когда полученное в результате расчета количество приборов по конструктивным соображениям в помещении размещено быть не может, расчет следует повторить, увеличив расчетную температуру обратной воды: 40; 45; 50 °С и т.д.
Примечание:
Номинальный тепловой поток
отопительного
прибора, который необходимо установить
в помещении, можно также определять,
пользуясь программой N 2 рекомендуемого
прил.7.
Для
построения графика количественного
регулирования отопительной нагрузки
вначале определим величину
,
воспользуясь формулой (29) или программой
3 рекомендуемого прил.7.
Далее, пользуясь формулой (28) или программой 4, а также формулой (30), построим графики расхода теплоносителя и температуры обратной воды системы отопления (см. рис.1 и 2).
Приложение 6
Рекомендуемое
Пример расчета комплексной системы
геотермального теплоснабжения
Определим основные технические показатели комплексной системы геотермального теплоснабжения, обеспечивающей отопление теплицы и горячее водоснабжение зданий (см. рис.15-16 рекомендуемого прил.3), которые необходимы для технико-экономических расчетов.
Исходные данные:
температура
термальной воды
расчетная
температура обратной воды системы
отопления теплицы
расчетная
температура наружного воздуха
температура
водопроводной воды
температура
внутреннего воздуха в теплице
расчетный
дебит геотермальной воды термоводозабора
=139
кг/с;
расчетная
начальная температура нагреваемой воды
в системе ГВ после ЦТПГ
расчетный
среднесуточный расход воды в системе
ГВ
=75
кг/
с.
1. Зададимся расчетной температурой водопроводной воды после теплообменного аппарата
![]()
(см. рекомендуемое прил.3).
2.
Требуемый коэффициент эффективности
теплообменного аппарата ГВ определим
по формуле (18) рекомендуемого прил.3.
=(45-10)/(50-10)=0,88.
3. Произведение KF, характеризующее конструкцию и размеры теплообменного аппарата, в соответствии с формулой (22) рекомендуемого прил.3 равно:
Вт/°С
(т.е.
например при К=1000 Вт/(
°С),
F=1010 .
)
.
4. Установленная тепловая мощность пикового источника теплоты определяется по формуле (16) рекомендуемого прил.3.
Рис.1. График продолжительности тепловой нагрузки пикового источника теплоты
МВт.
5. Значение коэффициента отпуска теплоты, соответствующее включению (отключению) пикового догрева, определяется по формуле (17) рекомендуемого прил.3.
![]()
а
соответствующая
температура
наружного воздуха
по
формуле (19) того же приложения
6.
В соответствии с данными климатологии
(г. Грозный Чечено-Ингушской АССР)
продолжительность работы пикового
догрева (при
)
составит 1457 часов
61
сут.
Годовую выработку теплоты для пикового догрева можно установить, определив площадь, описанную графиком годовой выработки теплоты (рис.1), которая в данном случае равна 8100 ГДж/год. При среднем к. п. д. пиковой котельной 0,7 для выработки этого количества теплоты потребуется 1421 т у. т. В системе с теплонасосной установкой расход электроэнергии в ТНУ при среднем коэффициенте преобразования 3,5 составит Э=8100/3,5=2314 ГДж/год.
Годовой
расход геотермального теплоносителя
можно определить, установив площадь,
описанную графиком продолжительности
расхода геотермального теплоносителя
(см. рис.2), который построен на основании
графика регулирования
по
формуле (21) рекомендуемого прил.3. В
рассматриваемом случае годовой расход
теплоносителя составляет
т/год.
Рис.2. График продолжительности расхода геотермального теплоносителя
Рис.3. Температура сбросной геотермальной воды
_________ комплексная система с пиковой котельной;
- - - - - - - - то же с НТУ.
График
температуры сбросной геотермальной
воды (необходимый для расчета пластовой
циркуляционной системы), построенный
по соответствующим зависимостям,
приведенным в рекомендуемом прил.3,
представлен на рис.3. Температура сбросной
воды в летний период эксплуатации равна
16,1 °С, в расчетный период в системе с
пиковой котельной
в
системе с ТНУ - 22 °С.
Приложение 7
Рекомендуемое
Прикладные программы для расчетов элементов
геотермальных систем теплоснабжения на микроЭВМ
Ниже приведены программы и инструкции к ним для вычислений по некоторым расчетным зависимостям данных норм на микрокалькуляторах Б3-34, МК-54, МК-56 и МК-61. Отдельные операции, обозначенные на этих типах машин по-разному, с целью унификации даны в обозначениях машины Б3-34.
1. Вычисление расчетного среднестепенного температурного напора (формула 20)
Программа 1
|
|
|
|
|
Адрес
|
Команда
|
Код
|
|
00
|
ИП1
|
61
|
|
01
|
ИП2
|
62
|
|
02
|
-
|
11
|
|
03
|
ИП0
|
60
|
|
04
|
|
12
|
|
05
|
П4
|
44
|
|
06
|
ИП1
|
61
|
|
07
|
ИП3
|
63
|
|
08
|
-
|
11
|
|
09
|
П5
|
45
|
|
10
|
ИП0
|
60
|
|
11
|
/ - /
|
0L
|
|
12
|
ИП5
|
65
|
|
13
|
|
24
|
|
14
|
П5
|
45
|
|
15
|
ИП2
|
62
|
|
16
|
ИП3
|
63
|
|
17
|
-
|
11
|
|
18
|
П6
|
46
|
|
19
|
ИП0
|
60
|
|
20
|
/ - /
|
0L
|
|
21
|
ИП6
|
66
|
|
22
|
|
24
|
|
23
|
ИП5
|
65
|
|
24
|
-
|
11
|
|
25
|
ИП4
|
64
|
|
26
|
|
13
|
|
27
|
F1/
|
23
|
|
28
|
П7
|
47
|
|
29
|
ИП0
|
60
|
|
30
|
1
|
01
|
|
31
|
+
|
10
|
|
32
|
F1/
|
23
|
|
33
|
ИП7
|
67
|
|
34
|
|
24
|
|
35
|
С/П
|
50
|
Инструкция к программе 1
|
|
|
|
|
|
Содержание
|
Набрать число
|
Выполнить команды
|
Результат
|
|
п.1. Ввести программу 1
|
|
|
|
|
п.2. Занести в память исходные данные
|
|
П0
|
|
|
|
|
П1
|
|
|
|
|
П2
|
|
|
|
|
П3
|
|
|
п.3.
Вычислить
|
|
В/О
|
Значение
|
2. Вычисление номинального теплового потока отопительных приборов геотермальных систем отопления
Программа 2
|
|
|
|
|
Адрес
|
Команда
|
Код
|
|
00
|
ИП1
|
61
|
|
01
|
ИП2
|
62
|
|
02
|
-
|
11
|
|
03
|
ИП0
|
60
|
|
04
|
|
12
|
|
05
|
П4
|
44
|
|
06
|
ИП1
|
61
|
|
07
|
ИП3
|
63
|
|
08
|
-
|
11
|
|
09
|
П5
|
45
|
|
10
|
ИП0
|
60
|
|
11
|
/ - /
|
0L
|
|
12
|
ИП5
|
65
|
|
13
|
|
24
|
|
14
|
П5
|
45
|
|
15
|
ИП2
|
62
|
|
16
|
ИП3
|
63
|
|
17
|
-
|
11
|
|
18
|
П6
|
46
|
|
19
|
ИП0
|
60
|
|
20
|
/ - /
|
0L
|
|
21
|
ИП6
|
66
|
|
22
|
|
24
|
|
23
|
ИП5
|
65
|
|
24
|
-
|
11
|
|
25
|
ИП4
|
64
|
|
26
|
|
13
|
|
27
|
F1/
|
23
|
|
28
|
П7
|
47
|
|
29
|
ИП0
|
60
|
|
30
|
1
|
01
|
|
31
|
+
|
10
|
|
32
|
F1/
|
23
|
|
33
|
ИП7
|
67
|
|
34
|
|
24
|
|
35
|
7
|
07
|
|
36
|
0
|
00
|
|
37
|
|
13
|
|
38
|
П7
|
47
|
|
39
|
ИП0
|
60
|
|
40
|
1
|
01
|
|
41
|
+
|
10
|
|
42
|
ИП7
|
67
|
|
43
|
|
24
|
|
44
|
П7
|
47
|
|
45
|
ИП8
|
68
|
|
46
|
0
|
00
|
|
47
|
,
|
0-
|
|
48
|
1
|
01
|
|
49
|
|
13
|
|
50
|
П4
|
44
|
|
51
|
ИП9
|
69
|
|
52
|
ИП4
|
64
|
|
53
|
|
24
|
|
54
|
ИП7
|
67
|
|
55
|
|
12
|
|
56
|
ИПа
|
6-
|
|
57
|
|
13
|
|
58
|
F1/
|
23
|
|
59
|
СП
|
50
|
Инструкция к программе 2
|
|
|
|
|
|
Содержание
|
Набрать число
|
Выполнить команды
|
Результат
|
|
п.1. Ввести программу 2
|
|
|
|
|
п.2. Занести в память исходные данные
|
|
П0
|
|
|
|
|
П1
|
|
|
|
|
П2
|
|
|
|
|
П3
|
|
|
|
|
П8
|
|
|
|
|
П9
|
|
|
|
Q
|
Па
|
|
|
п.3.
Вычислить
|
|
В/О
|
Значение
|
3.
Вычисление показателя
для
построения графиков количественного
регулирования отопительной нагрузки
(формула 29)
Программа 3
|
|
|
|
|
Адрес
|
Команда
|
Код
|
|
00
|
ИП1
|
61
|
|
01
|
ИП2
|
62
|
|
02
|
+
|
10
|
|
03
|
2
|
02
|
|
04
|
|
13
|
|
05
|
/ - /
|
0L
|
|
06
|
ИП0
|
60
|
|
07
|
+
|
10
|
|
08
|
П5
|
45
|
|
09
|
ИП0
|
60
|
|
10
|
ИП1
|
61
|
|
11
|
-
|
11
|
|
12
|
ИП5
|
65
|
|
13
|
|
13
|
|
14
|
F1/
|
23
|
|
15
|
|
18
|
|
16
|
П5
|
45
|
|
17
|
ИП0
|
60
|
|
18
|
ИП2
|
62
|
|
19
|
-
|
11
|
|
20
|
П8
|
48
|
|
21
|
ИП3
|
63
|
|
22
|
/ - /
|
0L
|
|
23
|
П9
|
49
|
|
24
|
ИП8
|
68
|
|
25
|
|
24
|
|
26
|
П7
|
47
|
|
27
|
ИП1
|
61
|
|
28
|
ИП2
|
62
|
|
29
|
-
|
11
|
|
30
|
П6
|
46
|
|
31
|
ИП9
|
69
|
|
32
|
ИП6
|
66
|
|
33
|
|
24
|
|
34
|
Па
|
4-
|
|
35
|
ИП7
|
67
|
|
36
|
-
|
11
|
|
37
|
Пв
|
|
|
38
|
ИП9
|
69
|
|
39
|
0
|
00
|
|
40
|
,
|
0-
|
|
41
|
5
|
05
|
|
42
|
|
24
|
|
43
|
ИПа
|
6-
|
|
44
|
|
12
|
|
45
|
ИП7
|
67
|
|
46
|
-
|
11
|
|
47
|
ИП6
|
66
|
|
48
|
|
13
|
|
49
|
F1/
|
23
|
|
50
|
|
18
|
|
51
|
Пс
|
4С
|
|
52
|
1
|
01
|
|
53
|
ИП4
|
64
|
|
54
|
-
|
11
|
|
55
|
F1/
|
23
|
|
56
|
ИПс
|
6С
|
|
57
|
|
12
|
|
58
|
ИП5
|
65
|
|
59
|
+
|
10
|
|
60
|
F1/
|
23
|
|
61
|
Пс
|
4С
|
|
62
|
0
|
00
|
|
63
|
,
|
0-
|
|
64
|
5
|
05
|
|
65
|
|
18
|
|
66
|
ИПс
|
6С
|
|
67
|
|
12
|
|
68
|
С/П
|
50
|
Инструкция к программе 3
|
|
|
|
|
|
Содержание
|
Набрать число
|
Выполнить команды
|
Результат
|
|
п.1. Ввести программу 3
|
|
|
|
|
п.2. Занести в память постоянные исходные данные
|
|
П0
|
|
|
|
|
П1
|
|
|
|
|
П2
|
|
|
|
|
П3
|
|
|
|
|
П4
|
|
|
п. 3.
Определить значение
|
|
В/О С/П
|
|
4. Построение графика расхода теплоносителя при количественном регулировании
отопительной нагрузки (формула 28)
Программа 4
|
|
|
|
|
Адрес
|
Команда
|
Код
|
|
00
|
П0
|
40
|
|
01
|
ИП1
|
61
|
|
02
|
ИП2
|
62
|
|
03
|
-
|
11
|
|
04
|
П5
|
45
|
|
05
|
ИП1
|
61
|
|
06
|
ИП3
|
63
|
|
07
|
-
|
11
|
|
08
|
П6
|
46
|
|
09
|
ИП2
|
62
|
|
10
|
ИП3
|
63
|
|
11
|
-
|
11
|
|
12
|
П7
|
47
|
|
13
|
ИП4
|
64
|
|
14
|
ИП0
|
60
|
|
15
|
|
24
|
|
16
|
ИП7
|
67
|
|
17
|
|
12
|
|
18
|
/ - /
|
0L
|
|
19
|
ИП6
|
66
|
|
20
|
+
|
10
|
|
21
|
ИП5
|
65
|
|
22
|
|
13
|
|
23
|
F1/
|
23
|
|
24
|
ИП0
|
60
|
|
25
|
|
12
|
|
26
|
С/П
|
50
|
Инструкция к программе 4
|
|
|
|
|
|
Содержание
|
Набрать число
|
Выполнить команды
|
Результат
|
|
п.1. Ввести программу 4
|
|
|
|
|
п.2. Занести в память постоянные исходные данные
|
|
П1
|
|
|
|
|
П2
|
|
|
|
|
П3
|
|
|
|
|
П4
|
|
|
п.3.
Определить очередное значение
|
очередное значение
|
В/О
С/П
|
|
|
п.4.
Для определения следующего значения
|
|
|
|
5. Построение графика регулирования расхода геотермальной воды
в комплексной системе геотермального теплоснабжения (формула 21 рекомендуемого прил.3)
Программа 5
|
|
|
|
|
Адрес
|
Команда
|
Код
|
|
00
|
П9
|
49
|
|
01
|
ИП7
|
67
|
|
02
|
ИП5
|
65
|
|
03
|
-
|
11
|
|
04
|
ИП9
|
69
|
|
05
|
|
12
|
|
06
|
ИП0
|
60
|
|
07
|
|
12
|
|
08
|
Па
|
4-
|
|
09
|
ИП3
|
63
|
|
10
|
F1/
|
23
|
|
11
|
Пв
|
|
|
12
|
ИП9
|
69
|
|
13
|
F1/
|
23
|
|
14
|
ИПв
|
|
|
15
|
-
|
11
|
|
16
|
ИП1
|
61
|
|
17
|
|
12
|
|
18
|
ИП2
|
62
|
|
19
|
|
12
|
|
20
|
ИП0
|
60
|
|
21
|
|
13
|
|
22
|
|
16
|
|
23
|
Пс
|
4С
|
|
24
|
ИП5
|
65
|
|
25
|
ИП6
|
66
|
|
26
|
-
|
11
|
|
27
|
ИП0
|
60
|
|
28
|
|
12
|
|
29
|
ИП3
|
63
|
|
30
|
|
12
|
|
31
|
|
4Г
|
|
32
|
ИП7
|
67
|
|
33
|
ИП6
|
66
|
|
34
|
-
|
11
|
|
35
|
ИП0
|
60
|
|
36
|
|
12
|
|
37
|
ИП9
|
69
|
|
38
|
|
12
|
|
39
|
|
6Г
|
|
40
|
-
|
11
|
|
41
|
ИПс
|
6С
|
|
42
|
|
12
|
|
43
|
/ - /
|
0L
|
|
44
|
ИПа
|
6-
|
|
45
|
+
|
10
|
|
46
|
|
4Г
|
|
47
|
01
|
01
|
|
48
|
ИПс
|
6С
|
|
49
|
-
|
11
|
|
50
|
Пв
|
|
|
51
|
ИП7
|
67
|
|
52
|
ИП8
|
68
|
|
53
|
-
|
11
|
|
54
|
ИП0
|
60
|
|
55
|
|
12
|
|
56
|
ИП4
|
64
|
|
57
|
|
12
|
|
58
|
ИПв
|
|
|
59
|
|
12
|
|
60
|
ИПd
|
6Г
|
|
61
|
|
13
|
|
62
|
F1/
|
23
|
|
63
|
С/П
|
50
|
Инструкция к программе 5
|
|
|
|
|
|
Содержание
|
Набрать число
|
Выполнить команды
|
Результат
|
|
п.1. Ввести программу 5
|
|
|
|
|
п.2. Занести в память постоянные исходные данные
|
с
|
П0
|
|
|
|
К
|
П1
|
|
|
|
F
|
П2
|
|
|
|
|
П3
|
|
|
|
|
П4
|
|
|
|
|
П5
|
|
|
|
|
П6
|
|
|
|
|
П7
|
|
|
|
|
П8
|
|
|
п.3.
Определить очередное значение
|
очередное
значение
|
В/О С/П
|
|
|
п.4.
Для определения следующего значения
|
|
|
|
Текст документа сверен по:
официальное издание
Государственный комитет по
архитектуре и градостроительству
при Госстрое СССР -
М.: Стройиздат, 1989
Хотите оперативно узнавать о новых публикациях нормативных документов на портале? Подпишитесь на рассылку новостей!
Все Ведомственные строительные нормы (ВСН) >> Ведомственные строительные нормы (ВСН) «Отопление и газоснабжение >>




