СНиП 2.06.07-87. Подпорные стены, судоходные шлюзы, рыбопропускные и рыбозащитные сооружения Часть 2
|
4.33. Диаметры отверстий в экранах заградительного рыбозащитного сооружения следует принимать по табл. 5.
Таблица 5
4.34. Размеры подводящего канала при установке экранов заградительного рыбозащитного сооружения должны назначаться из условия обеспечения в нем скорости течения в канале на подходе к рыбозащитному сооружению
4.35. Длину одной секции экрана
Таблица 6
Обозначение, принятое в табл. 6: 4.36. Форму в плане экрана заградительного рыбозащитного сооружения, как правило, следует назначать криволинейной по уравнению
где x и у - соответственно продольные и поперечные координаты криволинейного фильтрующего экрана;
4.37. Плоские экраны рыбозаградителей следует устанавливать в водоподводящем канале под углом
где
4.38. Площадь экранов рыбозаградителей, устанавливаемых в соответствии с требованиями пп. 4.34-4.37, следует принимать с коэффициентом запаса
4.39. Рыбозащитные концентрирующие сооружения должны включать следующие основные элементы: водоподводящий канал, концентрирующие устройства, рыбоотводящий тракт.
4.40. Площадь поперечного сечения концентрирующих устройств S следует определять по формуле
4.41. Число секций в блоке концентрирующих устройств надлежит устанавливать по условию
где
4.42. Концентрирующее устройство для защиты рыб путем их вертикальной сепарации (РКВС) следует проектировать в виде трубы или лотка, имеющих прямоугольное или трапецеидальное сечение, с установленными в них концентраторами рыб. Концентраторы рыб надлежит проектировать в виде сужающихся в плане лотков с наклонным дном, гребнем и козырьком. Параметры лотков устанавливают методом подбора из зависимости
где
Длину козырька, устанавливаемого на входе в концентратор под углом 45°, следует определять по зависимости
4.43. Рыбозащитное сооружение должно обеспечить вывод рыб из зоны защиты к оголовку рыбоотводящего тракта или в транзитный поток без их травмирования.
4.44. Скорость течения потока в рыбоотводящем тракте, проходящем в открытом канале, следует принимать не менее сносящей скорости для защищаемых рыб.
4.45. При применении закрытых рыбоотводящих трактов при длине закрытого участка более 50 м надлежит предусматривать колодцы, расположенные на расстоянии не более 50 м друг от друга.
5. ОСНОВНЫЕ РАСЧЕТНЫЕ ПОЛОЖЕНИЯ
5.1. Подпорные стены, судоходные шлюзы, рыбопропускные и рыбозащитные сооружения, их конструкции и основания следует рассчитывать по методу предельных состояний.
Расчеты должны производиться по двум группам предельных состояний:
по первой группе (полная непригодность сооружений, их конструкций и оснований к эксплуатации) - расчеты общей прочности и устойчивости системы сооружение-основание; общей фильтрационной прочности оснований; устойчивости против опрокидывания для сооружений на скальном основании и для отдельных видов сооружений - против всплывания; прочности отдельных элементов сооружений, разрушение которых приводит к прекращению эксплуатации сооружений; неравномерных перемещений различных участков основания, приводящих к невозможности дальнейшей эксплуатации сооружения;
по второй группе (непригодность к нормальной эксплуатации) - расчеты оснований на местную прочность, расчеты по ограничению перемещений и деформаций; по образованию или раскрытию трещин; по нарушению местной фильтрационной прочности отдельных элементов сооружений, не рассматриваемой по первой группе предельных состояний.
5.2. Расчеты бетонных и железобетонных конструкций, в том числе на температурные воздействия, должны производиться в соответствии со СНиП 2.06.08-87.
5.3. Фильтрационные расчеты оснований и сооружений следует производить в соответствии со СНиП 2.02.02-85 и СНиП 2.06.06-85.
Для сооружений I и II классов характеристики фильтрационного потока (уровни, давления, градиенты напора, расходы) , как правило, следует определять, рассматривая пространственную задачу. Допускается рассматривать плоскую задачу для сооружений III и IV классов и для средней части сооружений I и II классов, когда их протяженность превышает 2,5 высоты.
Фильтрационное давление на подошву сооружений I и II классов, возводимых на скальном основании, и для сооружений III и IV классов, независимо от вида основания, допускается определять исходя из линейного закона его распределения на отдельных участках, учитывая при этом разгружающее действие противофильтрационных устройств и дренажей, если таковые предусматриваются проектом.
5.4. При расчете следует учитывать совместную работу сооружения с грунтом основания и засыпкой. Боковое давление грунта засыпки при этом необходимо определять с учетом прочностных и деформационных характеристик грунта и ограждающей конструкции, условий на контакте грунта и сооружения, последовательности и характера нагружения системы сооружение-основание, изменений уровней воды, изменений температуры окружающей среды, влияния соседних сооружений. Как правило, следует учитывать нелинейность и неоднозначность связи между напряжениями и деформациями в грунте, а для особо ответственных сооружений - зависимость этой связи от последовательности и характера нагружения и необратимости деформаций.
Расчет системы сооружение-основание допускается производить приближенными методами, в которых боковое давление грунта определяют как сумму основного и дополнительного (реактивного) давлений, действующих на расчетную плоскость сооружения или засыпки, в соответствии с пп. 5.5-5.7 и рекомендуемым приложением 9.
5.5. Основное давление грунта на расчетную плоскость, зависящее от веса грунта и других объемных сил (фильтрационных, сейсмических), а также от нагрузок на поверхности засыпки, следует определять:
а) при расчетах устойчивости гравитационных подпорных стен
давление грунта на тыловую грань
для стен на нескальном основании - принимая грунт в состоянии предельного равновесия (активное давление);
для стен на скальном основании при жесткой связи со скалой и при наличии упора с низовой стороны - принимая грунт в допредельном состоянии (давление покоя);
давление грунта на лицевую грань - в соответствии со СНиП 2.02.02-85;
б) при расчетах прочности (в том числе контакта сооружения со скалой), деформаций и перемещений гравитационных подпорных стен и стен камер шлюзов давление грунта, как правило, следует определять, принимая грунт в допредельном напряженном состоянии (давление покоя) с лицевой и тыловой граней стены. При повышенной деформативности стены или основания следует рассматривать возможность образования состояния предельного равновесия засыпки с тыловой и лицевой граней стены. Для стен, отнесенных к временным сооружениям, и стен высотой до 10 м разрешается производить расчеты на активное давление грунта;
в) при расчетах тонкостенных конструкций (шпунтовых и др.) боковое давление грунта допускается определять, принимая грунт в состоянии предельного равновесия (на тыловую грань - активное, на лицевую - пассивное). Влияние деформаций и других факторов учитывается путем введения (к расчетным значениям давления грунта или изгибающих моментов, анкерных реакций и заглубления шпунта) коэффициентов условий работы, устанавливаемых по нормам проектирования отдельных конструкций;
г) при расчетах прочности и деформаций ячеистых конструкций, засыпанных грунтом, боковое давление на внутренние стены ячеек определяется с учетом силосного эффекта и увеличения давления в нижней части стены за счет врезки в основание.
Примечание. За расчетную плоскость принимается поверхность сооружения на контакте с грунтом или условная плоскость внутри грунта (при наличии неплоской поверхности или разгрузочных элементов).
5.6. Боковое давление грунта в состоянии предельного равновесия, соответствующее стадии образования поверхности обрушения (активное давление) или поверхности выпора (пассивное давление), следует, как правило, определять с учетом трения по расчетной плоскости. При этом необходимо рассматривать возможность образования поверхности обрушения и выпора по профилю откоса котлована или другой возможной ослабленной поверхности. Абсолютную величину угла трения
5.7. Дополнительное (реактивное) давление грунта на тыловую грань стены, вызываемое температурными воздействиями или дополнительным давлением воды при наполнении камеры шлюза или другими временными длительными нагрузками со стороны лицевой грани стены, а также при деформации основания, приводящего к перемещению стены на грунт засыпки, определяется расчетом сооружения совместно с грунтом засыпки и основания. Грунт допускается рассматривать как упругое, линейно деформируемое основание, характеризуемое модулем деформации и коэффициентом поперечного расширения или коэффициентом упругого отпора (постели).
Дополнительное (реактивное) давление грунта учитывается при расчете прочности и деформации конструкций, а также при расчете железобетонных конструкций по образованию и раскрытию трещин; в расчетах устойчивости сооружений дополнительное давление грунта не учитывается.
Ординаты интенсивности дополнительного (реактивного) давления грунта в сумме с ординатами интенсивности основного давления грунта не должны превышать интенсивности пассивного давления.
При определении дополнительного (реактивного) давления следует учитывать влияние расположенных за засыпкой на расстоянии, меньшем ее высоты, других сооружений или скального массива.
5.8. В сооружениях с параллельными подпорными стенами (например, двухниточные шлюзы), где расстояние между стенами не превышает высоты засыпки, следует учитывать дополнительное давление грунта, вызванное перемещением параллельно расположенной стены на грунт засыпки.
5.9. Расчеты сооружений небольшой протяженности, непрямолинейных в плане, переменной высоты, с переменной высотой засыпки, с неоднородным вдоль сооружения основанием или засыпкой или другими переменными параметрами следует производить как для пространственной конструкции, т. е. для всего сооружения или его секции,ограниченной постоянными деформационными швами, с учетом взаимодействия с соседними сооружениями или конструкциями.
Если перечисленные параметры не изменяются по длине сооружения на протяжении более трех его высот, расчеты допускается производить на единицу длины сооружения.
5.10. При расчете голов шлюзов, расположенных на нескальном основании, следует рассматривать раздельное возведение днища и устоев с последующим их замыканием в пространственную конструкцию докового типа. В головах шлюзов, возводимых на скальном основании, как правило, устои с плитой днища не омоноличиваются, их расчет ведется раздельно.
5.11. Расчеты устойчивости сооружений на плоский, глубинный и смешанный сдвиг производятся в соответствии со СНиП 2.02.02-85, на опрокидывание - по указаниям п. 5.12, на всплытие - по п. 5.13.
При расчете устойчивости голов судоходных шлюзов или других аналогичных сооружений, имеющих отсыпку по боковым поверхностям, в силы сопротивления следует включать силы трения грунта по боковым поверхностям.
При проверке устойчивости ячеистых конструкций на плоский сдвиг вес грунта, заполняющего ячейки, учитывается полностью.
При проверке устойчивости этих конструкций на опрокидывание вес грунта в ячейке, передающийся непосредственно на основание, не учитывается.
Кроме обычной проверки устойчивости на сдвиг и опрокидывание ячеистые конструкции из шпунта следует проверять на сдвиг по вертикальной плоскости внутри ячейки и на разрыв замков шпунтин.
5.12. Подпорные стены и другие аналогичные им сооружения, возводимые на скальном основании или бетонной плите, следует проверять на опрокидывание по зависимости
где
При сопротивлении скального основания смятию
5.13. Проверка устойчивости на всплытие камер шлюзов и днищ, отрезанных от стен, производится из условия
где
Прочность контакта сооружения с основанием на отрыв учитывается только при анкеровке конструкции в скальном основании. Конструкция, сечения заглубление анкеров должны проверяться расчетом прочности, устойчивости и деформаций.
Нагрузки, воздействия и их сочетания
5.14. Нагрузки, воздействия и их сочетания должны определяться согласно требованиям СНиП 2.06.01-86. СНиП 2.06.04-82, СНиП II-7-81 и настоящего раздела.
5.15. При расчетах на основные сочетания нагрузок и воздействий надлежит учитывать :
постоянные нагрузки и воздействия
а) собственный вес сооружения, включая вес постоянного технологического оборудования (затворы, подъемные механизмы и пр.), местоположение которого на сооружении не меняется в процессе эксплуатации;
б) вес грунта, постоянно расположенного на сооружении;
в) боковое давление грунта, возникающее от действия собственного веса грунта, постоянных и длительных временных нагрузок, действующих на поверхности грунта;
г) силовое воздействие воды, в том числе фильтрационное при установившихся расчетных уровнях со стороны лицевой и тыловой граней подпорной стены и стен шлюзов, при нормальной работе противофильтрационных и дренажных устройств (для причальных сооружений и набережных, не входящих в состав сооружений напорного фронта, данная нагрузка относится к временной длительной) ;
д) предварительное напряжение конструкции или ее анкерных устройств;
временные длительные нагрузки и воздействия
е) силовое воздействие воды на лицевую грань подпорной стены, стены камеры шлюза при наивысшем уровне воды основного расчетного случая или уровне наполненной камеры шлюза;
ж) температурные воздействия, соответствующие изменениям среднемесячных температур окружающей среды для среднего по температурным условиям года;
з) дополнительное (реактивное) боковое давление грунта на подпорные стены и стены камер шлюзов, возникающее от действия длительных временных нагрузок (дополнительное давление воды на лицевую грань, температурные воздействия, навал стены на грунт засыпки);
кратковременные нагрузки и воздействия
и) нагрузки от транспортных воздействий, строительных и перегрузочных механизмов и складируемых грузов (в зависимости от эксплуатационных условий данные нагрузки могут быть отнесены к временным длительным);
к) нагрузки от судов (навал, натяжение швартовов) при расчетных скоростях подхода судов;
л) нагрузки от волн, принимаемые в соответствии со СНиП 2.06.04-82 при средней многолетней скорости ветра;
м) ледовые нагрузки, принимаемые в соответствии со СНиП 2.06.04-82 для средней многолетней толщины льда;
н) гидродинамические, пульсационные нагрузки воды.
5.16. При расчетах на особые сочетания нагрузок и воздействий следует учитывать постоянные, временные длительные, кратковременные и одну из особых нагрузок и воздействий:
а) сейсмические воздействия;
б) силовое воздействие воды, в том числе фильтрационное при форсированном уровне воды в водоеме (поверочный расчетный случай), соответствующем уровне нижнего бьефа, в случае нарушения нормальной работы; противофильтрационных и дренажных устройств (до 50% полной эффективности) ( взамен п. 5.15 г);
в) температурные воздействия, определяемые для года с максимальной амплитудой колебаний среднемесячных температур, а также для года с максимально низкой среднемесячной температурой (взамен п. 5.15 ж) ;
г) волновое воздействие, определяемое в соответствии со СНиП 2.06.04-82 при максимальной расчетной скорости ветра обеспеченностью 2 % - для сооружений I и II классов, и 4%- для сооружений III и IV классов (взамен п. 5.15 л);
д) ледовые нагрузки, определяемые при максимальной многолетней толщине при прорыве заторов в зимних попусках воды в нижнем бьефе (взамен п.5.15 м);
е) воздействия, вызванные взрывами вблизи проектируемого сооружения.
5.17. В основные и особые сочетания нагрузок и воздействий следует включать только те из кратковременных нагрузок и воздействий (п. 5.15 и, к, л, м, н), которые могут действовать одновременно.
5.18. Нагрузки и воздействия должны приниматься в наиболее неблагоприятных, но возможных сочетаниях, отдельно для эксплуатационного и строительного периодов.
5.19. Коэффициенты надежности по нагрузкам
При отсутствии экспериментального обоснования прочностных характеристик грунтов допускается для песчаных грунтов засыпок подпорных стен III и IV классов, а также для предварительных расчетов стен I и II классов использовать их нормативные значения, приведенные в СНиП 2.02.01-83 с уменьшением их значений на коэффициент условий работы
5.20. При соответствующем обосновании допускается не учитывать кратковременные нагрузки редкой повторяемости в расчетах по предельным состояниям второй группы.
5.21. Пульсационные и другие виды гидродинамических нагрузок определяются на основании гидравлических лабораторных исследований.
5.22. Нагрузки от судов следует определять по обязательному приложению 10.
ПРИЛОЖЕНИЕ 1 Справочное
ОСНОВНЫЕ БУКВЕННЫЕ ОБОЗНАЧЕНИЯ
Характеристики грунтов
Нагрузки и воздействия, усилия от них
Гидродинамические характеристики потока
Геометрические характеристики
ПРИЛОЖЕНИЕ 2 Обязательное
ОСНОВНЫЕ ПОЛОЖЕНИЯ ПО ОПРЕДЕЛЕНИЮ ГРУЗООБОРОТА, СУДООБОРОТА И ПРОПУСКНОЙ СПОСОБНОСТИ ШЛЮЗОВ
1. Данные по типам расчетных судов, грузо- и судообороту (навигационному и среднесуточному в наиболее напряженный период навигации) в створе гидроузла, определяемые на расчетный перспективный срок, следует устанавливать на основании схемы развития водного транспорта бассейна, а при отсутствии ее на расчетный перспективный срок - на основании экономических исследований.
За расчетный перспективный срок принимается: для шлюзов на сверхмагистральных и магистральных водных путях - 10 лет после начала постоянной эксплуатации; для шлюзов на водных путях местного значения - 5 лет.
Расчетное судно (составы, плот) выбирается по водоизмещению, длине, ширине, осадке, надводному возвышению привального бруса, надводному габариту согласно сетке типов судов, утвержденной Минречфлотом РСФСР или управлениями речного флота союзных республик или другими органами, регулирующими судоходство.
2. Навигационный судооборот определяется по направлениям вверх и вниз отдельно груженых и порожних судов различных типов: самоходных и несамоходных, пассажирских и грузопассажирских, плотоводов, технического флота, шлюзуемых секций плотов и др.
3. Среднесуточный судооборот в наиболее напряженный период навигации по каждому виду перевозок определяется как отношение навигационного судооборота к длительности навигации, сут, умноженное на коэффициент неравномерности подхода судов и плотов к шлюзам, принимаемый по данным анализа проектируемого судооборота. При отсутствии таких данных коэффициент неравномерности допускается принимать: для судов 1,3; плотов 1,7.
Длительность навигации, сут, устанавливается с счетом ее продления при отрицательных температурах воздуха органами, регулирующими судоходство на внутренних водных путях.
4. Общее число шлюзований в сутки следует определять как сумму шлюзований транспортного флота (включая плоты) и двух пар шлюзований для сверхмагистральных и магистральных водных путей и одной пары - для водных путей местного значения для пропуска технического флота.
5. Пропуск судна производится через шлюз при одностороннем или двустороннем шлюзовании.
Время цикла одностороннего шлюзования определяется продолжительностью следующих операций: ввод судов в шлюз, учалка судов, закрытие ворот, наполнение или опорожнение камеры, открытие ворот, вывод судов из шлюза, закрытие ворот, опорожнение или наполнение камеры, открытие ворот.
Время цикла двустороннего шлюзования определяется продолжительностью следующих операций: ввод судов в шлюз, учалка судов, закрытие ворот, наполнение или опорожнение камеры, открытие ворот, вывод судов из шлюза, ввод судов в шлюз, учалка судов, закрытие ворот, наполнение или опорожнение камеры, открытие ворот, вывод судов из шлюза.
Для многокамерного шлюза во всех случаях добавляется операция по переводу судов из одной камеры шлюза в другую.
6. Время на учалку судна в шлюзе для всех судов, за исключением скоростных, следует принимать 2 мин, для скоростных судов - 0,5 мин.
7. Время наполнения и опорожнения камер шлюза следует определять гидравлическими расчетами. Для предварительных расчетов время наполнения и опорожнения камеры шлюза t, мин, допускается определять по формуле
где
8. Время открытия и закрытия ворот шлюза следует определять на основании конструктивных разработок в зависимости от типа ворот и механизмов, высоты перекрываемого отверстия, а также ширины шлюза.
При предварительных расчетах продолжительности открытия и закрытия ворот допускается принимать:
для плоских ворот - 2 мин при высоте перекрываемого отверстия
для двустворчатых ворот - 2 мин при ширине камеры
9. Время ввода судов в шлюз, вывода из него и перевода из камеры в камеру определяется в зависимости от скорости и длины пути их движения.
Скорость движения необходимо определять расчетом из условия обеспечения безопасности входа, выхода и стоянки судов у причала.
Для предварительных расчетов средние скорости движения судов на внутренних водных путях в шлюзе и на подходах к нему принимаются по табл. 1.
10. Длина пути движения судна при входе в шлюз и выходе из него определяется положением его на подходах и в камере.
Начальное расчетное положение на подходе при одностороннем движении судов в каждом из направлений определяется допустимой величиной гидродинамической силы при наполнении (опорожнении) камеры из подходного канала, при боковом заборе и выпуске воды - возможностью открытия ворот перед ним. При двустороннем движении судов начальное положение судна определяется возможностью расхождения со встречным судном. Во всех случаях расстояние между судном и воротами не должно быть менее 5 м.
Таблица 1
Положение последующих судов при выходе определяется: при одностороннем движении - возможностью закрытия ворот за ними, а при двустороннем движении - расхождением со встречным судном, ожидающим шлюзования.
При одновременном шлюзовании нескольких судов длину пути движения следует определять по судну, которое входит в камеру шлюза и выходит из нее последним.
При переходе из камеры в камеру длина пути движения принимается равной длине камеры и средней головы шлюза.
11. При предварительных расчетах длину пути входа (выхода) расчетного судна, ожидающего шлюзования у причала, допускается принимать равной:
при одностороннем движении судов в каждом из направлений
при двустороннем движении судов
где
12. Грузо- и судопропускная способность шлюзов определяется числом шлюзований расчетных судов исходя из полной загрузки шлюза в наиболее напряженные сутки (при работе шлюза, в среднем, в течение 23 ч) при принятых типах расчетных судов и структуре перевозок на установленные расчетные сроки. При определении пропускной способности однониточных шлюзов число шлюзований для всех типов судов следует принимать 25 % при одностороннем шлюзовании и 75 % при двустороннем шлюзовании; для плотов принимается только одностороннее шлюзование.
13. Число ниток шлюзов определяется исходя из необходимой пропускной способности их на расчетные сроки.
Как правило, следует предусматривать возможность строительства в будущем дополнительной нитки шлюза без перерыва в работе эксплуатируемых судоходных сооружений.
При надлежащем технико-экономическом обосновании допускается принимать одну из ниток шлюзов с меньшими габаритами камер для пропуска скоростных или малогабаритных судов.
ПРИЛОЖЕНИЕ 3 Обязательное
ОПРЕДЕЛЕНИЕ ГАБАРИТОВ ШЛЮЗОВ
1. Основные габариты шлюзов (полезная длина и ширина камеры, а также глубина на порогах) должны отвечать характеристикам расчетных судов.
Основные габариты шлюзов, расположенных на одном водном пути, должны приниматься одинаковыми. Отступление от этого требования должно согласовываться с органами, регулирующими судоходство на внутренних водных путях; для шлюзов, расположенных на приморских окончаниях внутренних водных путей и водных путях, подведомственных Минморфлоту СССР, - согласовываться с этим министерством.
2. Полезная длина камер
где
Полезная ширина камеры шлюза
где
Запасы по ширине с каждой стороны камеры и между судами
Глубина на порогах шлюза
где s - статическая осадка расчетного судна в полном грузу.
Для шлюзов полезную длину и ширину камеры, глубину на порогах следует округлять в сторону увеличения до ближайших размеров, приведенных в таблице.
При головной системе питания успокоительный участок должен находиться за пределами полезной длины камеры.
3. Расчетные наинизшие судоходные уровни воды в бьефах и камерах шлюзов устанавливаются по ежедневным расходам или уровням воды за навигационный период в многолетнем разрезе обеспеченностью для сверхмагистральных водных путей - 99 %, магистральных - 97 %, местного значения - 95 % с учетом понижения уровня, происходящего вследствие переформирования русла, ветрового сгона, неустановившегося движения воды, отливных явлений.
4. Расчетные наивысшие судоходные уровни воды в бьефах и камерах шлюзов, за исключением шлюзов с судоходными плотинами, устанавливаются по максимальному расходу воды расчетной вероятности превышения для сверхмагистральных водных путей - 1 %, магистральных - 3 %, местного значения - 5 % с учетом повышения уровней воды, происходящего вследствие ветрового нагона, образования зажоров и заторов, явлений неустановившегося движения, приливных явлений.
Для гидроузлов с судоходными плотинами расчетным наивысшим уровнем считается меженный судоходный уровень, при котором предусмотрен пропуск судов через шлюз. При более высоких уровнях судоходство осуществляется через судоходный пролет плотины.
5. Для однониточных шлюзов, расположенных на канале, расчетные уровни воды следует устанавливать из условия забора из канала (при отсутствии поступления воды) или выпуска в канал воды (при отсутствии слива воды) в объеме трех сливных призм - для сверхмагистральных и магистральных водных путей и двух сливных призм - для водных путей местного значения. При двухниточных шлюзах число сливных призм принимается соответственно на одну больше.
6. Уровень воды в нижнем бьефе при ремонте шлюзов устанавливается по расходу воды с расчетной вероятностью превышения для сверхмагистральных и магистральных водных путей - выше 10 %; для водных путей местного значения - выше 20 %; для гидроузлов с судоходными плотинами - не выше расчетного наивысшего судоходного уровня.
7. Высота подмостовых габаритов в шлюзах
Таблица
Ширина подмостовых габаритов
8. Верх стен шлюзов, направляющих и причальных сооружений или их парапетов, способных воспринимать навал судов, при расчетном наивысшем уровне воды не должен быть ниже верхнего привального бруса наибольшего расчетного судна при полной загрузке и не ниже нижнего привального бруса расчетного судна в порожнем состоянии, а для судов на воздушной подушке и подводных крыльях - при движении их на подушке или крыльях.
Возвышение площадок, расположенных вдоль стен камер шлюзов, причальных и направляющих сооружений над расчетным наивысшим судоходным уровнем воды должно быть для шлюзов на сверхмагистральных водных путях не менее 2 м, магистральных - не менее 1 м; на водных путях местного значения - не менее 0,5 м. В многокамерных шлюзах, имеющих боковые водосливы, это возвышение должно отсчитываться от наивысшего уровня воды в камере, который устанавливается при работе водослива. Возвышение сооружений и частей шлюза, входящих в напорный фронт гидроузла, должно соответствовать требованиям, предъявляемым к сооружениям напорного фронта.
9. Ширина площадок, указанных в п. 8, должна назначаться из условий размещения на них различных коммуникаций и обеспечения одностороннего проезда автотранспорта, но не менее 4,5 м.
Допускается уменьшение ширины площадок до 2 м для шлюзов на сверхмагистральных водных путях при условии обеспечения подъезда автотранспорта к каждой голове шлюза, а также шлюзов на водных путях местного значения, если на них не предусматривается заезд автотранспорта.
Ширина площадок причальных линий должна быть не менее 2 м.
10. Габарит по высоте в пределах площадок для проезда автомашин должен приниматься не менее 4,5 м, для прохода людей - не менее 2,5 м.
11. На стенах камер и голов шлюза с лицевых сторон должны быть устроены парапеты высотой не менее 1,1 м, рассчитанные на навал судна, или охранные ограждения, отнесенные от лицевой грани на расстояние, исключающее навал на них судов.
Верхней части лицевой грани стен или парапетов должно быть придано очертание, исключающее зависание судна привальным брусом, а кордон должен быть облицован металлом.
ПРИЛОЖЕНИЕ 4 Обязательное
ТРЕБОВАНИЯ К КОМПОНОВКЕ ШЛЮЗОВ В ГИДРОУЗЛАХ И НА СУДОХОДНЫХ КАНАЛАХ
1. Шлюзы в составе гидроузла на сверхмагистральных и магистральных водных путях, а также на судоходных каналах, как правило, должны быть однокамерными. Многокамерные шлюзы и шлюзы с разъездными бьефами допускаются при надлежащем обосновании.
2. Подходные каналы шлюзов, сопрягаемые с руслом реки, водохранилищем или каналом, следует проектировать с учетом возможных переформирований русла, исключения заиления входа и попадания в него льда и шуги.
Входы в подходные каналы из реки следует, как правило, располагать на вогнутом, прижимном берегу.
3. В районе сопряжения подходных каналов шлюзов с рекой или водохранилищем наибольшие продольные скорости течения не должны превышать 2,5 м/с для сверхмагистральных и магистральных водных путей и 2 м/с -для водных путей местного значения; в подходных каналах продольные скорости должны быть не более 0,8 м/с. Нормальная к оси судового хода составляющая скорости течения для водных путей всех категорий в районе входа в подходные каналы должна быть не более 0,4 м/с, непосредственно в створе входа и в самом канале не должна превышать 0,25 м/с, а в пределах причальных стенок на ширине
Скорости течения воды в районе сопряжения каналов с водохранилищем или рекой не должны превышать допускаемых скоростей при наиболее неблагоприятном для судоходства гидравлическом режиме работы гидроузла.
4. При отсутствии данных о скорости течения воды для предварительного проектирования направление судового хода при выходе подходного канала в реку или водохранилище допускается назначать под углом к основному течению на этом участке, не превышающем:
на сверхмагистральных и магистральных водных путях ............25°
на водных путях местного значения ............................ 30°
5. В составе гидроузлов шлюзы следует располагать, как правило, в нижнем бьефе. Расположение однокамерных или верхней камеры многокамерных шлюзов в верхнем бьефе гидроузла допускается при надлежащем обосновании, при неблагоприятных .инженерно-геологических и топографических условиях в нижнем бьефе или по условиям, диктуемым транспортной магистралью, пересекающей судоходные сооружения.
Черт. 1. Схема судоходного шлюза с подходами
1 -ось судового хода; 2 -шлюз; 3 -радиусы поворота судна.
6. Судоходная трасса шлюза (черт. 1) должна быть прямолинейной на участке длиной не менее величины
где
Длину прямолинейного участка
7. Ось прямолинейного участка подходного канала должна сопрягаться с осью судового хода в канале или водохранилище по кривой, очерченной радиусом r (радиус поворота судна), который должен быть не менее пяти длин расчетного судна или трех длин расчетного толкаемого состава.
8. Мостовые переходы транспортных магистралей, пересекающие шлюзы, следует устраивать, как правило, через нижнюю или одну из средних (для многокамерного шлюза) голов.
9. Участки каналов на длине подхода к шлюзу
сверхмагистральных и магистральных ............ 2
местного значения ............................. 5 10. Прямолинейный участок между двумя шлюзами, располагаемыми последовательно на судоходном канале (черт. 2, а), должен быть по условиям расхождения судов не менее величины
где
При размещении двух шлюзов на криволинейном участке канала (черт. 2, б) расстояние между ними должно быть не менее величины
где
11. В местах расположения на подходах к шлюзам сосредоточенных заборов или выпусков воды из других гидротехнических сооружений должно быть предусмотрено уширение подходов, которое назначается в зависимости от величины дрейфа, испытываемого судном под влиянием поперечного течения, скорости которого при наинизшем судоходном уровне не должны превышать 0,25 м/с. Сопряжение уширенного и нормального сечений канала выполняется плавно на длине не менее 20 уширений в каждую сторону от границ водосбросных (водозаборных) сооружений.
Черт. 2. Схема размещения последовательно располагаемых шлюзов на судоходном канале
а -на прямолинейном участке канала; б -на криволинейном участке канала
ПРИЛОЖЕНИЕ 5 Обязательное ТРЕБОВАНИЯ К ГАБАРИТАМ И КОМПОНОВКЕ ПОДХОДОВ К ШЛЮЗАМ
1. Размеры и очертания подходов к шлюзам в плане должны обеспечивать расхождение шлюзуемых судов при двустороннем движении. На период временной эксплуатации шлюза при строительстве гидроузла допускается устройство подходов для одностороннего движения с разъездами или без них при условии обеспечения необходимой пропускной способности.
2. Подходы к шлюзам по взаимному расположению их оси и продольной оси шлюза подразделяют на следующие:
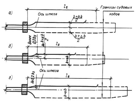
симметричные (черт. 1, а) - оси подходного канала и шлюза совпадают:
Черт. 1. Схема подходных каналов к шлюзу
а -симметричный; б -полусимметричный; в -несимметричный
полусимметричные (черт. 1, б) - ось подходного канала смещена относительно оси шлюза в сторону от причальной линии таким образом, что расстояние между лицевой гранью устоев головы шлюза и причальной линией находится в пределах от 0,2 расчетной ширины судна до расстояния, соответствующего симметричному подходу;
несимметричные (черт. 1, в) - ось подходного канала расположен по отношению к оси шлюза так, что причальная линия продолжает лицевую грань устоев головы шлюза или смещена от нее на расстояние не более 0,2 расчетной ширины судна.
3. Ширину судового хода подходных участков с прямолинейным движением на уровне расчетной осадки при наинизшем расчетном судоходном уровне следует принимать не менее величины b, определяемой по следующим формулам:
для однониточных шлюзов
для двухниточных шлюзов
где
Ширину судового хода подходных участков двухниточных шлюзов следует принимать не менее расстояния между лицевыми гранями внешних стен камер смежных шлюзов.
В подходном канале двухниточного шлюза при размещении причальной линии на продолжении межкамерного пространства ширина судового хода к каждой нитке определяется как для однониточного шлюза из условия обеспечения расхождения двух судов.
4. Расчетная глубина судового хода подходных каналов при расчетном наинизшем судоходном уровне должна приниматься не менее 1,3 статической осадки расчетного судна в полном грузу.
При надлежащем обосновании допускается учитывать дополнительно запас на заносимость подходов.
5. Длина верхнего (нижнего) участка подхода (черт. 2), в пределах которого предусматривается расхождение встречных судов, должна быть не менее величины
где
здесь
Черт. 2. Схема очертания в плане подходного канала к шлюзу
Величина смещения с определяется по формулам:
при симметричном подходе
при полусимметричном подходе
для подхода, в котором
для подхода, в котором
при несимметричном подходе
где
При определении
6. Ширина судового хода на участках
Уширение
где
Переходный участок
7. При проектировании шлюзов, входящих в состав гидроузлов с водосбросными сооружениями, расположенных на сверхмагистральных и магистральных водных путях, условия входа, стоянки, движения и дрейфа судов в подходных каналах должны, как правило, определяться по данным лабораторных исследований.
Для шлюзов на водных путях местного значения такие исследования выполняются только при надлежащем обосновании.
8. В верхнем и нижнем бьефах шлюзов, как правило, должны быть предусмотрены предшлюзовые рейды, предназначенные для отстоя судов в ожидании шлюзования, при перемене тяги, переформировании составов и плотов, а также в период штормов и штормового предупреждения.
Предшлюзовые рейды должны располагаться на естественных или создаваемых путем устройства оградительных сооружений акваториях, непосредственно примыкающих к подходам шлюза, с высотой волны на судовых рейдах до 1 м и на рейдах переформирования плотов до 0,6 м. Указанные высоты волн принимаются с расчетной обеспеченностью по суммарной продолжительности в навигационный период 2% для шлюзов на сверхмагистральных и магистральных водных путях и 5% - на водных путях местного значения.
Расстояние от рейда до конца причала в подходе, как правило, не должно превышать трех полезных длин камер.
ПРИЛОЖЕНИЕ 6 Обязательное
ТРЕБОВАНИЯ К СИСТЕМАМ ПИТАНИЯ ШЛЮЗОВ
1. Основные системы питания шлюзов, применяемые для наполнения и опорожнения их камер, подразделяются :
а) по способу подачи воды в камеры и выпуску ее из камер на
сосредоточенную;
распределительную;
б) по способу забора воды из верхнего бьефа и сброса ее в нижний бьеф
в пределах подходных каналов;
вне пределов подходных каналов.
Могут применяться системы питания в комбинации из вышеприведенных.
2. Системы питания судоходных шлюзов должны отвечать следующим требованиям:
а) продолжительность наполнения и опорожнения камеры должна соответствовать заданной судопропускной способности шлюза;
б) режимы наполнения и опорожнения должны обеспечивать нормальные условия стоянки судов в камере и работы оборудования, а также нормальные условия стоянки и маневрирования судов в подходных каналах, в том числе при независимой работе камер многониточных шлюзов, имеющих общий подходной канал. Эти условия определяются допустимыми значениями продольных и поперечных составляющих гидродинамических сил, воздействующих в процессе шлюзования и после него на стоящие в камере или у причала суда, а также допустимыми значениями продольных и поперечных скоростей течения в подходных каналах, определяемыми в соответствии с обязательным приложением 4;
в) воздействие потока на элементы шлюза, а также на русло и крепление каналов при многократном наполнении и опорожнении камеры не должно вызывать их повреждения;
г) конструкции элементов системы питания должны быть доступными для осмотра и ремонта, а также должны обеспечивать быстрое прекращение наполнения или опорожнения камеры, безопасное для судов, находящихся в камере и на подходах;
д) проникание морской воды в пресноводный водоем, ограждаемый напорным фронтом, в который входит судоходный шлюз, должно быть исключено.
3. Для шлюзов на сверхмагистральных и магистральных водных путях, а также для шлюзов с напорами более 6 м на водных путях местного значения элементы системы питания должны определяться по данным лабораторных и натурных исследований.
4. Продольные и поперечные составляющие гидродинамических сил определяются расчетом или лабораторными исследованиями и не должны превышать:
для продольной составляющей
где D - водоизмещение расчетного судна или наибольшего грузового судна в расчетном составе в полном грузу, кН;
для поперечной составляющей В камере и у причалов, не оборудованных подвижными рымами, величины продольных и поперечных составляющих гидродинамических сил следует умножать на величину
5. Выбор системы питания следует производить в соответствии с п. 2 с соблюдением следующих условий:
при значениях
6. При наполнении (опорожнении) камеры шлюза наибольший инерционный подъем (спад) уровня воды в ней не должен превышать 0,25 м.
К моменту открытия ворот шлюза перепад уровней между камерой и бьефом не должен превышать 0,2 м.
7. Системы питания рассчитываются, принимая продолжительность открытия затворов равной: при наполнении камер для сосредоточенных систем питания - не более 0,8 и распределительных систем - не более 0,6 продолжительности наполнения; при опорожнении камер для любых систем - не более 0,6 продолжительности опорожнения.
Для шлюзов с сосредоточенной системой питания в целях сокращения времени, затрачиваемого на шлюзование, и увеличения пропускной способности шлюзов допускается применять многоскоростные и дифференцированные для различных типов судов и начальных глубин в камере графики открывания затворов галерей.
8. Для регулирования уровней воды в межшлюзовых бьефах следует предусматривать регуляторы уровней бьефов, которые должны быть рассчитаны на пропуск не менее одной сливной призмы в течение одного шлюзования по одной нитке шлюзов.
9. В многокамерных шлюзах при значительных колебаниях судоходных уровней воды в бьефах при надлежащем обосновании допускается предусматривать устройство водосливов во второй и последней камерах для сброса излишков воды сливной призмы. Верх водосливных отверстий следует располагать на глубине не менее наибольшей осадки судна, считая от отметки гребня водослива.
| ||||||||||||||||||||||||||||||||||||||||||||||||||||||||||||||||||||||||||||||||||||||||||||||||||||||||||||||||||||||||||||||||||||||||||||||||||||||||||||||||||||||||||||||||||||||||||||||||||||||
Хотите оперативно узнавать о новых публикациях нормативных документов на портале? Подпишитесь на рассылку новостей!




