ГОСТ Р 8.650-2008 ГСИ. Колебательная мощность, излучаемая машинами в присоединенные опорные конструкции. Часть 1. Методика выполнения прямых измерений
|
ФЕДЕРАЛЬНОЕ АГЕНТСТВО |
||
|
|
НАЦИОНАЛЬНЫЙ |
ГОСТ Р |
Государственная система обеспечения единства измерений
КОЛЕБАТЕЛЬНАЯ МОЩНОСТЬ, ИЗЛУЧАЕМАЯ МАШИНАМИ В ПРИСОЕДИНЕННЫЕ ОПОРНЫЕ КОНСТРУКЦИИ
Часть 1
Методика выполнения прямых измерений
|
|
Москва Стандартинформ 2009 |
Предисловие
Цели и принципы стандартизации в Российской Федерации установлены Федеральным законом от 27 декабря 2002 г. № 184-ФЗ «О техническом регулировании», а правила применения национальных стандартов Российской Федерации - ГОСТ Р 1.0-2004 «Стандартизация в Российской Федерации. Основные положения»
Сведения о стандарте
1 РАЗРАБОТАН Федеральным государственным унитарным предприятием «Всероссийский научно-исследовательский институт метрологии им. Д.И. Менделеева» (ФГУП «ВНИИМ им. Д.И. Менделеева») Федерального агентства по техническому регулированию и метрологии и Федеральным государственным унитарным предприятием Государственным научным центром Российской Федерации «Центральный научно-исследовательский институт им. академика А.Н. Крылова» (ФГУП «ЦНИИ им. академика А.Н. Крылова»)
2 ВНЕСЕН Управлением метрологии Федерального агентства по техническому регулированию и метрологии
3 УТВЕРЖДЕН И ВВЕДЕН В ДЕЙСТВИЕ Приказом Федерального агентства по техническому регулированию и метрологии от 25 декабря 2008 г. № 738-ст
4 ВВЕДЕН ВПЕРВЫЕ
Информация об изменениях к настоящему стандарту публикуется в ежегодно издаваемом информационном указателе «Национальные стандарты», а текст изменений и поправок - в ежемесячно издаваемых информационных указателях «Национальные стандарты». В случае пересмотра (замены) или отмены настоящего стандарта соответствующее уведомление будет опубликовано в ежемесячно издаваемом информационном указателе «Национальные стандарты». Соответствующая информация, уведомление и тексты размещаются также в информационной системе общего пользования - на официальном сайте Федерального агентства по техническому регулированию и метрологии в сети Интернет
Содержание
НАЦИОНАЛЬНЫЙ СТАНДАРТ РОССИЙСКОЙ ФЕДЕРАЦИИ
Государственная система обеспечения единства измерений
КОЛЕБАТЕЛЬНАЯ МОЩНОСТЬ, ИЗЛУЧАЕМАЯ МАШИНАМИ В ПРИСОЕДИНЕННЫЕ ОПОРНЫЕ КОНСТРУКЦИИ
Часть 1
Методика выполнения прямых измерений
State system for ensuring the uniformity of measurements. Measurement of vibration power flow from machines into connected support structures. Part 1. Direct method
Дата введения - 2010-01-01
1 Область применения
1.1 Настоящий стандарт устанавливает методику выполнения прямых измерений (далее - методика измерений) колебательной мощности, излучаемой механизмами, установками, оборудованием, трубопроводами (далее - машины) в присоединенные опорные конструкции (далее - фундаменты) через болтовые соединения, связывающие машины с фундаментами при стационарном случайном вибрационном процессе.
1.2 Настоящий стандарт не распространяется на методику измерений колебательной мощности, излучаемой машинами при их фланцевом креплении к фундаментам.
2 Нормативные ссылки
В настоящем стандарте использованы нормативные ссылки на следующие стандарты:
ГОСТ 12.2.007.0-75 Система стандартов безопасности труда. Изделия электротехнические. Общие требования безопасности
ГОСТ ИСО 5348-2002 Вибрация и удар. Механическое крепление акселерометров
ГОСТ 16819-71 Приборы виброизмерительные. Термины и определения
ГОСТ 24346-80 Вибрация. Термины и определения
ГОСТ 24347-80 Вибрация. Обозначения и единицы величин
Примечание - При пользовании настоящим стандартом целесообразно проверить действие ссылочных стандартов в информационной системе общего пользования - на официальном сайте Федерального агентства по техническому регулированию и метрологии в сети Интернет или по ежегодно издаваемому информационному указателю «Национальные стандарты», который опубликован по состоянию на 1 января текущего года, и по соответствующим ежемесячно издаваемым информационным указателям, опубликованным в текущем году. Если ссылочный стандарт заменен (изменен), то при пользовании настоящим стандартом следует руководствоваться заменяющим (измененным) стандартом. Если ссылочный стандарт отменен без замены, то положение, в котором дана ссылка на него, применяется в части, не затрагивающей эту ссылку.
3 Термины, определения и обозначения
В настоящем стандарте применены термины по ГОСТ 16819, ГОСТ 24346, ГОСТ 24347, рекомендациям по метрологии [1], а также следующие термины с соответствующими определениями и обозначениями:
3.1 метод прямых измерений: Метод измерений колебательной мощности, излучаемой машинами, в соответствии с которым колебательную мощность определяют по результатам измерений реальной части взаимного спектра электрических сигналов, поступающих с датчиков силы и скорости вибрации.
3.2 линейность: Свойство виброизолятора, проявляющееся в случае, когда его динамическое поведение удовлетворяет принципу суперпозиции.
3.3 вектор вибрационной
скорости
: Вектор, содержащий три линейные составляющие
вибрационной скорости, направленные вдоль координатных осей х, у
и z.
3.4 линейные составляющие
скорости вибрации
: Линейные (поступательные) составляющие (i = 1, 2, 3) скорости вибрации, направленные
вдоль координатных осей х, у и z соответственно.
3.5 составляющие ускорения
вибрации
: Линейные (поступательные) составляющие (i = 1, 2, 3) ускорения вибрации, направленные вдоль координатных осей х,
у и z соответственно.
3.6 вектор скорости вибрации
в n-й точке
: Вектор
в n-й точке (матрица -
столбец), содержащий три линейные составляющие скорости вибрации, направленные
вдоль координатных осей х, у и z соответственно.
3.7 составляющие скорости
вибрации в точке
: Линейные
составляющие (i = 1, 2, 3) скорости
вибрации n-го
болтового соединения.
3.8 составляющие ускорения
вибрации в точке
: Линейные составляющие (i = 1,2, 3) ускорения вибрации n-го болтового соединения.
3.9 составляющие скорости
вибрации
: Составляющие
скорости вибрации машины и фундамента в месте крепления n-го болтового соединения.
3.10 составляющие ускорения
вибрации
: Составляющие ускорения вибрации машины и
фундамента в месте крепления n-го болтового соединения.
3.11 вектор силы F: Вектор возмущающей силы, содержащий шесть составляющих (три линейные силы и три момента силы), направленных вдоль координатных осей х, у и z соответственно.
3.12 линейные составляющие силы Fi: Линейные составляющие возмущающей силы (i = 1, 2, 3), направленные вдоль координатных осей х, у и z соответственно.
3.13 вектор силы, приложенной к n-й точке Fn: Вектор возмущающей силы, приложенной к n-й точке (матрица - столбец), содержащий три линейные составляющие, направленные вдоль координатных осей х, у и z соответственно.
3.14 составляющие линейной
силы, действующей в точке
: Составляющие линейной возмущающей силы (i = 1, 2, 3), действующей через n-е болтовое соединение.
3.15 составляющие возмущающей
силы, действующей на фундамент
: Линейные составляющие возмущающей силы (i = 1, 2, 3), действующей на фундамент через n-е болтовое соединение.
3.16 составляющие силы,
приложенной к n-му виброизолятору со стороны машины
: Составляющие
возмущающей силы (i = 1, 2,3), приложенной
со стороны машины к n-му
виброизолятору.
3.17 излучаемая колебательная мощность Р: Скалярное произведение векторов возмущающей силы и скорости вибрации.
3.18 составляющие излучаемой колебательной мощности Рi: Составляющие колебательной мощности, излучаемой в виде линейных (i = 1, 2, 3) составляющих скорости вибрации.
3.19 колебательная мощность,
излучаемая машиной в фундамент через n-е болтовое соединение
: Скалярное
произведение векторов возмущающей силы, действующей на фундамент через n-е болтовое соединение, и скорости вибрации
этого болтового соединения.
3.20 колебательная мощность,
излучаемая машиной в виброизолятор через n-е болтовое соединение
: Скалярное
произведение векторов возмущающей силы, действующей на виброизолятор через л-е
болтовое соединение, и скорости вибрации этого болтового соединения.
3.21 взаимный спектр ReG(A, В), ImG(A, В): Действительная и мнимая части взаимного спектра вибрационных процессов A(t) и B(t).
3.22 уровень колебательной мощности Lp, дБ: Десятичный логарифм отношения значения измеренной колебательной мощности к значению колебательной мощности 10-12 Вт, соответствующему ее нулевому уровню.
4 Общие положения
4.1 Метод прямых измерений колебательной мощности, излучаемой машиной, основан на результатах обработки электрических сигналов, поступающих с электромеханических преобразователей (датчиков), фиксирующих силы, действующие через болтовые соединения, и скорость (или ускорение) вибрации болтового соединения.
4.2 Настоящий стандарт устанавливает методику измерения трех составляющих колебательных мощностей, излучаемых машиной через болтовые соединения в виде трех линейных (поступательных) составляющих вибрации. Действия моментов силы в трех взаимно перпендикулярных направлениях при определении составляющих колебательной мощности не учитывают.
4.3 При прямых измерениях должно быть предусмотрено следующее:
- работа машины в стационарном режиме;
- установка датчиков силы и скорости в болтовых соединениях машины с фундаментом;
- измерение действительной части взаимных спектров сил, действующих в болтовых соединениях, и скорости вибрации болтовых соединений.
4.4 Результаты прямых измерений излучаемой колебательной мощности могут быть использованы в целях:
а) определения и сравнения виброактивности машин различных принципов действия, типов, масс и габаритных размеров в конкретных условиях эксплуатации;
б) разработки технических требований к допустимой вибрации машин;
в) разработки предложений по контролю вибрации машин и условий проведения этого контроля;
г) решения задач виброакустической диагностики машин и их виброакустической защиты;
д) разработки мероприятий по уменьшению виброактивности и повышению эффективности виброакустической защиты машин.
4.5 Аналитическая модель машины, установленной жестко на фундаменте, и основные системы координат машины и болтового соединения приведены на рисунках 1 и 2. Аналогичные системы координат применяют и в случае установки машины на виброизоляторы.

1 - машина; 2 - фундамент; 3
- болтовое соединение
Рисунок 1 - Аналитическая модель и система координат машины

1 - болтовое соединение
Рисунок 2 - Система координат болтового соединения
Плоскости систем координат машины и болтового соединения zмxм и zx; zмyм и zy, хмум и ху параллельны, соответственно. Координатные оси zм и z; хм и х; ум и у также взаимопараллельны.
4.6 Колебательную мощность, излучаемую машиной в фундамент или в виброизолятор через отдельное n-е болтовое соединение, определяют как среднее в бесконечном промежутке времени скалярного произведения векторов силы, действующей через болтовое соединение, и скорости вибрации этого болтового соединения и вычисляют по формуле
(1)
где Dt = t2 – t1 - интервал времени, в течение которого определяют колебательную мощность.
4.7 Колебательную мощность, излучаемую через п-е болтовое соединение, определяют как сумму колебательных мощностей, излучаемых в виде трех линейных (поступательных) составляющих вибрации болтового соединения, и вычисляют по формуле
(2)
4.8 Колебательную мощность P, излучаемую машиной через все болтовые соединения k, определяют как сумму колебательных мощностей, излучаемых через отдельные болтовые соединения п, и вычисляют по формулам:
4.9 В спектральной области
колебательная мощность
равна действительной части взаимного
спектра стационарных случайных процессов силы
и скорости
. При
использовании в процессе измерений многоканальных анализаторов, работающих по
принципу быстрого преобразования Фурье (БПФ) стационарных случайных процессов,
колебательную мощность
, Вт, излучаемую в полосе частот Dw со средней частотой полосы частот w, вычисляют по формуле
4.10 При измерении ускорения
вибрации акселерометром колебательную мощность
, Вт, излучаемую машиной, вычисляют по формуле
4.11 При наличии результатов измерений колебательной мощности, излучаемой машиной, в ограниченном числе болтовых соединений l, колебательную мощность Рi(w, Dw), излучаемую через k болтовых соединений, вычисляют по формуле
4.12 При стационарном случайном
характере вибрационного процесса колебательную мощность
, Вт, излучаемую
машиной в исследуемом диапазоне частот wmax - wmin, вычисляют по формуле
(8)
где ![]()
4.13 Колебательную мощность, излучаемую в полосе частот (например, в 1/3-октавной полосе), определяют как сумму спектральных составляющих колебательной мощности, измеренных в узкой полосе частот Dw, и вычисляют по формуле
где N - число спектральных составляющих мощности Ра(Dw), измеренной в узких полосах частот Dw входящих в 1/3-октавную полосу частот.
4.14 Спектр колебательной мощности, излучаемой машиной в фундамент, измеряют в следующем порядке:
- поочередно измеряют спектр действительной (или мнимой) части взаимного спектра силы и скорости вибрации (или ускорения вибрации) вдоль координатных осей х, у и z с полосой Dw анализа;
- определяют суммы спектров колебательных мощностей, излучаемых в виде каждой из трех линейных (поступательных) составляющих вибрации через все болтовые соединения, связывающие машину с фундаментом;
- определяют спектр полной колебательной мощности, излучаемой машиной через все болтовые соединения, в виде трех линейных (поступательных) составляющих вибрации.
5 Характеристики погрешности измерений
Пределы допускаемой относительной доверительной погрешности измерений колебательной мощности, излучаемой машинами в фундамент, составляют ±20 % при доверительной вероятности 0,95.
6 Средства измерений
6.1 При выполнении измерений применяют средства измерений, приведенные в таблице 1.
Таблица 1
|
Наименование средства измерений и другого технического средства |
Метрологические характеристики средства измерений |
Наименование измеряемой величины |
|
1 Датчик вибрации |
Диапазон частот измерений вибрации от 2 Гц до 10 кГц; амплитудный диапазон определяется предельными значениями измеряемой вибрации; пределы допускаемой относительной погрешности ± 7 % |
Скорость или ускорение вибрации |
|
2 Датчик силы |
Диапазон частот измерений возмущающей силы от 2 Гц до 10 кГц; амплитудный диапазон определяется предельными значениями измеряемой возмущающей силы; пределы допускаемой относительной погрешности ± 6 % |
Возмущающая сила |
|
3 Импедансная головка |
Диапазон частот измерений от 2 Гц до 10 кГц; амплитудный диапазон определяется предельными значениями измеряемых ускорений вибрации и переменной силы; пределы допускаемой относительной погрешности ± 10 % |
Ускорение вибрации и возмущающая сила |
|
4 Анализатор спектра |
Диапазон изменения значений анализируемых сигналов от -5 до + 5 В; диапазон изменения частот анализируемого сигнала от 0 Гц до 20 кГц; сдвиг фаз между каналами не более 0,1°; пределы допускаемой относительной погрешности ± 1 % |
Скорость или ускорение вибрации и возмущающая сила |
|
5 Усилитель заряда |
Диапазон частот от 0,3 до 100 кГц; коэффициент усиления от -20 до + 60 дБ; пределы допускаемой относительной погрешности ± 1 % |
Электрические сигналы с датчиков силы и вибрации |
6.2 Метрологические характеристики средств измерений (включая и фазочастотные) определяют в исследуемых диапазонах частот и амплитуд до их установки на место эксплуатации.
7 Требования безопасности
7.1 При проведении измерений необходимо соблюдать требования ГОСТ 12.2.007.0.
7.2 При подготовке и проведении измерений необходимо соблюдать требования правил технической эксплуатации электроустановок потребителей [2] и правил техники безопасности при эксплуатации электроустановок потребителей [3].
7.3 Средства измерений, а также вспомогательное оборудование должны иметь защитное заземление. Не допускается использовать в качестве заземления корпус (коробку) силовых электрических и осветительных щитов и арматуру центрального отопления.
7.4 Установку средств измерений проводят при выключенном напряжении питания.
8 Требования к квалификации операторов
К выполнению измерений колебательной мощности, излучаемой машинами в фундаменты, допускают лиц:
- имеющих высшее техническое или среднее техническое образование;
- изучивших настоящий стандарт, руководства по эксплуатации применяемых средств измерений и технических средств;
- имеющих опыт работы со средствами измерений параметров вибрации.
9 Условия измерений
9.1 При выполнении измерений колебательной мощности, излучаемой машинами в фундаменты, соблюдают следующие условия:
температура окружающего воздуха..................от 15 °С до 30 °С;
относительная влажность...................................от 45% до 75%;
атмосферное давление........................................от 84 до 106 кПа.
9.2 При изменении условий измерений, указанных в 9.1, следует учитывать дополнительные погрешности от влияющих факторов, определенные по паспортным данным на средство измерений или техническое средство.
10 Подготовка к измерениям
10.1 Общие требования к местам установки и выбору средств измерений
10.1.1 Места установки средств измерений должны быть очищены от загрязнений, ржавчины и других мешающих факторов.
10.1.2 Применяемые средства измерений по амплитудному и частотному диапазонам должны соответствовать решаемой измерительной задаче.
10.1.3 Значения статической нагрузки на каждый датчик возмущающей силы не должны превышать значений, указанных в паспорте на датчик.
10.1.4 Суммарная масса устанавливаемых датчиков вибрации и силы должна быть не менее чем в десять раз меньше массы испытуемой машины.
10.2 Выбор числа контролируемых болтовых соединений
10.2.1 Для получения точных результатов измерения суммарной колебательной мощности измеряют колебательную мощность, излучаемую через все болтовые соединения, связывающие машину с фундаментом. Если это невозможно, ограниченное число болтовых соединений выбирают в следующем порядке.
10.2.2 Измеряют во время работы
машины абсолютные значения составляющих вибрации вдоль координатных осей х, у и z -
(i = 1, 2, 3) в местах крепления машины ко всем k болтовым соединениям и их уровни Ln,i, дБ. При наличии исходной информации в
абсолютных величинах определяют уровни среднеквадратичной вибрации по всем
точкам измерений по формуле
(10)
а при наличии исходной информации в относительных единицах (дБ) - по формуле
(11)
где
- значение ускорения, соответствующее
нулевому уровню ускорения вибрации.
10.2.3 Выбирают болтовые соединения, через которые предполагается выполнять измерения колебательной мощности. В это число следует включить угловые болтовые соединения и произвольные болтовые соединения с каждой из протяженных сторон машины, расположенные на расстоянии не более 1 м друг от друга.
10.2.4 Определяют уровни
, дБ, среднеквадратичной вибрации по выбранным l точкам измерения (при наличии исходной информации в абсолютных
величинах) по формуле
(12)
или (при наличии исходной информации в относительных единицах, дБ) по формуле
(13)
Разность между значениями уровней среднеквадратичной вибрации для к и l болтовых соединений должна быть не более 3 дБ
(14)
Если неравенство (14) не соблюдается, то число выбранных болтовых соединений следует увеличить.
10.3 Расположение датчиков скорости (ускорения)
10.3.1 Крепление датчиков вибрации (датчиков скорости или ускорения) проводят в соответствии с требованиями ГОСТ ИСО 5348.
10.3.2 Датчики вибрации располагают на головке болта, крепящего машину к фундаменту или виброизолятору. Используют либо один трехкомпонентный датчик вибрации, либо три однокомпонентных датчика вибрации. В последнем случае датчики вибрации ориентированы вдоль осей х, у, z. Место расположения датчиков вибрации показано на рисунках 3 и 4.

1 - лапа машины, 2 - датчик
вибрации; 3 - датчик силы 2; 4 - полка фундамента
Рисунок 3а - Схема расположения датчиков вибрации в
болтовом соединении и одного датчика силы между машиной и фундаментом

1 - датчик вибрации; 2 -
лапа машины; 3 - датчик силы 2; 4 – виброизолятор
Рисунок 3б - Схема расположения датчиков вибрации
в болтовом соединении и одного датчика силы между машиной и виброизолятором

1 - лапа машины; 2 - датчик вибрации; 3- датчик силы 1; 4 - средние
сечения лапы машины и полки фундамента; 5 - рабочий участок лапы машины и полки
фундамента; 6 - полка фундамента
Рисунок 3в - Схема расположения датчиков вибрации в
болтовом соединении и одного датчика силы на лапе машины, установленной на
фундамент

1 - датчик вибрации; 2 -
датчик силы 1; 3 - лапа машины; 4 - рабочий участок лапы; 5 – виброизолятор
Рисунок 3г - Схема расположения датчиков вибрации
в болтовом соединении и одного датчика силы на лапе машины, установленной на
виброизолятор

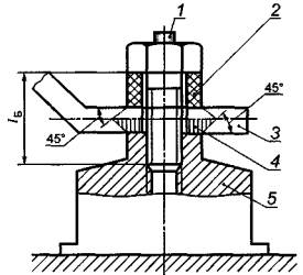
1 - лапа машины; 2 - датчик вибрации; 3 – датчик силы 1; 4 - полка
фундамента; 5 - датчик силы 2
Рисунок 4а - Схема расположения в болтовом соединении
датчика вибрации и двух датчиков силы при установке машины на фундамент

1 - датчик вибрации; 2 – датчик силы 1; 3 - лапа машины; 4 - датчик
силы 2; 5 – виброизолятор
Рисунок 4б - Схема расположения в болтовом соединении
датчика вибрации и двух датчиков силы при установке машины на виброизолятор
10.4 Расположение датчиков силы
10.4.1 Силы, действующие со стороны машины через болтовое соединение на фундамент или виброизолятор, измеряют с помощью одного или двух датчиков силы, расположенных в болтовом соединении (см. рисунки 3 и 4). В обоих случаях при измерении колебательной мощности, излучаемой через п-е болтовое соединение в виде отдельной i-й составляющей вибрации, используют электрический сигнал с датчика силы, вырабатываемый при деформации болтового соединения в i-м направлении.
10.4.2 Для измерения трех составляющих колебательной мощности используют трехкомпонентные датчики силы или три однокомпонентных датчика силы. Датчики силы в болтовом соединении крепят в соответствии с требованиями руководства по эксплуатации датчиков силы.
10.4.3 Допускается использовать для измерения возмущающей силы и скорости (ускорения) вибрации импедансные головки, выполненные в виде измерительных шайб и выдерживающие статические нагрузки при восприятии веса машины и усилий затяжки болтов.
10.4.4 Требования к установке датчиков силы определяет изготовитель. При отсутствии таких требований в руководстве по эксплуатации или в паспорте на средство измерений при установке датчиков силы рекомендуется соблюдение следующих требований к качеству обработки поверхностей, контактируемых с датчиком силы:
- параметр шероховатости поверхности Ra должен быть не более 1,6 мкм на базовой длине 0,25 мм;
- плоскостность поверхности не менее 0,01 мм;
- перпендикулярность поверхности и направления действия динамической силы и скорости (ускорения) вибрации не менее 0,02 мм.
10.5 Определение соотношения между измеряемой возмущающей силой и силой, действующей через болтовое соединение
10.5.1 Измерение возмущающей силы с помощью одного датчика силы
10.5.1.1 Датчик силы под машиной (см. рисунки 3а, 3б)
Соотношение между возмущающей
силой
, действующей на фундамент или виброизолятор через n-е болтовое соединение, и возмущающей силой
, действующей
через датчик силы, определяют по формуле
где
- жесткости рабочей
части болта и датчика силы вдоль осей х, у, z. Жесткости датчика силы вдоль осей х, у, z приводят в его
паспорте. Жесткости рабочей части болта определяют по формулам:
где GБ, ЕБ - модуль сдвига и модуль Юнга материала болта;
SB, lБ - площадь сечения и длина рабочей части болта (см. рисунки 3а, 3б).
10.5.1.2 Датчик силы на лапе машины под головкой болта (см. рисунки 3в, 3г)
Соотношение между возмущающей
силой
, действующей
на фундамент или виброизолятор через n-е болтовое соединение, и возмущающей силой
, действующей
через датчик силы, определяют по формулам:
- машина установлена на фундаменте
(17)
- машина установлена на виброизоляторе
(18)
где
- жесткость рабочего
участка лапы машины и полки фундамента (см. рисунок 3в);
- жесткость рабочего участка лапы машины (см. рисунок 3г).
Определяют жесткости
и
по формуле (16). При вычислении этих жесткостей с помощью
формулы (16) вместо значения длины и
площади сечения болта подставляют значения длины и средней площади сечения Scp рабочих участков лапы машины и полки фундамента (при установке машины
на фундамент) или лапы машины (при установке машины на виброизолятор).
Примечание - Результаты измерений колебательной мощности, полученные с помощью одного датчика силы, установленного на лапе машины, могут быть использованы для определения по формулам (3) и (4) полной колебательной мощности:
- при установке машины на виброизоляторы;
- при наличии на фундаменте монтажных платиков, исключающих крепление машины к фундаменту в виде фланцевого соединения.
В указанных случаях машина может быть рассмотрена как многополюсник с полюсами в виде болтовых соединений.
10.5.2 Измерение возмущающей силы с помощью двух датчиков силы
В случае измерения возмущающей силы с помощью двух датчиков силы (см. рисунки 4а, 4б) возмущающую силу, действующую на фундамент или виброизолятор через п-е болтовое соединение, определяют по формуле
10.6 Определение границ частотного диапазона измерений
Максимальные частоты границы частотного диапазона измерений составляющих колебательной мощности, излучаемой машиной через болтовое соединение в фундамент или в виброизолятор в виде трех составляющих вибрации, Гц, определяют по формулам:
при измерении с помощью одного датчика силы; (20)
при измерении с помощью двух датчиков силы, (21)
где lБ и lБ1 - длина рабочей части болта при измерении колебательной мощности с использованием одного и двух датчиков силы, соответственно (см. рисунки 3 и 4), м.
10.7 Подготовка измерительного тракта для выполнения измерений
10.7.1 Собирают измерительный тракт в соответствии с рисунком 5, на котором приведена типовая схема измерительного тракта для определения в процессе эксперимента спектральной характеристики колебательной мощности, излучаемой машиной.

1 - коммутатор; 2 -
предварительный усилитель; 3 - двухканальный анализатор; 4 – компьютер
Рисунок 5 - Типовая схема тракта для измерения вибрационной мощности,
излучаемой машиной через болтовое соединение
10.7.2 Ширину полосы частот Dw измерения взаимного спектра выбирает оператор (например, 1/3-октавной) в зависимости от задачи, которую требуется решить с использованием информации об излучаемой машиной колебательной мощности.
10.7.3 Перед выполнением измерений излучаемой колебательной мощности проводят контроль идентичности фазовых характеристик каналов силы и скорости измерительного тракта. Полученные данные либо используют при оценке погрешности измерений мощности [формула А.3 и рисунок А.1 (приложение А)], либо вводят в программу компьютера для учета неидентичности фазовых характеристик каналов сил и скорости при обработке результатов измерений.
10.7.4 Для определения числа выборок статистических характеристик nd двухканального анализатора (далее - анализатор), участвующих в усреднении взаимных спектров сил и вибрации, устанавливают процесс усреднения анализатора при числе независимых выборок п = 100. Проводят не менее 10 измерений взаимных спектров А на частотах 10, 100 Гц и на максимальной частоте fmax частного диапазона измерений, результаты измерений вносят в таблицу 2. Вычисляют среднее значение амплитуды взаимного спектра Ã и результаты вносят в таблицу 2.
Таблица 2 - Среднее значение амплитуды взаимного спектра
|
Амплитуда взаимного спектра А |
Частота f, Гц |
||
|
f1 = 10 |
f2 = 100 |
f3 = fmax |
|
|
А1 |
|
|
|
|
... |
... |
... |
... |
|
А10 |
|
|
|
|
|
|
|
|
Для частот f1, f2, f3 определяют среднеквадратичные отклонения
(22)
При обработке результатов измерений выбирают наибольшее значение Sf max из трех измерений взаимного спектра Sfi.
Определяют минимально необходимое число выборок пd устанавливаемых в анализаторе при проведении измерений
(23)
где S(Ã) = 0,02 - назначенная случайная относительная среднеквадратичная погрешность измерения колебательной мощности (взаимных спектров);
К3 = 2 - коэффициент запаса, учитывающий погрешность определения Sf max при ограниченном числе наблюдений п = 10.
11 Выполнение измерений
11.1 Порядок измерений
Устанавливают режим работы машины, при котором должны быть проведены измерения колебательной мощности, излучаемой в фундамент.
Выбирают болтовые соединения, в которых будут установлены датчики силы и вибрации для выполнения измерений колебательной мощности, и способ установки одного или двух датчиков силы.
Устанавливают в болтовых соединениях датчики силы и датчики вибрации (или импедансные головки).
Определяют граничную частоту измерений по формулам (20) и (21).
Определяют по формулам (15) - (19) соотношение между возмущающими силами, фиксируемыми датчиками силы, и силами, передаваемыми через болтовые соединения.
Собирают и настраивают измерительный тракт на полосу выполнения спектрального анализа Dw в соответствии с руководством по эксплуатации.
К первому и второму каналам анализатора подключают через предварительные усилители датчики вибрации и силы.
Задают в подключенных каналах анализатора коэффициенты преобразования датчиков вибрации и силы, умноженные на коэффициенты передачи предварительных усилителей и коэффициенты передачи сил в болтовом соединении через датчики силы с учетом способа их установки. Соотношение сигнал/шум в каналах должно быть не менее 14 дБ.
Задают на анализаторе частотный диапазон измерений и число выборок nd. Приводят в действие процесс измерений взаимных спектров в соответствии с руководством по эксплуатации анализатора.
Измеряют взаимные спектры вибрации и возмущающих сил поочередно на всех контролируемых болтовых соединениях и для всех выбранных для контроля составляющих вибрации и возмущающих сил. Вводят массивы взаимных спектров в компьютер.
11.2 Обработка и оформление результатов измерений
11.2.1 Вычисляют колебательную
мощность
, излучаемую машиной в п-е болтовое соединение в виде i-й составляющей вибрации в узкой полосе
частот
, по формуле (5) или (6).
11.2.2 Используя результаты
определения
, вычисляют колебательную мощность, излучаемую машиной в
1/3-октавной полосе частот
, по формуле (9).
11.2.3 Определяют колебательную
мощность
, излучаемую во все болтовые соединения в виде i-й составляющей вибрации, по формуле (3).
11.2.4 Вычисляют суммарную колебательную мощность, излучаемую машиной в виде всех трех (или любых из трех) составляющих вибрации Р(1/3), по формуле (4).
11.2.5 При измерении вибрации машины у ограниченного числа болтовых соединений полную колебательную мощность определяют по формуле (7).
11.2.6 Расчет погрешности измерений колебательной мощности рекомендуется проводить в соответствии с приложением А.
12 Представление результатов измерений
Отчет об измерениях должен включать в себя ссылку на настоящий стандарт и следующую информацию:
а) наименование организации, проводящей измерения;
б) дату проведения измерений;
в) спецификацию машины (тип, масса, объем, опоры и т.д.);
г) описание места, условий и схемы проведения измерений;
д) режим (или режимы) работы машины;
е) уровни шума на испытательном стенде;
ж) схему установки, расположения и монтажа датчиков силы и вибрации;
и) перечень используемого оборудования, включая тип, серийный номер, свидетельство о поверке (сертификат о калибровке) и наименование изготовителя;
к) спектр общей колебательной мощности, излучаемой машиной в систему «виброизоляторы - фундамент» или в фундамент;
л) спектр составляющих общей колебательной мощности, излучаемой машиной;
м) спектр общей колебательной мощности и ее составляющих, излучаемых машиной в фундамент или виброизолятор через отдельное болтовое соединение (по желанию заказчика);
н) погрешность измерений.
Результаты измерений колебательной мощности представляют в виде спектральной характеристики колебательной мощности (см. рисунок 6).

Рисунок 6 - Бланк представления спектральной характеристики колебательной мощности
Приложение А
(рекомендуемое)
Расчет погрешности измерений колебательной мощности, излучаемой машинами в фундаменты через болтовые соединения
Расчет погрешности измерений колебательной мощности, излучаемой машиной в фундамент через п-е болтовое соединение, проводят в порядке, предусмотренном [4].
А.1 Определяют значения границ неисключенных систематических составляющих погрешности измерений скорости вибрации и возмущающей силы. Этими неисключенными систематическими составляющими погрешности являются:
- погрешность измерительного датчика вибрации (границы погрешности ± DА, определяют по результатам поверки или калибровки);
- погрешность измерительного датчика возмущающей силы (границы погрешности ± DF, определяют по результатам поверки или калибровки);
- погрешности предварительных усилителей в каналах измерений вибрации и возмущающей силы (границы погрешностей ± DУА, ± DУF, определяют по результатам поверки или калибровки);
- погрешность анализатора спектра (границы погрешности ± DАСП, определяют по паспортным данным).
А.2 Определяют значения границ неисключенной систематической составляющей погрешности измерений возмущающей силы, вызванной расположением датчика силы в болтовом соединении.
При установке датчика силы под лапой машины по схемам, приведенным на рисунках 3а и 3б, значения границ неисключенной систематической составляющей погрешности определяют по формуле
(А.1)
где DСБ - неисключенная систематическая составляющая погрешности расчета жесткости болта в п-м болтовом соединении;
DСД F - неисключенная систематическая составляющая погрешности измерений жесткости датчика силы;
СД - жесткость датчика силы;
СБ - жесткость болта.
При установке датчика силы на лапе машины по схемам, приведенным на рисунках 3в и 3г, значения границ неисключенной систематической составляющей погрешности DKF определяют по формуле
(А.2)
При установке датчика силы под лапой машины по схемам, приведенным на рисунках 4а и 4б, значения границ неисключенной систематической составляющей погрешности DKF не превышают значений, определяемых по формуле (А.2).
А.3 Значения границ неисключенной систематической составляющей
погрешности измерений колебательной мощности, вызванной неидентичностью фазовых
характеристик измерительных каналов скорости вибрации и силы
, определяют по формуле
где
- угол сдвига фаз между силой,
действующей через n-е
болтовое соединение, и возбуждаемой скоростью вибрации;
- угол сдвига
фаз между измерительными каналами скорости вибрации и возмущающей силы,
вызванный неидентичностью фазовых характеристик измерительных каналов.
На практике при действии сил на фундамент максимальный угол сдвига фаз
между силой и скоростью вибрации составляет
Зависимость максимальной погрешности
от угла сдвига фаз
между измерительными каналами силы и скорости при
приведена на рисунке
А.1.
Рисунок А.1 - Зависимость максимальной погрешности
от угла сдвига фаз
между измерительными каналами силы и скорости при ![]()
А.4 Значения границ
неисключенной систематической погрешности при доверительной вероятности 0,95
измерений колебательной мощности, излучаемой через п-е болтовое соединение
, определяют
по формуле
(А.4)
где 
- границы неисключенной систематической
составляющей погрешности канала силы и скорости соответственно;
и
- коэффициенты
влияния, которые принимают равными 1.
А.5 Перечень составляющих погрешностей, необходимых для расчета неисключенной систематической составляющей погрешности измерения колебательной мощности, приведен в таблице А.1.
Таблица А.1 - Перечень погрешностей
|
Наименование составляющей погрешности |
Обозначение составляющей погрешности |
Границы составляющей погрешности* |
|
1 Погрешность измерительного датчика вибрации |
±DА |
±7 % |
|
2 Погрешность измерительного датчика возмущающей силы |
±DF |
± 6 % |
|
3 Погрешность предварительного усилителя канала измерений вибрации |
±DУА |
±1 % |
|
4 Погрешность предварительного усилителя канала измерений возмущающей силы |
±DУF |
±1 % |
|
5 Погрешность анализатора спектра |
±DАСП |
±1 % |
|
6 Погрешность расчета жесткости болта |
±DСБ |
± 0,3 % |
|
7 Погрешность измерения жесткости датчика возмущающей силы |
±DСД F |
±2 % |
|
8 Погрешность измерения возмущающей силы, вызванная расположением датчика возмущающей силы в болтовом соединении |
±DKF |
±2,3 % |
|
9 Угол сдвига фаз между электрическими сигналами, пропорциональными скорости вибрации и возмущающей силе, вызванный фазовой неидентичностью каналов возмущающей силы и скорости вибрации |
|
±0,2° |
|
10 Погрешность измерения колебательной мощности, вызванная фазовой неидентичностью каналов возмущающей силы и скорости вибрации |
|
±11 % |
|
* Значения погрешностей приведены для условий измерений, указанных в разделе 9. |
||
А.6 Пример расчета неисключенной систематической составляющей погрешности
Границы неисключенной систематической погрешности колебательной мощности при доверительной вероятности 0,95 равны:
![]()
![]()
![]()
![]()
В соответствии с 10.7.4 назначенная случайная относительная среднеквадратичная погрешность измерений колебательной мощности S(Ã) = 2 %.
Соотношение систематической и случайной погрешностей

В этом случае за предельную относительную погрешность измерений колебательной мощности принимают неисключенную систематическую составляющую погрешности измерений.
Поэтому значение предельной относительной погрешности измерений колебательной мощности
![]()
Библиография
[1] РМГ 29-99 Государственная система обеспечения единства измерений. Метрология. Основные термины и определения
[2] Правила технической эксплуатации электроустановок потребителей. Утверждены Приказом Минэнерго РФ от 13.01.2003 № 6
[3] Межотраслевые правила по охране труда (правила безопасности) при эксплуатации электроустановок. Утверждены Минтруда РФ 18 февраля 2003 г. и Минэнерго РФ 20 февраля 2003 г.
[4] МИ 2083-90 Государственная система обеспечения единства измерений. Измерения косвенные. Определение результатов измерений и оценивание их погрешностей
Ключевые слова: колебательная мощность, вибрация, датчик вибрации, датчик силы, возмущающая сила, спектральная характеристика, виброизолятор, болтовое соединение, фундамент, опорная конструкция, погрешность
Хотите оперативно узнавать о новых публикациях нормативных документов на портале? Подпишитесь на рассылку новостей!




