ГОСТ 6263-80* Продукты коксования химические. Метод определения общей серы

ГОСУДАРСТВЕННЫЙ СТАНДАРТ СОЮЗА ССР
ПРОДУКТЫ КОКСОВАНИЯ ХИМИЧЕСКИЕ
МЕТОД ОПРЕДЕЛЕНИЯ ОБЩЕЙ СЕРЫ
ГОСТ 6263-80
ИПК ИЗДАТЕЛЬСТВО СТАНДАРТОВ
Москва
ГОСУДАРСТВЕННЫЙ СТАНДАРТ СОЮЗА ССР
|
ПРОДУКТЫ КОКСОВАНИЯ ХИМИЧЕСКИЕ Метод определения общей серы Cool chemical products. Method for the determination of total sulphur. |
ГОСТ Взамен |
Постановлением Государственного комитета СССР по стандартам от 8 февраля 1980 г. № 657 дата введения установлена
01.01.82
Ограничение срока действия снято по протоколу № 3-93 Межгосударственного Совета по стандартизации, метрологии и сертификации (ИУС 5-6-93)
* Переиздание (июнь 1998 г.) с Изменением №1, утвержденным в июле 1986 г. (ИУС 10-86)
Настоящий стандарт распространяется на химические продукты коксования (жидкие и твердые) и устанавливает метод определения массовой доли общей серы.
Определение массовой доли общей серы основано на сжигании навески вещества в токе воздуха или кислорода, окислении образовавшегося сернистого ангидрида перекисью водорода и последующем определении серной кислоты методом титрования.
Метод позволяет определять массовую долю общей серы не менее 0,05 %.
1. АППАРАТУРА И РЕАКТИВЫ
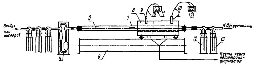
1.1. Прибор для определения серы (см. чертеж) состоит из следующих частей:
печь электрическая трубчатая горизонтальная подвижная двухсекционная, длиной (275 ± 1,5) мм, диаметром отверстия (30 ± 1,5) мм, обеспечивающая температуру нагрева первой секции печи 400 - 450 °С, второй секции печи 800 - 850 °С;
термометр термоэлектрический любого типа;
Прибор для определения серы

1, 2, 3 - склянки для очистки воздуха; 4 - реометр; 5 - кварцевая или фарфоровая труба; 6 - подставка для печи; 7 - фарфоровая лодочка; 8 - электрическая трубчатая печь; 9 - отверстие для термометра; 10 - термоэлектрический термометр; 11 - милливольтметр; 12, 13 - поглотительные склянки
милливольтметр по ГОСТ 9736-91;
автотрансформатор лабораторный, типа РНО-250-2, РНО-250-05 или аналогичный;
труба кварцевая или фарфоровая, длиной 700 - 800 мм, наружным диаметром 18 - 22 мм;
склянки поглотительные и для очистки воздуха по ГОСТ 25336-82;
реометр стеклянный лабораторный по ГОСТ 9932-75.
Вакуум-насос лабораторный любого типа или насос водоструйный по ГОСТ 25336-82 или общая магистраль для нагнетания или отсоса воздуха.
Лодочка фарфоровая по ГОСТ 9147-80, типа ЛС или пробирка кварцевая длиной (65 ± 5) мм, диаметром 6,3 - 7,0 мм, изготовленная из кварцевой трубы.
Проволока нихромовая длиной 700 мм, диаметром 2 - 3 мм, загнутая с одной стороны крючком.
Микробюретка по ГОСТ 29251-91, вместимостью 5 см3.
Капельница стеклянная лабораторная по ГОСТ 25336-82.
Колба мерная по ГОСТ 1770-74.
Пипетки по ГОСТ 29227-91.
Весы лабораторные общего назначения 1-го и 2-го классов точности по ГОСТ 24104-88 с наибольшим пределом взвешивания 200 г.
Кислород газообразный технический по ГОСТ 5583-78, в баллоне.
Вещество инертное: окись алюминия, кирпич ИНЗ-600, фракции 0,25 - 0,5 мм, или глина шамотная, прокаленные при 900 °С. Шамотную глину измельчают в ступке до размеров частиц 0,25 - 0,5 мм.
Калий марганцовокислый по ГОСТ 20490-75, раствор с массовой концентрацией 0,05 г/см3.
Индикаторы: метиловый красный, спиртовой раствор с массовой концентрацией 0,002 г/см3 и метиленовый синий, спиртовой раствор с массовой концентрацией 0,001 г/см3, взятые в соотношении 1:1; нитхромазо, водный раствор с массовой концентрацией 0,002 г/см3.
Перекись водорода по ГОСТ 10929-76, раствор с массовой концентрацией 0,03 г/см3.
Натрия гидроокись по ГОСТ 4328-77, х.ч., раствор с массовой концентрацией 0,3 г/см3 и с молярной концентрацией эквивалента 0,01 моль/дм3; поправку на титр раствора с концентрацией 0,01 моль/дм3 определяют по водному раствору серной кислоты.
Барий хлористый по ГОСТ 4108-72, х.ч., раствор с молярной концентрацией эквивалента 0,01 моль/дм3, поправку на титр определяют по водно-спиртовому раствору серной кислоты в присутствии индикатора нитхромазо.
Спирт этиловый ректификованный технический по ГОСТ 18300-87.
Спирт изопропиловый по ГОСТ 9805-84.
Вода дистиллированная по ГОСТ 6709-72.
Кислота серная по ГОСТ 4204-77, водный раствор с молярной концентрацией эквивалента 0,01 моль/дм3 и водно-спиртовой раствор с молярной концентрацией 0,01 моль/дм3 в растворе изопропилового спирта с массовой концентрацией 0,5 г/см3.
(Измененная редакция, Изм. № 1).
2. ПОДГОТОВКА К АНАЛИЗУ
2.1. Для очистки воздуха или кислорода в склянку 1 наливают раствор марганцовокислого калия с массовой концентрацией 0,05 г/см3, в склянку 2 - раствор гидроокиси натрия с массовой концентрацией 0,3 г/см3, склянку 3 оставляют пустой.
(Измененная редакция, Изм. № 1).
2.2. Для улавливания продуктов сжигания в поглотительные склянки 12 и 13 наливают по 40 см3 раствора перекиси водорода и по 3 - 4 капли индикаторов метилового красного и метиленового синего или их смеси (склянка 13 является контрольной).
В случае определения массовой доли общей серы в продуктах, содержащих примеси азотистых соединений, в поглотительные склянки 12 и 13 наливают по 40 см3 раствора перекиси водорода, по 40 мл изопропилового спирта и по 3 - 4 капли индикатора нитхромазо.
2.3. Раствор перекиси водорода перед анализом нейтрализуют раствором гидроокиси натрия с молярной концентрацией эквивалента 0,01 моль/дм3 в присутствии индикаторов метилового красного и метиленового синего или их смеси до перехода окраски раствора от фиолетовой до зеленой. В случае анализа продуктов, содержащих азотистые соединения, перекись водорода нейтрализуют раствором хлористого бария в присутствии индикатора нитхромазо до перехода окраски раствора от сине-фиолетовой до бирюзовой.
(Измененная редакция, Изм. № 1).
2.4. Очистительные и поглотительные склянки соединяют между собой и с печью встык с помощью резиновых трубок. Все резиновые трубки и пробки должны быть тщательно вымыты и прокипячены в дистиллированной воде.
Собранный прибор проверяют на герметичность. Для этого отводную трубку контрольной склянки 13 присоединяют к вакуум-насосу, просасывают воздух через весь прибор и закрывают отводную трубку очистительной системы. При этом не должны появляться пузырьки воздуха в поглотительных склянках с жидкостью.
3. ПРОВЕДЕНИЕ АНАЛИЗА
3.1. Пробу твердого продукта предварительно измельчают до тонкого порошка.
Навеску продукта помещают в лодочку (равномерно распределяя по всей длине) или в пробирку, предварительно заполненные наполовину инертным веществом, и быстро засыпают слоем того же инертного вещества.
Масса навески в зависимости от предполагаемой массовой доли серы в анализируемом продукте и погрешность взвешивания указаны в табл. 1.
Таблица 1
|
Масса навески, г |
Погрешность взвешивания, г |
|
|
От 0,05 до 0,1 |
Около 0,2 |
±0,0002 |
|
Св. 0,1 » 0,5 |
» 0,1 |
±0,0002 |
|
» 0,5 » 1,0 |
» 0,05 |
±0,0002 |
|
» 1,0 |
» 0,01 |
±0.00005 |
Для взвешивания навески массой 0,01 г используют весы только 1-го класса точности.
(Измененная редакция, Изм. № 1).
3.2. Лодочку или пробирку с навеской помещают в кварцевую или фарфоровую трубу и продвигают ее проволокой к печи, примерно на середину трубы, быстро присоединяют все поглотительные склянки и пропускают через систему воздух со скоростью около 0,5 дм3/мин или кислород со скоростью 0,15 - 0,20 дм3/мин.
Предварительно нагретую печь с температурой первой секции 400 - 450 °С и второй секции 800 - 850°С медленно и равномерно надвигают на лодочку и полностью сжигают продукт.
Сжигание проводят в течение 25 - 30 мин. Для отдельных продуктов (стирольно-инденовой смолы и других) в зависимости от физико-химических свойств и массовой доли серы - до 60 мин.
Полноту сжигания контролируют по цвету раствора в поглотительной склянке 13, который к концу сжигания восстанавливается от фиолетового до первоначального зеленого.
После сжигания отключают подачу воздуха, отсоединяют поглотительные склянки и титруют содержимое поглотительной склянки 720,01 н. раствором гидроокиси натрия до перехода фиолетовой окраски в зеленую.
Если сжигают продукты с примесями азотистых соединений, содержимое поглотительной склянки 12 титруют раствором хлористого бария до перехода сине-фиолетовой окраски в бирюзовую.
При массовой доле серы свыше 10 % содержимое поглотительной склянки 12 количественно переводят дистиллированной водой в мерную колбу, доводят объем колбы водой до метки и титруют аликвотную часть раствора.
3.3. Перед анализом и при замене реактивов проводят контрольный анализ в таких же условиях, с таким же количеством реактивов, но без анализируемого продукта.
4. ОБРАБОТКА РЕЗУЛЬТАТОВ
4.1. Массовую долю общей серы (X) в процентах вычисляют по формуле
,
где V - объем раствора гидроокиси натрия или хлористого бария с молярной концентрацией эквивалента точно 0,01 моль/дм3, израсходованный на титрование анализируемой пробы, см3;
V1 - объем точно 0,01 н. раствора гидроокиси натрия или хлористого бария, израсходованный на титрование в контрольном анализе, см3;
V2 - объем раствора в мерной колбе, см3;
V3 - объем аликвотной части раствора, см3;
0,00016032 - масса серы, соответствующая 1 см3 точно 0,01 н. раствора гидроокиси натрия или хлористого бария, г;
m - масса навески анализируемого продукта, г.
4.2. За результат анализа принимают среднее арифметическое двух параллельных определений, допускаемые расхождения между которыми не должны превышать значений, указанных в табл. 2. Правильность результатов анализа устанавливают методом добавок известного количества элементной серы в виде твердого вещества или раствора к анализируемой пробе.
Таблица 2
|
Допускаемое расхождение при доверительной вероятности Р = 0,95 % |
||
|
для одной лаборатории |
для разных лабораторий |
|
|
От 0,05 до 0,2 |
0,02 |
0,03 |
|
Св. 0,2 » 0,5 |
0,04 |
0,05 |
|
» 0,5 » 1,5 |
0,05 |
0,06 |
|
» 1,5 » 5,0 |
0,20 |
0,30 |
|
» 5,0 » 15,0 |
0,25 |
0,35 |
4.1, 4.2. (Измененная редакция, Изм. № 1).
СОДЕРЖАНИЕ
|
|
Хотите оперативно узнавать о новых публикациях нормативных документов на портале? Подпишитесь на рассылку новостей!