ГОСТ Р МЭК 60745-2-11-2008 Машины ручные электрические. Безопасность и методы испытаний. Часть 2-11. Частные требования к пилам с возвратно-поступательным движением рабочего инструмента (лобзикам и ножовочным пилам)
|
ФЕДЕРАЛЬНОЕ АГЕНТСТВО |
||
|
|
НАЦИОНАЛЬНЫЙ СТАНДАРТ российской ФЕДЕРАЦИИ |
ГОСТ Р МЭК 60745-2-11 2008 |
Машины ручные электрические
БЕЗОПАСНОСТЬ И МЕТОДЫ ИСПЫТАНИЙ
Часть 2-11
Частные требования к пилам с возвратно-поступательным движением рабочего инструмента (лобзикам и ножовочным пилам)
IEC 60745-2-11:2003
Hand-held motor-operated electric tools
- Safety - Part 2-11:
Particular requirements for
reciprocating saws (jig and sabre saws)
(IDT)
|
|
Москва Стандартинформ 2009 |
Предисловие
Цели и принципы стандартизации в Российской Федерации установлены Федеральным законом от 27 декабря
Сведения о стандарте
1 ПОДГОТОВЛЕН Открытым акционерным обществом «Институт механизированного инструмента» (ОАО «ВНИИСМИ») на основе собственного аутентичного перевода стандарта, указанного в пункте 4
2 ВНЕСЕН Техническим комитетом по стандартизации ТК 262 «Инструмент механизированный и ручной»
3
УТВЕРЖДЕН И ВВЕДЕН В ДЕЙСТВИЕ Приказом Федерального агентства по техническому
регулированию и метрологии от 15 декабря
4 Настоящий стандарт идентичен международному стандарту МЭК 60745-2-11:2003 «Ручные электрические инструменты с приводом от электродвигателя. Безопасность Часть 2-11. Частные требования для пил возвратно-поступательного действия (лобзиков и ножовочных пил)» (IEC 60745-2-11:2003 «Hand-held motor - operated electric tools - Safety - Part 2-11: Particular requirements for reciprocating saws (jig and sabre saws)»).
Наименование настоящего стандарта изменено относительно наименования указанного международного стандарта для приведения в соответствие с ГОСТ Р 1.5-2004 (пункт 3.5).
При применении настоящего стандарта рекомендуется использовать вместо ссылочного международного стандарта соответствующий ему национальный стандарт Российской Федерации, сведения о котором приведены в дополнительном приложении 1.
5 ВЗАМЕН ГОСТ Р 50636-94 (МЭК 745-2-11-84)
Информация об изменениях к настоящему стандарту публикуется в ежегодно издаваемом информационном указателе «Национальные стандарты», а текст изменений и поправок - в ежемесячно издаваемых информационных указателях «Национальные стандарты». В случае пересмотра или отмены настоящего стандарта соответствующее уведомление будет опубликовано в ежемесячно издаваемом информационном указателе «Национальные стандарты». Соответствующая информация, уведомление и тексты размещаются также в информационной системе общего пользования - на официальном сайте Федерального агентства по техническому регулированию и метрологии в сети Интернет
Содержание
Введение
Настоящий стандарт относится к комплексу стандартов, устанавливающих требования безопасности ручных электрических машин и методы их испытаний.
Настоящий стандарт применяют совместно с ГОСТ Р МЭК 60745-1-2005 «Машины ручные электрические. Безопасность и методы испытаний. Часть 1. Общие требования», который идентичен международному стандарту МЭК 60745-1:2003 «Ручные электрические инструменты с приводом от электродвигателя. Безопасность. Часть 1. Общие требования».
Настоящий стандарт устанавливает частные требования безопасности и методы испытаний пил с возвратно-поступательным движением рабочего инструмента (лобзиков и ножовочных пил), которые дополняют, изменяют или заменяют соответствующие разделы, подразделы, пункты, таблицы и рисунки МЭК 60745-1:2003 (ГОСТ Р МЭК 60745-1-2005).
Номера разделов, пунктов, таблиц и рисунков соответствуют приведенным в МЭК 60745-2-11:2003.
В настоящем стандарте приняты следующие шрифтовые выделения:
- требования к методам испытаний - курсив;
- примененные термины - полужирный шрифт.
Изменение наименования раздела 3 вызвано необходимостью приведения в соответствие с ГОСТ Р 1.5-2004.
НАЦИОНАЛЬНЫЙ СТАНДАРТ РОССИЙСКОЙ ФЕДЕРАЦИИ
|
Машины ручные электрические БЕЗОПАСНОСТЬ И МЕТОДЫ ИСПЫТАНИЙ Часть 2-11 Частные требования к пилам с возвратно-поступательным движением Hand-held motor-operated electric tools.
Safety and test methods. |
Дата введения - 2010-01-01
1 Область применения
По МЭК 60745-1 со следующим изменением:
1.1 Дополнение
Настоящий стандарт распространяется на пилы возвратно-поступательного действия (далее - пилы).
Перечень машин, на которые распространяется настоящий стандарт, не ограничивается лобзиками и ножовочными пилами.
2 Нормативные ссылки
По МЭК 60745-1.
3 Термины и определения
По МЭК 60745-1 со следующим изменением:
3.101 пила возвратно-поступательного действия (reciprocating saw): Машина, предназначенная для пиления различных материалов пильным(ыми) полотном (полотнами), совершающими возвратно-поступательные или колебательные движения.
3.102 лобзик (jigsaw): Пила возвратно-поступательного действия, оснащенная направляющей плитой и имеющая возможность установки под углом к обрабатываемому материалу.
3.103 ножовочная пила (sabre saw): Пила возвратно-поступательного действия с направляющей плитой или без нее, а при ее наличии пила имеет возможность установки под углом к обрабатываемому материалу.
4 Общие требования
По МЭК 60745-1.
5 Общие условия испытаний
По МЭК 60745-1.
6 В стадии рассмотрения
7 Классификация
По МЭК 60745-1.
8 Маркировка и инструкции
По МЭК 60745-1.
9 Защита от контакта с токоведущими частями
По МЭК 60745-1.
10 Пуск
По МЭК 60745-1.
11 Потребляемая мощность и ток
По МЭК 60745-1.
12 Нагрев
По МЭК 60745-1.
13 Ток утечки
По МЭК 60745-1.
14 Влагостойкость
По МЭК 60745-1.
15 Электрическая прочность
По МЭК 60745-1.
16 Защита от перегрузки трансформаторов и соединенных с ними цепей
По МЭК 60745-1.
17 Надежность
По МЭК 60745-1.
18 Ненормальный режим работы
По МЭК 60745-1.
19 Механическая безопасность
По МЭК 60745-1 со следующими изменениями:
19.1. Замена:
а) Для лобзиков
Для предотвращения непреднамеренного прикосновения к движущимся частям, находящимся выше направляющей плиты, должно быть предусмотрено защитное устройство.
Испытание проводят осмотром и нижеследующим испытанием:
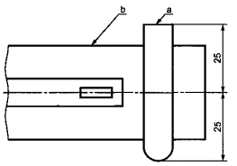
Лобзик настраивается на выполнение пропила под прямым углом. Испытательный палец (см. рисунок 101а) помещается поверх направляющей плиты в соответствии с рисунками 101b и 101c. Продольная ось испытательного пальца должна быть сориентирована перпендикулярно по отношению к кромке зубьев пильного полотна и посередине по отношению к плоскости пильного полотна. При перемещении испытательного пальца к пильному полотну не должно быть возможным его прикосновения к кромке зубьев.

а) Испытательный палец

Примечание - Для упрощения верхняя часть лобзика не изображена.
b) Вид сбоку с указанием положения и направлением движения испытательного пальца

с) Вид сверху направляющей плиты с положением испытательного пальца
а - испытательный палец, b - направляющая плита
Рисунок 101 - Испытательный щуп
б) Для других видов пил с возвратно-поступательным движением пильного полотна
Для предотвращения непреднамеренного прикосновения к движущимся частям должно быть предусмотрено защитное устройство.
Испытание проводят осмотром.
Если пила сконструирована так, что зона захвата (удержания пилы рукой) находится вблизи или
позади пильного полотна, то в продолжение пильной кромки пильного полотна должен быть установлен
барьер высотой не менее
20 Механическая прочность
По МЭК 60745-1.
21 Конструкция
По МЭК 60745-1.
22 Внутренняя проводка
По МЭК 60745-1.
23 Комплектующие изделия
По МЭК 60745-1.
24 Присоединение к источнику питания и внешние гибкие шнуры
По МЭК 60745-1.
25 Зажимы для внешних проводов
По МЭК 60745-1.
26 Заземление
По МЭК 60745-1.
27 Винты и соединения
По МЭК 60745-1.
28 Пути утечки тока, воздушные зазоры и расстояния по изоляции
По МЭК 60745-1.
29 Теплостойкость, огнестойкость и стойкость к образованию токоведущих мостиков
По МЭК 60745-1.
30 Коррозийная стойкость
По МЭК 60745-1.
31 Радиация, токсичность и подобные опасности
По МЭК 60745-1.
Приложение К
(обязательное)
Батарейные (аккумуляторные) машины и аккумуляторы
К.1.1 Дополнение:
Все пункты настоящего стандарта относятся к приложению, если нет других указаний.
Приложение L
(обязательное)
Батарейные (аккумуляторные) машины и аккумуляторы, предусмотренные для
подсоединения к сети или неизолированным источникам питания
L.1.1 Дополнение:
Все пункты настоящего стандарта относятся к приложению, если нет других указаний.
Приложение 1
(справочное)
Сведения о соответствии национального стандарта Российской Федерации ссылочному
международному стандарту
Таблица 1.1
|
Обозначение ссылочного международного стандарта |
Обозначение и наименование соответствующего национального стандарта |
|
МЭК 60745-1:2003 |
ГОСТ Р МЭК 60745-1-2005 Машины ручные электрические. Безопасность и методы испытаний. Часть 1. Общие требования |
Библиография
По МЭК 60745-1.
Ключевые слова: машины ручные электрические, пила возвратно-поступательного действия, лобзик, безопасность, испытания
Хотите оперативно узнавать о новых публикациях нормативных документов на портале? Подпишитесь на рассылку новостей!
