ГОСТ Р МЭК 60335-2-30-99 Безопасность бытовых и аналогичных электрических приборов. Дополнительные требования к комнатным обогревателям и методы испытаний
ГОСТ Р МЭК 60335-2-30-99
ГОСУДАРСТВЕННЫЙ СТАНДАРТ РОССИЙСКОЙ ФЕДЕРАЦИИ
БЕЗОПАСНОСТЬ
БЫТОВЫХ
И АНАЛОГИЧНЫХ ЭЛЕКТРИЧЕСКИХ
ПРИБОРОВ
Дополнительные требования к
комнатным обогревателям
и методы испытаний
ГОССТАНДАРТ РОССИИ
Москва
Предисловие
1 РАЗРАБОТАН И ВНЕСЕН Техническим комитетом по стандартизации ТК 19 «Электрические приборы бытового назначения»
2 ПРИНЯТ И ВВЕДЕН В ДЕЙСТВИЕ Постановлением Госстандарта России от 27 июля 1999 г. № 213-ст
3 Настоящий стандарт представляет собой полный аутентичный текст международного стандарта МЭК 60335-2-30-96 «Безопасность бытовых и аналогичных электрических приборов. Часть 2. Дополнительные требования к комнатным обогревателям»
4 ВВЕДЕН ВПЕРВЫЕ
ГОСТ Р МЭК 60335-2-30-99
ГОСУДАРСТВЕННЫЙ СТАНДАРТ РОССИЙСКОЙ ФЕДЕРАЦИИ
БЕЗОПАСНОСТЬ БЫТОВЫХ И АНАЛОГИЧНЫХ ЭЛЕКТРИЧЕСКИХ ПРИБОРОВ
Дополнительные требования к комнатным обогревателям и методы испытаний
Safety of household and similar
electrical appliances.
Particular requirements for room heaters and test methods
Дата введения 2000-07-01
Настоящий стандарт содержит нормы, правила и методы испытаний, которые дополняют, заменяют или исключают соответствующие разделы и (или) пункты ГОСТ Р МЭК 335-1.
Номера пунктов настоящего стандарта, которые дополняют пункты ГОСТ Р МЭК 335-1, начинаются с цифры 101.
Настоящий стандарт применяют совместно с ГОСТ Р МЭК 335-1, кроме разделов 9 и 18.
Требования настоящего стандарта являются обязательными.
Требования к методам испытаний выделены курсивом.
Нормативные ссылки приведены в приложении А.
1 Область применения
1.1 Замена пункта
Настоящий стандарт устанавливает требования безопасности комнатных обогревателей для бытового и аналогичного применения номинальным напряжением не более 250 В для однофазных приборов и 480 В - для других приборов.
Примечания
2 Примерами приборов, относящихся в области распространения настоящего стандарта, могут быть:
- радиационные обогреватели;
- панельные обогреватели;
- радиаторы с жидким теплоносителем;
- тепловентиляторы;
- обогреватели конвекторного типа;
- трубчатые нагреватели;
- обогреватели для использования в теплицах.
1.2 Замена пункта
Приборы, не предназначенные для бытового применения, но которые могут быть источником опасности для людей, например, приборы, используемые неспециалистами в магазинах, легкой промышленности и на фермах, входят в область распространения настоящего стандарта.
Настоящий стандарт устанавливает основные виды опасности прибора, с которыми люди сталкиваются внутри и вне дома.
Примечание 2 - Настоящий стандарт не учитывает опасностей, возникающих в случае:
- безнадзорного использования приборов детьми или немощными лицами;
- игр детей с приборами.
1.3 Замена пункта
Настоящий стандарт не распространяется на:
- приборы, предназначенные для применения в местах, где преобладают особые условия, например коррозионная или взрывоопасная среда (пыль, пар и газ);
- обогреватели, встроенные в кондиционеры;
- сушилки для одежды и перекладины для полотенец (ГОСТ 27570.31);
- обогреватели для саун (ГОСТ 27570.48);
- аккумуляционные комнатные обогреватели (ГОСТ Р МЭК 335-2-61);
- нагревательные приборы для выращивания и разведения животных (ГОСТ Р МЭК 60335-2-71);
- листовые гибкие нагревательные элементы;
- ковровые покрытия с подогревом и аналогичные гибкие нагревательные элементы;
- системы центрального отопления с воздушным теплоносителем;
- обогревательные кабели.
Примечания
1 Для приборов, предназначенных для использования в транспортных средствах, на борту кораблей, самолетов могут быть необходимы дополнительные требования.
2 Для приборов, предназначенных для использования в тропических странах, могут быть необходимы специальные требования.
3 Во многих странах национальные органы здравоохранения, охраны труда и др. предъявляют к приборам дополнительные требования.
4 Для приборов, предназначенных для эксплуатации в атмосфере, содержащей легковоспламеняющуюся пыль, могут быть необходимы дополнительные требования.
2 Определения
В настоящем стандарте применяются термины с соответствующими определениями по ГОСТ Р МЭК 335-1, а также приведенные ниже.
2.2.9 Замена пункта
Нормальная работа - обогреватель работает, как указано в инструкции по эксплуатации.
2.101 Радиационный обогреватель с видимым свечением - обогреватель, имеющий не менее одного видимого светящегося нагревательного элемента.
2.102 Тепловентилятор - обогреватель, в котором движение нагретого воздуха ускоряется вентилятором.
2.103 Обогреватели для установки на высоком уровне - обогреватели, предназначенные для установки на высоте не менее 1,8 м от пола.
2.104 Каминная решетка - такая часть ограждения видимого раскаленного докрасна радиационного обогревателя, через которую нормально виден нагревательный элемент и которая предназначена для защиты от прямого доступа к нагревательному элементу.
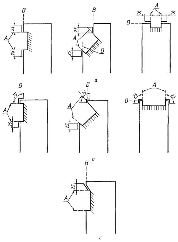
2.105 Прилегающая поверхность - любая поверхность в пределах 25 мм от границы отверстия для выхода воздуха в решетке или от каминной решетки.
Примечание - Примеры определения прилегающих поверхностей приведены на рисунке 101.
3 Общие требования
Общие требования - по ГОСТ Р МЭК 335-1.
4 Общие условия испытаний
Общие условия испытаний - по ГОСТ Р МЭК 335-1 со следующими дополнениями.
4.2 Дополнение к пункту
Примечание - При испытании приборов, предназначенных для установки близко один от другого, необходимо использовать достаточное количество образцов для определения воздействия обогревателя на соседние приборы.
4.3 Дополнение к пункту
При проведении испытаний на одном и том же приборе испытание по 22.24 проводят после испытаний по разделу 29.
4.5 Дополнение к пункту
Если нет специальных указаний, то прибор должен работать в соответствии с инструкцией по эксплуатации.
А, В - поверхности
Рисунок 101 - Определение прилегающих поверхностей вокруг решеток для выхода воздуха и каминных решеток, лист 1
4.6 Дополнение к пункту
Терморегулятор, чувствительный к комнатной температуре, например такой, как чувствительный элемент, расположенный во всасывающем воздушном устройстве, замыкают накоротко. Если терморегулятор может быть установлен так, что он будет работать нециклично, его не закорачивают, если нет специальных указаний.
Примечание - Для электронных автоматических устройств может быть необходимо воспроизводить недействующий чувствительный элемент взамен короткозамкнутого терморегулятора.
4.10 Дополнение к пункту
Обогреватели, предназначенные для установки близко один от другого, устанавливают в соответствии с инструкциями по эксплуатации.
4.101 Обогреватели, предназначенные для использования как переносные, так и закрепленные, подвергают испытаниям, пригодным к обоим типам приборов.
Обогреватели, предназначенные для крепления на стене и снабженные шнуром питания и штепсельной вилкой, испытывают как закрепленные или как переносные приборы, в зависимости от того, что менее благоприятно. Если адекватные способы, обеспечивающие надежное закрепление обогревателя на стене, даны в соответствии с инструкцией по монтажу, обогреватель испытывают только как закрепленный.
Примечание - Отверстия в форме замочной скважины, крючки и аналогичные детали без других фиксирующих средств, предотвращающих случайное снятие прибора со стены, не считаются достаточными средствами надежного крепления прибора на стене.
4.102 Если обогреватель скомбинирован из двух или более типов приборов, его подвергают испытаниям, относящимся к каждому типу прибора, о тех пор, пока испытания для одного типа прибора не перекрывают испытания для другого типа.
Обогреватели, предназначенные для крепления на стене, испытывают как обогреватели, устанавливаемые на высоком уровне и как обогреватели, устанавливаемые иначе, чем на высоком уровне, если в инструкции по эксплуатации не установлено значение высоты, на которой он должен быть смонтирован.

1 - каминная решетка; 2 - нагревательные элементы накаливания; 3 - рефлектор; 4 - корпус
Рисунок 101 - Лист 2
5 В стадии рассмотрения
6. Классификация
Классификация - по ГОСТ Р МЭК 335-1 со следующими дополнениями.
6.2 Дополнение к пункту
Обогреватели, предназначенные для использования в теплицах или на строительных площадках, должны иметь, по крайней мере, степень защиты IPX4 по ГОСТ 14254.
7 Маркировка и инструкции
Маркировка и инструкции - по ГОСТ Р МЭК 335-1 со следующими дополнениями.
7.1 Дополнение к пункту
Обогреватели, предназначенные для наполнения жидкостью пользователем, должны иметь маркировку верхнего и нижнего уровня жидкости.
Обогреватели, отличные от предназначенных для крепления на высоком уровне и радиационных обогревателей с видимым свечением, за исключением случаев, когда конструкция исключает возможность их накрывания, должны иметь следующую надпись:
«Не накрывать».
Данная маркировка не требуется для комнатных обогревателей, также предназначенных для сушки одежды и отвечающих требованиям ГОСТ 27570.31.
Обогреватели, оборудованные каминной решеткой, которая снимается при транспортировании, должны иметь надпись о недопустимости работы при снятой каминной решетке.
7.12 Дополнение к пункту
В инструкции по эксплуатации обогревателя должно быть указано, что обогреватель не следует устанавливать в непосредственной близости от розетки сетевого электроснабжения.
В инструкции по эксплуатации обогревателей, у которых нагревательный элемент находится в непосредственном контакте со стеклянной панелью, должно быть отмечено, что не допускается эксплуатация обогревателя, если повреждено стекло.
Инструкции по эксплуатации обогревателей для установки на высоком уровне и радиационных обогревателей с видимым свечением должны иметь указание следующего содержания:
«Не используйте данный обогреватель с программным устройством, таймером и любым другим устройством, которое автоматически включает обогреватель, так как существует риск возгорания, если обогреватель накрыт или неправильно расположен».
Инструкции по эксплуатации радиационных обогревателей с видимым свечением, оборудованных каминными решетками, которые могут сниматься без применения инструментов, должны иметь указание следующего содержания:
«Каминная решетка предназначена для предотвращения прямого доступа к нагревательным элементам и должна быть на своем месте при пользовании обогревателем.
Каминная решетка не ограничивает полностью доступ детям и немощным лицам».
Инструкции по эксплуатации переносных обогревателей должны иметь следующие указания: Не пользуйтесь обогревателем в непосредственной близости от ванны, душа или плавательного бассейна».
7.12.1 Дополнение к пункту
Инструкции для стационарных радиационных обогревателей с видимым свечением должны предупреждать об опасности их установки вблизи занавесок и воспламеняемых материалов.
Инструкции должны предусматривать необходимую чистку поверхности рефлектора радиационных обогревателей с видимым свечением, если это требуется.
Инструкции должны описывать процесс замены ламп обогревателей, имитирующих горение топлива.
В инструкции на обогреватели для установки на высоком уровне должно быть отмечено, что обогреватель следует устанавливать на высоте не менее 1,8 м от уровня пола.
В инструкциях на стационарные обогреватели, используемые в ванных, должно быть указано, что обогреватели следует устанавливать таким образом, чтобы лицо, находящееся в ванной или душе, не могло дотянуться до выключателей и регуляторов обогревателя.
Если опорные ролики или стойки поставляются отдельно от обогревателя, то в инструкциях должно быть указано, как они должны быть закреплены на обогревателе.
Если обогреватель предназначен для установки в гардеробе, то в инструкции должно быть приведено описание процесса установки нагревателя в гардеробе.
Инструкции на масляный обогреватель должны включать следующие указания:
«Данный обогреватель заполнен точным количеством специального масла. Ремонт, требующий вскрытия контейнера с маслом, может выполняться только производителем или его уполномоченным по сервисному обслуживанию, который должен отремонтировать прибор в случае утечки масла.
Необходимо следовать инструкциям по утилизации масла вышедшего из эксплуатации нагревателя».
7.14 Дополнение к пункту
В обогревателях для установки на высоком уровне индикация положения переключателя должна быть видимой с расстояния 1 м.
Надпись, касающаяся накрывания обогревателя, должна оставаться видимой и после монтажа обогревателя. Буквы надписи должны быть высотой не менее 3 мм.
Указания, касающиеся каминных решеток, которые могут сниматься, должны быть видимыми после монтажа обогревателя, но со снятой каминной решеткой.
8 Защита от контакта с токоведущими частями
Защита от контакта с токоведущими частями - по ГОСТ Р МЭК 335-1 со следующими дополнениями.
8.1.1 Дополнение к пункту
Съемные каминные решетки не удаляют, если это требует применения инструмента. При этом
в инструкции по эксплуатации должно быть указано на необходимость удаления вилки из розетки перед началом чистки рефлектора или что обогреватель оборудован выключателем, имеющим зазор между контактами не менее 3 мм и разъединяющим все провода.
8.1.3 Не применяют.
10 Потребляемая мощность и ток
Потребляемая мощность и ток - по ГОСТ Р МЭК 335-1.
11 Нагрев
Нагрев - по ГОСТ Р МЭК 335-1 со следующими дополнениями.
11.2 Замена пункта
Встроенные обогреватели устанавливают как можно ближе к потолку или полу, если нет специальных указаний в инструкции.
Другие обогреватели устанавливают в испытательный угол при следующих условиях:
- переносные тепловентиляторы - на расстоянии 150 мм между стеной и задней стенкой прибора и на таком же расстоянии от другой стены;
- другие нагреватели, обычно располагаемые на полу, устанавливают на полу как можно ближе к одной стене и вдали от другой стены. Однако круговые и аналогичные обогреватели, которые излучают тепло в нескольких направлениях, располагают на расстоянии 300 мм от одной из стен и вдали от другой стены.
Обогреватели, имеющие нагревательные элементы с положительным температурным коэффициентом, располагают в стороне от стен, если такое расположение приводит к повышению температуры.
Примечания
1 Если обогреватель не имеет явно выраженной задней части, то обогреватель располагают в наиболее неблагоприятном положении.
2 В случае круговых обогревателей, расстояние измеряют между стеной и корпусом обогревателя.
- обогреватели для установки на высоком уровне крепятся на одной из стен и как можно ближе к другой стене и потолку, если нет специальных указаний в инструкции;
- другие устанавливаемые на стене обогреватели крепят на одной из стен и как можно ближе к другой стене и полу, если нет специальных указаний в инструкции. Полка, имеющая глубину 200 мм и достаточную длину, чтобы накрыть обогреватель, фиксируется над обогревателем. Полка располагается как можно ближе к обогревателю, если нет специальных указаний в инструкциях.
Примечание 3 - Потолок покрывают изоляционным материалом, имеющим коэффициент теплоизоляции 3,2 м2×К/Вт.
Для испытательного угла, полки и для установки встроенных обогревателей применяют фанеру, равномерно окрашенную в черный цвет, толщиной примерно 20 мм.
При наличии у стационарного обогревателя отверстия, направленного к полу, необходимо на пол постелить фетровый коврик толщиной 20 мм и протолкнуть его в отверстие, насколько позволяет конструкция. Если прибор имеет ограждение или если отверстие слишком мало для вставления коврика, то коврик укладывают как можно ближе к отверстию.
Примечание 4 - Коврик предназначен для ограничения потока воздуха.
Обогреватели, имеющие решетку для выхода воздуха, располагаемую в полу или в нижней обвязке рамной перегородки, или в аналогичном месте, испытывают с отверстиями для выхода воздуха, накрытыми войлочными полосками, по 19.103. Полоски располагают под прямым углом к наиболее длинной стороне решетки отверстия для выхода воздуха. Полоски прикладывают к каждой половине решетки по очереди, а затем ко всей решетке.
11.3 Дополнение к пункту
Превышение температуры на войлочном коврике измеряют с помощью термопар, прикрепленных к небольшим, выкрашенным в черную краску медным или латунным дискам, диаметр которых составляет 15 мм, толщина - 1 мм. Диски прикладывают к поверхности коврика.
Если произошло превышение допустимого предела температуры в устройствах, оборудованных электродвигателями, трансформаторами или электронными схемами, а входная мощность равна номинальной потребляемой мощности, то испытание повторяют с прибором, работающим при 1,06 номинального напряжения.
11.6 Замена пункта
Комбинированные приборы работают как нагревательные приборы.
11.7 Замена пункта
Обогреватель работает до установившегося состояния.
11.8 Изменение в пункте
Таблица 3. Позицию «Древесина, в общем6» изложить в новой редакции:
|
Превышение температуры, °С |
|
|
Древесина, в общем6 |
65 |
|
Стены, потолок и пол испытательного угла: |
|
|
- стационарные обогреватели |
60 |
|
- другие обогреватели |
65 |
Дополнение к пункту
Превышение температуры для электродвигателей, трансформаторов или компонентов электронных схем и частей, непосредственно влияющих на них, может выходить за указанные пределы, когда прибор работает при 1,15 номинальной потребляемой мощности.
Для масляных радиаторов превышение температуры для «Частей, соприкасающихся с маслом, температура воспламенения которого t °C» не измеряют. Однако измеряют превышение температуры наружной поверхности контейнеров с жидкостью для радиаторов с жидким теплоносителем, не имеющих принудительной вентиляции. Эта температура должна быть по крайней мере на 50 °С ниже точки кипения жидкости.
Примечание - Измерения проводят, даже если контейнер находится внутри кожуха прибора.
Превышение температуры на поверхностях обогревателей на должно быть выше значений, приведенных в таблице 101.
Таблица 101 - Максимальные превышения температуры для поверхностей
|
Превышение температуры, °С |
|
|
Обогреватели для установки на высоком уровне, каминные решетки и прилегающие к ним поверхности |
Не ограничено |
|
Решетки для выхода воздуха 1) и прилегающие к ним поверхности из металла, которые доступны для испытательного стержня 2): |
|
|
- тепловентиляторы |
175 |
|
- другие обогреватели |
130 |
|
Другие поверхности, доступные для испытательного стержня 2) |
|
|
- если они металлические |
85 |
|
- если они из стекла, керамики или аналогичного материала |
100 |
|
Решетки для выхода воздуха встроенных обогревателей, у которых эти отверстия расположены в полу, раме окна или аналогичном месте: |
|
|
- если они металлические |
45 |
|
- если они из другого материала |
50 |
|
Поверхность войлочного коврика |
60 |
|
1) Если невозможно определить наличие решетки для выхода воздуха и воздух выпускается через основную часть ограждения, превышение температуры устанавливают в пределах 85 °С. 2) Испытательный стержень имеет диаметр 75 мм, неограниченную длину и полукруглую форму наконечника. |
|
Превышение температуры поверхностей обогревателей, которые доступны для испытательного стержня, определяемое на стенде, не должно выходить за пределы, указанные в таблице 3 для частей, которые удерживаются рукой в течение короткого периода времени.
12 В стадии рассмотрения
13 Ток утечки и электрическая прочность при рабочей температуре
Ток утечки и электрическая прочность при рабочей температуре - по ГОСТ Р МЭК 335-1.
14 В стадии рассмотрения
15 Влагостойкость
Влагостойкость - по ГОСТ Р МЭК 335-1.
16 Ток утечки и электрическая прочность
Ток утечки и электрическая прочность - по ГОСТ Р МЭК 335-1.
17 Защита от перегрузки трансформаторов и соединенных с ними цепей
Защита от перегрузки трансформаторов и соединенных с ними цепей - по ГОСТ Р МЭК 335-1.
19 Ненормальная работа
Ненормальная работа - по ГОСТ Р МЭК 335-1 со следующими дополнениями.
19.1 Изменение в пункте
Заменить 3 - 8 абзацы следующим:
Соответствие требованию проверяют испытаниями по 19.6, 19.11, 19.12 и 19.101 - 19.113.
При испытании по 19.106 температура обмоток двигателя не должна превышать значений, указанных в таблице 6.
19.101 Обогреватели работают, как указано в разделе 11, при этом потребляемая мощность превышает номинальную в 1,24 раза.
Все температурные управляющие устройства, которые работают при испытании по разделу 11, закорачивают одновременно.
Примечание - Давление в обогревателях с жидким теплоносителем измеряют, как в испытании по 22.7.
19.102 Круговые или аналогичные переносные обогреватели, которые излучают тепло в нескольких направлениях, устанавливают как можно ближе к одной из стен испытательного угла и испытывают с потребляемой мощностью, превышающей номинальную в 1,24 раза.
Примечание - Терморегулирующие устройства, которые используют при испытании по разделу 11, находятся в рабочем состоянии.
19.103 Обогреватели, отличные от:
- обогревателей для установки на высоком уровне, за исключением устанавливаемых в гардеробах и платяных шкафах;
- радиационных обогревателей с видимым свечением;
- переносных тепловентиляторов,
работают, как указано в разделе 11, при этом приборы накрывают.
Покрытие изготавливают из войлочных полосок, каждая шириной 100 мм, которые покрыты одним слоем материала. Войлочное покрытие имеет удельную массу (4 ± 0,4) кг/м2 и толщину 25 мм. Материал состоит из предварительно выстиранного хлопчатобумажного полотна с подогнутыми краями, имеющего удельную массу от 140 до 175 г/м2 в сухом состоянии.
Термопары крепят к задней поверхности небольших медных или латунных дисков диаметром 15 мм, толщиной 1 мм. Диски располагают на расстоянии 50 мм друг от друга между материалом и войлоком по вертикальной центральной линии каждой полоски. Диски поддерживают для предотвращения их погружения в слой войлока.
Полоски укладывают на обогреватель таким образом, чтобы покрыть верхнюю и переднюю поверхности обогревателя до пола. Если конструкция обогревателя предполагает его установку в стороне от стены, или обогреватель устанавливают стационарно таким образом, что расстояние между обогревателем и стеной превышает 30 мм, а горизонтальная проекция расстояния между двумя точками крепления или точками крепления и краем обогревателя превышает 100 мм, то заднюю поверхность обогревателя полностью покрывают войлочными полосками до пола. В противном случае заднюю поверхность покрывают на одну пятую часть высоты обогревателя.
Полосы накладывают на каждую половину обогревателя, а затем на весь обогреватель.
В течение испытания превышение температуры полос не должно быть более 150 °С, однако в течение первого часа работы допускается превышение на 25 °С.
Примечания
1 Терморегулирующие устройства, которые используют при испытании по разделу 11, находятся в рабочем состоянии.
2 Давление в обогревателях с жидким теплоносителем измеряют, как в испытании по 22.7.
Обогреватели, устанавливаемые в гардеробах, включая обогреватели для установки на высоком уровне, должны соответствовать испытанию, при котором закорачивают все термовыключатели с самовозвратом.
19.104 Встроенные обогреватели, имеющие отверстие для выхода воздуха в полу, раме окна и аналогичном месте, работают в условиях, указанных в разделе 11 с накрытыми решетками.
В течение испытания превышение температуры полос не должно быть более 150 °С, однако в течение первого часа работы допускается превышение на 25 °С.
19.105 Обогреватели с контейнером для жидкого теплоносителя, заполняемым пользователем, работают, как указано в разделе 11, но с пустым контейнером.
Примечание - Терморегулирующие устройства, которые используют при испытании по разделу 11, находятся в рабочем состоянии.
19.106 Тепловентиляторы и другие обогреватели, имеющие электродвигатели, работают как указано в разделе 11. При этом ротор электродвигателя блокируют, а обогреватель работает при номинальном напряжении.
Примечание - Терморегулирующие устройства, которые используют при испытании по разделу 11, находятся в рабочем состоянии.
19.107 Тепловентиляторы, имеющие кожух, выполненный в основном из неметаллических материалов, работают, как указано в разделе 11, за исключением того, что электродвигатель и нагревательные элементы поставляют отдельно. Терморегулирующие устройства, которые работают при испытании по разделу 11, закорачивают.
После достижения установившегося состояния подаваемое на двигатель напряжение уменьшают до значения, при котором скорость вращения вала двигателя находится почти на пределе срабатывания теплового выключателя. Напряжение на нагревательных элементах поддерживают на уровне, как при испытании по 11.4.
В таких условиях обогреватель работает до достижения установившегося состояния или в течение 1 ч, в зависимости от того, какой период длиннее.
После этого периода поток воздуха ограничивают, чтобы проверить срабатывание термовыключателей.
Примечание - Пониженное напряжение на двигателе может быть определено следующим образом. Напряжение уменьшают на 5 %, двигатель работает в таких условиях в течение 5 мин. Эта процедура повторяется до тех пор, пока не сработает термовыключатель. Затем напряжение повышают на 5 % - такое пониженное напряжение используют для испытания.
19.108 Переносные тепловентиляторы работают, как указано в разделе 11.
Прямоугольный лист бумаги удерживают на отверстии для входа воздуха без дополнительного давления. Лист бумаги имеет размер, достаточный чтобы закрыть все отверстие. Лист бумаги может перемещаться в любом направлении, перекрывая таким образом доступ воздуха и создавая неблагоприятные условия работы.
Бумага имеет плотность (72 ± 2) г/м2 и коэффициент разрыва 3,7 кПа×м2/г в соответствии с ГОСТ ИСО 1924-1.
Испытание проводят в течение 4 ч.
Если ограждение имеет более одного отверстия для входа воздуха, то эти отверстия закрывают по очереди.
Примечания
1 Поверхности на одной стороне обогревателя рассматривают как одну поверхность.
2 Наиболее неблагоприятные условия достигаются, когда лист бумаги располагается таким образом, что происходит предотвращение срабатывания термовыключателя.
3 При передвижении листа бумаги вниз необходимо следить за тем, чтобы опорная поверхность не препятствовала перемещению листа.
4 Терморегуляторы, которые используют при испытании по разделу 11, находятся в рабочем состоянии.
19.109 Переносные тепловентиляторы работают, как указано в разделе 11, но располагают их таким образом, чтобы поток воздуха направлялся на одну из стен испытательного угла. Затем обогреватель перемещают как можно ближе к стене без работающего термовыключателя. Термовыключатели, работающие при испытании по разделу 11, закорачивают.
Превышение температуры на стене не должно быть более 150 °С.
19.110 Переносные радиационные обогреватели с видимым свечением работают, как указано в разделе 11, но располагают их таким образом, чтобы излучение было направлено на одну из стен испытательного угла. Обогреватель устанавливают на расстоянии 500 мм от стены и это расстояние постепенно увеличивают до момента измерения наивысшей температуры на стене.
Превышение температуры на стене не должно быть более 70 °С.
Примечание - Расстояние измеряют от стены до ближайшей точки каминной решетки.
19.111 Радиационные обогреватели с видимым свечением, отличные от обогревателей для установки на высоком уровне, работают, как указано в разделе 17, но с номинальной потребляемой мощностью.
После достижения установившегося состояния на центральной части каминной решетки располагают кусок выбеленного фланелета шириной 100 мм, удельной массой от 130 до 165 г/м2. Материал располагают от верха до низа или, в случае горизонтально расположенной каминной решетки, от задней стенки до передней.
Фланелет не должен тлеть или воспламеняться в течение 10 с.
Примечание - Почернение без тления не принимают во внимание. Если начинается тление, то при этом в центральной части полотна образуются отверстия с красными от тлеющего материала краями.
19.112 Переносные обогреватели работают, как указано в разделе 11, но при этом их располагают на поверхности из мягких сортов древесины, которая покрывается двойным слоем выбеленной хлопчатобумажной марли, удельной массой приблизительно 40 г/м2.
Примечание 1 - Терморегуляторы, которые используют при испытаниях по разделу 11, находятся в рабочем состоянии.
Затем обогреватель толкают таким образом, чтобы он занял наиболее неблагоприятное положение.
Марля при этом не должна тлеть или воспламеняться.
Температура поверхности масляных радиаторов должна быть по крайней мере на 40 °С ниже температуры кипения масла. Не допускаются деформация контейнера для масла, течь масла или появление пламени.
Примечание 2 - Давление в радиаторах с жидким теплоносителем измеряют, как в испытаниях по 22.7.
Обогреватели, имитирующие горение топлива в камине, не подвергают данному виду испытания.
Примечание 3 - Пункт 19.13 не применяют.
19.113 Тепловентиляторы, имеющие корпус, выполненный в основном из неметаллических материалов, работают, как указано в разделе 11, за исключением того, что все термовыключатели с самовозвратом и управляющие устройства, которые работают при испытании по разделу 11, переводят в нерабочее состояние и двигатель вентилятора останавливают.
Примечание - Защитное устройство двигателя не закорачивают.
20 Устойчивость и механические опасности
Устойчивость и механические опасности - по ГОСТ Р МЭК 335-1 со следующими дополнениями.
20.1 Замена пункта
Переносные обогреватели должны иметь соответствующую устойчивость.
Соответствие требованию проверяют следующим испытанием.
Обогреватели, имеющие приборный ввод, снабжают набором шнуров.
Обогреватель устанавливают:
- в наиболее неблагоприятное положение на плоскости, наклоненной под углом 15° к горизонтали;
- на горизонтальной плоскости на верхнюю часть прибора воздействуют силой 5 Н в наиболее неблагоприятном горизонтальном направлении.
Обогреватель не должен при этом перевернуться.
Примечание - Для предотвращения скольжения обогревателя по поверхности можно использовать соответствующие средства.
21 Механическая прочность
Механическая прочность - по ГОСТ Р МЭК 335-1 со следующими дополнениями.
Дополнение к разделу
Соответствие требованиям проверяют испытаниями по 21.101 и 21.102.
Для обогревателей с нагревательными элементами, которые находятся в непосредственном контакте со смонтированными стеклянными панелями, по панели наносят удар пружинным молотком с энергией (2,00 ± 0,5) Дж.
Груз массой 5 кг, имеющий основание диаметром 100 мм, располагают на 1 мин в центральной части каминной решетки.
После этого испытания каминная решетка не должна иметь существенных остаточных деформаций.
После испытания на обогревателе не должно быть повреждений, которые могут привести к несоблюдению требований настоящего стандарта. В особенности не должно быть повреждений при испытаниях на соответствие требованиям 8.1 и 29.1.
21.103 Средства крепления панельных обогревателей на потолке должны иметь соответствующую прочность.
Соответствие требованию проверяют следующим испытанием.
Устройство устанавливают, как указано в инструкции по эксплуатации. В центральной части панели на 1 ч подвешивают одинаковую нагрузку, превышающую массу обогревателя в 4 раза.
Примечание - Если подвесное устройство регулируется, то испытание проводят с полностью выдвинутым устройством.
Если подвесное устройство крепится жестко, то к, панели прикладывают крутящий момент 2,5 Н×м в течение 1 мин в каждом направлении.
Подвесное устройство не должно иметь существенных деформаций.
22 Конструкция
Конструкция - по ГОСТ Р МЭК 335-1 со следующими дополнениями.
Обогреватели, содержащие жидкость или газ, должны иметь конструкцию, позволяющую выдержать давление, которое может возникнуть при эксплуатации.
Соответствие требованию проверяют следующим испытанием.
Прибор подвергают действию давления, вдвое превышающего давление при испытаниях по 19.101, 19.103 или 19.112.
При этом не должно быть утечки жидкости или газа.
22.17 Дополнение к пункту
Требование не относится к опорным роликам или плоским опорам, если прибор отвечает требованиям раздела 19 без этих частей.
Неизолированные нагревательные элементы должны поддерживаться таким образом, чтобы в случае их поломки или перемещения нагревательный провод не мог войти в контакт с доступными металлическими частями или выпасть из нагревателя.
Соответствие требованию проверяют осмотром после того, как неизолированный нагревательный провод разъединяют в наиболее неблагоприятном месте.
Соответствие требованию проверяют осмотром, в случае радиационных обогревателей с видимым свечением - испытанием по 19.111. Для других обогревателей прикладывают пробник (см. рисунок 3 ГОСТ Р МЭК 335-1), при этом он не должен касаться нагревательных элементов.
22.102 Обогреватели, закрепляемые винтами или другими постоянными крепежными элементами, должны иметь такую конструкцию, чтобы способ крепления был понятен пользователю или четко объяснялся в инструкциях по эксплуатации.
Соответствие требованию проверяют осмотром.
22.103 Каминные решетки, устанавливаемые в соответствии с требованиями 22.101, не должны иметь отверстий, размеры которых превышают следующие значения:
- наибольший размер 126 мм и соответствующий наименьший размер 12 мм;
- наибольший размер 53 мм и соответствующий наименьший размер 20 мм.
Эти размеры также применимы к любому зазору между каминной решеткой и прилегающими поверхностями. Однако все отверстия, имеющие наименьший размер менее 5 мм, игнорируют.
Соответствие требованию проверяют измерениями, если необходимо, после приложения испытательного пальца (см. рисунок 1 ГОСТ Р МЭК 335-1) в прямом направлении к любой части каминной решетки с силой, не превышающей 5 Н.
22.104 Каминные решетки должны быть надежно прикреплены к обогревателю, так чтобы их невозможно было снять без помощи инструмента.
Соответствие требованию проверяют осмотром.
22.105 Каминные решетки должны иметь полную открытую площадь не менее 50 % площади поверхности каминной решетки.
Соответствие требованию проверяют измерением.
22.106 Доступные стеклянные панели, находящиеся в прямом контакте с нагревательными элементами, должны выдерживать тепловой удар.
Соответствие требованию проверяют следующим испытанием.
Обогреватель работает при 1,15 номинальной потребляемой мощности до достижения установившегося состояния.
Один литр воды, имеющей температуру (15 ± 5) °С, выливают на центральную часть панели со скоростью приблизительно 10 см3/с через трубку диаметром 5 мм.
Панель не должна быть повреждена.
22.107 Переносные приборы должны быть защищены от проникновения посторонних предметов через нижнюю поверхность.
Соответствие требованию проверяют осмотром.
Примечание - Приборы считают соответствующими указанному требованию, если расстояние между опорной поверхностью и деталями под напряжением, измеряемое через отверстие в нижней панели, не менее 6 мм. Если прибор снабжен ножками, это расстояние увеличивают до 10 мм для приборов, устанавливаемых на столе, и до 20 мм - для приборов, устанавливаемых на полу.
22.108 Радиационные обогреватели с видимым свечением, прикрепляемые к стене или потолку, должны иметь такую конструкцию, чтобы направление излучения не могло быть изменено без специального инструмента после того, как обогреватель был закреплен.
Соответствие требованию проверяют осмотром и испытанием вручную.
Примечание - Допускается ограничение изменения направления излучения, если ограничения установлены в инструкциях по эксплуатации.
22.109 Радиационные обогреватели с видимым свечением, отличные от обогревателей для установки на высоком уровне, не должны иметь терморегуляторов, таймеров или аналогичных устройств, которые автоматически включают нагревательные элементы, если хотя бы один нагревательный элемент является элементом с видимым свечением.
Соответствие требованию проверяют осмотром.
22.110 Отсоединение от источника питания переводом выключателя в положение «выкл» не должно осуществляться электронными деталями.
Соответствие требованию проверяют осмотром.
23 Внутренняя проводка
Внутренняя проводка - по ГОСТ Р МЭК 335-1.
24 Комплектующие изделия
Комплектующие изделия - по ГОСТ Р МЭК 335-1 со следующими дополнениями.
24.1.2 Дополнение к пункту
Для терморегуляторов (применяемых в радиаторах с жидким теплоносителем), которые работают при испытании по разделу 11, для ограничения превышения температуры поверхности до 85 °С количество рабочих циклов увеличивают до 100000.
Для термовыключателей с самовозвратом количество рабочих циклов увеличивают до 10000.
Для термовыключателей без самовозврата количество рабочих циклов увеличивают до 1000.
Для предохранительных устройств без самовозврата, работающих при испытании по 19.112, количество рабочих циклов составляет 300.
24.1.3 Дополнение к пункту
Для выключателей, работающих при испытании по 19.112, количество рабочих циклов составляет 300.
25 Присоединение к источнику питания и внешние гибкие шнуры
Присоединение к источнику питания и внешние гибкие шнуры - по ГОСТ Р МЭК 335-1 со следующими дополнениями.
25.7 Дополнение к пункту
Шнуры питания переносных обогревателей, используемых в теплицах, не должны быть легче, чем обыкновенный гибкий шнур в оболочке из полихлоропрена типа ПРМ по ГОСТ 7399 (тип 245 МЭК 57).
Шнуры питания обогревателей, используемых на стройплощадках, не должны быть легче, чем толстый гибкий шнур в оболочке из полихлоропрена типа ПСГ по ГОСТ 7399 (тип 245 МЭК 65).
26 Зажимы внешних проводов
Зажимы внешних проводов - по ГОСТ Р МЭК 335-1.
27 Заземление
Заземление - по ГОСТ Р МЭК 335-1.
28 Винты и соединения
Винты и соединения - по ГОСТ Р МЭК 335-1.
29 Пути утечки тока, воздушные зазоры и расстояния по изоляции
Пути утечки тока, воздушные зазоры и расстояния по изоляции - по ГОСТ Р МЭК 335-1.
30 Теплостойкость, огнестойкость и стойкость к образованию токоведущих мостиков
Теплостойкость, огнестойкость и стойкость к образованию токоведущих мостиков - по ГОСТ Р МЭК 335-1 со следующими дополнениями.
30.1 Дополнение к пункту
Для переносных тепловентиляторов превышение температуры, определяемое при испытании по разделу 19, не учитывают.
30.2.1 Дополнение к пункту
Испытание раскаленной проволокой в соответствии с приложением К ГОСТ Р МЭК 335-1 проводят при температуре 650 °С.
30.2.2 Не применяют.
30.101 Корпус тепловентиляторов, выполненный, как правило, из неметаллического материала, должен быть огнеупорным.
Соответствие требованию проверяют осмотром и проведением испытания игольчатым пламенем в соответствии с приложением М ГОСТ Р МЭК 335-1.
Испытание игольчатым пламенем не проводят на корпусах, изготовленных из материалов класса FV (ПВ)-0 или FV (ПB)-1 в соответствии с ГОСТ 28779. Образец для проведения испытания по ГОСТ 28779 не должен быть толще, чем соответствующая деталь корпуса.
31 Стойкость к коррозии
Стойкость к коррозии - по ГОСТ Р МЭК 335-1.
32 Радиация, токсичность и подобные опасности
Радиация, токсичность и подобные опасности - по ГОСТ Р МЭК 335-1.
ПРИЛОЖЕНИЕ А
(справочное)
Нормативные ссылки
В настоящем стандарте использованы ссылки на следующие стандарты:
ГОСТ ИСО 1924-1-96. Бумага и картон. Определение прочности при растяжении. Часть 1. Метод нагружения с постоянной скоростью
ГОСТ 7399-97 Провода и шнуры на номинальное напряжение до 450/750 В. Технические условия
ГОСТ 14254-96 (МЭК 529-89) Степени защиты, обеспечиваемые оболочками (Код IP)
ГОСТ 27570.31-91 (МЭК 335-2-43-84) Безопасность бытовых и аналогичных электрических приборов. Дополнительные требования к сушилкам для одежды и перекладинам для полотенец и методы испытаний
ГОСТ 27570.48-96 (МЭК 335-2-55-89) Безопасность бытовых и аналогичных электрических приборов. Дополнительные требования к электроприборам, используемым в аквариумах и садовых водоемах, и методы испытаний
ГОСТ Р МЭК 335-1-94 Безопасность бытовых и аналогичных электрических приборов. Общие требования и методы испытаний
ГОСТ Р МЭК 335-2-61-94 Безопасность бытовых и аналогичных электрических приборов. Дополнительные требования к аккумуляционным комнатным обогревателям и методы испытаний
ГОСТ Р МЭК 60335-2-71-98 Безопасность бытовых и аналогичных электрических приборов. Дополнительные требования к электрическим нагревательным приборам для выращивания и разведения животных и методы испытаний
ПРИЛОЖЕНИЕ В
(обязательное)
Приборы, питающиеся от перезаряжаемых батарей
Приборы, питающиеся от перезаряжаемых батарей - по ГОСТ Р МЭК 335-1.
ПРИЛОЖЕНИЕ С
(обязательное)
Испытание двигателей на старение
Испытание двигателей на старение - по ГОСТ Р МЭК 335-1.
ПРИЛОЖЕНИЕ D
(обязательное)
Варианты требований для двигателей с защитными устройствами
Варианты требований для двигателей с защитными устройствами - по ГОСТ Р МЭК 335-1.
ПРИЛОЖЕНИЕ Е
(обязательное)
Измерение путей утечки тока и воздушных зазоров
Измерение путей утечки тока и воздушных зазоров - по ГОСТ Р МЭК 335-1.
ПРИЛОЖЕНИЕ F
(обязательное)
Двигатели, не изолированные от сети питания и имеющие основную изоляцию, которая не рассчитана на номинальное напряжение прибора
Двигатели, не изолированные от сети питания и имеющие основную изоляцию, которая не рассчитана на номинальное напряжение прибора, - по ГОСТ Р МЭК 335-1.
ПРИЛОЖЕНИЕ G
(обязательное)
Схема цепи для измерения тока утечки
Схема цепи для измерения тока утечки - по ГОСТ Р МЭК 335-1.
ПРИЛОЖЕНИЕ Н
(обязательное)
Порядок проведения испытаний по разделу 30
Порядок проведения испытаний по разделу 30 - по ГОСТ Р МЭК 335-1.
ПРИЛОЖЕНИЕ I
(обязательное)
Испытание горением
Испытание горением - по ГОСТ Р МЭК 335-1.
ПРИЛОЖЕНИЕ К
(обязательное)
Испытание раскаленной проволокой
Испытание раскаленной проволокой - по ГОСТ Р МЭК 335-1.
ПРИЛОЖЕНИЕ L
(обязательное)
Испытание дефектных соединений с помощью нагревателей
Испытание дефектных соединений с помощью нагревателей - по ГОСТ Р МЭК 335-1.
ПРИЛОЖЕНИЕ М
(обязательное)
Испытание игольчатым пламенем
Испытание игольчатым пламенем - по ГОСТ Р МЭК 335-1.
ПРИЛОЖЕНИЕ N
(обязательное)
Испытание на образование токоведущих мостиков
Испытание на образование токоведущих мостиков - по ГОСТ Р МЭК 335-1.
ПРИЛОЖЕНИЕ Р
(обязательное)
Жесткость условий эксплуатации изоляционных материалов относительно опасности трекинга
Жесткость условий эксплуатации изоляционных материалов относительно опасности трекинга - по ГОСТ Р МЭК 335-1.
ПРИЛОЖЕНИЕ 1
(обязательное)
Пружинное устройство для испытаний на удар и его калибровка
Пружинное устройство для испытаний на удар и его калибровка - по ГОСТ Р МЭК 335-1.
Ключевые слова: комнатные обогреватели, тепловентиляторы, требования безопасности, методы испытаний
СОДЕРЖАНИЕ
Хотите оперативно узнавать о новых публикациях нормативных документов на портале? Подпишитесь на рассылку новостей!
Все ГОСТы >> ГОСТы «Сети, автоматизация, безопасность, связь >>
