ГОСТ Р 53293-2009 Пожарная опасность веществ и материалов. Материалы, вещества и средства огнезащиты. Идентификация методами термического анализа
|
ФЕДЕРАЛЬНОЕ АГЕНТСТВО |
||
|
|
НАЦИОНАЛЬНЫЙ |
ГОСТ Р |
Пожарная опасность веществ и материалов
МАТЕРИАЛЫ, ВЕЩЕСТВА
И СРЕДСТВА ОГНЕЗАЩИТЫ
Идентификация методами термического анализа
Москва
Стандартинформ
2009
Предисловие
Цели и принципы стандартизации в Российской Федерации установлены Федеральным законом от 27 декабря 2002 г. № 184-ФЗ «О техническом регулировании», а правила применения национальных стандартов Российской Федерации - ГОСТ Р 1.0-2004 «Стандартизация в Российской Федерации. Основные положения»
Сведения о стандарте
1 РАЗРАБОТАН ФГУ ВНИИПО МЧС России
2 ВНЕСЕН Техническим комитетом по стандартизации ТК 274 «Пожарная безопасность»
3 УТВЕРЖДЕН И ВВЕДЕН В ДЕЙСТВИЕ Приказом Федерального агентства по техническому регулированию и метрологии от 18 февраля 2009 г. № 69-ст
4 ВВЕДЕН ВПЕРВЫЕ
Информация об изменениях к настоящему стандарту публикуется в ежегодно издаваемом информационном указателе «Национальные стандарты», а текст изменений и поправок - в ежемесячно издаваемых информационных указателях «Национальные стандарты». В случае пересмотра (замены) или отмены настоящего стандарта соответствующее уведомление будет опубликовано в ежемесячно издаваемом информационном указателе «Национальные стандарты». Соответствующая информация, уведомление и тексты размещаются также в информационной системе общего пользования - на официальном сайте Федерального агентства по техническому регулированию и метрологии в сети Интернет
Содержание
ГОСТ Р 53293-2009
НАЦИОНАЛЬНЫЙ СТАНДАРТ РОССИЙСКОЙ ФЕДЕРАЦИИ
Пожарная опасность веществ и материалов
МАТЕРИАЛЫ, ВЕЩЕСТВА И СРЕДСТВА ОГНЕЗАЩИТЫ
Идентификация методами термического анализа
Fire hazard of substances and materials
Materials, substance and fire protective means
Identification by thermal analysis methods
Дата введения - 2010-01-01
с правом досрочного применения
1 Область применения
Настоящий стандарт является нормативным документом по пожарной безопасности в области стандартизации и распространяется на вещества, материалы, применяемые в строительстве, энергетике, текстильные материалы (далее по тексту - вещества (материалы)), а также на средства огнезащиты.
Стандарт устанавливает порядок и методы проведения термического анализа и последующей аналитической идентификации веществ (материалов) и средств огнезащиты в целях выявления соответствия определенным требованиям.
Стандарт предназначен для применения при испытаниях веществ (материалов) на пожарную опасность, определении огнезащитных свойств составов и пропиток, установлении соответствия и инспекционном контроле продукции, изготавливаемой предприятиями, юридическими и физическими лицами независимо от форм собственности и ведомственной подчиненности, а также продукции, произведенной за рубежом и ввезенной в Российскую Федерацию.
Стандарт может быть использован при экспертизе пожаров и других видах экспертной оценки.
2 Нормативные ссылки
В настоящем стандарте использованы нормативные ссылки на следующие стандарты:
ГОСТ 9.715-86 Единая система защиты от коррозии и старения. Материалы полимерные. Методы испытаний на стойкость к воздействию температуры
ГОСТ 9980.2-86 Материалы лакокрасочные. Отбор проб для испытаний
ГОСТ 18276.0-88 Покрытия и изделия ковровые машинного способа производства. Метод отбора проб
ГОСТ 29127-91 (ИСО 7111-87) Пластмассы. Термогравиметрический анализ полимеров. Метод сканирования по температуре
ГОСТ Р ИСО 5725-2002 Точность (правильность и прецизионность) методов и результатов измерений. Часть 1. Основные положения и определения
ГОСТ Р 52361-2005 Контроль объекта аналитический. Термины и определения
Примечание - При пользовании настоящим стандартом целесообразно проверить действие ссылочных стандартов в информационной системе общего пользования - на официальном сайте Федерального агентства по техническому регулированию и метрологии в сети Интернет или по ежегодно издаваемому информационному указателю «Национальные стандарты», который опубликован по состоянию на 1 января текущего года, и по соответствующим ежемесячно издаваемым информационным указателям, опубликованным в текущем году. Если ссылочный стандарт заменен (изменен), то при пользовании настоящим стандартом следует руководствоваться заменяющим (измененным) стандартом. Если ссылочный стандарт отменен без замены, то положение, в котором дана ссылка на него, применяется в части, не затрагивающей эту ссылку.
3 Термины и определения
В настоящем стандарте применены следующие термины с соответствующими определениями:
3.1 идентификация продукции: Установление соответствия конкретной продукции образцу и (или) ее описанию.
[ГОСТ Р 51293-99, раздел 2]
3.2 аналитическая идентификация: Отнесение объекта аналитического контроля или его компонентов к конкретному веществу, материалу, классу веществ или материалов.
[ГОСТ Р 52361-2005, раздел 2, пункт 39]
3.3 аналитический контроль: По ГОСТ Р 52361.
3.4 проба вещества (материала): Часть вещества (материала) объекта аналитического контроля, отобранная для анализа и/или исследования его структуры, и/или определения свойств, отражающая его химический состав и/или структуру, и/или свойства.
[ГОСТ Р 52361-2005, раздел 2, пункт 8]
3.5 кривая нагревания: Запись температуры вещества (образца), помещенного в среду, нагреваемую с регулируемой скоростью, в зависимости от времени.
3.6 термический анализ; ТА: Группа методов анализа вещества (материала), объединяющая термогравиметрию, дифференциально-термический анализ, дифференциально-сканирующую калориметрию и ряд других методов.
3.7 термогравиметрия; ТГ: Метод термического анализа, при котором регистрируется изменение массы образца в зависимости от температуры или времени при нагревании в заданной среде с регулируемой скоростью.
3.8 термогравиметрия по производной: Метод, позволяющий получить первую или вторую производную термогравиметрической кривой по времени или температуре.
3.9 дифференциально-термический анализ; ДТА: Метод, позволяющий регистрировать разность температур исследуемого вещества и вещества, используемого в качестве эталона, в зависимости от температуры или времени.
3.10 дифференциально-сканирующая калориметрия; ДСК: Метод, позволяющий регистрировать энергию, необходимую для выравнивания температур исследуемого вещества и вещества, используемого в качестве эталона, в зависимости от температуры или времени.
3.11 степень превращения w: Количество прореагировавшего вещества; применительно к ТГ - величина, связанная с начальным т0, конечным тк значениями массы образца и его массой в данный момент времени тt соотношением
![]()
Примечание - w - безразмерная величина, меняется от 0 до 1.
3.12 экстраполированная точка начала или окончания процесса: Точка пересечения касательной, проведенной в точке наибольшего наклона, с экстраполированной базовой линией.
3.13 температура начала разложения: По ГОСТ 29127.
3.14 значимые идентификационные характеристики термического анализа (критерии идентификации): Характеристики термоаналитических кривых, по которым устанавливается идентичность веществ (материалов) и средств огнезащиты.
3.15 качественные идентификационные характеристики термического анализа: Характеристики ТА-кривых, которые дополняют информацию о процессе разложения.
3.16 холостой опыт: Проведение процедуры анализа вещества, материала объекта аналитического контроля без аналитической пробы или с холостой пробой.
[ГОСТ Р 52361-2005, раздел 2, пункт 31]
4 Методы идентификации
4.1 Идентификация проводится с использованием:
- технической документации;
- визуального метода;
- инструментального метода.
4.2 Идентификация с использованием технической документации проводится на основании представленных сопроводительных документов. Сопроводительные документы должны содержать наименование вещества (материала), данные об изготовителе, показатели назначения и другие основные показатели, принадлежность к определенной партии и иные характеристики.
4.3 Визуальный метод основан на восприятии внешнего вида объекта с помощью зрения. Внешний вид является комплексным показателем, который включает в себя форму, цвет (окраску), состояние поверхности, целостность.
4.4 В качестве инструментального метода идентификации используется термический анализ, включающий в себя методы:
- термогравиметрический (ТГ);
- термогравиметрический по производной (ДТГ);
- дифференциально-термический анализ (ДТА) или дифференциально-сканирующую калориметрию (ДСК).
4.5 Идентификация с применением методов термического анализа проводится в два этапа:
- первый этап - получение идентификационных термоаналитических характеристик в результате проведения испытаний с использованием статистических методов обработки и вычисления средних величин и дисперсий;
- второй этап - установление идентичности (тождественности) испытываемого объекта идентификатору на основе сравнения дисперсий и средних величин значимых характеристик термического анализа с использованием статистических критериев: Фишера (F) и t-критерия.
5. Подготовка к испытаниям и их проведение
5.1 Образцы для проведения испытаний отбираются согласно соответствующим стандартам или техническим условиям (например, для лакокрасочных материалов - по ГОСТ 9980.2, для ковровых покрытий и изделий - по ГОСТ 18276.0).
Примечание - Погрешность отбора проб вещества (материала) или средства огнезащиты включает в себя (по ГОСТ Р 52361): погрешность, обусловленную неоднородностью объекта идентификации; погрешность результатов сопутствующих измерений; погрешность, обусловленную изменением состава и/или структуры, и/или свойств пробы в процессе отбора проб и др.
5.2 Приготовление навесок из образцов объектов непосредственно для испытаний проводится с учетом физических свойств веществ (материалов): теплопроводности, теплоемкости, плотности упаковки частиц образца, размеров включенных частиц и т.п.
Примечания
1 Если образец представляет собой гетерогенную смесь разнородных материалов, компоненты которых распределены во всем объеме случайно, то приготовление навески для испытаний проводят, исходя из опыта сохранения представительности, которая в процессе получения идентификационных характеристик оценивается статистически по нескольким параллельным испытаниям.
2 При приготовлении навески образца указанных выше материалов проводят усреднение пробы, т.е. зернистость и объем ее уменьшают размельчением и последующим делением общего объема пробы на части.
3 Для материалов, состоящих из нескольких частей, например ковровых покрытий или многослойных материалов, используют метод стратификации, т.е. разделение продуктов на однородные части и последующее испытание каждой с проведением параллельных испытаний по ГОСТ Р 52361.
5.3 Масса, форма и размер навески образцов для испытаний выбираются в зависимости от типа используемого прибора, при этом указанные характеристики образцов фиксируются в протоколе в соответствии с приложением А.
5.4 Рекомендуемые характеристики навесок для некоторых видов веществ (материалов):
- однородные композиционные вещества (материалы) и огнезащитные составы - масса от 1 до 20 мг, толщина от 0,2 до 2 мм, форма - пластина, диск, кольцо;
- ворс ковровых покрытий, нити, волокна - масса от 1 до 20 мг, при этом рекомендуется использование специальных капсул и других приспособлений для удерживания навесок образцов от расползания;
Идентификатор - объект, впервые прошедший термоаналитические испытания и получивший идентификационные характеристики (опорное значение по ГОСТ Р ИСО 5725, часть 1, пункт 3.5).
- вспучивающиеся огнезащитные покрытия - в форме диска (пластины, кольца) толщиной от 0,2 до 1 мм и массой от 3 до 20 мг, при этом необходимо учитывать увеличение объема образца во время испытаний и не допускать перелива образца из тигля;
- древесина сосны, обработанная пропиточным составом, - в форме пластины, диска, мелкой стружки, слой с поверхности толщиной от 0,5 до 1 мм.
5.5 Перед испытаниями проводят калибровку прибора на стандартных образцах, прилагаемых к данному типу приборов, в соответствии со стандартами [1-6].
Примечание - Требования к приборам термического анализа - в соответствии с приложением Б.
5.6 Стандартные образцы выбираются для каждого метода термического анализа с учетом рекомендаций ГОСТ 9.715, ИСО 11357 [1] и ИСО 11358 [2].
5.7 Погрешность результатов калибровки должна соответствовать параметрам, указанным в инструкции для конкретного типа прибора термического анализа.
5.8 Перед испытаниями должны быть изучены возможные источники систематических погрешностей и учтено их влияние (например, дрейф базисной линии во времени при проведении холостого опыта).
Для этого проводят предварительные испытания и определяют их оптимальные условия: скорость нагревания, массу и форму навески, с учетом приведенных выше рекомендаций. При этом в параллельных испытаниях следует учесть факторы, влияющие на характер термоаналитических кривых (например, вспучивание, расслоение или резкое изменение размеров навески образца в процессе нагревания и т.п.).
5.9 Нагревание образца проводится в динамической окислительной (воздух) или инертной (для коксующихся материалов и средств огнезащиты на органической основе) атмосфере газа. В необходимых случаях, когда требуется повысить сходимость данных, используется переменная динамическая инертная атмосфера газа (азот, аргон) со сменой ее при определенной температуре на окислительную. Смена атмосферы в процессе нагревания проводится также в целях определения коксового и зольного остатков вещества.
Примечания
1 Испытания образцов веществ (материалов), разлагающихся с высокими скоростями потери массы (например, полипропилен, полистирол, полиэтилен и т.п.), проводятся в инертной атмосфере.
2 Температура смены атмосферы определяется для каждого материала индивидуально.
3 Скорость газа во время испытаний от 50 до 100 см3/мин.
4 Требования к газу по ГОСТ 29127 (например, азот особой чистоты - по ГОСТ 9293 с изм. 1, 2, 3).
5.10 Количество проводимых параллельных испытаний и используемые методы термического анализа определяются с учетом специфики исследуемого объекта (состава, однородности и т.п.).
5.11 Рекомендуемое количество параллельных испытаний п от трех до пяти, но не менее трех.
Примечание - В особых случаях допускается проведение двух параллельных испытаний. Особым случаем считают многократные параллельные испытания одних и тех же или однотипных образцов, для которых методически определены форма, масса навески, погрешность, зависящие от структуры образца и других параметров.
5.12 Рекомендуемые основные условия проведения весовых испытаний:
- начальная температура - от 25 °С до 30 °С или температура окружающей среды;
- скорость нагревания - 5, 10, 20 °С/мин;
- атмосфера - инертный газ или воздух с расходом от 50 до 150 мл/мин (рекомендуемая температура переключения газа для полимерных материалов от 500 °С до 650 °С, для огнезащитных красок и термостойких материалов от 750 °С до 850 °С);
- конечная температура - по окончании процесса деструкции (для большинства объектов идентификации не превышает диапазон от 900 °С до 1000 °С).
Примечание - Для получения качественных идентификационных характеристик допускается проведение испытаний в атмосфере воздуха.
5.13 Характеристики термического анализа
5.13.1 Все характеристики ТА, полученные в результате испытаний, разделяют на значимые и качественные.
5.13.2 Значимые идентификационные характеристики ТА:
а) значения температуры, °С, при фиксированных потерях массы (например, 5, 10, 20, 30, 50 %), которые определяются по ТГ-кривым, приведенным на рисунке В.1 (приложение В), для веществ (материалов) и огнезащитных покрытий на полимерной основе.
При определении значений температуры диапазон суммарной потери массы материала разбивается не менее чем на четыре значения. Например, для материалов с потерей массы, не превышающей 10 %, фиксируются температуры при 1, 2, 3, 4, 5 %.
б) потеря массы Dm, %, при фиксированных значениях температуры (например 100, 150, 200, 250, 300 °С и т.д.), определяемая по ТГ-кривым, приведенным на рисунке В.2 (приложение В);
в) значения температуры при максимумах скорости потери массы, определяемые по ДТГ-кривым (см. рисунок В.3 приложения В);
г) скорость потери массы, %/мин, или амплитуда максимумов (ДТГ-максймум), определяемые по ДТГ-кривым, приведенным на рисунке В.3 (приложение В);
д) коксовый остаток, %, который определяется по окончании процесса пиролиза в инертной атмосфере или при фиксированной температуре по ТГ-кривым, приведенным на рисунке В.4 (приложение В);
е) зольный остаток, %, который определяется по окончании процесса термоокисления при фиксированной температуре по ТГ-кривым, приведенным на рисунке В.4 (приложение В);
ж) значения температуры плавления и соответствующие им тепловые эффекты, Дж/г, определяемые по ДСК (ДТА)-кривым (см. рисунок В.5 приложения В).
5.13.3 Качественные характеристики ТА:
а) интервалы температур, внутри которых происходят процессы деструкции по ТГ- и ДТГ-кривым, или тепловых эффектов по ДТА (ДСК)-кривым;
б) экстраполированные значения температуры начала и окончания протекания термоаналитических эффектов (см. рисунок В.3 приложения В);
в) тепловые эффекты в абсолютных единицах, Дж/г, по ДСК-кривым или в относительных единицах, °С×мин/мг, по ДТА-кривым.
6 Обработка результатов испытаний
6.1 В результате термоаналитических испытаний получают соответствующие графические зависимости, которые обрабатываются по схемам, приведенным на рисунках В.1-В.6 (см. приложение В). При этом характеристики ТА, определяемые по а), б) и г) 5.13.2 рекомендуется приводить к безразмерному виду с использованием степени превращения w, которая изменяется в пределах 0 £ w £ 1 (см. рисунок В.6 приложения В), и скорости превращения (см. рисунок А.2.1 приложения А)
(1)
Обработка графических зависимостей проводится с использованием соответствующего программного обеспечения приборов термического анализа.
6.2 В результате обработки графических зависимостей для каждой нормированной точки и нескольких параллельных испытаний определяют:
- среднее арифметическое
по формуле
(2)
где х1, х2, х3... хn - оценка значимой характеристики термического анализа;
- отклонения d от среднего арифметического значения по формулам:
(3)
- квадраты этих отклонений по формулам:
(4)
- среднеквадратическое отклонение повторяемости (сходимости) результатов измерений S для каждой точки по формуле
(5)
6.3 Результаты обработки заносят в протокол испытаний, в котором указывают дату и время испытаний, приводят информацию о материале, заказчике (производителе) и другие сведения в соответствии с приложением А.
7. Установление идентичности образцов
7.1 Идентификация двух испытанных объектов (идентификатора и поступившего повторно на испытания объекта) проводится на основе сравнения следующих критериев идентификации:
- количества ДТГ-максимумов на соответствующих кривых;
- всех значимых характеристик, определенных в разделе 6.
7.2 В этих целях повторно поступивший материал проходит испытания и проводится обработка результатов согласно разделам 5, 6 настоящего стандарта.
7.3 Результаты испытаний сравниваются с аналогичными результатами, полученными для идентификатора. Сравнению подлежат характеристики ТА, полученные на приборах одного класса и при одинаковых условиях эксперимента: массе, форме и размере образцов; форме, размере и материале тигля; виде газа динамической атмосферы и расходе газа; скорости нагревания и др.
7.4 Сравнение результатов проводится по следующей схеме:
7.4.1 Вычисляются дисперсии s для каждой значимой точки по формуле
s = S2. (6)
7.4.2 Выясняется причастность сравниваемых дисперсий одной и той же генеральной совокупности (проверка нуль-гипотезы, т.е. s1 = s2) на основании сравнения критериев Фишера (F-критерий) - экспериментального Fэксп и теоретического Fтеор с использованием следующего неравенства:
где ![]()
- дисперсии нормированных точек идентификатора и идентифицируемого
(повторно поступившего на испытания) материала; при этом в числитель всегда
ставится большая дисперсия, т.е. 
Fтеор - выбирается по таблице 1 в зависимости от уровня значимости a = 1 - Р и числа степеней свободы f1 и f2 (f1 = п1 - 1 для числителя и f2 = п2 - 1 для знаменателя);
Р - доверительная вероятность (рекомендуется принимать равной 0,95 в соответствии с таблицей 1).
Таблица 1 - F-критерий в зависимости от числа степеней свободы f1 и f2 (при вероятности 0,95)
|
f2 |
f1 = 1 |
f1 = 2 |
f1 = 3 |
f1 = 4 |
f1 = 5 |
f1 = 6 |
|
1 |
161 |
200 |
216 |
225 |
230 |
234 |
|
2 |
8,51 |
19,00 |
19,16 |
19,25 |
19,30 |
19,34 |
|
3 |
10,13 |
9,55 |
9,28 |
9,12 |
9,01 |
8,94 |
|
4 |
7,71 |
6,94 |
6,59 |
6,39 |
6,26 |
6,16 |
|
5 |
6,61 |
5,79 |
5,41 |
5,19 |
5,05 |
4,95 |
|
6 |
5,99 |
5,14 |
4,76 |
4,53 |
4,39 |
4,28 |
7.5 Если для каждой значимой характеристики неравенство (7) выполняется, то нуль-гипотеза подтверждается. В этом случае случайные ошибки обеих серий испытаний близки по величине и не вызваны влиянием на них состава материалов. В противном случае (Fэксп > Fтеор) делается вывод о том, что материалы не идентичны, проводятся уточняющие расчеты или дополнительные испытания для выявления причин обнаруженных отклонений.
7.6 В случае выполнения неравенства (7) для каждой значимой характеристики проводится сравнение двух средних с помощью t-критериев (tэксп и tтеор) в следующем порядке:
- для каждой значимой точки определяется усредненная дисперсия по формуле
(8)
где п1 - количество испытаний идентификатора;
п2 - количество испытаний сравниваемого материала;
- вычисляется tэксп по формуле
(9)
7.6.1 Если найденное значение tэксп по абсолютной величине окажется меньше tтеор.
где tтеор определяется по таблице 2 при заданных уровне значимости (a = 1 - Р = 0,05) и числе степеней свободы объединенной выборки (f = п1 + п2 - 2), то нуль-гипотеза принимается и сравнение средних для каждой нормированной характеристики не дает значимого расхождения.
7.6.2 Если при соответствующих значениях a и f (см. таблицу 2) найденное значение tэксп по абсолютной величине окажется больше tтеор (tэксп > tтеор), то нуль-гипотеза отвергается и значения средних для каждой характеристики ТА имеют значимые расхождения. Выясняются причины полученных расхождений.
Таблица 2 - t-критерий в зависимости от вероятности и числа степеней свободы
|
Число степеней свободы f |
Вероятность Р |
|||
|
0,90 |
0,95 |
0,98 |
0,99 |
|
|
2 |
2,92 |
4,30 |
6,97 |
9,93 |
|
3 |
2,35 |
3,18 |
4,54 |
5,84 |
|
4 |
2,13 |
2,78 |
3,75 |
4,60 |
|
5 |
2,01 |
2,57 |
3,37 |
4,03 |
|
6 |
1,94 |
2,45 |
3,14 |
3,71 |
|
7 |
1,89 |
2,36 |
3,00 |
3,50 |
|
8 |
1,86 |
2,31 |
2,90 |
3,36 |
|
9 |
1,83 |
2,26 |
2,82 |
3,25 |
7.7 Сравниваемые образцы материалов считаются идентичными по результатам термического анализа на основании следующих заключений:
- совпадает количество основных (значимых) ДТГ-максимумов;
- значимые характеристики ТА удовлетворяют неравенствам (7) и (10) (см. 7.4-7.6).
7.8 На основании проведенных испытаний составляется протокол в соответствии с приложением А.
7.9 Протокол испытаний должен содержать:
а) параметры проведения съемки, которые включают в себя:
- тип используемого прибора;
- тип устройства для измерения температуры;
- массу образца;
- форму и размер образца;
- скорость нагревания;
- вид и расход газа используемой динамической атмосферы;
- тип тигля и дополнительного контейнера для образца;
- для автоматизированных приборов - скорость съема информации;
б) информацию об образце материала (ГОСТ, ТУ и т.п.);
в) номер аттестата на термоаналитическое оборудование и срок его действия;
г) результаты расчетов характеристик в соответствии с разделом 6.
7.10 Отчет о проведении идентификации должен содержать результаты и выводы по использованным методам идентификации (см. 4.2-4.4).
7.11. При положительном результате испытаний в выводах указывается, что материалы являются идентичными.
7.12 При отрицательном результате испытаний и невыполнении требования 7.6.1 в отчете приводятся соответствующие выводы, на основе которых проводятся корректирующие мероприятия.
7.13 Отчет заверяется подписями исполнителей, выполнивших работу по идентификации.
Приложение
А
(обязательное)
Протоколы результатов термического анализа образцов
Образец протокола А.1
ПРОТОКОЛ № ______от «___»__________20 ___г
результатов термического анализа материалов
А.1.1 Изготовитель ____________________________________________________________
А.1.2 Наименование материала (ТУ, ГОСТ)________________________________________
А.1.3 Дата поступления образца на испытания _____________________________________
А.1.4 Дата проведения испытаний________________________________________________
А.1.5 Аппаратура термического анализа___________________________________________
А.1.6 Аттестат № __________действителен до «_____»____________20 ___г
А. 1.7 Условия проведения испытаний: таблица А.1.1
Таблица А.1.1
|
Условия испытаний |
Используемый метод (модуль) |
|
|
ТГ |
ДСК (ДТА) |
|
|
Термопара (материал, диаметр провода) |
|
|
|
Тигель (материал, объем) |
|
|
|
Масса образца, мг |
|
|
|
Форма образца |
|
|
|
Атмосфера |
|
|
|
Расход газа, мл/мин |
|
|
|
Скорость нагрева, °С/мин |
|
|
|
Конечная температура нагрева, °С |
|
|
А.1.8 Результаты испытаний: таблица А.1.2, рисунок А.1.1 (наименование файлов данных)
Таблица А.1.2
|
Потеря массы Dm, %, при температуре, °С |
Коксовый остаток, %, при Т, °С |
Зольный остаток, %, при Т, °С |
||||||||||||
|
Dmcp |
Dm100 |
Dm200 |
Dm300 |
Dm400 |
Dm500 |
|
|
|||||||
|
|
|
|
|
|
|
|
||||||||
|
S |
|
|
|
|
|
|
|
|||||||
|
Температура, °С, при потере массы |
T5% |
T10% |
T20% |
T50% |
||||||||||
|
Тcp |
|
|
|
|
||||||||||
|
S |
|
|
|
|
||||||||||
|
Характеристика
максимумов ДТГ-пиков в температурном интервале |
||||||||||||||
|
Интервал, °С |
|
|
|
|
|
|
||||||||
|
Тmax cp/Аmax cp |
|
|
|
|
|
|
||||||||
|
S/S |
|
|
|
|
|
|
||||||||
|
Температуры максимумов ДСК (ДТА)-пиков, °С |
||||||||||||||
|
Тmax cp |
|
|
|
|
|
|
||||||||
|
S |
|
|
|
|
|
|
||||||||
Исполнитель /Ф.И.О./
Начальник /Ф.И.О./

1 - ТГ-кривая (потеря массы); 2 - ДТГ-кривая (скорость потери
массы); 3 - температура (скорость нагревания - 20 °С/мин)
Рисунок А.1.1 - Характерные термоаналитические кривые образца материала
Образец протокола А.2
ПРОТОКОЛ № ____от «___»__________20 ___г
результатов термического анализа материалов
А.2.1 Изготовитель ____________________________________________________________
А.2.2 Наименование материала (ТУ, ГОСТ)________________________________________
А.2.3 Дата поступления образца на испытания _____________________________________
А.2.4 Дата проведения испытаний________________________________________________
А.2.5 Аппаратура термического анализа___________________________________________
А.2.6 Аттестат № __________ действителен до "_____"____________20___ г
А.2.7 Условия проведения испытаний: таблица А.2.1
Таблица А.2.1
|
Условия испытаний |
Используемый метод (модуль) |
|
Термопара (материал, диаметр провода) |
|
|
Тигель(материал, объем) |
|
|
Масса образца, мг |
|
|
Форма образца |
|
|
Атмосфера |
|
|
Расход газа, мл/мин |
|
|
Скорость нагрева, °С/мин |
|
|
Конечная температура нагрева, °С |
|
А.2.8 Результаты испытаний: таблица А.2.2, рисунок А.2.1 (наименование файлов данных)
Таблица А.2.2
|
Степень превращения w при температуре, °С |
||||||
|
Т |
100 |
200 |
300 |
400 |
500 |
600 |
|
wср |
|
|
|
|
|
|
|
S |
|
|
|
|
|
|
|
Температура, °С, при степени превращения w |
w0,05 |
w0,10 |
w0,20 |
w0,30 |
w0,40 |
w0,50 |
|
Тmax cp, °С |
|
|
|
|
|
|
|
S |
|
|
|
|
|
|
|
Характеристика максимумов скорости превращения |
||||||
|
|
|
|||||
|
S |
|
|||||
Исполнитель: /Ф.И.О./
Начальник: /Ф.И.О./

1 - степень превращения 03; 2 - скорость превращения ![]()
Рисунок А.2.1 - Характерные термоаналитические кривые
образца материала
Приложение
Б
(обязательное)
Требования к приборам, применяемым для проведения идентификации
Б.1 Для проведения идентификации методами термического анализа применяют приборы, внесенные в Госреестр средств измерений и имеющие Сертификат об утверждении типа средств измерений, а также действующее Свидетельство о поверке.
Б.2 Для идентификации применяют автоматизированные приборы термического анализа, имеющие соответствующее программное обеспечение для обработки результатов, следующих типов:
- модульные, в которых каждому методу соответствует один прибор (например, только ТГ или только ДТА);
- совмещенные, в которых разные методы (ТГ, ДТА или ДСК) реализуются одним прибором;
- с горизонтальным или вертикальным размещением реакционных камер и механизмов весов;
- одно- или двухчашечные.
Б.3 Программное обеспечение должно позволять получать автоматическое представление измеряемого сигнала (ТГ, ДТА или ДСК) в виде зависимости «сигнал - температура» или «сигнал - время».
Б.4 Требования к термовесовым устройствам:
- взвешивание образца должно проводиться с точностью ± 0,1 мг или выше;
- температурный диапазон нагревания - не менее 1000 °С;
- погрешность измерения температуры - не более 2 °С;
- скорость нагревания - от 5 °С/мин до 20 °С/мин;
- возможность осуществлять контроль атмосферы на входе в реакционную камеру и на выходе из нее;
- возможность устанавливать расход продувочного газа с регулировкой ± 10 %.
Б.5 Требования к дифференциальным сканирующим калориметрам:
- обеспечение возможности работать с постоянными скоростями нагрева в диапазоне от 1 °С/мин до 20 °С/мин;
- погрешность измерения температуры не более 1 °С;
- чувствительность не хуже 10 мкВт;
- динамическая атмосфера с возможностью устанавливать скорость потока продувочного газа с регулировкой ± 10 %;
- температурный диапазон нагревания не менее 500 °С.
Б.6 Требования к дифференциально-термическим анализаторам:
- обеспечение возможности работать с постоянными скоростями нагревания в диапазоне от 5 °С/мин до 20 °С/мин;
- погрешность измерения температуры - не более 2,5 °С;
- чувствительность не хуже 0,1 мВ;
- динамическая атмосфера с возможностью устанавливать скорость потока продувочного газа с регулировкой ± 10 %;
- температурный диапазон нагревания не менее 1000 °С.
Приложение
В
(рекомендуемое)
Схемы определения характеристик термического анализа

1 - ТГ-кривая (потеря
массы); 2 - температура; 3 - характерные точки ТГ-кривой; 4 - температура при
потере 10 % и 50 % массы
Рисунок В.1 - Схема определения характерных
значений температуры при фиксированных значениях потери массы (в координатах
«потеря массы - время»)

1 - ТГ-кривая (потеря массы); 2 - температура; 3 – характерные
точки ТГ-кривой; 4 – потеря массы при 300 °С и 400 °С
Рисунок В.2 - Схема определения характерных значений
потери массы при фиксированных значениях температуры (в координатах «потеря
массы - время»)

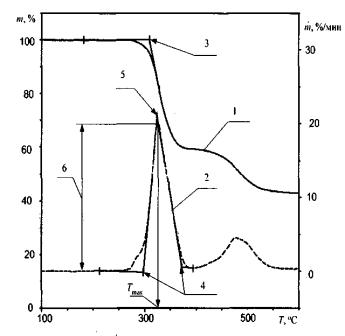
1 - ТГ-кривая; 2 - ДТГ-кривая; 3 - экстраполированная температура
начала процесса по ТГ-кривой; 4 - экстраполированные температуры начала и
окончания процесса по ДТГ-кривой; 5 - экстраполированная температура максимума
по ДТГ-кривой; 6 - амплитуда скорости потери массы по ДТГ-кривой
Рисунок В.3 - Схема определения экстраполированных
температур (3, 4, 5) по ТГ(1) и ДТГ(2)-кривым

1 - ТГ-кривая; 2 - ДТГ-кривая; 3 - коксовый остаток при 750 °С; 4 -
зольный остаток при 900 °С
Рисунок В.4 - Схема определения коксового и зольного
остатков по термогравиметрической кривой (в координатах «сигнал - температура»)

1 - ДСК-кривая; 2 - температура экстремума теплового эффекта
плавления; 3 - тепловой эффект плавления (DНпл); 4
- экстраполированная температура начала плавления (Тпл); 5 -
нулевая линия
Рисунок В.5 - Схема определения характеристик плавления
по ДСК-кривой (в координатах «сигнал - температура»)

1 - по термогравиметрической кривой т =f(Т); 2 - по кривой степени
превращения w
=f(T)
Рисунок В.6 - Схема определения идентификационных
характеристик при фиксированной температуре Т = 300 °С
Библиография
[1] ИСО 11357:1997 «Пластмассы. Дифференциально-сканирующая калориметрия ДСК» (ISO 11357:1997 «Plastics. Differential Scaning Calorimetry (DSC)»)
[2] ИСО 11358:1997 «Пластмассы. Термогравиметрия полимеров. Оновные принципы» (ISO 11358:1997 «Plastics. Thermogravimetry (TG) of Polymers. General Principles»)
[3] АСТМ E 967-97 «Температурная калибровка дифференциальных сканирующих калориметров и дифференциальных термических анализаторов» (ASTM Е 967-97 «Standard Practice for Temperature Calibration of Differential Scanning Calorimeters and Differential Thermal Analyzers»)
[4] АСТМ E 968-99 «Калибровка по тепловому потоку в дифференциальном сканирующем калориметре» (ASTM Е 968-99 «Standard Practice for Heat Flow Calibration of Differential Scanning Calorimeters»)
[5] АСТМ E 1131-98 «Стандартный метод композиционного анализа с применением термического анализа» (ASTM Е 1131-98 «Standard Test Method for Compositional Analysis by Thermogravimetry»)
[6] АСТМ E 1582-93 «Стандартный метод калибровки температуры в термогравиметрии» (ASTM Е 1582-93 «Standard Practice for Calibration of Temperature Scale for Thermogravimetry»)
Ключевые слова: вещества, материалы, средства огнезащиты, идентификация, термический анализ
Хотите оперативно узнавать о новых публикациях нормативных документов на портале? Подпишитесь на рассылку новостей!
Все ГОСТы >> ГОСТы «Сети, автоматизация, безопасность, связь >>
