ГОСТ Р 52902-2007 Тара транспортная наполненная. Методы испытания на устойчивость к воздействию водяных брызг
|
ФЕДЕРАЛЬНОЕ АГЕНТСТВО |
||
|
|
НАЦИОНАЛЬНЫЙ СТАНДАРТ российской ФЕДЕРАЦИИ |
ГОСТ Р 52902- 2007 (ИСО 2875:2000) |
Тара транспортная наполненная
МЕТОДЫ
ИСПЫТАНИЯ НА УСТОЙЧИВОСТЬ
К ВОЗДЕЙСТВИЮ ВОДЯНЫХ БРЫЗГ
ISO 2875: 2000
Packaging - Complete, filled
transport packages
and unit loads - Water-spray test
(MOD)
|
|
Москва Стандартинформ 2008 |
Предисловие
Цели и принципы стандартизации в Российской Федерации установлены Федеральным законом от 27 декабря 2002 г. № 184-ФЗ «О техническом регулировании», а правила применения национальных стандартов Российской Федерации - ГОСТ Р 1.0-2004 «Стандартизация в Российской Федерации. Основные положения»
Сведения о стандарте
1 РАЗРАБОТАН И ВНЕСЕН Техническим комитетом по стандартизации ТК 223 «Упаковка»
2 УТВЕРЖДЕН И ВВЕДЕН В ДЕЙСТВИЕ Приказом Федерального агентства по техническому регулированию и метрологии от 27 декабря 2007 г. № 605-ст
3 Настоящий стандарт является модифицированным по отношению к международному стандарту ИСО 2875:2000 «Упаковка. Наполненная транспортная тара и единичные грузы. Испытание на устойчивость к воздействию водяных брызг» (ISO 2875:2000 «Packaging - Complete, filled transport packages and unit loads - Water-spray test») путем введения дополнительных приложений Б и В с учетом потребностей национальной экономики Российской Федерации, которые выделены заключением их в рамки из тонких линий
4 ВВЕДЕН ВПЕРВЫЕ
Информация об изменениях к настоящему стандарту публикуется в ежегодно издаваемом информационном указателе «Национальные стандарты», а текст изменений и поправок - в ежемесячно издаваемых информационных указателях «Национальные стандарты». В случае пересмотра (замены) или отмены настоящего стандарта соответствующее уведомление будет опубликовано в ежемесячно издаваемом информационном указателе «Национальные стандарты». Соответствующая информация, уведомление и тексты размещаются также в информационной системе общего пользования - на официальном сайте Федерального агентства по техническому регулированию и метрологии в сети Интернет
Содержание
НАЦИОНАЛЬНЫЙ СТАНДАРТ РОССИЙСКОЙ ФЕДЕРАЦИИ
Тара транспортная наполненная
МЕТОДЫ ИСПЫТАНИЯ НА УСТОЙЧИВОСТЬ К ВОЗДЕЙСТВИЮ ВОДЯНЫХ БРЫЗГ
Complete filled transport packages. Water-spray resistance test methods
Дата введения - 2008-09-01
1 Область применения
Настоящий стандарт устанавливает методы испытания (А и Б) наполненной транспортной тары или единичных грузов (далее - упаковка) на устойчивость к воздействию водяных брызг или защиту содержимого от водяных брызг.
Методы могут применяться для предварительных испытаний упаковки (до проведения других испытаний) с целью определения снижения прочности упаковки, вызванного воздействием водяных брызг, или определения изменения ее товарного вида.
Испытание может быть проведено в качестве самостоятельной проверки либо как часть комплекса последовательных испытаний.
2 Нормативные ссылки
В настоящем стандарте использованы нормативные ссылки на следующие стандарты:
ГОСТ 16350-80 Климат СССР. Районирование и статистические параметры климатических факторов для технических целей
ГОСТ 17527-2003 Упаковка. Термины и определения
ГОСТ 18106-72 Тара транспортная наполненная. Обозначение частей для испытаний (ИСО 2206:1987 «Тара транспортная с товарами. Обозначение частей тары при испытаниях», MOD)
ГОСТ 21798-76 Тара транспортная наполненная. Метод кондиционирования для испытаний (ИСО 2233:2000 «Упаковка. Наполненные упаковки. Грузовые упаковки. Кондиционирование перед испытанием», MOD)
Примечание - При пользовании настоящим стандартом целесообразно проверить действие ссылочных стандартов в информационной системе общего пользования - на официальном сайте Федерального агентства по техническому регулированию и метрологии в сети Интернет или по ежегодно издаваемому информационному указателю «Национальные стандарты», который опубликован по состоянию на 1 января текущего года, и по соответствующим ежемесячно издаваемым информационным указателям, опубликованным в текущем году. Если ссылочный стандарт заменен (изменен), то при пользовании настоящим стандартом следует руководствоваться заменяющим (измененным) стандартом. Если ссылочный стандарт отменен без замены, то положение, в котором дана ссылка на него, применяется в части, не затрагивающей эту ссылку.
3 Термины и определения
В настоящем стандарте применены термины по ГОСТ 17527, а также следующий термин с соответствующим определением:
3.1 испытуемый образец: Наполненная транспортная тара или единичный груз.
4 Сущность методов
Испытуемый образец помещают в камеру для испытаний, где верхнюю поверхность упаковки подвергают воздействию водяных брызг непрерывно (метод А) или прерывисто (метод Б).
5 Оборудование
Решетчатое дно и размеры ячеек решетки должны обеспечивать достаточную жесткость для того, чтобы не вызывать деформацию образца.
Высота камеры должна быть такой, чтобы расстояние между разбрызгивающими насадками и ближайшей точкой на поверхности испытуемого образца было не менее 2 м при условии, что капли падают вертикально.
Размеры пола камеры должны превышать не менее чем на 50 % размеры основания испытуемого образца.
5.2 Разбрызгиватели должны иметь насадки, конструкция которых обеспечивает вертикальное падение воды с удельным расходом (100 ± 20) л/м2·ч на горизонтальную поверхность, расположенную на расстоянии 2 м от насадок разбрызгивателя. Вода должна подаваться равномерно в соответствии с требованиями, установленными для метода А или Б:
5.3 Система снабжения водой должна обеспечивать подачу воды температурой от 5°С до 30°С со скоростью и давлением, предусмотренными конструкцией разбрызгивателей (5.2) и установленными в нормативных документах на конкретные виды тары. Схема установки для проведения испытания приведена в приложении А.
6 Подготовка к испытанию
6.1 Испытуемые образцы заполняют продукцией, для которой она предназначена.
Если для заполнения испытуемых образцов используют бутафорию, то ее размеры, масса и физические свойства должны соответствовать или быть близкими к свойствам заменяемой продукции.
Испытуемые образцы закрывают и укупоривают таким же способом, как и предназначенные для эксплуатации и реализации. В случае применения бутафории применяют обычный способ укупоривания.
6.2 Количество образцов для испытаний на устойчивость к воздействию водяных брызг отбирают в соответствии с нормативными документами на упаковку конкретного вида изделий или продукции.
Если в нормативных документах не указано количество образцов, то отбирают не менее 10 образцов.
6.3 Перед испытанием тары (упаковки) на устойчивость к воздействию водяных брызг проводят контрольное определение прочности и защитных свойств тары (упаковки), для чего отбирают такое же количество образцов, как указано 6.2.
6.4 Каждому образцу присваивают порядковый номер, а поверхности обозначают в соответствии с ГОСТ 18106.
6.5 Перед испытанием образцы кондиционируют. Условия и длительность кондиционирования устанавливают в соответствии с требованиями нормативных документов на упаковку конкретного вида изделий или продукции.
Если в нормативных документах не оговорен режим кондиционирования, образцы кондиционируют по режиму 5 ГОСТ 21798 (температура - 20°С и относительная влажность - 65 %).
6.6 Длительность испытания тары (упаковки) на устойчивость к воздействию водяных брызг определяют с учетом числа перегрузок, сроков и условий хранения транспортируемой продукции на открытом воздухе.
Рекомендуемые данные для расчета длительности испытаний с учетом климатических районов приведены в приложении Б, примеры расчета длительности испытаний - в приложении В.
6.7 Подготовка установки к проведению испытания
Разбрызгиватели устанавливают таким образом, чтобы они находились на высоте не менее 2 м от поверхности испытуемого образца, а отверстия насадок были направлены вертикально вниз.
7 Проведение испытания и оформление результатов испытания
7.1 Высоту разбрызгивателей (5.2) регулируют таким образом, чтобы расстояние между разбрызгивающими насадками и ближайшей точкой испытуемого образца составляло не менее 2 м. Включают разбрызгиватели для стабилизации подачи.
Если нет специальных указаний, температура разбрызгиваемой воды и температура в камере для испытаний (5.1) должны быть в пределах от 5°С до 30°С.
7.2 Испытуемый образец помещают в центре камеры в заданном положении и при заданной температуре таким образом, чтобы капли воды падали на него вертикально.
Включают разбрызгиватели, которые в зависимости от выбранного метода действуют непрерывно (метод А) или прерывисто (метод Б) с заданной интенсивностью в течение заданного периода времени.
7.3 Внешний осмотр и проверку определяемых свойств испытуемого образца проводят через 1 - 2 мин после стока воды с целью проверки защитных свойств упаковки и/или проникновения воды.
7.4 Наличие в таре капель воды определяют визуально, водяных паров - размещением внутри тары специальных датчиков влажности, самописцев или осушителей-индикаторов.
7.5 Оценку защитных свойств тары (упаковки) после испытания проводят путем проверки изменений рабочих характеристик упакованной продукции или изделий и пригодности их к дальнейшему использованию в соответствии с нормативными документами на данный вид продукции или изделия.
7.6 Испытуемый образец тары (упаковки) считают выдержавшим испытание, если после воздействия водяных брызг он соответствует требованиям нормативного документа на конкретный вид упаковки.
7.7 Результаты испытания оформляют протоколом, в котором указывают:
- ссылку на настоящий стандарт;
- наименование и адрес лаборатории, проводившей испытание;
- наименование и адрес заказчика;
- наименование и обозначение отчета;
- дату получения образцов для испытаний и дату проведения испытаний;
- фамилии, имена, отчества, научные звания и подписи людей, ответственных за проведение испытаний;
- информацию о том, что результаты испытания распространяются только на испытанные образцы упаковки;
- информацию о том, что результаты испытания не могут быть использованы без письменного разрешения лаборатории, проводившей испытания;
- количество образцов упаковки, подвергнутых испытанию;
- полное описание испытанных образцов тары (упаковки), включая размеры, описание конструкции, материалов, из которых изготовлена тара (упаковка), способ укупоривания и укупорочные средства, вспомогательные упаковочные материалы, массу испытанного образца, массу упакованной продукции (бутафории), кг;
- описание упакованной продукции или бутафории;
- относительную влажность, температуру и время кондиционирования с указанием соответствия этих параметров какому-либо режиму по ГОСТ 21798;
- метод испытания (метод А или метод Б);
- положение упаковки во время испытания с учетом обозначения по ГОСТ 18106;
- температуру в камере для испытаний и температуру воды во время испытаний;
продолжительность испытания;
- любое отклонение от метода испытания, описанного в настоящем стандарте;
- результаты испытания и все замечания, которые могут помочь их правильной оценке.
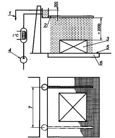
Приложение
А
(рекомендуемое)
Схема установки для проведения испытания на устойчивость к воздействию водяных
брызг

1 - регулируемый уровень подачи воды; 2 - разбрызгиватель или ряд разбрызгивателей воды; 3 - испытуемый образец; 4 - насос для подачи воды; 5 - решетка; 6 - водосток; 7 - зона перемещения разбрызгивателя
Рисунок А.1
Приложение
Б
(рекомендуемое)
Данные для расчета длительности испытаний на устойчивость к воздействию водяных
брызг с учетом климатических районов
|
Таблица Б.1
|
|||||||||||||||||||||||||||||||||||||||||||||||||||||||||||||||||||||
Приложение
В
(рекомендуемое)
Примеры расчета длительности испытания тары на устойчивость к воздействию
водяных брызг
|
Примеры 1 Упакованный груз транспортируют из Минска в Новороссийск с перегрузкой в Москве. Длительность испытания при погрузке в Минске - 6 мин, при перегрузке в Москве - 7 мин, при выгрузке в Новороссийске - 6 мин. Общая продолжительность испытания составит: 6 + 7 + 6 = 19 мин. 2 Упакованный груз транспортируют из Минска во Владивосток с перегрузкой в Москве и хранением во Владивостоке на открытом воздухе в течение 2 мес. Длительность испытания при погрузке в Минске - 6 мин, при перегрузке в Москве - 7 мин, при выгрузке во Владивостоке - 20 мин, длительность испытания при хранении в течение 2 мес. составит (2 ч 10 мин:3) × 2 = 87 мин. Общая продолжительность испытания составит: 6 + 7 + 20 + 87 = 120 мин.
|
Ключевые слова: методы испытания, наполненная транспортная тара, водяные брызги, единица груза, упаковка, испытуемый образец, защитные свойства
Хотите оперативно узнавать о новых публикациях нормативных документов на портале? Подпишитесь на рассылку новостей!

