ГОСТ Р 51864-2002 Тара. Методы испытания прочности крепления ручек
ГОСТ Р 51864-2002
ГОСУДАРСТВЕННЫЙ СТАНДАРТ РОССИЙСКОЙ ФЕДЕРАЦИИ
ТАРА
Методы испытания прочности крепления ручек
ГОССТАНДАРТ РОССИИ
Москва
Предисловие
1 РАЗРАБОТАН И ВНЕСЕН Техническим комитетом по стандартизации ТК 385 «Материалы лакокрасочные на природных связующих. Растворители. Сиккативы. Вспомогательные материалы. Тара, упаковка, маркировка и транспортирование лакокрасочных материалов»
2 ПРИНЯТ И ВВЕДЕН В ДЕЙСТВИЕ Постановлением Госстандарта России от 24 января 2002 г. № 29-ст
3 ВВЕДЕН ВПЕРВЫЕ
СОДЕРЖАНИЕ
ГОСТ Р 51864-2002
ГОСУДАРСТВЕННЫЙ СТАНДАРТ РОССИЙСКОЙ ФЕДЕРАЦИИ
ТАРА
Методы испытания прочности крепления ручек
Packagings. Testing methods of handle fastening strength
Дата введения 2003-01-01
1 Область применения
Настоящий стандарт распространяется на потребительскую и транспортную тару (далее - тару), применяемую для транспортирования и хранения продукции промышленного и бытового назначения, и устанавливает методы испытания прочности крепления ручек и других съемных и несъемных специальных приспособлений для ее переноса и перемещения.
Методы предназначены для контроля прочности крепления ручек и других приспособлений следующих видов тары:
- банок металлических и полимерных;
- бутылок и бутылей полимерных;
- бочек, барабанов, фляг, канистр металлических и полимерных;
- ящиков металлических, полимерных и деревянных;
- пакетов бумажных и полимерных;
- мешков бумажных, полимерных и тканевых.
2 Нормативные ссылки
В настоящем стандарте использованы ссылки на следующие стандарты:
ГОСТ 13837-79 Динамометры общего назначения. Технические условия
ГОСТ 16504-81 Система государственных испытаний продукции. Испытания и контроль качества продукции. Основные термины и определения
ГОСТ 21798-76 Тара. Метод кондиционирования для испытаний
ГОСТ Р 8.568-97 Государственная система обеспечения единства измерений. Аттестация испытательного оборудования. Основные положения
3 Определения
В настоящем стандарте применяют термины по ГОСТ 16504, а также следующие термины с соответствующими определениями:
3.1 ручка тары: Приспособление, предназначенное для ручного перемещения тары.
3.2 прочность ручек тары: Способность ручек и элементов тары противостоять без разрушения статическим и динамическим усилиям при ее эксплуатации.
3.3 способ контроля: Техническое осуществление метода контроля.
3.4 испытательное устройство (стенд): Техническая конструкция (аппарат), предназначенная (ый) для проведения испытаний по заданному методу.
3.5 скорость нарастания усилия: Возрастание нагрузки на испытываемый образец тары в единицу времени.
4 Средства испытаний и контроля
4.1 При проведении испытаний в зависимости от применяемой тары и метода контроля применяют средства испытаний и контроля, имеющие технические характеристики в соответствии с приложениями А и Б.
4.2 Методы контроля
Сущность метода испытания прочности элементов тары состоит в приложении к испытываемому элементу (ручке, креплению ручки) заданной нагрузки в течение установленного времени и контроле его состояния (повреждений, разрушений) после воздействия.
Испытания элементов тары проводят методами с применением сосредоточенной и распределенной нагрузок.
Метод 1. Испытание прочности элемента для перемещения (переноса) тары при сосредоточенной нагрузке в соответствии со схемой, представленной на рисунке 1.
Метод 2. Испытание прочности элемента для перемещения (переноса) при распределенной нагрузке в соответствии со схемой, представленной на рисунке 2.
4.3 При наличии одного элемента (одной ручки) испытательное усилие прикладывают в направлении действия силы тяжести в соответствии со схемой, представленной на рисунке 3.
1 - разрывающее усилие; 2 - приспособление, имитирующее сосредоточенную нагрузку; 3 - испытываемая ручка тары; 4 - испытываемая тара
Рисунок 1 - Схема испытаний при сосредоточенной нагрузке
1 - разрывающее усилие; 2 - приспособление, имитирующее распределенную нагрузку; 3 - испытываемая ручка тары; 4 - испытываемая тара
Рисунок 2 - Схема испытаний при распределенной нагрузке
При наличии двух элементов (двух ручек) испытание проводят дважды с приложением нагрузки в направлении действия приложения силы и в направлении действия силы тяжести при подвешивании испытываемого образца тары за один элемент в соответствии со схемами, представленными на рисунках 4 и 5.
4.4 Значение прилагаемого усилия указывают в нормативном документе на тару. При отсутствии указаний значение прилагаемого усилия должно быть не менее:
трехкратного значения массы брутто - для тары с одной ручкой;
двухкратного значения массы брутто (на каждую ручку) - для тары с двумя ручками. При применении тары под материалы, имеющие различную плотность, массу брутто определяют по материалу, имеющему наибольшую плотность.
4.5 Распределенное прилагаемое усилие создают прикреплением к испытываемой ручке тары приспособления в виде оправки размером 120-130 мм (средняя ширина руки человека) и формы, соответствующей форме испытываемой ручки. Распределенное усилие создают по двум направлениям:
- вдоль линии вертикальной оси тары, проходящей через центр тяжести заполненной тары; контроль прилагаемого усилия проводят по динамометру растяжения (рисунки 2-4);
- вдоль линии, проходящей через центр тяжести испытываемой тары и ручку; контроль прилагаемого усилия проводят по динамометру растяжения (рисунки 2, 5).
1 - линия, проходящая через центр тяжести по вертикальной оси тары; 2 - направление прилагаемого усилия к ручке тары; 3 - испытываемая ручка тары; 4 - испытываемая тара; 5 - центр тяжести испытываемой тары
Рисунок 3 - Схема испытания по линии, проходящей через вертикальную ось и центр тяжести тары
1 - вертикальная ось тары; 2 - направление усилия, прилагаемого к ручке тары; 3 - испытываемая ручка; 4 - испытываемая тара; 5 - центр тяжести испытываемой тары
Рисунок 4 - Схема испытания по линии, проходящей параллельно вертикальной оси тары
1 - линия, проходящая через центр тяжести и ручку; 2 - направление усилия, прилагаемого к ручке тары; 3 - испытываемая ручка тары при центральном расположении ручек; 4 - испытываемая тара; 5 - центр тяжести испытываемой тары
Рисунок 5 - Схема испытания по линии, проходящей через центр тяжести и ручку
5 Отбор образцов
5.1 Количество образцов тары должно быть установлено в стандартах или других нормативных документах на тару.
Если в стандартах или других нормативных документах на тару не указано количество образцов, отбирают не менее 5 образцов.
6 Подготовка к проведению испытаний
6.1 Условия проведения испытаний устанавливают в стандартах и других нормативных документах на тару. При отсутствии указаний условия проведения испытаний устанавливают следующие:
температура окружающего воздуха - (293 ± 10) К [(20 ± 10) °С];
относительная влажность воздуха - (65 ± 20) %;
атмосферное давление - (100 ± 4) кПа [(750 ± 30) мм рт. ст.].
6.2 Перед началом испытаний проверяют соответствие условий проведения испытаний и средств измерений требованиям настоящего стандарта.
Если средства испытаний и измерений до начала испытаний находились в условиях, отличных от установленных, их выдерживают в установленных условиях не менее 2 ч.
6.3 Образцы тары из полимерных материалов кондиционируют, образцы металлической тары не кондиционируют.
Необходимость кондиционирования образцов тары из деревянных, бумажных и тканевых материалов устанавливают в стандартах и других нормативных документах на тару.
6.4 Условия кондиционирования устанавливают в стандартах и других нормативных документах на тару. Если в стандартах и других нормативных документах на конкретную тару не оговорен режим кондиционирования, образцы кондиционируют по режиму 4 ГОСТ 21798.
Время кондиционирования - не менее 3 ч при температуре (20 ± 2) °С и относительной влажности (65 ± 5) %.
6.5 Образцы испытываемой тары должны быть собраны, включая укупорочные средства: пробки, крышки, уплотнительные кольца, прокладки и т.п.
6.6 Каждому образцу присваивают порядковый номер.
6.7 Стенды и технологическую оснастку для испытаний подготавливают в соответствии с паспортом на стенд.
7 Порядок проведения испытаний
7.1 Испытание прочности элемента для перемещения (переноса) при сосредоточенной нагрузке
7.1.1 Испытания проводят по методу 1 в соответствии со схемой, приведенной на рисунке 1.
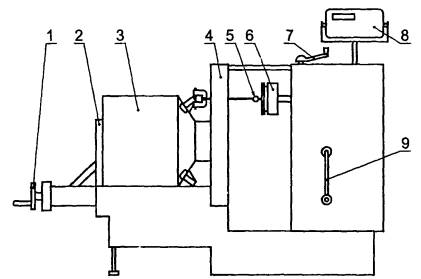
При испытаниях на универсальном устройстве (приложение Б, рисунок Б.1) образец тары 6 зажимают между подвижным 5 и неподвижным 3 упорами.
Ручку 7 зацепляют за крюк динамометра 4 и рукояткой 1 с помощью винта 2, соединенного с динамометром, прикладывают к ней сосредоточенную нагрузку, плавно увеличивая прилагаемое усилие до значения, указанного в нормативных документах на тару, или до разрушения испытываемого элемента.
Скорость нарастания прилагаемого усилия указывают в нормативных документах.
При отсутствии указания в нормативных документах на тару скорости нарастания прилагаемого усилия ее принимают равной 100 - 120 Н/мин.
Контроль прилагаемого усилия проводят по динамометру.
При заданном усилии образец тары выдерживают в течение времени, указанного в нормативных документах на тару, при отсутствии указаний времени образец тары выдерживают в течение 5 мин.
При испытаниях на стенде (приложение Б, рисунок Б.2) образец тары 3 с помощью устройства прижима тары 1 закрепляют между подвижным 2 и неподвижным 4 упорами. Через прорезь в неподвижном упоре испытываемую ручку соединяют с серьгой 5, расположенной вместе с датчиком усилий 6 на подвижном штоке гидроцилиндра. Для соединения используют индивидуальные приспособления для конкретного вида тары. Высоту подъема гидроцилиндра регулируют рукояткой 9. При вращении рукоятки привода гидронасоса 7 на цифровом вольтметре 8 устанавливают заданную нагрузку.
Скорость нарастания прилагаемого усилия, значение нагрузки, время выдержки под нагрузкой - аналогично 7.1.2.
7.2 Испытание прочности элемента для перемещения (переноса) при распределенной нагрузке
7.2.1 Испытания проводят по методу 2 в соответствии со схемой, приведенной на рисунке 2.
7.2.2 Испытания проводят аналогично 7.1.2.
Нагрузку прикладывают с помощью приспособления распределенной нагрузки, имитирующего ширину кисти руки человека (120-130 мм).
Контроль прилагаемого усилия проводят по цифровому вольтметру электронного измерителя усилий стенда.
8 Допустимая погрешность при испытаниях
При использовании динамометров класса точности 1,0 погрешность измерения - 2,5 %.
При использовании динамометров класса точности 2,0 погрешность измерения - 5 %.
При использовании электронного измерителя усилия погрешность измерения - 1 %.
9 Результаты испытаний
9.1 Тару считают выдержавшей испытания, если отсутствуют видимые повреждения (трещины, вмятины, разрывы) элементов тары (ручек и мест крепления ручек).
Результат испытаний считают удовлетворительным, если количество образцов, выдержавших испытания, соответствует установленному в стандартах или других нормативных документах на тару.
10 Правила оформления результатов испытаний
10.1 Результаты испытаний оформляют протоколом, содержащим:
- количество образцов;
- полное описание образцов, включая размеры, конструкцию, средства соединения и укупоривания;
- обозначение стандарта или других нормативных документов, по которым изготовлена тара;
- условия испытания и кондиционирования;
- метод испытания образцов тары;
- тип применяемого стенда и тип измерительного прибора;
- прилагаемое усилие;
- результат испытаний каждого образца;
- процент годных образцов из испытываемой партии;
- заключение по результатам испытаний каждого образца и всей выборки вместе со всеми примечаниями, поясняющими их;
- обозначение настоящего стандарта;
- дату проведения испытаний;
- подпись лица, проводившего испытания.
Форма протокола представлена в приложении В.
ПРИЛОЖЕНИЕ А
(рекомендуемое)
Средства испытаний и контроля
Таблица А.1
|
Метод контроля |
Испытательное оборудование |
Средство контроля |
Вспомогательное оборудование и материалы |
|
1,2 |
Стенд для испытания элементов тары на прочность (приложение Б). Универсальное устройство для испытания элементов тары на прочность (приложение Б). Разрывные машины любого типа на усилие, превышающее на 20 %-50 % максимальное испытательное усилие |
Электронный измеритель усилия с пределом измерения 0-200 кгс, 0-500 кгс в составе: датчик ДСТ-1909, усилитель ПА-1, цифровой вольтметр с пределом измерения 0-1 В. Динамометры растяжения типа ДПУ с пределом измерения, превышающим на 20 %-50 % максимальное испытательное усилие |
Приспособления для создания направленного усилия сосредоточенной и распределенной нагрузок и для крепления тары в необходимом положении |
Для проведения испытаний рекомендуется применять нижеприведенные типы и модели средств измерений или любые иные типы и модели, занесенные в Государственный Реестр и имеющие технические характеристики не хуже, чем у рекомендуемых средств измерений.
Динамометры:
- динамометр общего назначения ДПУ-0,1 с верхним пределом 100 кН (10 кгс) по ГОСТ 13837;
- динамометр общего назначения ДПУ-0,2 с верхним пределом 200 кН (20 кгс) по ГОСТ 13837;
- динамометр общего назначения ДПУ-0,5 с верхним пределом 500 кН (50 кгс) по ГОСТ 13837;
- динамометр общего назначения ДПУ-2 с верхним пределом 2000 кН (200 кгс) по нормативным документам;
- динамометр общего назначения ДПУ-5 с верхним пределом 5000 кН (500 кгс) по нормативным документам.
Разрывные машины:
- разрывная машина общего назначения Р-0,5 с верхним пределом 5000 кН (500 кгс);
- разрывная машина общего назначения МР-0,5-1 с верхним пределом 5000 кН (500 кгс).
При проведении испытаний допускается использование специализированных установок (стендов), реализующих настоящие методы контроля и аттестованных в соответствии с ГОСТ Р 8.568.
ПРИЛОЖЕНИЕ Б
(рекомендуемое)
Схемы оборудования для испытаний элементов тары на прочность
1 - рукоятка винта; 2 - винт; 3 - каркас (неподвижный упор); 4 - динамометр; 5 - подвижный упор; 6 - испытываемая тара; 7 - ручка
Рисунок Б.1 - Схема универсального устройства для испытания элементов тары на прочность с контролем измерения усилия по динамометру
1 - устройство прижима тары; 2 - подвижный упор; 3 - испытываемая тара; 4 - неподвижный упор; 5 - серьга; 6 - датчик усилия; 7 - рукоятка привода гидронасоса; 8 - цифровой вольтметр; 9 - рукоятка подъема гидроцилиндра
Рисунок Б.2 - Схема стенда для испытания элементов тары на прочность с применением электронного измерения усилия
ПРИЛОЖЕНИЕ В
(рекомендуемое)
Форма протокола испытаний
|
Утверждаю: Руководитель предприятия (организации) _____________ __________________ подпись Ф.И.О. «___» ________________ г. ПРОТОКОЛ ИСПЫТАНИЙ № от «___» _____________ г. Предприятие (организация) ___________________________________________________ Тара _______________________________________________________________________ вид, тип, номер по НД, размеры, обозначение нормативного документа Дата поступления образцов ___________________________________________________ число, месяц, год Количество образцов ________________________________________________________ штуки Дата проведения испытаний __________________________________________________ число, месяц, год Метод испытаний ___________________________________________________________ Испытательный стенд ________________________________________________________ наименование, № акта аттестации Условия кондиционирования __________________________________________________ Условия испытаний _________________________________________________________
Заключение по результатам испытаний _________________________________________ ___________________________________________________________________________ Руководитель испытаний __________________ ____________________ подпись Ф.И.О. Исполнитель ___________________ __________________ подпись Ф.И.О |
||||||||||||||||||||||||||||||||||||||||||||
Ключевые слова: тара, ручки, методы испытаний, контроль, прочность, средства испытаний, средства контроля и измерений
Хотите оперативно узнавать о новых публикациях нормативных документов на портале? Подпишитесь на рассылку новостей!






