ГОСТ Р 51859-2002 Нефтепродукты. Определение серы ламповым методом
ГОСТ Р 51859-2002
ГОСУДАРСТВЕННЫЙ СТАНДАРТ РОССИЙСКОЙ ФЕДЕРАЦИИ
НЕФТЕПРОДУКТЫ
ОПРЕДЕЛЕНИЕ СЕРЫ ЛАМПОВЫМ МЕТОДОМ
ГОССТАНДАРТ РОССИИ
Москва
Предисловие
1 РАЗРАБОТАН Техническим комитетом по стандартизации ТК 31 «Нефтяные топлива и смазочные материалы» (ОАО «ВНИИНП»)
ВНЕСЕН Госстандартом России
2 ПРИНЯТ И ВВЕДЕН В ДЕЙСТВИЕ Постановлением Госстандарта России от 8 января 2002 г. № 3-ст
3 Настоящий стандарт представляет собой аутентичный текст АСТМ Д 1266-98 «Метод определения серы в нефтепродуктах. (Ламповый метод)»
4 ВВЕДЕН ВПЕРВЫЕ
СОДЕРЖАНИЕ
ГОСТ Р 51859-2002
ГОСУДАРСТВЕННЫЙ СТАНДАРТ РОССИЙСКОЙ ФЕДЕРАЦИИ
|
НЕФТЕПРОДУКТЫ Определение серы ламповым методом Petroleum products. Determination of Sulphur content by lamp method |
Дата введения 2003-01-01
1 Область применения
1.1 Настоящий стандарт устанавливает метод определения массовой доли общей серы от 0,01 % до 0,4 % в жидких нефтепродуктах и присадках. В приложении А описан специальный метод определения серы концентрации не менее 0,0005 %.
Примечание - В сжиженных нефтяных газах серу определяют по методу [5]. Для нефтепродуктов, которые невозможно сжигать в лампе, используют методы определения в бомбе [1], кварцевой трубке [10] или высокотемпературный метод [4].
1.2 Метод прямого сжигания (раздел 8) в лампе применим к бензинам, керосинам, нафте и другим жидкостям, которые полностью сгорают в лампе с фитилем.
Метод сжигания с разбавлением (раздел 9) применим к анализу веществ, которые не могут сгореть при непосредственном сжигании (газойлям, дистиллятным топливам, нафтеновым кислотам и алкилфенолам, нефтепродуктам с высоким содержанием серы и другим материалам).
1.3 Соединения фосфора, которые обычно содержатся в товарном бензине, не влияют на результаты анализа. Предусматривается поправка на присутствие небольшого количества кислоты, которая образуется при сгорании содержащихся в бензине антидетонационных жидкостей, содержавших свинец. Присутствие при титровании в значительных концентрациях других примесей, образующих кислоты и основания, влияет на результаты, так как для этих случаев поправка не предусмотрена.
1.4 Предпочтительно применять метрические единицы.
1.5 Стандарт не ставит целью изложение всех проблем техники безопасности, связанных с его применением. Ответственность за установление соответствующих правил техники безопасности и регламентированных ограничений лежит на пользователе стандарта.
2 Нормативные ссылки
В настоящем стандарте использованы документы, указанные в приложении Г.
3 Сущность метода
3.1 Образец сжигают в лампе (рисунок 1) в искусственной атмосфере, состоящей из 70 % диоксида углерода и 30 % кислорода, для предотвращения образования оксидов азота. Оксиды серы абсорбируются и определяются раствором перекиси водорода до образования серной кислоты, которую затем продувают воздухом для удаления растворенного диоксида углерода. Серу в виде сульфата в абсорбенте определяют титрованием стандартным раствором гидроокиси натрия или гравиметрически осаждением сульфата бария (приложение Б).
Рисунок 1 - Схема лампового узла
1 - горелка; 2 - ламповое стекло; 3 - каплеуловитель; 4 - абсорбер; 5 - стеклянный опорный стержень
3.2 Альтернативно допускается сжигать образец в воздушной среде, в этом случае серу в абсорбенте определяют осаждением в виде сульфата бария (приложение Б).
Примечание - При отсутствии других примесей, кроме серы, образующих кислоты и основания, результаты, полученные по указанным волюметрическим и гравиметрическим способам, эквивалентны точности данного метода.
3.3 При массовой доле серы менее 0,01 % сульфат бария в растворе абсорбента определяют нефелометрически (приложение А).
4 Аппаратура
4.1 Абсорберы, ламповые стекла, лампы, каплеуловители (рисунок 1) детально описаны в приложении В.
Стандартная колба и горелка не пригодны для сжигания высокоароматических смесей без разбавления. Для этой цели необходима горелка с двумя отверстиями и регулирующим вентилем. Такая горелка пригодна также для сжигания неароматических образцов.
4.2 Фитиль из чистой однородной скрученной хлопчатобумажной пряжи хорошего качества1). Для горелки при сжигании ароматических образцов следует применять пряжу из длинного штапельного волокна тонкого прядения2).
1) Пряжа белая, 4-ниточная (нить 2 - 3 мг/см); можно приобрести в Kochler Instrument PA, 1595 Sycamore Ave, NY 11716. Пригодна также пряжа типа 13 ниток/14 концов, очищенная и отбеленная, поставляемая различными поставщиками из Великобритании.
2) Имеется в Thomas Scientific, P. O. Box 99, Swedesbora, VI 08085-0099.
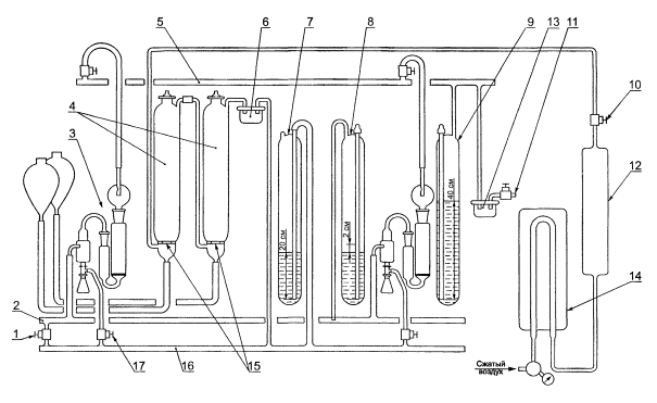
4.3 Распределительная система состоит из вакуумной гребенки с регулирующим устройством, вентилей, другой аппаратуры (рисунок 2) и сдвоенной распределительной гребенки к горелке и ламповому стеклу, обеспечивающих подвод газовой смеси (70 % диоксида углерода и 30 % кислорода) при требуемом давлении. Вакуумная гребенка соединена с насосом достаточной мощности, обеспечивающим стабильный поток газа со скоростью 3 дм3/мин через каждый абсорбер, а также постоянное давление приблизительно на 39,2 Па (40 см вод. ст.) ниже атмосферного. Давление газовой смеси в линии, идущей к ламповому стеклу, следует поддерживать на уровне 1,02 - 2,04 Па (1 - 2 см. вод. ст.), а в линии, идущей к горелке, 19,6 Па (20 см вод. ст.).
В приложении Б приведена модифицированная распределительная система и соответствующее оборудование для сжигания образца в воздухе.
Рисунок 2 - Схема распределительной системы газов для сжигания образцов в искусственной атмосфере
1 - контрольный вентиль лампового стекла; 2 - распределительная линия к ламповому стеклу; 3 - ламповый узел; 4 - вакуумная линия; 5 - ловушка; 6 - регулятор давления; 7 - манометр; 8 - регулятор вакуума; 9 - вакуумный насос; 10 - расходомеры газов; 11 - ловушка; 12 - вентили регулировки давления газов; 13 - подогреватель; 14 - стеклянная пористая пластина; 15 - распределительная линия к горелке; 16 - контрольный вентиль горелки
5 Реактивы и материалы
5.1 Во всех испытаниях следует использовать химические вещества квалификации х. ч. [8]. Можно использовать реактивы другой квалификации, если это не снизит точность определения.
5.2 Вода типа II или III [2].
5.3 Диоксид углерода (СО2) и кислород (О2) должны быть чистотой не менее 99,5 % и соответствовать требованиям 8.5.
5.4 Разбавитель
Используемый разбавитель должен содержать серы меньше 0,001 % (по массе), полностью смешиваться с анализируемым образцом и обеспечивать его сгорание с умеренной скоростью без копоти. Применяют н-гептан, изооктан и ректификованный этиловый спирт (см. примечание к 9.1).
5.5 Кислота соляная в разбавлении 1:10
Смешивают 1 объем концентрированной соляной кислоты (плотность 1,19) с 10 объемами воды.
5.6 Раствор перекиси водорода 1:19
Смешивают 1 объем концентрированной перекиси водорода (Н2О2, 30 %) с 19 объемами воды. Хранят в бутылке из темного стекла с притертой пробкой.
5.7 Индикатор метиловый пурпурный
Водный раствор, содержащий 0,1 % активного вещества (неметиловый фиолетовый)1).
1) Индикатор метиловый пурпурный (индикатор Флейшера) может быть приобретен на фирме Harry Fleisher Chemical Co., Benjamin Franklin Station, Washington, DC, патент США № 2416619.
5.8 Раствор гидроокиси натрия концентрации 100 г/дм3
Растворяют 100 г гидроокиси натрия (NaOH) в воде и разбавляют до 1 дм3.
5.9 Гидроокись натрия, молярной концентрации 0,05 моль/дм3
Разбавляют 2,8 см3 насыщенного раствора гидроокиси натрия до 1 дм3. Насыщенный раствор гидроокиси натрия должен быть прозрачен и декантирован после отстаивания в течение достаточно длительного времени с целью осаждения любого осадка. Устанавливают титр полученного раствора по титрованному раствору кислоты, используя индикатор метиловый пурпурный. Хранят в стеклянной бутылке с целью предохранения от загрязнения щелочи диоксидом углерода из воздуха. Для соединения сосудов используют чистые резиновые трубки.
Примечание - Расчет результатов можно упростить, доводя молярность раствора гидроокиси натрия до (0,0624 ± 0,0001) моль/дм3. Тогда 1 см3 раствора гидроокиси натрия будет эквивалентен 0,0010 г серы. В этом случае коэффициент 16,03·М при расчете (см. 11.1) станет равным 1,000.
5.10 Стандартные образцы с известным содержанием серы для проверки надежности процесса испытания.
6 Подготовка к испытанию
6.1 Собирают аппарат и заливают в абсорбер (30 ± 2) см3 воды. Регулируют индивидуальные вентили между вакуумной гребенкой и каплеуловителями так, чтобы при открытых выходных отверстиях ламповых стекол и давлении в вакуумной системе на 39,2 Па (40 см вод. ст.) ниже атмосферного через каждый абсорбер воздух поступал со скоростью 3 дм3/мин. После выполнения этих требований удаляют воду из абсорбера.
На рисунке 2 показаны уровни жидкости в регуляторах давления и вакуума; в период подготовки аппарата следует поддерживать слабый поток газа через эти регуляторы.
Примечание - При проведении анализа помещают 300 - 400 см3 раствора перекиси водорода в газоочиститель. В конце испытания трубки манометра служат как газоочистители для удаления диоксида углерода из абсорбента, поэтому раствор перекиси водорода используют в качестве манометрической жидкости. Раствор меняют еженедельно или в том случае, когда объем становится значительно меньше начального.
6.3 Заливают (30 ± 2) см3 свеженейтрализованного раствора перекиси водорода в больший стакан каждого абсорбера. На каждый комплект сжигаемых образцов подготавливают контрольный абсорбер. Укрепляют абсорбер, каплеуловители и ламповые стекла и подсоединяют их к соответствующим системам распределения газовой смеси с помощью трубочек из резины, не содержащей серы. Закрывают отверстия лампового стекла корковыми пробками.
6.4 При закрытых регулирующих вентилях на горелке, полностью открытом вентиле на регуляторе вакуума и при давлении в вакуумной системе, отрегулированном приблизительно 39,2 Па (40 см вод. ст.) ниже атмосферного, включают подачу диоксида углерода и кислорода.
Регулируют контрольный вентиль распределительной гребенки на линии ламповых стекол таким образом, чтобы при требуемой скорости потока через абсорберы в регуляторе давления проходил слабый поток диоксида углерода и кислорода, а давление в линии ламповых стекол достигло 1,02 - 2,04 Па (1 - 2 см вод. ст.). При этом может потребоваться незначительная регулировка регулятора вакуума и контрольного вентиля на вакуумной линии.
Примечания
1 Осторожно: могут возникнуть опасные (взрывные) условия, если произойдет прекращение подачи диоксида углерода, а поток кислорода будет продолжать поступать при сжигании образца. Рекомендуется установить соответствующее контролирующее или сигнальное устройство.
2 Равновесие в линии газового потока обеспечивается регулированием давления в вакуумной системе: поднимают или опускают трубку, соединяющую регулятор вакуума с атмосферой, внутри соединительной резиновой трубки.
6.5 Отрезают фитиль длиной 30 см. Используют столько отдельных отрезков фитиля, сколько требует образец (раздел 8), складывают пополам, чтобы получить фитиль длиной 15 см. Заправляют требуемое число горелок, вставляя фитиль в верхний конец внутренней трубки горелки концом, образующим петлю. Протаскивают фитиль через трубку с помощью металлического крючка. Острыми ножницами подрезают фитиль как можно ближе к верхней части горелки. Для каждого испытания важно использовать тщательно очищенные горелки и новые фитили.
7 Контроль процесса сжигания
7.1 Большая часть жидких образцов горит светящимся желтым пламенем, высота и форма которого зависят от потока газа к горелке, летучести образца, плотности посадки фитиля в горелке и положения верхнего конца фитиля относительно края горелки. Предпочтительно две последние переменные отрегулировать до начала зажигания в зависимости от первой переменной так, чтобы в процессе горения пламя можно было регулировать изменением скорости потока газовой смеси (диоксида углерода и кислорода).
7.2 Для сильнолетучих образцов используют плотно прилегающий фитиль, верхняя часть которого должна быть на несколько миллиметров ниже верха горелки, а в экстремальных случаях охлаждают горелку с помощью льда во время горения. Менее летучие вещества требуют более рыхлого состояния фитиля и могут потребовать подогрева горелки.
7.3 Подрезают фитиль и затягивают вниз так, чтобы верхний подрезанный край был на уровне верха горелки или немного ниже. При сжигании ароматических образцов расстояние от верха горелки до верха фитиля должно быть 8 мм или более для бензола и 4 мм - для толуола. При анализе более тяжелых продуктов для начала испарения можно слегка подогреть верхнюю часть горелки.
7.4 При применении стандартной лампы поджигают фитиль и затем медленно, чтобы получить некоптящее пламя, подают к горелке газовую смесь, необходимую для поддержания горения. При сжигании высокоароматических образцов в колбу вводят небольшое количество газовой смеси для зажигания горелки. Затем вводят газовую смесь непосредственно в горелку, чтобы предотвратить образование копоти и отрегулировать высоту пламени. Если пламя случайно погаснет, фитиль поджигают вторично.
7.5 Для достижения равномерности горения в течение 1 - 2 мин поддерживают небольшую высоту пламени, после чего ее можно увеличить, не опасаясь образования копоти. Для горелки, предназначенной для сжигания высокоароматических образцов, сначала регулируют поток газа к колбе, а затем - поток газа к горелке. В любом случае важно, чтобы пламя было ровным и симметричным, без струй во внутреннем конусе или копоти на внешних краях пламени.
7.6 Удовлетворительное горение трудно сжигаемых веществ иногда удается обеспечить увеличением до 40 % (не более) содержания кислорода в газовой смеси.
7.7 Пламя гасят после того, как образцы полностью сгорят, сосуд горелки и фитиль станут сухими, а высота пламени значительно уменьшится. Часто пламя продолжает гореть некоторое время после того, как сосуд выглядит сухим, так как фитиль еще содержит остатки образца. Для образцов бензина, который горит высоким пламенем, пламя следует погасить при его высоте 3 - 4 мм.
Если дать пламени гореть до тех пор, пока оно само не погаснет, выделяются частично окисленные вещества (например органические кислоты), что дает широкий разброс результатов.
Если сжигание образца прекратить прежде, чем сосуд горелки станет сухим, можно получить ошибочные результаты, так как при испытании летучих образцов несгоревшая часть образца испарится из горелки во время взвешивания.
Если в образце содержится элементная сера, для обеспечения полного его сгорания необходимо, чтобы край фитиля находился на уровне верхнего края горелки, а образец сгорел до кажущейся сухости.
Если анализируемые смеси содержат легкие и тяжелые углеводороды, то более летучие вещества сгорают быстрее, что способствует возможной концентрации соединений серы в сгорающих позднее порциях образца.
7.8 Если аппаратуру используют интенсивно и анализируют большое количество образцов, то надежность ее работы и правильность определения проверяют каждый день, испытывая стандартные образцы с известным содержанием серы. Анализ результатов по стандартным образцам выполняют, используя контрольные диаграммы или другие эквивалентные статистические приемы.
Точность испытания на стандартном образце проверяют по точности данного метода.
8 Метод прямого сжигания
8.1 С помощью пипетки вводят в колбу каждой лампы определенное количество образца (таблица 1). Закрывают колбы чистыми пронумерованными пробками. Взвешивают каждую колбу и ее горелку с погрешностью не более 0,005 г.
Примечание - Допускается взвешивать закрытые пробкой колбы и подготовленные горелки раздельно, обычно помещают на чашку весов одновременно колбу и ее горелку и получают их массу за одно взвешивание.
Таблица 1
Количество образца для прямого сжигания
|
Количество образца |
||
|
г |
см3 |
|
|
До 0,05 включ. |
10 - 15 |
20 |
|
Св. 0,05 - » - 0,4 - » - |
5 - 10 |
10 |
8.2 В каждую колбу лампы вставляют горелку. Как только образец в соответствии с капиллярным эффектом достигнет верха фитиля, соединяют боковую трубку горелки с распределительной системой с помощью резиновой трубки, не содержащей серы. Зажигают горелку пламенем, свободным от серы (например спиртовкой) и помещают под ламповое стекло. Если пламя сдувает, перекрывают соединение между вытяжным каналом распределительной системы и пространством над лампой. Одновременно регулируют поток газа к горелке так, чтобы пламя оставалось в точке точно ниже высоты коптящего пламени и по виду было симметричным. После того, как все лампы будут помещены под ламповые стекла, регулируют вентиль на распределителе лампового стекла для поддержания требуемого давления (раздел 6). Во время горения и особенно во время последних стадий, когда пламя становится низким, уменьшают подачу смеси диоксид углерода - кислород к горелкам для предотвращения затухания пламени.
Примечание - При неполном сгорании жидкости абсорбент чрезмерно вспенивается.
8.3 По окончании сжигания каждого образца (пламя явно уменьшается, поскольку образец сгорает) горелку и колбу удаляют из-под лампового стекла, гасят пламя, перекрывают поступление смеси диоксид углерода - кислород к горелке и закрывают отверстие лампового стекла. Сразу взвешивают колбу, горелку и пронумерованную пробку. После окончания сжигания всех образцов прекращают подачу смеси диоксида углерода и кислорода, закрывают контрольный вентиль на линии от лампового стекла и перекрывают соединение к вакуумному регулятору; это принудит воздух поступать в распределительную систему через манометр. Подобным образом в течение 5 мин пропускают воздух через абсорберы для удаления растворенного диоксида углерода из абсорбента. После этого закрывают вакуумный контрольный вентиль.
Примечание - Если требуется сохранить атмосферу сжигания, то после окончания процесса сгорания можно перекрыть поток газа через каждый отдельный абсорбер. Зажимают резиновую трубку, соединяющую каплеуловитель с вакуумной линией, соответственно уменьшают поток смеси газов через расходомеры и вновь регулируют вакуумный контрольный вентиль и контрольный вентиль на линии лампового стекла. По окончании сжигания всех образцов необходимо удалить все зажимы и отрегулировать вентили регулировки вакуумной системы для прохождения потока воздуха с требуемой скоростью через абсорберы для удаления из них растворенного диоксида углерода.
8.4 Трижды промывают ламповые стекла и каплеуловители, каждый раз расходуя около 10 см3 воды. Если образец содержит антидетонационные жидкости, содержащие свинец, для промывки лампового стекла применяют горячую воду. Сливают промывочные воды в абсорберы и титруют их, как указано в разделе 10.
8.5 Контрольный абсорбер
Ламповое стекло контрольного абсорбера (6.3) оставляют закрытым пробкой, пропускают поток диоксида углерода и кислорода через образцы до тех пор, пока все образцы, зажженные одновременно, не сгорят. Перекрывают подачу диоксида углерода и кислорода и продувают контрольный абсорбер так же, как основные абсорберы (8.3). Титруют жидкость из абсорбера, как указано в разделе 10. Обычно на контрольный опыт требуется небольшое количество газовой смеси, но если на титрование уходит более чем 0,1 см3 0,05 моль/дм3 раствора гидроокиси натрия, это определение бракуют и заменяют баллон с диоксидом углерода.
9 Метод сжигания образцов с разбавлением
9.1 Помещают в каждую колбу лампы 6 см3 разбавителя, не содержащего серы. Закрывают пронумерованными пробками и взвешивают с точностью до 0,005 г. С помощью пипетки в каждую колбу вводят соответствующее количество образца согласно таблице 2, тщательно перемешивают и еще раз взвешивают.
Примечание - Альтернативно готовят количественно 40 %-ную смесь образца в разбавителе, не содержащем воду, и далее следуют указаниям раздела 8.
Таблица 2
Количество образца для сжигания с разбавлением
|
Количество образца |
||
|
г |
см3 |
|
|
0,4 и менее |
3 - 4 |
5 |
9.2 Устанавливают горелку и проводят сжигание, как описано в 8.2. Когда пламя начнет затухать, удаляют лампы из-под ламповых стекол и гасят пламя. Добавляют 2 см3 разбавителя, омывая им стенки колбы. Сжигают добавленный разбавитель, добавляют еще и повторяют сжигание, чтобы суммарно сжечь 10 см3 разбавителя.
Примечание - В этом случае желательно провести контрольное испытание с 10 см3 разбавителя. На титрование раствора из абсорбера не должно затрачиваться более 0,1 см3 0,05 моль/дм3 раствора гидроокиси натрия.
9.3 После окончания сжигания образцов во всех лампах отключают подачу диоксида углерода и кислорода, перекрывают соединение к вакуумному регулятору, пропускают воздух через абсорберы в течение 5 мин и наконец перекрывают регулирующий вентиль вакуума. Трижды промывают ламповые стекла и каплеуловители, каждый раз расходуя примерно 10 см3 воды. Сливают промывочные воды в абсорберы и титруют их, как указано в разделе 10.
10 Титрование раствора абсорбента
10.1 Добавляют от 3 до 4 капель раствора индикатора метилового пурпурного к жидкости в каждом абсорбере. Титруют раствор абсорбента раствором гидроокиси натрия 0,05 моль/дм3 из бюретки в меньшую колбу абсорбера. Если предположительно в абсорбере присутствует менее 10 мг серы, используют микробюретку вместимостью 10 см3. Во время титрования раствор периодически перемешивают всасыванием через верх большего сосуда.
Примечание - При неполном сгорании образца воздух, проходящий через абсорбер во время титрования, будет иметь характерный запах и конечная точка титрования не будет резкой. В этом случае определение бракуют.
11 Обработка результатов
11.1 Массовую долю общей серы S в жидких образцах, %, вычисляют по формуле
(1)
где А - количество раствора гидроокиси натрия, израсходованного на титрование кислоты в растворе абсорбента после сжигания образца, см3;
M - концентрация раствора гидроокиси натрия (примечание к 5.9);
W - масса испытуемого образца, г.
11.2 Если требуется внести поправку (см. примечание) в содержание серы для образцов с антидетонационными жидкостями, содержащими свинец, то рассчитывают массовую долю общей серы с поправкой Sn, %, по формуле
Sn = S - L - F, (2)
где F = 0,0015, если образец содержит авиационную антидетонационную свинцовую жидкость, или 0,0035, если образец содержит тетраэтилсвинец, тетраметилсвинец или смешанную антидетонационную жидкость на основе алкилсвинца;
L - содержание свинца, г/галл США;
S - массовая доля серы, %.
Примечания
1 - Поправки F основаны на опытах сжигания топлив, смешанных с антидетонационной жидкостью, содержащей тетраэтилсвинец и этилен-галоид в принятых соотношениях. Тетраметилсвинец и смешанные антидетонационные жидкости на основе алкилсвинца содержат такую же смесь этилен-галоида как тетраэтилсвинец.
2 - Для пересчета г свинца/галл Великобритании в г свинца/галл США следует г свинца/галл Великобритании умножить на 0,8326. Для пересчета концентрации свинца, выраженной в г/дм3, в г/галл США следует г/дм3 умножить на 3,7853.
12 Точность метода
12.1 Сходимость
Расхождение между результатами двух определений, полученными одним лаборантом на одном и том же оборудовании в одинаковых условиях, при идентичном испытываемом материале, при условии нормального и правильного проведения испытаний, в течение длительного времени, не должно превышать 0,005 % более чем в одном случае из двадцати.
12.2 Воспроизводимость
Расхождение между двумя отдельными и независимыми результатами испытаний, полученными разными лаборантами, работающими в разных лабораториях с идентичным материалом в течение длительного времени, при условии нормального и правильного проведения испытаний, не должно превышать значение 0,010 + 0,025S более чем в одном случае из двадцати,
S - массовая доля общей серы, %.
12.3 Отклонение
Отклонение данного метода не установлено.
ПРИЛОЖЕНИЕ А
(обязательное)
Нефелометрический метод определения серы концентрации не менее 0,0005 %
А.1 Область применения
А.1.1 Данный метод определения серы применяют для образцов с содержанием серы не менее 0,0005 % (5 ppm).
Данный метод не пригоден для определения серы менее 300 мг/кг в жидкостях, содержащих антидетонационные присадки со свинцом.
А.1.2 Надежные результаты могут быть получены этим методом только при тщательном и строгом выполнении всех требований.
Перед применением новую или использованную стеклянную посуду сначала промывают концентрированной азотной кислотой, затем трижды ополаскивают водопроводной водой и трижды деионизированной дистиллированной водой.
Для проведения этого испытания применяют специальные комплекты стеклянной посуды, предназначенные только для этого метода.
А.2 Сущность метода
А.2.1 Соответствующее количество пробы сжигают, как указано в разделе 8. Определяют содержание ионов сульфата в растворе, находящемся в абсорбере, осаждением их в виде сульфата бария и измерением мутности суспензии осадка. Стабилизируют суспензию осадка добавлением спирта или глицерина и измеряют мутность с помощью спектрофотометра или фотометра с фильтром.
А.3 Дополнительная аппаратура
А.3.1 Спектрофотометр
Предпочтительно использовать спектрофотометр с шириной эффективной полосы приблизительно 50 нм, снабженный чувствительным к синему цвету фотоэлементом, используемым при 450 нм, или фотометр, снабженный цветным фильтром с максимальным пропусканием при 450 нм.
А.3.2 Кюветы абсорбционные с длиной оптического пути 5 см. При применении таких кювет на их стенках может образовываться пленка. Для ее удаления кювету моют мягкой щеткой с помощью какого-либо моющего средства, затем тщательно ополаскивают деионизированной водой.
Примечание - Изложенная процедура предполагает измерение в кювете с длиной оптического пути 5 см, изменение поглощения около 0,100 на каждые 0,1 мг серы в 50 см3 раствора.
А.3.3 Лодочка, вмещающая (0,30 ± 0,01) г дигидрата хлористого бария, как указано в А.4.2.
А.3.4 Мешалка магнитная с тефлоновым покрытием длиной около 32 мм.
А.3.5 Комплект лампы, состоящий из колбы, горелки, лампового стекла, абсорбера и каплеуловителей.
А.4 Дополнительные реактивы1)
А.4.1 Смесь спирта и глицерина.
Смешивают 2 объема денатурированного этилового спирта или этилового спирта (95 %) с 1 объемом глицерина.
1) Чистоту реактивов см. в 5.1.
А.4.2 Дигидрат хлористого бария (ВаСl2·2Н2О) - кристаллы, проходящие сквозь сито АСТМ Е 11 размером отверстий 20 меш или сито BS размером отверстий 18 меш и задерживающиеся на сите АСТМ Е 11 размером отверстий 30 меш [7] или BS - 30 меш.
Примечание - Размер кристаллов ВаСl2·2Н2О является важным фактором, влияющим на степень помутнения суспензии.
А.4.3 Кислота соляная в разбавлении 1:12.
Помещают 77 см3 концентрированной соляной кислоты (плотность 1,19 г/дм3) в мерную колбу вместимостью 1 дм3 и доливают до метки деионизированной дистиллированной водой.
А.4.4 Кислота соляная в разбавлении 1:215.
Помещают 60 см3 соляной кислоты, разбавленной по А.4.3, в мерную колбу вместимостью 1 дм3 и доливают до метки деионизированной дистиллированной водой.
А.4.5 Кислота серная, содержащая в 1 см3 0,100 мг серы.
Разбавляют (6,24 ± 0,01) см3 0,5 моль/дм3 серной кислоты дистиллированной деионизированной водой точно до 1 дм3. Проверяют разбавление титрованием стандартным раствором гидроокиси натрия приблизительно такой же нормальности и, если необходимо, регулируют концентрацию так, чтобы 1 см3 этого раствора был эквивалентен 0,100 мг серы.
А.4.6 Вода деионизированная дистиллированная.
Воду пропускают через колонку, заполненную смесью анионо- и катионообменных смол.
Примечание - Необходимость замены ионообменных смол определяют, используя прибор для измерения электропроводности.
А.5 Построение калибровочной кривой
А.5.1 Для приготовления калибровочных растворов в мерные колбы вместимостью 50 см3 с помощью бюретки вводят 0,25; 0,50; 0,75; 1,00; 1,50; 2,00; 3,00 и 5,00 см3 серной кислоты по А.4.5. Добавляют в каждую колбу по 3,0 см3 соляной кислоты по А.4.3, доливают до метки водой и тщательно перемешивают.
Для приготовления контрольного раствора в одну колбу вводят 3,0 см3 соляной кислоты, не добавляя серную кислоту.
А.5.3 Дают растворам постоять неподвижно в течение 4 мин. Помещают в абсорбционные кюветы и определяют начальное поглощение, пользуясь для сравнения водой.
А.5.5 После проведения операций, указанных в А.5.2 - А.5.4, рассчитывают значение поглощения для контрольного раствора, вычитая значение начального поглощения контрольного раствора из значения поглощения контрольного раствора, полученного после добавления дигидрата хлористого бария. Это значение не должно превышать 0,005.
А.5.6 Для каждого приготовленного калибровочного раствора отмечают фактическое поглощение, вычитая из поглощения, полученного в соответствии с А.5.4, начальное поглощение калибровочного раствора и поглощение контрольного раствора. Строят график зависимости фактического поглощения каждого приготовленного калибровочного раствора от массы серы в миллиграммах на 50 см3 раствора.
А.5.7 Калибровочную кривую проверяют ежедневно, проводя одиночные определения, чтобы выявить возможные смещения.
А.6 Проведение испытания
А.6.1 Для испытания берут такое количество образца, чтобы масса серы в абсорбере была в пределах 0,15 - 2,5 мг (обычно это от 5 до 30 г образца).
Если образец содержит не более 0,0015 % серы, при анализе следует сжигать не менее 30 г образца. Для большего количества образца для анализа следует подобрать колбу соответствующих размеров вместо обычно используемой колбы вместимостью 25 см3. Учитывая большие размеры колбы, желательно пользоваться фитилем длиной 18 см. Во избежание чрезмерного обеднения находящейся в абсорбере жидкости в результате более длительного горения образца целесообразно налить в абсорберы по 50 см3 раствора перекиси водорода.
А.6.2 Готовят аппаратуру для сжигания и сжигают образец в соответствии с процедурой, описанной в разделах 6 - 8 основного метода.
Требования к предварительной нейтрализации раствора перекиси водорода (см. 6.2) и окончательного удаления растворенного диоксида углерода из раствора (см. 8.3 и 9.3) можно не соблюдать. Для проверки чистоты газовой смеси, поддерживающей горение, ее пропускают через один из абсорберов системы.
Переносят раствор, находящийся в абсорбере и содержащий промывные воды от промывки каплеуловителя и лампового стекла (см. 8.4), в химический стакан вместимостью 250 см3, промывая абсорбер два-три раза порциями по 10 см3 воды, и сливают промывные воды в стакан с раствором.
А.6.3 Уменьшают объем раствора, находящегося в абсорбере, примерно до 20 см3 выпариванием на горячей плитке. Количественно переносят полученный раствор в мерную колбу вместимостью 50 см3, несколько раз ополаскивая стакан небольшими порциями воды. Добавляют в колбу 3 см3 соляной кислоты (по А.4.3), доливают водой до метки и тщательно перемешивают.
А.6.4 Если известно, что масса серы в растворе, находящемся в абсорбере, менее 0,5 мг, для анализа используют все содержимое мерной колбы.
Если содержание серы неизвестно или предполагается, что оно превышает 0,5 мг, переносят аликвоту в 10 см3 во вторую мерную колбу вместимостью 50 см3 и разбавляют раствор в обеих колбах до метки соляной кислотой в разбавлении 1:215.
Сначала используют более разбавленный раствор и, если будет установлено, что в нем содержится менее 0,05 мг серы, используют более концентрированный раствор.
Контрольный раствор для анализа газовой смеси разбавляют таким же образом, как и раствор для анализа продукта.
Растворы анализируют методом, приведенным в А.6.5.
А.6.5 Помещают весь предназначенный для анализа раствор, содержащийся в мерной колбе вместимостью 50 см3, в химический стакан вместимостью 100 см3 и проводят определение по А.5.2 - А.5.4.
Таким же образом анализируют контрольный раствор и определяют его показание поглощения, вычитая начальное поглощение из полученного после добавления дигидрата хлористого бария.
А.6.6 Если поглощение контрольного раствора превышает 0,020, то точность проводимого анализа будет невысокой. В этом случае следует провести отдельно анализ самих реактивов, чтобы определить, является ли причиной недостаточной точности газовая смесь, используемая при сжигании, или реактивы.
В мерную колбу вместимостью 50 см3 помещают 30 см3 раствора перекиси водорода (см. 5.6), доливают до метки соляной кислотой в разбавлении 1:215 (см. А.4.4) и проводят испытание, как указано в А.5.2 - А.5.5.
Если значение поглощения контрольного раствора будет превышать 0,010, результаты следует считать ненадежными.
А.6.7 Находят фактическое поглощение анализируемого раствора, вычитая из поглощения, полученного после добавления дигидрата хлористого бария, начальное поглощение и поглощение контрольного раствора.
А.6.8 По фактическому поглощению, используя калибровочную кривую, определяют массу серы в миллиграммах, содержащуюся в анализируемом образце.
А.7 Обработка результатов
А.7.1 Концентрацию серы S1 в образце, мг/кг, вычисляют по формуле
![]()
где А - масса серы, найденная по калибровочному графику, мг;
W - масса сожженного образца, г;
F - аликвота раствора образца, отобранная на анализ, см3.
А.8 Точность и отклонение метода
А.8.1 Для обоснования приемлемости результатов при 95 %-ной доверительной вероятности следует пользоваться точностными характеристиками по А.8.1.1 и А.8.1.2.
Результаты двух определений, полученные одним и тем же оператором, следует считать сомнительными, если расхождение между ними превышает следующие значения:
r1 = 0,116S1 - при концентрации серы от 5 до 80 мг/кг;
r2 = 0,01S1 + 8,5 - при концентрации серы от 80 до 280 мг/кг,
где S1 - концентрация серы, мг/кг.
Результаты, представленные каждой из двух лабораторий, следует считать сомнительными, если расхождение между ними превышает следующие значения:
R1 = 0,145S1 - при концентрации серы от 5 до 125 мг/кг;
R2 = 0,508S1 - 45,4 - при концентрации серы от 125 до 280 мг/кг,
где S1 - концентрация серы, мг/кг.
А.8.2 Отклонение
Отклонение для данного метода не установлено.
ПРИЛОЖЕНИЕ Б
(обязательное)
Альтернативный метод сжигания образца в воздушной среде
Б.1 Область применения
Этот метод рекомендуется только для анализа образцов жидких нефтепродуктов, которые можно полностью сжигать в лампе с фитилем.
Б.2 Аппаратура
Можно использовать распределительную систему, приведенную в 4.3, но с незначительными модификациями: заменить систему подачи смеси двуокиси углерода и кислорода на профильтрованный воздух и добавить второй газоочиститель с пластиной из пористого спекшегося материала к линии подачи воздуха, как показано на рисунке Б.1.
Рисунок Б.1 - Схема распределительной системы воздуха для сжигания образцов в воздушной среде
1 - контрольный вентиль лампового стекла; 2 - распределительная линия к ламповому стеклу; 3 - ламповый узел; 4 - газоочистители; 5 - вакуумная линия; 6 - ловушка; 7 - регулятор давления; 8 - манометр; 9 - регулятор вакуума; 10 - вентиль для регулировки подачи воздуха; 11 - вакуумный насос; 12 - холодильник; 13 - ловушка; 14 - подогреватель; 15 - стеклянная пористая пластина; 16 - распределительная линия к горелке; 17 - контрольный вентиль горелки
Б.3 Дополнительные реактивы
Б.3.1 Барий хлористый, раствор 100 г/дм3.
Растворяют 100 г дигидрата хлористого бария (ВаСl2·2Н2О) в воде и доводят объем раствора до 1 дм3.
Б.3.2 Кислота соляная концентрированная, плотность 1,19.
Б.3.3 Перекись водорода, концентрированная, 30 %.
Б.3.4 Натрия гидроокись, раствор 100 г/дм3.
Растворяют 100 г гранул технической гидроокиси натрия в воде и доводят объем раствора до 1 дм3.
Б.3.5 Кислота серная в разбавлении 1:16.
Смешивают 60 см3 концентрированной серной кислоты (плотность 1,84) с 960 см3 воды.
Б.4 Подготовка аппаратуры
Б.4.1 Заливают 300 - 400 см3 раствора гидроокиси натрия в первый газовый очиститель (рисунок Б.1) и такое же количество раствора перекиси водорода в серной кислоте (300 см3 воды, 30 см3 серной кислоты в разбавлении 1:16 и 30 см3 концентрированной перекиси водорода) во второй очиститель. Для ежедневно применяемого аппарата следует заменять эти растворы дважды в неделю или если объем станет меньше 2/3 первоначального.
Б.4.2 Выполняют другие процедуры, описанные в разделе 6, за исключением операции нейтрализации раствора перекиси водорода (1,5 %).
Б.5 Сжигание
Б.5.1 Образец сжигают в соответствии с разделом 8, регулируя процесс сжигания (раздел 7). Объем образца берут в соответствии с таблицей Б.1. Анализируют растворы из абсорбера для образцов и для контрольных растворов (Б.6).
Таблица Б.1
Количество образца для сжигания на воздухе
|
Количество образца |
||
|
г |
см3 |
|
|
До 0,5 включ. |
5 - 10 |
10 |
|
Св. 0,5 |
3 - 5 |
5 |
Б.6 Анализ раствора в абсорбере
Б.6.1 Переносят жидкость из абсорбера в химический стакан вместимостью 400 см3. Тщательно промывают водой абсорбер и ламповое стекло и сливают промывочные воды в стакан. Фильтруют раствор для удаления посторонних веществ, сливая фильтрат в стакан вместимостью 400 см3 с обязательной меткой 75 см3. Добавляют 2 см3 соляной кислоты, нагревают до кипения, добавляют 10 см3 раствора хлористого бария тонкой струей или каплями. Во время добавления и по окончании еще 2 мин перемешивают.
Б.6.2 Накрывают стакан часовым стеклом (с выемкой) и продолжают медленно кипятить до тех пор, пока объем, испарившись, достигнет метки 75 см3. Снимают стакан с плитки и оставляют охлаждаться в течение 1 ч до фильтрования.
Б.6.3 Фильтруют верхний слой жидкости через плотную беззольную фильтровальную бумагу. Промывают осадок водой вначале декантированием, затем - через фильтровальную бумагу до тех пор, пока осадок не освободится от хлорид-ионов.
Помещают фильтровальную бумагу и осадок в соответствующий взвешенный тигель и сушат при слабом нагревании до испарения влаги. Обугливают фильтровальную бумагу полностью, не поджигая ее, и затем прокаливают на ярко-красном источнике нагрева до получения осадка белого цвета (см. примечание). После окончания прокаливания дают тиглю остыть до комнатной температуры и взвешивают.
Примечание - Удобно выполнять эти операции, если поместить незакрытый тигель с влажной фильтровальной бумагой в холодную электрическую муфельную печь и затем включить ее. Сушка, обугливание и прокаливание обычно протекают с требуемой скоростью.
Б.7 Обработка результатов
Б.7.1 Массовую долю серы, %, в образце вычисляют по формуле
![]()
где W1 - масса осадка сернокислого бария, полученного из раствора абсорбера после сжигания образца, г;
b - масса осадка сернокислого бария из соответствующего абсорбера в контрольном опыте, г;
W2 - масса испытуемого образца, г.
Примечание - Определение следует забраковать, если поправка на контрольный опыт, используемая при расчете, превышает 1,5 мг сернокислого бария. Причиной этому бывают загрязненные реактивы.
Б.8 Точность
Б.8.1 Рекомендуемые данные приведены в разделе 12.
ПРИЛОЖЕНИЕ В
(обязательное)
Характеристика аппаратуры
В.1 Колба и горелка, применяемые для анализа образцов
Используют лампу из химически стойкого стекла, состоящую из колбы Эрленмейера вместимостью 25 см3 со стеклянными крючками, расположенными под углом 180 °С по отношению друг к другу, и горелки, размеры которых указаны на рисунке В.1.
Горелка состоит из двух концентрических стеклянных трубок, расстояние между которыми (1,3 ± 0,1) мм, скрепленных тремя шариками-опорами. Наружная трубка с ответвлением имеет взаимозаменяемые конические стеклянные шлифы для соединения горелки с лампой и ламповым стеклом. Верхние концы обеих трубок горелки должны быть отшлифованы до ровной поверхности, причем поверхности концов обеих трубок должны быть в одной и той же горизонтальной плоскости.
При испытании образцов, не содержащих ароматических углеводородов, у основания горелки должно быть отверстие диаметром 1 мм для уравнивания давления между ламповым стеклом и колбой.
После соединения с ламповым стеклом лампу закрепляют с помощью резиновых колец или металлических пружин, которые крепят за стеклянные крючки, имеющиеся на колбе и ламповом стекле. Для соединения с абсорбером ламповое стекло снабжено взаимозаменяемым коническим шлифом.
В.2 Абсорбер
Следует применять абсорбер из химически стойкого стекла, соответствующий размерам, указанным на рисунке В.1, с взаимозаменяемыми коническими стеклянными шлифами для соединения с ламповым стеклом и каплеуловителем.
В большой сосуд абсорбера должен быть впаян диск из пористого стекла с порами диаметром от 150 до 200 мкм. Пористость диска должна быть такой, чтобы при помещении в абсорбер 50 см3 воды и пропускании через него воздуха со скоростью 3,0 дм3/мин (в том же направлении, в котором движется поток газа при проведении анализа) перепад давления между сосудами абсорбера составлял 15-23 см вод. ст. и диспергирование воздуха было равномерным.
В.3 Каплеуловитель из химически стойкого стекла размерами, указанными на рисунке В.1, с взаимозаменяемым коническим стеклянным шлифом для соединения с абсорбером
В.4 Распределительная система
Распределительная система вакуума и газовой смеси для сжигания и система подачи смеси диоксида углерода и кислорода к ламповым узлам схематично представлена на рисунке 2.
Газы подают из товарных баллонов, причем давление газа, поступающего из каждого баллона, с помощью двух одноступенчатых вентилей устанавливают до (0,70 ± 0,14) кг/см2, чтобы обеспечить постоянное давление на игольчатые клапаны, регулирующие скорость подачи газа.
Для предотвращения замерзания клапанов необходимо пропускать поток диоксида углерода через теплообменник, установленный перед регулирующими вентилями.
Для регулирования соотношения двух газов, смешиваемых в уравнительном резервуаре, газы пропускают через измерительную систему, состоящую из двух калиброванных расходомеров потоков газа. Можно использовать любое количество ламповых узлов, объединенных воедино, если установить соответствующую скорость потока газов через расходомеры. Во избежание ограничений в подаче газа внутренний диаметр трубки, соединяющей распределительную систему лампового стекла и ламповые стекла, должен быть не менее 6,4 мм.
Вместимость газоочистителя должна быть около 1 дм3.
Рисунок В.1 - Деталировка аппарата для определения серы ламповым методом
ПРИЛОЖЕНИЕ Г
(справочное)
Библиография
[1] АСТМ Д 129 Метод определения содержания серы в нефтепродуктах (обычный бомбовый метод)
[2] АСТМ Д 1193 Спецификация воды
[3] АСТМ Д 1229 Метод определения остаточной деформации резины после сжатия при низких температурах
[4] АСТМ Д 1552 Определение содержания серы в нефтепродуктах (высокотемпературный метод)
[5] АСТМ Д 2784 Метод определения содержания серы в сжиженных нефтяных газах (кислородно-водородная горелка или лампа)
[6] АСТМ Д 2785 Определение следовых количеств серы (аппарат сжигания Викбольда или Бекмана)
[7] Е 11 Спецификация на металлические проволочные сита для испытаний
[8] Химические реактивы, Спецификации Американского химического общества, Am. Chemical Soc., Washington, D.C.
[9] Joseph Rosin, D. Van Nostrand Co., Inc., New York, NY, and the «United States Pharmacopeia»
[10] IP 63 Метод определения серы в кварцевой трубке
|
Ключевые слова: нефтепродукты, абсорберы, фитиль, горелка, ламповый узел, манометр, вентиль, баллон, расходомер |
Хотите оперативно узнавать о новых публикациях нормативных документов на портале? Подпишитесь на рассылку новостей!
Все ГОСТы >> ГОСТы «Строительная техника и оборудование, грузоперевозки >>



