Часть 1 | Часть 2
ГОСТ 5088-94. Петли стальные для деревянных окон и дверей. Часть 2
|
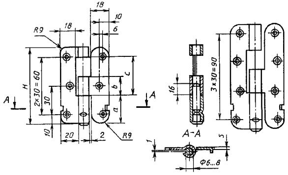
Рисунок Б2 - Петля накладная типа ПН2
В миллиметрах
Рисунок Б3 - Петля накладная типа ПН3
Шурупы 5х30 (6 шт.) ГОСТ 1145
Рисунок Б4 - Петля накладная типа ПН4
В миллиметрах
Рисунок Б5 - Петля накладная типа ПН5
В миллиметрах
Рисунок Б6 - Петля накладная типа ПН6
Шурупы 3Х25 (4 шт.) ГОСТ 1145
Рисунок Б7 - Петля накладная типа ПН7
В миллиметрах
Рисунок Б8 - Петля накладная типа ПН8
Шурупы 5Х40 (8 шт.) ГОСТ 1145
____________ * Для дверей с толщиной полотна 52 мм.
Рисунок Б9 - Петля накладная типа ПН9
Шурупы 5Х35 (8 шт.) ГОСТ 1145
Рисунок Б10 - Петля накладная типа ПН10
В миллиметрах
Рисунок Б11 - Петля врезная типа ПВ1
____________ * При установке петель на автоматизированных линиях по согласованию с потребителем допускается применять штифты длиной 35 мм для створок окон жилых и 45 мм - для общественных зданий.
В миллиметрах
Рисунок Б12 - Петля врезная типа ПВ2
________________ * - Для окон с тройным остеклением.
Штифты - 4 шт.; длину штифтов следует указывать при заказе.
Рисунок Б13 - Петля врезная типа ПВ3
В миллиметрах
Рисунок Б14 - Петля врезная типа ПВ4
Рисунок Б15 - Петля ввертная типа ПВв1
Рисунок Б16 - Петля ввертная типа ПВв2
Рисунок Б17 - Петля ввертная типа ПВв3
Приложение В (Информационное)
Основные детали петель
Петли накладные и врезные
1 - карта; 2 - трубка; 3 - ось; 4 - полуось
Петли ввертные
1 - стержень; 2 - втулка; 3 - ось; 4 - скоба
1 Область применения 2 Нормативные ссылки 3 Типы и основные размеры 4 Технические требования 5 Приемка 6 Методы контроля 7 Транспортирование и хранение 8 Гарантии изготовителя Приложение А (Информационное) Область применения петель Приложение Б (Обязательное) Типы, размеры и комплектность петель Рисунок Б1 - Петля накладная типа ПН1 Рисунок Б2 - Петля накладная типа ПН2 Рисунок Б3 - Петля накладная типа ПН3 Рисунок Б4 - Петля накладная типа ПН4 Рисунок Б5 - Петля накладная типа ПН5 Рисунок Б6 - Петля накладная типа ПН6 Рисунок Б7 - Петля накладная типа ПН7 Рисунок Б8 - Петля накладная типа ПН8 Рисунок Б9 - Петля накладная типа ПН9 Рисунок Б10 - Петля накладная типа ПН10 Рисунок Б11 - Петля врезная типа ПВ1 Рисунок Б12 - Петля врезная типа ПВ2 Рисунок Б13 - Петля врезная типа ПВ3 Рисунок Б14 - Петля врезная типа ПВ4 Рисунок Б15 - Петля ввертная типа ПВв1 Рисунок Б16 - Петля ввертная типа ПВв2 Рисунок Б17 - Петля ввертная типа ПВв3 Приложение В (Информационное) Основные детали петель Петли накладные и врезные Петли ввертные
| ||||||||||||||||||||||||||||||||||||||||||||||||||||||||||||||||||||||||||||||||||||||||||||||||||||||||||||||||||||||||||||||||||||||||||||||||||||||||||||||||||||||||||||||||||||||||||||||||||||||||||||||||||||||||||||||||||||||||||||||||||||||||||||||||||||||||||||||||||||||||||||||||||||||||||||||||||||||||||||||||||||||||||||||||||||||||||||||||||||||||||||||||||||||||||||
Часть 1 | Часть 2
Хотите оперативно узнавать о новых публикациях нормативных документов на портале? Подпишитесь на рассылку новостей!
Все ГОСТы >> ГОСТы «Двери входные и межкомнатные, перегородки >>
















