ГОСТ Р 50571.25-2001. Электроустановки зданий. Часть 7. Требования к специальным электроустановкам. Электроустановки зданий и сооружений с электрообогреваемыми полами и поверхностями.
|
ГОСТ Р 50571.25-2001
УДК 696.6:006.354 Группа Е08
ГОСУДАРСТВЕННЫЙ СТАНДАРТ РОССИЙСКОЙ ФЕДЕРАЦИИ
Электроустановки зданий
Часть 7
ТРЕБОВАНИЯ К СПЕЦИАЛЬНЫМ ЭЛЕКТРОУСТАНОВКАМ
Электроустановки зданий и сооружений с электрообогреваемыми полами и поверхностями
Electrical installations of buildings. Part 7. Requirements for special installations. Electrical installations of buildings and structures with electrical heating of floors and surfaces
ОКС 91.140.50 ОКСТУ 3402 Дата введения 2002—07—01
Предисловие
1 РАЗРАБОТАН Всероссийским научно-исследовательским институтом электрификации сельского хозяйства (ВИЭСХ) и Всероссийским научно-исследовательским институтом стандартизации и сертификации в машиностроении (ВНИИНМАШ) при участии ООО «Специальные системы и технологии»
ВНЕСЕН Техническим комитетом по стандартизации ТК 337 «Электроустановки зданий»
2 ПРИНЯТ И ВВЕДЕН В ДЕЙСТВИЕ Постановлением Госстандарта России от 24 декабря 2001 г. № 570-ст
3 ВВЕДЕН ВПЕРВЫЕ
Введение
Настоящий стандарт дополняет комплекс государственных стандартов на электроустановки зданий, разрабатываемых Техническим комитетом по стандартизации ТК 337 «Электроустановки зданий» на основе стандартом Международной электротехнической комиссии МЭК 364 «Электроустановки зданий». Необходимость разработки стандарта обусловлена тем, что электрообогреваемые полы и поверхности в настоящее время широко применяются в жилищном строительстве и во многих других отраслях народного хозяйства, в том числе в сельском хозяйстве. Здания с электрообогреваемыми полами обычно применяют в случаях, когда необходимо обеспечить самое благоприятное распределение температуры по высоте помещения. Поверхность пола в таких помещениях нагревается до 25—30 °С, а воздух на высоте до 2 м имеет температуру 18—20 °С, что создает наиболее комфортные условия для человека. Такое распределение температуры вызывает незначительные конвективные потоки, приводящие к минимальному подъему пыли с пола. Электрообогреваемые полы целесообразно применять в ванных и душевых комнатах, банях, санпропускниках и других помещениях. При толщине слоя бетона не менее 10 см, в который заложен нагревательный кабель, важную роль играет теплоаккумулирующая способность электрообогреваемых полов накапливать тепловую энергию в своей толще и тем самым длительно поддерживать температурный режим при выключенной электроэнергии, что позволяет при многотарифных ценах на электроэнергию отключать систему обогрева во время действия высоких цен (обычно в период дневного максимума нагрузок в сети) и вновь включать во время действия низких цен (в ночной период). Применение средств автоматического контроля и регулирования температуры с учетом поступления тепла от людей, животных, бытовых электроприборов и солнца способствует решению проблемы энергосбережения. Система распределенного электрообогрева пригодна для обогрева помещений сложной формы со значительным перепадом температур в разных зонах помещения и даже на открытом воздухе. Например, для подогрева поверхностей игровых полей открытых стадионов или для периодического подогрева в зимний период поверхности огороженных загонов в южных регионах страны, где круглогодично, даже в зимнее время содержат крупный рогатый скот на открытом воздухе. Целесообразность такого обогрева должна подтверждаться технико-экономическим расчетом. Область применения настоящего стандарта ограничивается в основном внутренними помещениями зданий с электрообогреваемыми полами с заложением нагревательного кабеля в бетонную стяжку, однако некоторые требования стандарта могут быть распространены и на другие объекты с электрообогреваемыми поверхностями.
1 Область применения
Настоящий стандарт распространяется на электроустановки зданий и сооружений с электрообогреваемыми полами и поверхностями, применяемыми в различных отраслях экономики страны, и устанавливает требования к указанным установкам и в первую очередь по обеспечению электробезопасности. Область применения настоящего стандарта ограничивается в основном внутренними помещениями зданий с электрообогреваемыми полами с заложением нагревательного кабеля в бетонную стяжку, однако некоторые требования стандарта могут быть распространены и на другие объекты с электрообогреваемыми поверхностями, такие как промышленные, сельскохозяйственные, торговые, зрелищные, коммунально-бытовые и иные постройки, в том числе на открытом воздухе, например открытые стадионы, спуски в подземные переходы, открытые загоны для круглогодичного содержания скота на открытом воздухе в животноводческих хозяйствах южных регионов страны и т.д. Обогреваемой поверхностью может быть крыша дома, если она оборудована противообледенительным устройством, поверхность открытого футбольного поля для создания комфортных условий игрокам в холодное время и др. Стандарт предназначен для проектных, монтажных, пусконаладочных и эксплуатационных организаций любых форм собственности. Требования настоящего стандарта являются обязательными.
2 Нормативные ссылки
В настоящем стандарте использованы ссылки на следующие стандарты: ГОСТ 12.1.004—91 Система стандартов безопасности труда. Пожарная безопасность. Общие требования ГОСТ 27.002—89 Надежность в технике. Основные понятия. Термины и определения ГОСТ 10434—82 Соединения контактные электрические. Классификация. Общие технические требования ГОСТ 14254—96 (МЭК 529—89) Степени защиты, обеспечиваемые оболочками (Код IP) ГОСТ 26445—85 Провода силовые изолированные. Общие технические условия ГОСТ 30331.1-95 (МЭК 364-1-72, МЭК 364-2-70)/ГОСТ Р 50571.1-93 (МЭК 364-1-72, МЭК 364-2—70) Электроустановки зданий. Основные положения ГОСТ 30331.2-95 (МЭК Зб4-3-93)/ГОСТ Р 50571.2-94 (МЭК 364-3-93) Электроустановки зданий. Часть 3. Основные характеристики ГОСТ 30331.3-95 (МЭК 364-4-41-92)/ГОСТ Р 50571.3-94 (МЭК 364-4-41-92) Электроустановки зданий. Часть 4. Требования по обеспечению безопасности. Защита от поражения электрическим током ГОСТ 30331.4-95 (МЭК 364-4-42-80)/ГОСТ Р 50571.4-94 (МЭК 364-4-42-80) Электроустановки зданий. Часть 4. Требования по обеспечению безопасности. Защита от тепловых воздействий ГОСТ Р МЭК 245-1—97 Кабели с резиновой изоляцией на номинальное напряжение до 450/750 В включительно. Общие требования ГОСТ Р МЭК 245-3—97 Кабели с резиновой изоляцией на номинальное напряжение до 450/750 В включительно. Кабели с нагревостойкой кремнийорганической изоляцией ГОСТ Р 50462—92 (МЭК 446—89) Идентификация проводников по цветам или цифровым обозначениям ГОСТ Р 50509—93 (МЭК 391—72) Маркировка изолированных проводников ГОСТ Р 50571.14—96 (МЭК 364-7-705—84) Электроустановки зданий. Часть 7. Требования к специальным электроустановкам. Раздел 705. Электроустановки сельскохозяйственных и животноводческих помещений ГОСТ Р 50571.16—99 (МЭК 60364-6-61—86) Электроустановки зданий. Часть 6. Испытания. Глава 61. Приемосдаточные испытания ГОСТ Р 50571.17—2000 (МЭК 60364-4-482—82) Электроустановки зданий. Часть 4. Требования по обеспечению безопасности. Глава 48. Выбор мер защиты в зависимости от внешних условий. Раздел 482. Защита от пожара ГОСТ Р 51326.1—99 (МЭК 61008-1—96) Выключатели автоматические, управляемые дифференциальным током, бытового и аналогичного назначения без встроенной защиты от сверхтоков. Часть 1. Общие требования и методы испытаний ГОСТ Р 51327.1—99 (МЭК 61009-1—96) Выключатели автоматические, управляемые дифференциальным током, бытового и аналогичного назначения со встроенной защитой от сверхтоков. Часть 1. Общие требования и методы испытаний ГОСТ Р МЭК 61140—2000 Защита от поражения электрическим током. Общие положения по безопасности, обеспечиваемой электрооборудованием и электроустановками в их взаимосвязи
3 Определения
В настоящем стандарте применяют следующие термины с соответствующими определениями. 3.1 основная система отопления: Система отопления здания (сооружения), содержащая установки обогрева, постоянно обеспечивающие теплом помещения и иные объекты в отопительный период, например системы центрального водяного отопления, печного отопления, электроотопления и т. п. 3.2 дополнительная система отопления: Система отопления здания (сооружения), содержащая установки обогрева, периодически обеспечивающие теплом помещения при понижении температуры ниже требуемой для создания в помещении комфортных условий совместно с основной системой отопления и с находящимися в помещении людьми, сельскохозяйственными животными и другими тепловыделяющими объектами. Дополнительная система отопления включает в себя, как правило, устройство, которое контролирует и автоматически поддерживает в помещении или ином объекте заданную температуру. 3.3 универсальная система отопления: Система отопления здания (сооружения), сочетающая в себе свойства как основной, так и дополнительной систем отопления. 3.4 система локального электрообогрева: Совокупность находящихся в здании отдельных компактных электрообогревателей (электрообогревателей, электрорефлекторов и др.). 3.5 установка распределенного электрообогрева: Совокупность функционально связанных между собой электронагревательных секций различного типа (кабельных, пленочных, пластинчатых), электроустановочных изделий общего назначения, кабельных линий и электропроводок для внешних соединений электронагревательных элементов со шкафом управления или блоком питания, а также механических крепежных и защитных элементов. 3.6 система распределенного электрообогрева: Одна или несколько находящихся в здании или сооружении установок распределенного электрообогрева. 3.7 электронагревательная секция (нагревательная секция): Конструкция, состоящая из распределенного электронагревательного элемента, соединительной и концевой муфт, монтажных силовых и защитных проводов или кабелей, предназначенная для обогрева элементов здания (например, полов), сооружений, различных объектов и изделий. 3.8 распределенный электронагревательный элемент (распределенный нагревательный элемент): Протяженное изделие, входящее в состав электронагревательной секции, преобразующее электрическую энергию в тепловую в целях нагрева. 3.9 кабельная электронагревательная секция: Электронагревательная секция, в которой в качестве распределенного электронагревательного элемента используют одно- или многожильный нагревательный кабель. 3.10 пленочная электронагревательная секция: Электронагревательная секция, в которой в качестве распределенного электронагревательного элемента используют нагревательную пленку. 3.11 пластинчатая электронагревательная секция: Электронагревательная секция, в которой в качестве распределенного нагревательного элемента используют нагревательную пластину. 3.12 нагревательный кабель: Кабельное изделие, предназначенное для преобразования электрической энергии в тепловую в целях нагрева. Различают одно- и многожильный нагревательный кабель, с экранной оплеткой, обеспечивающей электрическую и механическую защиту и предотвращающей распространение электромагнитных полей, или без нее. Изоляция кабеля, как правило, двойная и подвергнута специальной обработке, делающей ее негорючей и неплавящейся. Наружный слой изоляции может быть более прочным для защиты кабеля от повреждений при механических перегрузках. 3.13 саморегулирующий нагревательный кабель: Нагревательный кабель с двумя параллельными токопроводящими жилами, между которыми по всей длине находится греющая часть, выполненная из полупроводникового температурно-зависимого материала, который меняет свое электрическое сопротивление в зависимости от температуры, а следовательно, меняет и выделяемую тепловую энергию. 3.14 нагревательная пленка: Электротехническое изделие, выполненное в виде одно- или многослойной гибкой пленки или тканого материала, содержащее элементы, предназначенные для преобразования электрической энергии в тепловую в целях нагрева, или само являющееся таковым элементом. 3.15 нагревательная пластина: Электротехническое изделие, выполненное в виде жесткой пластины, габариты которой значительно превышают ее толщину, содержащее элементы, предназначенные для преобразования электрической энергии в тепловую в целях нагрева, или само являющееся таковым элементом. 3.16 монтажные концы (холодные концы): Элементы электронагревательной секции, выполненные из изолированных отличающихся по цвету силовых и установочных проводников (или кабеля с отличающимися по цвету жилами) определенного сечения, предназначенные для соединения электронагревательного элемента нагревательной секции с электрической сетью. 3.17 соединительная муфта: Элемент кабельной электронагревательной секции, предназначенный для электрического и механического соединения жил нагревательного кабеля с монтажными концами или с жилами другого нагревательного кабеля (при необходимости последовательного соединения между собой двух или нескольких нагревательных кабелей) и обеспечения герметичности соединения. 3.18 соединительное устройство: Элемент пленочной или пластинчатой электронагревательной секции, предназначенный для электрического и механического соединения нагревательной пленки или пластины с монтажными концами и обеспечения герметичности соединения. 3.19 концевая муфта: Элемент кабельной электронагревательной секции, предназначенный для электрического и механического соединения жил нагревательного кабеля между собой с герметизацией и механической защитой места соединения или только для герметизации и защиты конца секции, к которому не присоединены монтажные концы. 3.20 нормируемая мощность электронагревательной секции: Мощность (в ваттах), выделяемая электронагревательной секцией в заданных температурных условиях, например при 20 °С. 3.21 номинальная мощность электронагревательной секции: Мощность (в ваттах), используемая в расчетах при определении линейного или поверхностного тепловыделения. 3.22 установленная мощность электронагревательной секции: Максимальная мощность (в ваттах), выделяемая электронагревательной секцией в заданном диапазоне условий ее эксплуатации. 3.23 рабочее напряжение электронагревательной секции: Номинальное эффективное напряжение, при котором предусмотрена эксплуатация электронагревательной секции. 3.24 рабочая температура электронагревательной секции: Максимально допустимая непрерывно воздействующая на изоляцию электронагревательных элементов температура (в градусах Цельсия) электронагревательной секции, находящейся под рабочим напряжением. 3.25 максимальная температура электронагревательной секции: Максимальная температура (в градусах Цельсия), установленная для электронагревательной секции, не находящейся под рабочим напряжением, обусловленная свойствами материалов, использованных при изготовлении секции. 3.26 земля: По ГОСТ Р МЭК 61140. 3.27 локальная земля: По ГОСТ Р МЭК 61140. 3.28 открытая проводящая часть: По ГОСТ Р МЭК 61140. 3.29 сторонняя проводящая часть: По ГОСТ Р МЭК 61140. 3.30 токоведущая часть: По ГОСТ Р МЭК 61140. 3.31 напряжение прикосновения: По ГОСТ Р МЭК 61140. 3.32 расчетное напряжение прикосновения: По ГОСТ Р МЭК 61140. 3.33 шаговое напряжение: По ГОСТ Р МЭК 61140. 3.34 система заземления электрической сети (заземляющая система электрической сети; система заземления; заземляющая система): Совокупность заземляющего устройства подстанции, заземляющего устройства открытых проводящих частей потребителя и нейтрального (иногда фазного) проводника в электроустановке напряжением до 1 кВ. 3.35 тип системы заземления электрической сети (тип электрической сети): Показатель, характеризующий отношение к земле нейтрали (или фазы) трансформатора на подстанции и открытых проводящих частей у потребителя, а также устройство нейтрального проводника. Обозначение типов систем заземления — по ГОСТ 30331.2/ГОСТ Р 50571.2. 3.36 выравнивание потенциалов: По ГОСТ Р МЭК 61140. 3.37 выравнивание потенциалов, обеспечивающее защиту: По ГОСТ Р МЭК 61140. 3.38 уравнивание потенциалов: По ГОСТ Р МЭК 61140. 3.39 система выравнивания электрических потенциалов (устройство выравнивания электрических потенциалов, сокращенно УВЭП): По ГОСТ Р МЭК 61140.
4 Общие требования
4.1 Системы распределенного электрообогрева рекомендуется применять для обогрева зданий и сооружений в качестве основной, дополнительной и универсальной систем отопления и в первую очередь в помещениях и объектах с холодными полами (метлахская плитка, кафель, бетон, мрамор, асфальт, металлическое перфорированное покрытие и т. п.), а также для отдельно стоящих зданий и в случаях невозможности использования централизованных систем отопления. Их рекомендуется также применять в качестве противообледенительных систем для крыш зданий, водосточных систем, покрытий дорог, тротуаров, подземных переходов; систем обогрева трубопроводов, резервуаров и технологического оборудования. В сельскохозяйственном производстве системы следует использовать в первую очередь для обогрева полов в стойлах и клетях содержания молодняка (поросят, ягнят и телят), при выращивании свиней, овец и крупного рогатого скота, а также в парниках и теплицах для создания оптимального микроклимата. 4.2 Температура на поверхности установок распределенного электрообогрева не должна превышать значений, установленных строительными и санитарно-гигиеническими нормами и правилами. 4.3 Установки распределенного электрообогрева должны быть оснащены автоматическими системами поддержания заданной температуры или быть рассчитаны таким образом, чтобы при отсутствии терморегулирования была исключена возможность превышения предельно допустимых температур для данного объекта и используемых электронагревательных секций. Выполняя температурный расчет установки распределенного электрообогрева, не оборудованной средствами регулирования температуры, необходимо учитывать поступление тепла от находящихся в помещении людей, сельскохозяйственных животных, бытовых электроприборов и электроосвещения, элементов горячего водоснабжения, а также солнечного тепла. 4.4 При проектировании системы распределенного электрообогрева для использования ее в здании или сооружении в качестве дополнительной, следует предусматривать возможность выполнения ею в любой момент функции основной (с минимальными требованиями по обогреву) на случай аварийного отключения в здании или сооружении основной системы отопления (например, при прорыве трубопровода горячей воды центрального водяного отопления) с тем, чтобы она смогла обеспечить в помещениях требуемую минимальную температуру, исключающую, например, размораживание системы. 4.5 При выполнении тепловых расчетов систем распределенного электрообогрева бетонного пола толщиной не менее 10 см, в который заложен нагревательный кабель, необходимо учитывать теплоаккумулирующую способность, позволяющую накапливать тепло в толще пола и тем самым длительно сохранять тепловой режим в помещении при выключенном питании, что сокращает эксплуатационные расходы при введении многотарифной шкалы цен на электроэнергию, поскольку на время действия наивысшего тарифа систему можно отключать и вновь включать во время действия самого низкого тарифа (обычно ночью). 4.6 Установки в части обеспечения пожарной безопасности должны соответствовать ГОСТ 12.1.004. 4.7 Разработка, согласование, утверждение и состав проектной документации на установки распределенного электрообогрева — по СНиП 11-01—95 [1].
5 Требования электробезопасности
5.1 Для обеспечения электробезопасности питание установок распределенного электрообогрева должно осуществляться от электрических сетей напряжением до 1 кВ с системами заземления любых типов, а именно: TN-C, TN-S, TN-C-S, ТТ с нулевым рабочим проводником и заземленной нейтралью источника питания, ТТ с заземленной фазой источника питания, IT с заземленной через высокое сопротивление нейтралью источника питания, IT с заземленной через высокое сопротивление фазой источника питания. Принципиальные электрические схемы подключения приведены на рисунках В.1—В.5 приложения В. 5.2 Электрические схемы установок распределенного электрообогрева должны быть приведены в технической документации предприятия-изготовителя. 5.3 Основной защитой от поражения электрическим током в электроустановках распределенного электрообогрева является двойная или усиленная изоляция токоведущих частей распределенных электронагревательных элементов (нагревательных и вспомогательных жил электронагревательного кабеля, токоведущих частей монтажных концов, нагревательных пленок, токоведущих элементов электронагревательных пластин). Дополнительной защитой является применение автоматических выключателей дифференциального тока (АВДТ) по ГОСТ 51327.1 и выключателей дифференциального тока (ВДТ) по ГОСТ 51326.1 с металлической оплеткой или с повивом брони электронагревательного кабеля, экранным слоем электронагревательной пленки (пластины) или УВЭП как это показано на рисунке В.6. 5.4 Использование ВДТ без аппаратов защиты от сверхтоков, установленных до ВДТ (считая по направлению от источника питания), не допускается. 5.5 Номинальный отключающий дифференциальный ток автоматических выключателей дифференциального тока не должен превышать 30 мА. 5.6 При монтаже установок распределенного электрообогрева в помещениях, оборудованных системами безопасного сверхнизкого напряжения БСНН, ФСНН и ЗСНН по ГОСТ 31331.3/ГОСТ Р 50571.3, необходимо исключить все случаи возможного перехода напряжения с этих установок на указанные системы. 5.7 В особо опасных помещениях, например в банях, душевых комнатах, санпропускниках, пешеходных переходах и других аналогичных местах, где человек может без обуви находиться на мокром полу, необходимо наряду с использованием АВДТ в качестве другой дополнительной меры защиты от поражения электрическим током применять выравнивание электрических потенциалов, обеспечивающее защиту, при этом защитные функции УВЭП должны быть подтверждены расчетом. 5.8 Выравнивание электрических потенциалов, обеспечивающее защиту, как дополнение к АВДТ, необходимо применять в установках распределенного электрообогрева наряду с условием, указанным в 5.5, а также и во всех других случаях, когда в качестве распределенного электронагревательного элемента используется нагревательный кабель без экранирующей металлической оплетки или без повива брони из стальных оцинкованных проволок, а также нагревательные пленки и пластины без защитных экранирующих металлических слоев (см. рисунок В.6). 5.9 Устройства выравнивания электрических потенциалов должны быть электрически объединены с системой защитного уравнивания электрических потенциалов. Места электрического контакта металлоконструкций обеих систем должны выполняться сваркой, опрессовкой или надежными болтовыми соединениями, исключающими самопроизвольное ослабление контакта (класс контактного соединения 2 по ГОСТ 10434). 5.10 Другие требования электробезопасности — по СНиП III-4—80 [2] и ГОСТ 30331.3/ГОСТ Р 50571.3.
6 Требования к конструкции электронагревательных секций
6.1 Электронагревательная секция установки распределенного электрообогрева должна включать в себя распределенный электронагревательный элемент (кабель, пленку, пластину), монтажные концы, соединительную и концевую муфты применительно к двухжильному электронагревательному кабелю или две соединительные муфты применительно к одножильному электронагревательному кабелю, соединительные устройства применительно к электронагревательным пленке и пластине. 6.2 Электронагревательные кабели должны изготавливаться в соответствии с требованиями ГОСТ Р МЭК 245-1 и ГОСТ Р МЭК 245-3, стандартов или технических условий на кабели конкретных марок, конструкторской и технологической документации, утвержденной в установленном порядке. Кабель может быть одножильным, двухжильным с одной нагревательной и второй вспомогательной жилами, двухжильным из двух нагревательных жил, трехжильным из двух нагревательных и одной вспомогательной жил, а также многожильным. Вспомогательная жила должна выполняться из медных отожженных проволок. Кабель должен иметь двойную или усиленную изоляцию из теплостойкого негорючего и неплавящегося полимерного материала (специально обработанный полиэтилен, поливинилхлоридный пластикат и т. п.), поверх которой должна быть металлическая экранирующая оплетка (или повив брони), обеспечивающая механическую и электрическую защиту, а также предотвращающая распространение электромагнитных полей. Поверх оплетки кабеля, с целью защиты ее от коррозии, должна быть наложена оболочка из полимера, не распространяющего горение. В случае, если конструкция обогреваемого устройства предусматривает защиту оплетки кабеля от коррозии, например с помощью тепловой изоляции, наличие оболочки поверх оплетки не является обязательным. Допускается использовать электронагревательный кабель без экранирующей оплетки или повива брони при условии применения УВЭП, защитные функции которого подтверждены расчетом. 6.3 Контактные соединения монтажных концов и жил кабелей выполняют только опрессовкой в соответствии с ГОСТ 10434, класс соединения 2, обеспечивающей надежный электрический контакт; места опрессовки должны быть герметично закрыты с помощью соединительной муфты. 6.4 Монтажные концы должны быть цветными или обозначены цветовой маркировкой с тем, чтобы можно было отличить конец, соединенный с нагревательной жилой кабеля, от конца, соединенного со вспомогательной жилой, и от конца, соединенного с экранирующей оплеткой, обозначаемого желто-зеленым цветом. 6.5 Не допускается укорачивать электронагревательный кабель (за исключением саморегулирующего), а также заменять монтажные концы, нарушая соединения в муфте, выполненные предприятием-изготовителем. 6.6 Запрещается, даже кратковременно, включать в сеть электронагревательный кабель, свернутый в бухту. 6.7 Запрещается включать секции электронагревательного кабеля, электронагревательных пленки и пластины в электрическую сеть, напряжение в которой не соответствует номинальному рабочему напряжению, указанному на маркировке или упаковке. 6.8 Электронагревательный кабель должен прокладываться только по негорючему или не распространяющему горение основанию. 6.9 На объектах, где затруднено или нецелесообразно применение устройств автоматического регулирования температуры (терморегуляторов) и датчиков температуры, например при обогреве трубопроводов, краев крыш и т. п., нагревательные секции должны выполняться из саморегулирующегося нагревательного кабеля. 6.10 Конструкция секций с электронагревательными пленками и пластинами должна обеспечивать двойную или усиленную электрическую изоляцию и, кроме того, иметь экранированную поверхность. 6.11 Кабельные, пленочные и пластинчатые электронагревательные секции, в процессе эксплуатации которых возможно взаимодействие с химически активной средой, должны быть стойкими по отношению к этой среде. 6.12 Температурное поле на поверхности электронагревательной пленки или пластины должно быть однородным, а поверхностная температура не должна превышать 95 °С. Примечание — Для электрообогреваемых плит, предназначенных для теплых полов в свинарниках, максимальная удельная мощность не должна превышать 300 Вт/м2.
7 Требования к параметрам и маркировке электронагревательных секций
7.1 В паспорте на каждую электронагревательную секцию предприятие-изготовитель должно указывать рабочее напряжение (в вольтах), нормируемую мощностью секции (в ваттах), линейное тепловыделение (в ваттах на метр), длину секции (в метрах). 7.2 В паспорте на каждую пленочную или пластинчатую электронагревательную секцию предприятие-изготовитель должно указывать рабочее напряжение (в вольтах), нормируемую мощность секции (в ваттах), поверхностное тепловыделение (в ваттах на квадратный метр), площадь секции (в квадратных метрах) или наружные размеры (в метрах). 7.3 Нижняя граница наработки на отказ токоведущих частей и электрической изоляции распределенного электронагревательного элемента секции, уложенной в бетонную стяжку пола или иной поверхности, должна составлять не менее 20 лет при доверительной вероятности не ниже 0,9. При этом гарантийный срок на смонтированные и включенные в работу электронагревательные секции должен быть не менее 16 лет. 7.4 Теплоотдача на единицу площади пола жилого помещения, оборудованного системой распределенного электрообогрева, должна составлять 80—150 Вт/м2. Верхний предел соответствует помещениям с плохой теплоизоляцией и расположенным в холодных регионах, нижний — помещениям с хорошей теплоизоляцией и южным регионам. Для помещений со средней теплоизоляцией теплоотдача должна составлять 100—120 Вт/м2. Теплоотдача в теплоаккумуляторных системах обогрева не должна превышать 200 Вт/м2. Качество теплоизоляции помещений должно определяться на основе расчета тепловых характеристик здания согласно СНиП II-3—79 [3]. 7.5 Для обеспечения указанной в 7.4 теплоотдачи необходимо для помещения определенной площади применять одну или несколько электронагревательных секций с определенными параметрами — номинальной мощностью и длиной. Кабельные электронагревательные секции разной мощности и длины должны отличаться друг от друга по цвету и маркировке. В приложении А приведены параметры и цветовая маркировка других кабельных электронагревательных секций. 7.6 Для помещений большей площади допускается применять установки распределенного электрообогрева, состоящие из двух и более одноцветных или разноцветных кабельных электронагревательных секций. 7.7 Для каждой установки распределенного электрообогрева следует указывать тип помещения, для которого приобретается установка, его площадь, общую номинальную и установленную мощности всей установки, число входящих в нее электронагревательных секций, а также цвета каждой секции, их длины и номинальные мощности. 7.8 Электронагревательные секции, в которых отсутствует защитный экран, например электронагревательный кабель без экранной оплетки и без повива брони, должны быть снабжены одножильными монтажными концами обычно синего цвета. Применять такие секции разрешается только при наличии УВЭП по 6.2. 7.9 Все электронагревательные кабели помимо отличия цветом по п. 7.5 должны иметь на оболочке буквенно-цифровую маркировку, содержащую фирменный знак предприятия-изготовителя (товарную марку) и надпись, показывающую длину нагревательной секции в метрах и ее номинальную мощность в ваттах. 7.10 На готовых электронагревательных секциях буквенно-цифровую маркировку допускается также указывать на поверхности соединительных муфт. 7.11 На электронагревательные кабели с повивом брони из стальных оцинкованных проволок, не имеющих наружной изоляционной оболочки, требования о цветовой и буквенно-цифровой маркировке не распространяются. Для таких кабелей маркировку наносят только на поверхность соединительных муфт или на прикрепленную к кабелю бирку.
8 Требования к установкам распределенного электрообогрева
8.1 В состав установки распределенного электрообогрева в зависимости от ее назначения (обогрев полов в помещениях жилых и общественных зданий, в помещениях для содержания скота, обогрев земли в парниках и теплицах, обогрев наружных объектов и территорий, обогрев крыш, водосточных труб и желобов, обогрев тротуаров и открытых ступеней, обогрев трубопроводов) и вида применяемых электронагревательных секций (кабельные, пленочные, пластинчатые) должны входить помимо электронагревательных секций (одной или нескольких) датчик температуры с монтажным кабелем и регулятор температуры (терморегулятор). По требованию заказчика в комплект поставки могут входить монтажная лента, гофрированная трубка для датчика температуры, дополнительно датчик температуры объекта, датчик осадков, устройство автоматического регулирования режима обогрева, отвечающие необходимым требованиям аппараты защиты от аварийных режимов, устройства коммутации и защиты от поражения электрическим током, соединительные кабели, теплоизоляция, теплоотражающие экраны, гидроизоляция. 8.2 Число электронагревательных секций в установке распределенного электрообогрева и их номинальные мощности зависят главным образом от площади помещения, в котором установка будет применяться (см. 7.5, 7.6), а также от конструкции наружных обогреваемых поверхностей. 8.3 Питание установок распределенного электрообогрева от электрической сети должно осуществляться через устройство защитного отключения и автоматический выключатель. В обоснованных случаях, например при использовании защитного выравнивания электрических потенциалов с параметрами, обеспечивающими безопасные значения напряжений прикосновения и шаговые напряжения, и в ряде других случаев от применения ВДТ и АВДТ можно отказаться. ВДТ и АВДТ являются обязательными для установок распределенного электрообогрева во влажных помещениях, где человек может находиться без обуви на мокром полу, например в душевых, а также там, где не исключено механическое повреждение пола, например в животноводческих помещениях. 8.4 Датчик температуры совместно с терморегулятором должны позволять поддерживать тепловой режим пола от (10±1) °С до (35±1) °С. Он должен быть помещен в специальную пластмассовую гофрированную трубку диаметром 12—16 мм, установлен в бетонной стяжке пола и с помощью специального кабеля, поставляемого вместе с датчиком, соединен с регулятором температуры. В случаях, когда датчик представляет собой не терморезистор, а выполнен в виде заполненного жидкостью термобаллона, он должен соединяться с терморегулятором при помощи металлической капиллярной трубки. Датчики, предназначенные для наружных установок, должны выдерживать низкую температуру и не повреждаться при температуре минус 50 °С. Диапазон температур в наружных установках отличается от приведенного выше и должен согласовываться в каждом конкретном случае с поставщиком в зависимости от назначения установки распределенного электрообогрева. С ним же следует согласовывать технические требования к датчику, в том числе по исполнению и степени защиты. 8.5 С целью контроля температуры в помещениях, обогреваемых установками распределенного электрообогрева, в их комплектацию должен входить регулятор температуры. Тип регулятора следует выбирать в зависимости от максимальной суммарной мощности электронагревательных секций. 8.6 Для экономии электроэнергии при электрообогреве производственных помещений днем в рабочее время следует поддерживать более высокую температуру, чем в нерабочее время. С этой целью для регулирования температуры в помещениях, оборудованных установками распределенного электрообогрева, необходимо использовать терморегулятор с часовым механизмом или программатором, позволяющим обеспечивать работу системы обогрева по заданной временной программе на неделю. Предпочтительнее использовать регулятор температуры с программатором на электронной схеме. Недельная программа позволяет также автоматически поддерживать более низкую температуру в ночное время и в рабочее время днем для жилых помещений. 8.7 При суммарной мощности электронагревательных секций в установке распределенного электрообогрева, превышающей допустимую мощность терморегулятора, питание ее следует осуществлять через шкаф управления. 8.8 Шкаф управления установкой распределенного электрообогрева должен содержать входной автомат или выключатель, выбираемый по номинальному току, автоматический выключатель дифференциального тока или выключатель дифференциального тока, рассчитанный на максимальный пропускаемый ток, регулятор температуры с программатором или без, силовое реле или иную коммутирующую аппаратуру, управляемую от регулятора температуры и подающую напряжение на электронагревательные секции, защитный автомат, выбираемый по быстродействию из условия селективности с времятоковой характеристикой, позволяющей защитить установку при коротких замыканиях и перегрузках в результате выхода электронагревателей из строя. ВДТ и АВДТ должны соответственно отвечать требованиям ГОСТ Р 51326.1 и ГОСТ Р 51327.1. 8.9 Силовые и установочные кабели для подвода электроэнергии к установке должны иметь сечения жил, соответствующие установленной мощности установки распределенного электрообогрева. 8.10 Силовая цепь установки распределенного обогрева в целом по условиям защиты от пожара помещения, в котором она смонтирована, должна обеспечиваться мерами, выбор которых в зависимости от внешних условий должен осуществляться по ГОСТ Р 50571.17.
9 Требования к проектированию
9.1 Проектирование системы распределенного электрообогрева должно начинаться с расчета установленной мощности системы. Для основной системы отопления установленная мощность электронагревательных секций должна выбираться исходя из конструкции здания и базироваться на расчетном или экспериментальном значении тепловых потерь (в ваттах на квадратный метр) для самой холодной пятидневки данного региона. Площадь обогреваемой поверхности в случае основного обогрева должна составлять не менее 70 % общей площади помещения. 9.2 При определении установленной мощности электронагревательных секций для отдельных помещений и небольших зданий можно ориентировочно использовать значения типовых приведенных тепловых потерь для зданий, находящихся в центре европейской части России и построенных до 1996 г., в пределах 80—120 Вт/м2. Для зданий с улучшенной теплоизоляцией, построенных после 1996 г. с учетом последних требований к термическому сопротивлению ограждающих конструкций, значения приведенных тепловых потерь естественно ниже и должны выбираться из диапазона 50-80 Вт/м2. 9.3 В помещениях, оборудованных деревянными полами с черновым и чистовым настилами, при расчете установленной мощности следует исходить из удельной мощности 80 Вт/м2, что в данном случае определяется характером тепловых потерь в полу подобной конструкции. 9.4 Более точные значения тепловых потерь следует определять на основе расчета тепловых характеристик по СНиП II-3—79 [3], что особенно важно при проектировании системы распределенного электрообогрева больших зданий и сооружений, а также нестандартных помещений и конструкций. 9.5 При теплотехнических расчетах необходимо учитывать конструктивные особенности полов и иных поверхностей и прежде всего наличие теплоизоляционных подстилающих слоев, тип материала напольного покрытия и температуру, которую следует получить на поверхности пола. 9.6 Согласно СНиП 2.04.05—91 [4] средняя температура обогреваемых полов в помещениях с постоянным пребыванием людей должна быть 26 °С. Это же значение рекомендуется для полов с теплоизолирующим покрытием (паркет, теплый линолеум, ковролин). 9.7 Для полов с теплопроводящим покрытием (керамическая и в том числе метлахская плитки, мрамор и др.) рекомендуется ориентироваться на нормы, установленные для обходных дорожек плавательных бассейнов ... 31 °С, а по оси лежащего в полу нагревательного кабеля ... 35 °С. 9.8 Для точного определения ожидаемых на поверхности пола температур их следует рассчитывать с помощью компьютера на математических моделях, построенных на учете реальной конструкции пола и помещения. Такие расчеты могут быть выполнены с помощью имеющихся у специалистов алгоритмов и комплексов программ математического моделирования физических полей. 9.9 При проектировании системы распределенного электрообогрева для здания или сооружения в качестве дополнительной следует учитывать требование 4.4. Электротехнические устройства должны соответствовать требованиям СНиП 3.05.06—85 [5]. 9.10 Защиту от тепловых воздействий необходимо обеспечивать по ГОСТ 30331.4/ГОСТ Р 50571.4. 9.11 После теплотехнических расчетов и определения установленной мощности каждой из входящих в систему распределенного обогрева установок следует рассчитать число электронагревательных секций и их параметры, а для кабельных секций — длину нагревательного кабеля и шаг укладки кабеля в полу. 9.12 Укладку нагревательного кабеля в полу следует производить в форме змеевика. Шаг укладки нагревательного кабеля (H) в метрах в зависимости от площади пола и длины секции вычисляют по формуле
где S — площадь пола, м ; l — длина секции, м. Для электроустановок всех видов, удовлетворяющих настоящему стандарту, должны соблюдаться следующие основные правила: - не допускается касание и пересечение рядов кабеля в одной плоскости; - греющая часть кабеля, включая соединительную муфту, должна по всей длине находиться в материале с одинаковыми показателями по теплопроводности. 9.13 В проектной документации должны быть приведены электрические схемы подключения электронагревательных секций в электрическую сеть для всех помещений здания и элементов сооружения с указанием типов, марок и подробных характеристик примененных аппаратов коммутации, управления и защиты от поражения электрическим током. Для аппаратов должны быть указаны степени защиты по ГОСТ 14254. 9.14 Требования, содержащиеся в проектной документации, не должны противоречить требованиям ГОСТ 30331.1/ГОСТ Р 50571.1 и ГОСТ 30331.2/ГОСТ Р 50571.2, а применительно к проектированию систем распределенного электрообогрева в сельскохозяйственных и животноводческих помещениях - ГОСТ Р 50571.14. 9.15 Приводить к проектной документации надежностные характеристики элементов системы распределенного электрообогрева нет необходимости, но если их указывают, то они должны быть сформулированы в понятиях и терминах, содержащихся в ГОСТ 27.002. 9.16 Проектная документация на систему распределенного электрообогрева должна иметь раздел, посвященный электробезопасности. В нем должно содержаться обоснование принятых мер обеспечения электробезопасности по ГОСТ 30331.3/ГОСТ Р 50571.3. 9.17 При проектировании установки распределенного электрообогрева для особо опасного в отношении возможности поражения людей и животных электрическим током помещения необходимо соблюдать требование 5.5. 9.18 Проектная документация для установки распределенного электрообогрева должна содержать следующие этапы: - определение класса обогреваемого помещения (сооружения) в отношении пожаробезопасности и категории в отношении опасности поражения электрическим током; - выбор вида системы обогрева и ее основных параметров; - на всей обогреваемой поверхности должно выдерживаться постоянство укладки кабеля (допускаются отклонения от расчетного шага ±10 %); - теплотехнический расчет; - выбор нагревательного кабеля; - расчет шага укладки; - выбор терморегуляторов и датчиков; - определение источника электроснабжения (электрическая сеть централизованного электроснабжения или локальный источник электроснабжения); - выбор системы заземления; - выбор аппаратов защиты электроустановки и защитных мер электробезопасности; - выбор комплектующих и монтажных приспособлений систем электрообогрева. 9.19 Проектная документация на установку распределенного электрообогрева должна включать в себя: - пояснительную записку; - план помещения (сооружения) с размещенными электронагревательными секциями (исполнительные чертежи установки распределенного электрообогрева); - электрические схемы подключения установки к источнику электроснабжения (электрической сети или автономному источнику); - расчеты по выбору системы заземления, аппаратов защиты электроустановки и средств обеспечения электробезопасности; - спецификацию оборудования и материалов.
10 Требования к монтажу
10.1 Перед укладкой в пол электронагревательных секций обычного исполнения на бетонные плиты или цементно-песчаную стяжку поверхность укладки должна быть очищена от различного мусора, грязи и краски. После очистки поверхность основания следует высушить, очистить от пыли и, при необходимости, выровнять строительным раствором. Отклонение от плоскостности свыше 5 мм не допускается. 10.2 Для уменьшения тепловых потерь вниз (через нижние слои пола) электронагревательные секции следует укладывать на поверхность, содержащую теплоизолирующий слой из негорючего материала. Такой слой должен обладать достаточной жесткостью, теплопроводность его не должна превышать 0,05 Вт/(м×°С), он не должен терять своей жесткости и теплопроводных свойств при температурах до 100 °С. 10.3 Чтобы исключить контакт электронагревательной секции с теплоизоляцией, что особенно важно для кабельных электронагревательных секций, поскольку контакт кабеля с теплоизоляцией может привести к его перегреву, поверх теплоизоляции необходимо установить несгораемый слой, например тонкую цементную стяжку толщиной 5—10 мм, такой же толщины гипсовую плиту или металлическую фольгу. 10.4 Для улучшения тепловых параметров теплоизоляционного слоя его поверхность желательно покрыть тонкой теплоотражающей металлической фольгой. 10.5 Раствор, которым будет заливаться кабельная электронагревательная секция, не должен содержать щебня и других включений с острыми краями, способными повредить его оболочку. Консистенция раствора должна быть такова, чтобы исключить образование воздушных полостей и пустот около электронагревательного кабеля и локальные перегревы кабеля возле этих пустот. Для изготовления раствора следует использовать бетон только высоких марок (не ниже Ml50) со щебнем мелкой фракции (крупностью не более 10 мм). 10.6 Допускается укладка кабеля без бетонной стяжки прямо на теплоизоляцию, покрытую алюминиевой фольгой, если покрытие пола будет выполнено из плитки или камня. 10.7 При укладке кабельных электронагревательных секций не в слой бетона или бетонной стяжки, а, например, в зазор между черновым и чистовым деревянным полом должны применяться секции с уменьшенной линейной мощностью тепловыделения, значение которой должно выбираться из таблицы A.1 приложения А по критериям, указанным фирмой — изготовителем электронагревательных секций. 10.8 При укладке кабельных электронагревательных секций в бетон или в цементно-песчаную стяжку непосредственно в бетоне (стяжке) должен находиться весь кабель с концевыми и соединительными муфтами, а монтажные концы должны быть выведены к регулятору температуры или в распаечную коробку. 10.9 Для равномерной укладки на подготовленную поверхность пола нагревательного кабеля следует пользоваться монтажной лентой. Ленту нужно проложить на поверхности вдоль противоположных стен и закрепить гвоздями или дюбелями. Концы петель нагревательного кабеля должны быть закреплены на монтажной ленте с помощью имеющихся на ней специальных язычков. Для помещений и объектов площадью более 5 м2 ленту следует проложить в промежуточных местах. 10.10 Перед заливкой бетонным раствором уложенного и закрепленного на монтажной ленте нагревательного кабеля рекомендуется дополнительно зафиксировать его небольшими порциями раствора высотой 10—12 мм, распределенного с небольшими интервалами вдоль кабеля. Это позволит избежать перемещения кабеля при заливке бетонным раствором. Толщина бетонной стяжки над кабельной электронагревательной секцией должна быть в пределах 2—5 см. На объектах, в которых монтажная лента проложена в промежуточных местах, закрепление ветвей нагревательного кабеля должно осуществляться только язычками на монтажной ленте. 10.11 При монтаже датчика температуры его следует поместить в пластмассовую трубку диаметром 12—16 мм, плотно закрытую с одного конца для предотвращения попадания внутрь ее влаги при заливке пола бетонным раствором. Трубку с датчиком следует надежно прикрепить к полу между нагревательными кабелями на равном расстоянии от них. Расстояние от стены до конца трубки (до места установки датчика) 50—60 см. Второй конец трубки может заканчиваться у стены, регулятора температуры или распаечной коробки. Радиус изгиба трубки должен быть не менее 5 см. 10.12 Приемка работ по укладке нагревательного кабеля и монтажу датчика температуры должна быть перед выполнением защитного покрытия (например, перед заливкой бетонной стяжки) освидетельствована оформлением акта на скрытые работы. 10.13 В жилых помещениях регулятор температуры рекомендуется устанавливать вблизи имеющейся проводки, если по условию установленной мощности не требуется прокладка специальной проводки для системы распределенного электрообогрева. Его следует устанавливать на стене в наиболее удобном для пользователя месте (рядом с выключателями освещения или розетками) с тем, чтобы не мешать расстановке мебели. Регулятор устанавливают так же, как электрическую розетку для скрытой проводки. В помещениях других типов с электрообогревом полов терморегулятор рекомендуется устанавливать на высоте 0,5—1,5 м от поверхности пола. При невозможности размещения терморегулятора в обогреваемом помещении допускается его установка в ином отапливаемом помещении при условии применения датчика температуры выносного исполнения. Если корпус терморегулятора имеет вентиляционные пазы, то его следует устанавливать так, чтобы пазы находились снизу и сверху. Не допускается установка терморегулятора в местах, подверженных действию сквозняков, солнечных лучей, или вблизи источников тепла. 10.14 Во время монтажа кабельных электронагревательных секций с экранированным кабелем или с повивом брони необходимо строго следить за тем, чтобы не перепутать монтажные концы, идущие к нагревательным жилам, с монтажными концами, идущими к металлической оплетке кабеля или его броне. 10.15 Включать смонтированную установку в сеть разрешается только после полного затвердевания бетона. Согласно действующим строительным нормам и правилам время полного затвердевания бетона — 28 сут.
11 Требования по приемке
11.1 Вновь смонтированная установка распределенного электрообогрева должна быть подвергнута приемосдаточным испытаниям по ГОСТ Р 50571.16. 11.2 Приемосдаточные испытания должны включать визуальный осмотр установки, проведение необходимых измерений и оформление выполненного осмотра и проведенных измерений протоколами по ГОСТ Р 50571.16. 11.3 При проведении визуального осмотра необходимо убедиться в отсутствии повреждений элементов установки, в правильности их монтажа и установки в целом, а также в правильности подключения к источнику питания. 11.4 При невозможности осмотра каких-либо элементов установки заключение должно быть сделано по результатам проверки наличия и правильности оформления актов на скрытые работы (см. 10.12).
ПРИЛОЖЕНИЕ А (справочное)
Параметры кабельных электронагревательных секций
Таблица А.1 — Параметры экранированных электронагревательных секций для укладки под деревянные полы (напряжение 220 В)
Таблица А.2 — Параметры неэкранированных электронагревательных секций для укладки в цементную стяжку полов сухих помещений (напряжение 220 В)
Если тепловые потери помещения превышают приведенные в таблицах А.1 и А.2 значения мощностей электронагревательных секций, то в пол следует укладывать несколько секций.
ПРИЛОЖЕНИЕ В (справочное)
Принципиальные электрические схемы подключения установок распределенного электрообогрева к электрическим сетям с системами заземления различных типов
АВДТ — автоматический выключатель дифференциального тока по ГОСТ 51327.1; Rпов — заземлитель повторного заземления PEN-проводника
Рисунок B.1 — Принципиальная электрическая схема подключения установки распределенного электрообогрева к электрической сети с системой заземления типа TN-C
АВДТ — автоматический выключатель дифференциального тока по ГОСТ Р 51327.1
Рисунок В.2 — Принципиальная электрическая схема подключения установки распределенного электрообогрева к электрической сети с системой заземления типа TN-S
АВДТ — автоматический выключатель дифференциального тока по ГОСТ Р 51327.1; Rпов — заземлитель повторного заземления PEN-проводника
Рисунок В.3 — Принципиальная электрическая схема подключения установки распределенного электрообогрева к электрической сети с системой заземления типа TN-C-S
АВДТ — автоматический выключатель дифференциального тока по ГОСТ Р 51327.1; Rзаз —заземлитель установки
Рисунок В.4 — Принципиальная электрическая схема подключения установки распределенного электрообогрева к электрической сети с системой заземления типа ТТ с нулевым рабочим проводником
АВДТ — автоматический выключатель дифференциального тока по ГОСТ Р 51327.1; Rзаз — заземлитель установки
Рисунок В.5 — Принципиальная электрическая схема подключения установки распределенного электрообогрева к электрической сети с системой заземления типов IT и ТТ без нулевого проводника
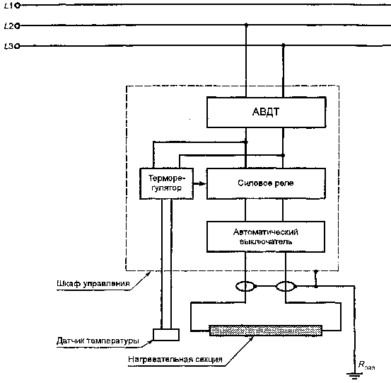
АВДТ — автоматический выключатель дифференциального тока по ГОСТ Р 51327.1; Rпов — заземлитель повторного заземления PEN-проводника; УВЭП — устройство выравнивания электрических потенциалов
Рисунок В.6 — Принципиальная электрическая схема подключения установки распределенного электрообогрева к электрической сети с системой заземления типа TN-C и УВЭП, обеспечивающего защиту
ПРИЛОЖЕНИЕ С (справочное)
Библиография
[1] СНиП 11-01—95 Инструкция о порядке разработки, согласования, утверждения и составе проектной документации на строительство предприятий, зданий и сооружений [2] СНиП III-4—80 Техника безопасности в строительстве [3] СНиП II-3—79 Строительная теплотехника [4] СНиП 2.04.05—91 Отопление, вентиляция, кондиционирование [5] СНиП 3.05.06—85 Электротехнические устройства
Ключевые слова: электроустановки зданий, электроустановки сооружений, электрообогреваемые полы, электрообогреваемые поверхности, теплые полы, требования к специальным установкам, электробезопасность, заземление, выравнивание электрических потенциалов
Содержание
1 Область применения 2 Нормативные ссылки 3 Определения 4 Общие требования 5 Требования электробезопасности 6 Требования к конструкции электронагревательных секций 7 Требования к параметрам и маркировке электронагревательных секций 8 Требования к установкам распределенного электрообогрева 9 Требования к проектированию 10 Требования к монтажу 11 Требования по приемке Приложение А Параметры кабельных электронагревательных секций Приложение В Принципиальные электрические схемы подключения установок распределенного электрообогрева к электрическим сетям с системами заземления различных типов Приложение С Библиография
|
Хотите оперативно узнавать о новых публикациях нормативных документов на портале? Подпишитесь на рассылку новостей!





