ГОСТ 28759.2-90 Фланцы сосудов и аппаратов стальные плоские приварные. Конструкция и размеры

ГОСУДАРСТВЕННЫЙ СТАНДАРТ СОЮЗА ССР
ФЛАНЦЫ
СОСУДОВ И АППАРАТОВ
СТАЛЬНЫЕ ПЛОСКИЕ ПРИВАРНЫЕ
КОНСТРУКЦИЯ И РАЗМЕРЫ
ГОСТ 28759.2-90
ГОСУДАРСТВЕННЫЙ КОМИТЕТ СССР
ПО УПРАВЛЕНИЮ КАЧЕСТВОМ ПРОДУКЦИИ И СТАНДАРТАМ
Москва
ГОСУДАРСТВЕННЫЙ СТАНДАРТ СОЮЗА ССР
|
ФЛАНЦЫ СОСУДОВ И АППАРАТОВ СТАЛЬНЫЕ ПЛОСКИЕ ПРИВАРНЫЕ Конструкция и размеры Steel flat welded flanges of vessels and apparatus. Design and dimensions |
ГОСТ |
Дата введения 01.01.92
Настоящий стандарт распространяется на стальные плоские приварные фланцы для сосудов и аппаратов диаметром от 400 до 4000 мм с условным давлением от 0,3 до 1,6 МПа при температуре рабочей среды от минус 70°С до плюс 300°С, предназначенных для работы в химической, нефтехимической, нефтеперерабатывающей и других отраслей промышленности, и направлен на обеспечение взаимозаменяемости и унификации фланцев сосудов и аппаратов.
Пределы применения фланцев в зависимости от материала и температуры должны соответствовать ГОСТ 28759.1.
Требования п. 1.2 в части показателей «Внутренний диаметр аппарата D», D1, D2, D3, D4, D5; п. 1.4 в части показателя «Внутренний диаметр аппарата D» настоящего стандарта являются обязательными, другие требования настоящего стандарта являются рекомендуемыми.
1. КОНСТРУКЦИЯ И РАЗМЕРЫ
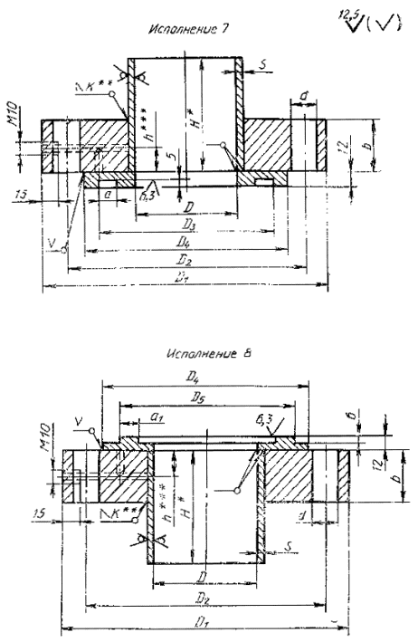
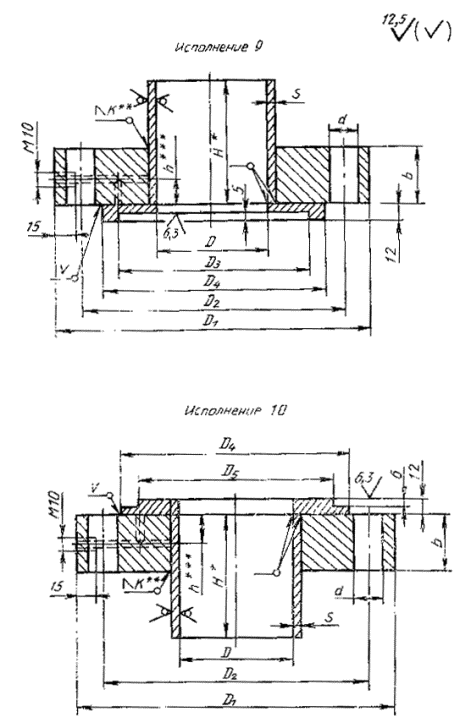
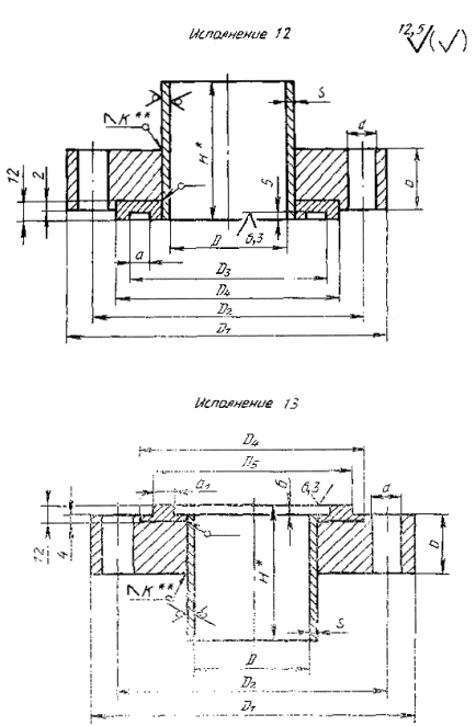
1.1. Стандарт устанавливает конструкции фланцев следующих исполнений:
1 - с гладкой уплотнительной поверхностью;
2 - с пазом;
3 - с шипом;
4 - с впадиной;
5 - с выступом;
6 - с гладкой уплотнительной поверхностью, облицованные листом из коррозионно-стойкой стали;
7 - с пазом, облицованные листом из коррозионно-стойкой стали;
8 - с шипом, облицованные листом из коррозионно-стойкой стали;
9 - с впадиной, облицованные листом из коррозионно-стойкой стали;
10 - с выступом, облицованные листом из коррозионно-стойкой стали;
11 - с гладкой уплотнительной поверхностью, наплавленные коррозионно-стойкой сталью;
12 - с пазом, наплавленные коррозионно-стойкой сталью;
13 - с шипом, наплавленные коррозионно-стойкой сталью;
14 - с впадиной, наплавленные коррозионно-стойкой сталью;
15 - с выступом, наплавленные коррозионно-стойкой сталью.
1.2. Конструкция и размеры фланцев должны соответствовать черт. 1-9 и табл. 1.

________
* Размер не менее 150 мм.
** Размер равен S.
*** Размер равен S, но не менее 15 мм.
Черт. 1

________
* Размер не менее 150 мм.
** Размер равен S.
*** Размер равен S, но не менее 15 мм.
Черт. 2

________
* Размер не менее 150 мм.
** Размер равен S.
*** Размер равен S, но не менее 15 мм.
Черт. 3

__________
* Размер не менее 150 мм.
** Размер равен S.
*** Размер равен
.
**** Размер равен S, но не более 12 мм.
Черт. 4

__________
* Размер не менее 150 мм.
** Размер равен S.
*** Размер равен
.
Черт. 5

__________
* Размер не менее 150 мм.
** Размер равен S.
*** Размер равен
.
Черт. 6

__________
* Размер не менее 150 мм.
** Размер равен S.
Черт. 7

__________
* Размер не менее 150 мм.
** Размер равен S.
Черт. 8

__________
* Размер не менее 150 мм.
** Размер равен S.
Черт. 9
Размеры, мм
|
Внутренний диаметр аппарата D |
D1 |
D2 |
D3 |
D4 |
а |
D5 |
а1 |
b |
S |
d |
Болты, шпильки |
Давление условное, МПа |
|
|
диаметр |
количество |
||||||||||||
|
400 |
520 |
480 |
444 |
452 |
13,5 |
443 |
12 |
25 |
6 |
23 |
М20 |
16 |
0,6 |
|
535 |
495 |
458 |
466 |
457 |
30 |
8 |
20 |
1,0 |
|||||
|
35 |
1,6 |
||||||||||||
|
(450) |
570 |
530 |
494 |
502 |
493 |
25 |
0,6 |
||||||
|
590 |
550 |
514 |
522 |
513 |
30 |
24 |
1,0 |
||||||
|
40 |
10 |
1,6 |
|||||||||||
|
500 |
620 |
580 |
544 |
552 |
543 |
25 |
8 |
20 |
0,6 |
||||
|
640 |
600 |
564 |
672 |
663 |
35 |
24 |
1,0 |
||||||
|
40 |
10 |
1,6 |
|||||||||||
|
(550) |
670 |
630 |
594 |
602 |
593 |
25 |
8 |
20 |
0,6 |
||||
|
690 |
650 |
614 |
622 |
613 |
35 |
28 |
1,0 |
||||||
|
40 |
10 |
1,6 |
|||||||||||
|
600 |
720 |
680 |
644 |
652 |
14 |
643 |
25 |
8 |
20 |
0,3 |
|||
|
30 |
24 |
0,6 |
|||||||||||
|
740 |
700 |
664 |
672 |
663 |
35 |
10 |
28 |
1,0 |
|||||
|
40 |
1,6 |
||||||||||||
|
(650) |
770 |
730 |
694 |
702 |
14 |
693 |
12 |
25 |
8 |
23 |
М20 |
24 |
0,3 |
|
30 |
28 |
0,6 |
|||||||||||
|
790 |
750 |
714 |
722 |
713 |
35 |
10 |
32 |
1,0 |
|||||
|
45 |
12 |
1,6 |
|||||||||||
|
700 |
820 |
780 |
744 |
752 |
743 |
25 |
8 |
24 |
0,3 |
||||
|
35 |
28 |
0,6 |
|||||||||||
|
840 |
800 |
764 |
772 |
763 |
10 |
32 |
1,0 |
||||||
|
50 |
12 |
1,6 |
|||||||||||
|
800 |
920 |
880 |
842 |
852 |
841 |
25 |
8 |
28 |
0,3 |
||||
|
35 |
32 |
0,6 |
|||||||||||
|
945 |
905 |
866 |
876 |
865 |
40 |
10 |
40 |
1,0 |
|||||
|
55 |
12 |
1,6 |
|||||||||||
|
900 |
1030 |
990 |
952 |
962 |
951 |
30 |
8 |
32 |
0,3 |
||||
|
35 |
36 |
0,6 |
|||||||||||
|
1045 |
1005 |
966 |
976 |
965 |
50 |
10 |
40 |
1,0 |
|||||
|
60 |
12 |
1,6 |
|||||||||||
|
1000 |
1130 |
1090 |
1052 |
1062 |
15,5 |
1050 |
13 |
30 |
8 |
23 |
М20 |
36 |
0,3 |
|
40 |
10 |
0,6 |
|||||||||||
|
1145 |
1105 |
1066 |
1076 |
1064 |
50 |
12 |
44 |
1,0 |
|||||
|
65 |
1,6 |
||||||||||||
|
1100 |
1230 |
1190 |
1150 |
1162 |
1148 |
30 |
8 |
40 |
0,3 |
||||
|
40 |
10 |
0,6 |
|||||||||||
|
1250 |
1210 |
1168 |
1180 |
1166 |
55 |
12 |
52 |
1,0 |
|||||
|
70 |
1,6 |
||||||||||||
|
1200 |
1330 |
1,260 |
1248 |
1260 |
1246 |
35 |
8 |
44 |
0,3 |
||||
|
45 |
10 |
0,6 |
|||||||||||
|
1350 |
1310 |
1268 |
1280 |
1266 |
60 |
12 |
56 |
1,0 |
|||||
|
75 |
14 |
1,6 |
|||||||||||
|
(1300) |
1430 |
1390 |
1348 |
1360 |
1346 |
35 |
8 |
44 |
0,3 |
||||
|
45 |
10 |
48 |
0,6 |
||||||||||
|
1450 |
1410 |
1368 |
1380 |
1366 |
60 |
12 |
60 |
1,0 |
|||||
|
75 |
14 |
1,6 |
|||||||||||
|
1400 |
1530 |
1490 |
1448 |
1460 |
15,5 |
1446 |
13,0 |
35 |
8 |
23 |
М23 |
48 |
0,3 |
|
50 |
10 |
52 |
0,6 |
||||||||||
|
1550 |
1510 |
1470 |
1484 |
1468 |
60 |
14 |
68 |
1,0 |
|||||
|
80 |
1,6 |
||||||||||||
|
(1500) |
1630 |
1590 |
1548 |
1560 |
17 |
1545 |
14 |
35 |
8 |
52 |
0,3 |
||
|
55 |
10 |
56 |
0,6 |
||||||||||
|
1650 |
1610 |
1570 |
1584 |
1568 |
65 |
14 |
68 |
1,0 |
|||||
|
1680 |
1630 |
1582 |
1598 |
1580 |
80 |
16 |
27 |
М24 |
1,6 |
||||
|
1600 |
1730 |
1690 |
1648 |
1660 |
17,5 |
1645 |
35 |
10 |
23 |
М20 |
60 |
0,3 |
|
|
55 |
0,6 |
||||||||||||
|
1780 |
1730 |
1682 |
1696 |
1679 |
70 |
16 |
27 |
М24 |
68 |
1,0 |
|||
|
85 |
76 |
1,6 |
|||||||||||
|
(1700) |
1830 |
1790 |
1748 |
1760 |
1745 |
40 |
10 |
23 |
М20 |
64 |
0,3 |
||
|
60 |
0,6 |
||||||||||||
|
1880 |
1830 |
1782 |
1795 |
1779 |
75 |
16 |
27 |
М24 |
80 |
1,0 |
|||
|
90 |
84 |
1,6 |
|||||||||||
|
1800 |
1930 |
1890 |
1848 |
1860 |
17,5 |
1845 |
14 |
40 |
10 |
23 |
М20 |
64 |
0,3 |
|
60 |
68 |
0,6 |
|||||||||||
|
1980 |
1930 |
1882 |
1896 |
1879 |
80 |
16 |
27 |
М24 |
84 |
1,0 |
|||
|
95 |
1,6 |
||||||||||||
|
(1900) |
.2030 |
1990 |
1946 |
1960 |
1943 |
45 |
10 |
23 |
М20 |
64 |
0,3 |
||
|
65 |
12 |
68 |
0,6 |
||||||||||
|
2085 |
2035 |
1986 |
2000 |
1983 |
85 |
16 |
27 |
М24 |
84 |
1,0 |
|||
|
96 |
18 |
92 |
1,6 |
||||||||||
|
2000 |
2130 |
2090 |
2046 |
2060 |
2043 |
50 |
10 |
23 |
М20 |
68 |
0,3 |
||
|
70 |
12 |
72 |
0,6 |
||||||||||
|
2185 |
2135 |
2086 |
2100 |
21,5 |
2083 |
18 |
85 |
16 |
27 |
М24 |
84 |
1,0 |
|
|
100 |
18 |
92 |
1,6 |
||||||||||
|
2200 |
2330 |
2290 |
22,46 |
2260 |
17,5 |
2243 |
14 |
55 |
10 |
23 |
М20 |
72 |
0,3 |
|
70 |
12 |
80 |
0,6 |
||||||||||
|
2385 |
2335 |
2286 |
2300 |
21,5 |
2283 |
18 |
90 |
18 |
27 |
М24 |
88 |
1,0 |
|
|
100 |
20 |
104 |
1,6 |
||||||||||
|
2400 |
2530 |
2490 |
2446 |
2460 |
17,5 |
2443 |
14 |
60 |
10 |
23 |
М20 |
80 |
0,3 |
|
80 |
12 |
88 |
0,6 |
||||||||||
|
2595 |
2540 |
2490 |
2505 |
21,5 |
2487 |
18 |
100 |
18 |
30 |
М27 |
92 |
1,0 |
|
|
2610 |
2550 |
2496 |
2510 |
2493 |
130 |
20 |
33 |
М30 |
88 |
1,6 |
|||
|
2600 |
2750 |
2705 |
2656 |
2670 |
22 |
2653 |
65 |
10 |
27 |
М24 |
84 |
0,3 |
|
|
95 |
12 |
88 |
0,6 |
||||||||||
|
2800 |
2745 |
2695 |
2710 |
2692 |
115 |
18 |
30 |
М27 |
96 |
1,0 |
|||
|
2800 |
2950 |
2905 |
2856 |
2870 |
2853 |
65 |
12 |
27 |
М24 |
88 |
0,3 |
||
|
105 |
92 |
0,6 |
|||||||||||
|
3000 |
2945 |
2895 |
2910 |
2892 |
120 |
20 |
30 |
М27 |
108 |
1,0 |
|||
|
3000 |
3150 |
3105 |
3066 |
3070 |
3053 |
70 |
12 |
27 |
М24 |
92 |
0,3 |
||
|
115 |
100 |
0,6 |
|||||||||||
|
3220 |
3160 |
3106 |
3120 |
3103 |
135 |
20 |
33 |
М30 |
96 |
1,0 |
|||
|
3200 |
3350 |
3305 |
3256 |
3270 |
3253 |
80 |
12 |
27 |
М24 |
100 |
0,3 |
||
|
130 |
108 |
0,6 |
|||||||||||
|
3420 |
3360 |
3306 |
3320 |
27 |
3303 |
23 |
145 |
20 |
33 |
М30 |
104 |
1,0 |
|
|
3400 |
3580 |
3520 |
3466 |
3480 |
22 |
3463 |
18 |
95 |
12 |
33 |
М20 |
88 |
0,3 |
|
3600 |
3780 |
3720 |
3666 |
3680 |
3663 |
105 |
92 |
||||||
|
3800 |
3980 |
3920 |
3866 |
3880 |
3863 |
115 |
96 |
||||||
|
4000 |
4180 |
4120 |
4066 |
4080 |
23 |
4063 |
125 |
104 |
|||||
|
Примечания: 1. При применении прокладки из фторопласта - 4 размер D3 равен D5 и размер а равен а+0,6. 2. Размеры, указанные в скобках, применять не рекомендуется. |
|||||||||||||
Пример условного обозначения фланца исполнения 1 диаметром 1200 мм на условное давление 0,6 МПа при высоте втулки 150 мм из стали 20
Фланец 1-1200-0,6-150 Ст 20 ГОСТ 28759.2-90
то же, для фланца с прокладкой из фторопласта
Фланец 1-1200-0,6-150Ф Ст 20 ГОСТ 28759.2-90
При заказе фланца без втулки, высота втулки в обозначении не указывается.
1.3. Технические требования по ГОСТ 28759.5.
1.4. Масса фланцев указана в табл. 2 приложения.
1.5. Прокладки по ГОСТ 28759.6.
ПРИЛОЖЕНИЕ
Справочное
Масса фланцев и втулки
|
Внутренний диаметр аппарата, D, мм |
Исполнение фланца |
Втулка при Н=150 |
Давление условное, МПа |
|||||||
|
1 |
2 |
3 |
4 |
5 |
6 |
7 |
8 |
|||
|
Масса, кг, не более |
||||||||||
|
400 |
13,4 |
12,9 |
15,6 |
14,9 |
12,1 |
15,6 |
16,8 |
16,6 |
9,0 |
0,6 |
|
18,7 |
18,1 |
20,9 |
20,3 |
17,3 |
21,4 |
22,5 |
21,9 |
12,0 |
1,0 |
|
|
22,3 |
21,7 |
24,5 |
23,9 |
20,9 |
24,6 |
25,6 |
25,0 |
1,0 |
||
|
(450) |
14,4 |
13,7 |
16,7 |
16,0 |
12,8 |
17,0 |
17,8 |
17,6 |
13,5 |
0,6 |
|
21,6 |
21,0 |
24,1 |
23,4 |
20,1 |
24,9 |
26,2 |
25,3 |
1,0 |
||
|
29,5 |
28,8 |
31,9 |
31,2 |
27,9 |
32,0 |
32,6 |
31,7 |
17,0 |
1,6 |
|
|
500 |
15,9 |
15,2 |
18,5 |
17,7 |
14,3 |
18,8 |
19,7 |
19,5 |
15,0 |
0,6 |
|
28,5 |
27,7 |
31,2 |
30,3 |
26,7 |
31,5 |
33,0 |
32,0 |
1,0 |
||
|
32,6 |
31,9 |
35,3 |
34,5 |
30,9 |
35,4 |
36,0 |
35,0 |
18,8 |
1,6 |
|
|
(550) |
17,5 |
16,7 |
20,3 |
19,4 |
15,7 |
20,6 |
21,6 |
21,4 |
16,5 |
0,6 |
|
30,8 |
29,9 |
33,7 |
32,8 |
28,9 |
34,1 |
35,6 |
34,6 |
1,0 |
||
|
35,2 |
34,4 |
38,1 |
37,2 |
33,4 |
38,2 |
38,8 |
37,8 |
20,7 |
1,6 |
|
|
600 |
19,0 |
18,2 |
22,1 |
21,2 |
17,1 |
22,5 |
23,5 |
23,3 |
17,9 |
0,3 |
|
23,2 |
22,3 |
26,3 |
25,3 |
21,3 |
26,0 |
27,1 |
26,9 |
0,6 |
||
|
33,0 |
32,1 |
36,2 |
35,2 |
31,0 |
37,0 |
37,6 |
36,5 |
22,5 |
1,0 |
|
|
38,3 |
37,4 |
41,5 |
40,5 |
36,3 |
41,5 |
42,2 |
41,1 |
1,6 |
||
|
(650) |
20,3 |
19,3 |
23,6 |
22,5 |
18,2 |
24,0 |
25,1 |
24,8 |
19,5 |
0,3 |
|
24,8 |
23,8 |
28,0 |
27,0 |
22,6 |
27,8 |
28,9 |
28,7 |
0,6 |
||
|
35,3 |
34,3 |
38,6 |
37,6 |
33,1 |
39,5 |
40,2 |
39,0 |
24,4 |
1,0 |
|
|
46,2 |
45,2 |
49,5 |
48,5 |
44,0 |
48,9 |
48,5 |
47,3 |
29,4 |
1,6 |
|
|
700 |
21,8 |
20,8 |
25,3 |
24,3 |
19,6 |
25,8 |
27,0 |
26,7 |
20,9 |
0,3 |
|
31,8 |
30,8 |
35,3 |
34,3 |
29,6 |
34,4 |
35,6 |
35,3 |
0,6 |
||
|
38,0 |
36,9 |
41,5 |
40,4 |
35,7 |
42,5 |
43,3 |
42,0 |
26,2 |
1,0 |
|
|
55,8 |
43,7 |
59,4 |
58,3 |
53,5 |
57,6 |
57,2 |
55,9 |
31,6 |
1,6 |
|
|
800 |
24,6 |
23,5 |
28,6 |
27,4 |
22,0 |
28,9 |
30,4 |
30,2 |
23,8 |
0,3 |
|
35,9 |
34,8 |
39,9 |
38,8 |
33,3 |
38,7 |
40,2 |
39,9 |
0,6 |
||
|
51,5 |
50,4 |
55,7 |
54,5 |
48,8 |
55,9 |
57,1 |
55,4 |
29,9 |
1,0 |
|
|
72,3 |
71,2 |
76,5 |
75,3 |
69,6 |
73,5 |
73,3 |
71,6 |
36,0 |
1,6 |
|
|
900 |
37,7 |
36,4 |
42,2 |
40,9 |
34,8 |
42,6 |
44,8 |
43,8 |
26,9 |
0,3 |
|
44,5 |
43,2 |
49,0 |
47,7 |
41,5 |
48,5 |
50,6 |
49,7 |
0,6 |
||
|
74,1 |
72,8 |
78,7 |
77,4 |
71,1 |
76,7 |
78,1 |
76,1 |
33,6 |
1,0 |
|
|
89,5 |
88,2 |
94,1 |
92,8 |
86,5 |
89,4 |
89,2 |
87,2 |
40,5 |
1,6 |
|
|
1000 |
41,5 |
39,9 |
46,7 |
45,1 |
38,2 |
47,0 |
49,2 |
48,4 |
29,8 |
0,3 |
|
56,7 |
55,1 |
01,8 |
60,2 |
53,4 |
60,2 |
61,1 |
60,3 |
37,3 |
0,6 |
|
|
80,9 |
79,3 |
86,2 |
84,6 |
77,5 |
83,8 |
83,4 |
81,5 |
44,9 |
1,0 |
|
|
107,5 |
105,9 |
112,8 |
111,2 |
104,2 |
105,9 |
105,5 |
103,6 |
1,6 |
||
|
1100 |
45,3 |
43,6 |
51,0 |
49,3 |
41,6 |
51,1 |
53,7 |
52,9 |
32,7 |
0,3 |
|
61,8 |
60,2 |
67,5 |
65,8 |
58,1 |
65,4 |
66,7 |
65,9 |
41,0 |
0,6 |
|
|
101,5 |
99,9 |
107,4 |
105,7 |
97,7 |
103,5 |
103,3 |
101,0 |
49,3 |
1,0 |
|
|
131,6 |
129,9 |
137,5 |
135,8 |
127,7 |
128,6 |
128,4 |
125,1 |
1,6 |
||
|
1200 |
58,4 |
56,6 |
64,7 |
62,9 |
54,3 |
63,4 |
66,1 |
65,4 |
35,7 |
0,3 |
|
76,4 |
74,6 |
82,6 |
80,8 |
72,3 |
78,6 |
79,9 |
79,1 |
44,7 |
0,6 |
|
|
121,1 |
119,3 |
127,5 |
125,6 |
117,0 |
121,4 |
121,2 |
118,7 |
53,8 |
1,0 |
|
|
152,8 |
151,0 |
159,2 |
157,4 |
148,7 |
146,1 |
143,9 |
141,4 |
62,8 |
1,6 |
|
|
(1300) |
63,4 |
61,5 |
70,2 |
68,2 |
59,0 |
68,8 |
71,7 |
71,0 |
38,6 |
0,3 |
|
82,3 |
80,4 |
89,1 |
87,1 |
77,9 |
84,7 |
86,1 |
85,3 |
48,4 |
0,6 |
|
|
130,7 |
128,7 |
137,6 |
135,6 |
126,2 |
130,9 |
130,8 |
128,0 |
58,2 |
1,0 |
|
|
164,9 |
162,9 |
171,8 |
169,8 |
160,4 |
157,6 |
155,2 |
152,3 |
68,0 |
1,6 |
|
|
1400 |
68,0 |
65,9 |
75,3 |
73,2 |
63,3 |
73,7 |
76,9 |
76,1 |
41,6 |
0,3 |
|
99,2 |
97,1 |
106,4 |
104,3 |
94,4 |
99,9 |
101,5 |
100,6 |
52,0 |
0,6 |
|
|
138,5 |
136,5 |
145,8 |
143,7 |
133,8 |
138,4 |
136,2 |
132,8 |
73,2 |
1,0 |
|
|
188,6 |
186,6 |
195,9 |
193,8 |
183,9 |
178,7 |
176,5 |
173,1 |
1,6 |
||
|
(1500) |
72,5 |
70,1 |
80,5 |
78,1 |
67,5 |
78,6 |
81,9 |
81,4 |
44,6 |
0,3 |
|
117,5 |
115,0 |
125,5 |
123,0 |
112,4 |
116,4 |
117,8 |
117,3 |
55,8 |
0,6 |
|
|
162,2 |
159,9 |
170,2 |
167,8 |
157,3 |
159,4 |
156,9 |
153,7 |
78,4 |
1,0 |
|
|
142,9 |
240,6 |
252,0 |
249,7 |
236,7 |
234,8 |
229,2 |
224,4 |
89,7 |
1,6 |
|
|
1600 |
75,4 |
72,7 |
83,9 |
81,3 |
70,0 |
82,2 |
83,6 |
83,2 |
59,5 |
0,3 |
|
124,9 |
122,1 |
133,4 |
130,7 |
119,4 |
123,7 |
125,1 |
124,7 |
0,6 |
||
|
225,2 |
222,5 |
234,9 |
232,4 |
218,6 |
223,0 |
216,2 |
211,6 |
95,6 |
1,0 |
|
|
273,8 |
271,1 |
283,5 |
281,0 |
267,2 |
262,0 |
255,3 |
250,6 |
1,6 |
||
|
(1700) |
93,0 |
90,1 |
102,0 |
99,2 |
87,2 |
98,1 |
99,5 |
99,2 |
63,2 |
0,3 |
|
145,4 |
142,4 |
154,4 |
151,6 |
139,6 |
142,1 |
143,5 |
143,1 |
0,6 |
||
|
254,1 |
251,1 |
264,4 |
261,6 |
247,0 |
248,3 |
240,8 |
236,0 |
101,5 |
1,0 |
|
|
306,6 |
303,7 |
316,9 |
314,1 |
299,6 |
290,7 |
283,3 |
278,4 |
1,6 |
||
|
1800 |
98,7 |
95,6 |
108,3 |
105,3 |
92,6 |
104,1 |
105,6 |
105,2 |
66,9 |
0,3 |
|
153,6 |
150,4 |
163,1 |
160,1 |
147,4 |
150,0 |
151,5 |
151,1 |
0,6 |
||
|
287,5 |
284,4 |
298,3 |
295,5 |
280,1 |
277,7 |
270,1 |
264,9 |
107,4 |
1,0 |
|
|
344,7 |
341,7 |
355,6 |
352,7 |
337,3 |
324,2 |
316,6 |
311,4 |
1,6 |
||
|
1900 |
119,0 |
115,9 |
129,2 |
126,2 |
112,4 |
122,0 |
124,1 |
123,6 |
70,6 |
0,3 |
|
175,6 |
172,4 |
185,7 |
182,6 |
169,0 |
166,5 |
166,4 |
106,0 |
84,8 |
0,6 |
|
|
335,3 |
332,1 |
346,8 |
343,8 |
327,4 |
322,8 |
314,4 |
308,3 |
113,3 |
1,0 |
|
|
372,1 |
368,9 |
383,6 |
380,6 |
364,2 |
348,5 |
336,1 |
330,0 |
127,6 |
1,6 |
|
|
2000 |
140,4 |
137,1 |
151,1 |
148,0 |
133,5 |
141,0 |
143,2 |
142,8 |
74,3 |
0,3 |
|
199,7 |
196,4 |
210,4 |
207,3 |
192,8 |
187,3 |
187,1 |
186,7 |
89,2 |
0,6 |
|
|
353,7 |
349,4 |
367,0 |
362,6 |
345,4 |
340,5 |
330,8 |
326,5 |
119,3 |
1,0 |
|
|
414,5 |
410,1 |
427,8 |
423,4 |
406,2 |
385,2 |
371,1 |
366,9 |
134,3 |
1,8 |
|
|
2200 |
171,4 |
167,8 |
183,1 |
179,7 |
163,8 |
169,3 |
171,7 |
171,2 |
81,7 |
0,3 |
|
218,8 |
215,2 |
230,6 |
227,1 |
211,2 |
205,1 |
204,9 |
204,5 |
93,1 |
0,6 |
|
|
411,5 |
406,7 |
426,1 |
421,3 |
402,5 |
389,1 |
373,5 |
368,9 |
147,6 |
1,0 |
|
|
451,0 |
446,2 |
465,6 |
460,7 |
441,9 |
414,1 |
393,8 |
389,2 |
164,0 |
1,6 |
|
|
2400 |
204,7 |
200,7 |
217,4 |
213,7 |
196,4 |
193,4 |
202,0 |
201,5 |
89,1 |
0,3 |
|
274,6 |
270,6 |
287,3 |
283,6 |
266,3 |
252,4 |
252,2 |
251,7 |
107,0 |
0,6 |
|
|
570,4 |
565,2 |
587,8 |
582,5 |
559,1 |
542,2 |
523,4 |
516,0 |
160,9 |
1,0 |
|
|
737,4 |
732,1 |
754,8 |
749,4 |
726,1 |
668,9 |
644,3 |
637,5 |
178,9 |
1,6 |
|
|
2600 |
277,9 |
272,1 |
294,3 |
288,6 |
267,9 |
273,2 |
275,3 |
275,7 |
96,5 |
0,3 |
|
411,2 |
405,5 |
427,7 |
422,0 |
401,3 |
380,6 |
378,0 |
379,5 |
115,8 |
0,6 |
|
|
676,0 |
670,3 |
693,8 |
688,2 |
664,8 |
626,3 |
606,5 |
599,3 |
174,2 |
1,0 |
|
|
2800 |
297,2 |
291,0 |
314,8 |
308,8 |
286,5 |
289,1 |
287,4 |
287,9 |
124,8 |
0,3 |
|
492,1 |
485,9 |
509,7 |
503,7 |
481,4 |
450,8 |
449,0 |
449,6 |
0,6 |
||
|
753,6 |
747,4 |
772,7 |
766,7 |
741,5 |
685,8 |
657,7 |
649,9 |
208,5 |
1,0 |
|
|
3000 |
344,8 |
338,2 |
363,7 |
357,2 |
333,4 |
331,7 |
329,8 |
330,4 |
133,6 |
0,3 |
|
577,9 |
571,3 |
596,8 |
590,3 |
566,5 |
524,7 |
522,8 |
523,4 |
0,6 |
||
|
1015,7 |
1009,0 |
1037,3 |
1030,7 |
1001,7 |
930,2 |
896,4 |
885,8 |
223,9 |
1,0 |
|
|
3200 |
442,7 |
415,6 |
442,8 |
435,8 |
410,5 |
399,1 |
397,1 |
397,8 |
142,5 |
0,3 |
|
698,3 |
691,2 |
718,4 |
711,4 |
686,1 |
627,2 |
625,2 |
625,8 |
0,6 |
||
|
1162,1 |
1152,9 |
1187,5 |
1178,0 |
1147,2 |
1054,9 |
1016,9 |
1010,0 |
238,0 |
1,0 |
|
|
3400 |
649,4 |
641,9 |
673,4 |
666,1 |
633,8 |
617,0 |
614,9 |
613,1 |
151,4 |
0,3 |
|
3600 |
763,0 |
755,0 |
788,4 |
780,6 |
746,5 |
718,0 |
715,7 |
713,7 |
160,3 |
0,3 |
|
3800 |
884,9 |
876,4 |
911,6 |
903,4 |
867,5 |
826,1 |
823,7 |
821,6 |
169,1 |
0,3 |
|
4000 |
1011,7 |
1002,9 |
1039,9 |
1031,2 |
993,5 |
937,9 |
935,4 |
933,2 |
178,0 |
0,3 |
Продолжение табл. 2
|
Внутренний диаметр аппарата, D, мм |
Исполнение фланца |
Втулка при Н=150 |
Давление условное, МПа |
||||||
|
9 |
10 |
11 |
12 |
13 |
14 |
15 |
|||
|
Масса, кг, не более |
|||||||||
|
400 |
16,3 |
17,2 |
12,4 |
15,6 |
15,4 |
15,5 |
15,5 |
9,0 |
0,6 |
|
21,7 |
22,9 |
17,1 |
20,9 |
20,3 |
20,5 |
20,7 |
12,0 |
1,0 |
|
|
24,8 |
26,0 |
20,2 |
24,1 |
23,4 |
23,7 |
23,9 |
1,6 |
||
|
(450) |
17,3 |
18,3 |
13,0 |
16,3 |
16,2 |
16,3 |
16,2 |
13,5 |
0,6 |
|
25,1 |
26,7 |
19,8 |
24,4 |
23,4 |
23,8 |
24,1 |
1,0 |
||
|
31,5 |
33,1 |
26,2 |
30,6 |
29,7 |
30,1 |
30,3 |
17,0 |
1,6 |
|
|
500 |
19,2 |
20,3 |
14,4 |
18,1 |
18,0 |
18,0 |
18,0 |
15,0 |
0,6 |
|
31,8 |
33,5 |
25,9 |
31,0 |
29,9 |
30,3 |
30,7 |
1,0 |
||
|
34,8 |
36,5 |
28,9 |
33,8 |
32,8 |
33,2 |
33,5 |
18,8 |
1,6 |
|
|
(550) |
21,0 |
22,2 |
15,8 |
19,8 |
19,7 |
19,8 |
19,7 |
16,5 |
0,6 |
|
34,3 |
36,2 |
27,9 |
33,5 |
32,3 |
32,8 |
33,1 |
1,0 |
||
|
37,6 |
39,4 |
31,2 |
36,4 |
35,4 |
35,8 |
36,1 |
20,7 |
1,6 |
|
|
600 |
22,9 |
24,2 |
17,2 |
21,5 |
21,4 |
21,5 |
21,4 |
17,9 |
0,3 |
|
26,5 |
27,7 |
20,8 |
25,1 |
25,0 |
25,1 |
25,0 |
0,6 |
||
|
36,3 |
38,3 |
29,4 |
35,0 |
34,0 |
34,4 |
34,7 |
22,5 |
1,0 |
|
|
40,8 |
42,9 |
33,9 |
39,6 |
38,6 |
39,0 |
39,3 |
1,6 |
||
|
(650) |
24,4 |
25,8 |
18,3 |
22,9 |
22,8 |
22,9 |
22,8 |
19,5 |
0,3 |
|
28,2 |
29,6 |
22,1 |
26,7 |
26,6 |
26,7 |
26,6 |
0,6 |
||
|
38,8 |
41,0 |
31,3 |
37,4 |
36,3 |
36,7 |
37,1 |
24,4 |
1,0 |
|
|
47,0 |
49,2 |
39,6 |
45,3 |
44,5 |
44,8 |
45,0 |
294 |
1,6 |
|
|
700 |
26,3 |
27,7 |
19,7 |
24,7 |
24,6 |
24,7 |
24,6 |
20,9 |
0,3 |
|
34,9 |
36,3 |
28,3 |
33,3 |
33,2 |
33,3 |
33,2 |
0,6 |
||
|
41,7 |
44,0 |
33,7 |
40,2 |
39,0 |
39,5 |
39,9 |
26,2 |
1,0 |
|
|
55,6 |
58,0 |
47,7 |
53,8 |
52,9 |
53,3 |
53,5 |
31,6 |
1,0 |
|
|
800 |
39,8 |
31,2 |
22,1 |
27,8 |
27,7 |
27,9 |
27,6 |
23,8 |
0,3 |
|
39,5 |
40,9 |
31,9 |
37,6 |
37,5 |
37,7 |
37,3 |
0,6 |
||
|
55,2 |
57,9 |
45,6 |
53,5 |
51,8 |
52,6 |
52,9 |
29,9 |
1,0 |
|
|
71,4 |
74,1 |
61,8 |
69,3 |
68,0 |
68,6 |
68,8 |
36,0 |
1,6 |
|
|
900 |
43,4 |
45,6 |
34,1 |
41,6 |
40,6 |
41,1 |
41,1 |
26,9 |
0,3 |
|
49,3 |
51,5 |
39,9 |
47,4 |
46,5 |
47,0 |
46,9 |
0,6 |
||
|
75,9 |
78,9 |
65,2 |
74,1 |
72,2 |
73,0 |
73,3 |
33,6 |
1,0 |
|
|
87,0 |
90,0 |
76,3 |
84,7 |
83,2 |
83,9 |
84,1 |
40,6 |
16 |
|
|
1000 |
47,9 |
50,2 |
37,5 |
45,6 |
44,9 |
45,3 |
45,2 |
29,8 |
0,3 |
|
59,8 |
62,1 |
49,4 |
57,0 |
56,7 |
56,9 |
56,7 |
37,3 |
0,6 |
|
|
81,2 |
84,4 |
69,4 |
78,4 |
77,1 |
77,7 |
77,8 |
44,9 |
1,0 |
|
|
103,3 |
106,5 |
91,5 |
100,5 |
99,2 |
99,8 |
99,9 |
1,6 |
||
|
1100 |
52,4 |
54,7 |
40,8 |
49,8 |
49,0 |
49,6 |
49,1 |
32,7 |
0,3 |
|
65,4 |
67,7 |
53,8 |
62,2 |
61,9 |
62,3 |
61,6 |
41,0 |
0,6 |
|
|
100,8 |
104,3 |
87,2 |
97,8 |
95,6 |
96,9 |
96,8 |
49,3 |
1,0 |
|
|
125,9 |
129,4 |
112,3 |
122,9 |
121,0 |
122,0 |
121,9 |
1,6 |
||
|
1200 |
64,9 |
67,2 |
52,4 |
61,9 |
61,3 |
61,8 |
61,2 |
35,7 |
0,3 |
|
78,6 |
80,9 |
66,1 |
75,1 |
74,9 |
75,3 |
74,2 |
44,7 |
0,6 |
|
|
118,5 |
122,3 |
103,7 |
115,2 |
113,1 |
114,2 |
114,1 |
53,8 |
1,0 |
|
|
141,2 |
145,0 |
126,4 |
137,3 |
135,7 |
136,6 |
136,3 |
62,8 |
1,6 |
|
|
(1300) |
70,4 |
72,9 |
56,9 |
67,2 |
66,5 |
67,1 |
66,4 |
38,6 |
0,3 |
|
84,7 |
87,2 |
71,2 |
80,9 |
80,7 |
81,1 |
80,2 |
48,4 |
0,6 |
|
|
127,8 |
131,9 |
111,8 |
124,2 |
122,0 |
123,2 |
123,0 |
58,2 |
1,0 |
|
|
152,2 |
156,4 |
136,3 |
148,1 |
146,3 |
147,3 |
147,0 |
68,0 |
1,6 |
|
|
1400 |
75,4 |
78,1 |
60,9 |
72,0 |
71,3 |
71,9 |
71,2 |
41,6 |
0,3 |
|
100,0 |
102,7 |
85,5 |
95,9 |
95,7 |
96,1 |
95,2 |
52,0 |
0,6 |
|
|
132,7 |
137,2 |
115,1 |
128,3 |
125,8 |
127,3 |
126,7 |
73,2 |
1,0 |
|
|
173,1 |
177,5 |
155,4 |
168,6 |
166,2 |
167,7 |
167,1 |
1,6 |
||
|
(1500) |
80,5 |
83,4 |
65,0 |
76,4 |
76,2 |
76,7 |
75,9 |
44,6 |
0,3 |
|
116,5 |
119,4 |
101,0 |
111,9 |
112,1 |
112,3 |
111,3 |
55,8 |
0,6 |
|
|
153,4 |
158,2 |
134,5 |
148,5 |
146,2 |
147,6 |
147,0 |
78,4 |
1,0 |
|
|
224,6 |
230,2 |
202,0 |
219,4 |
215,7 |
217,8 |
217,3 |
89,7 |
1,6 |
|
|
1600 |
82,3 |
85,3 |
65,8 |
77,2 |
77,6 |
77,9 |
76,6 |
59,5 |
0,3 |
|
123,8 |
126,8 |
107,3 |
118,7 |
119,1 |
119,4 |
118,2 |
0,6 |
||
|
211,5 |
217,7 |
188,1 |
206,0 |
202,5 |
204,5 |
204,1 |
95,6 |
1,0 |
|
|
250,6 |
256,7 |
227,1 |
245,0 |
241,5 |
243,5 |
243,1 |
1,6 |
||
|
(1700) |
98,2 |
101,3 |
80,7 |
92,7 |
93,3 |
93,5 |
92,2 |
63,2 |
0,3 |
|
142,1 |
145,3 |
124,6 |
136,7 |
137,2 |
137,4 |
136,1 |
0,6 |
||
|
235,9 |
242,5 |
211,3 |
230,0 |
226,5 |
228,4 |
228,2 |
101,5 |
1,0 |
|
|
278,3 |
284,9 |
253,7 |
272,4 |
268,9 |
270,8 |
270,6 |
1,6 |
||
|
1800 |
104,2 |
107,5 |
85,7 |
98,4 |
98,2 |
99,2 |
97,8 |
66,9 |
0,3 |
|
150,1 |
153,4 |
131,6 |
144,3 |
144,8 |
145,1 |
143,7 |
0,6 |
||
|
264,9 |
271,8 |
238,6 |
258,6 |
254,7 |
256,9 |
256,5 |
107,4 |
1,0 |
|
|
311,4 |
318,3 |
285,1 |
305,1 |
301,2 |
303,4 |
303,0 |
1,6 |
||
|
1900 |
122,8 |
125,8 |
102,9 |
116,5 |
117,0 |
117,6 |
115,5 |
70,6 |
0,3 |
|
165,1 |
168,1 |
145,2 |
157,9 |
159,2 |
159,5 |
157,1 |
84,8 |
0,6 |
|
|
308,4 |
316,2 |
279,9 |
301,1 |
297,2 |
299,8 |
299,7 |
113,3 |
1,0 |
|
|
330,0 |
337,8 |
301,5 |
322,7 |
318,6 |
320,9 |
320,5 |
127,6 |
1,6 |
|
|
2000 |
141,8 |
145,0 |
120,9 |
135,2 |
135,8 |
136,4 |
134,2 |
74,3 |
0,3 |
|
185,8 |
188,9 |
164,9 |
178,2 |
179,5 |
179,8 |
177,3 |
89,2 |
0,6 |
|
|
325,4 |
333,6 |
295,4 |
317,7 |
314,8 |
316,3 |
316,2 |
119,3 |
1,0 |
|
|
165,7 |
373,9 |
335,8 |
357,1 |
355,0 |
356,2 |
355,8 |
134,3 |
1,0 |
|
|
2200 |
170,2 |
173,7 |
147,2 |
162,9 |
163,5 |
164,2 |
161,8 |
811,7 |
0,3 |
|
203,4 |
206,9 |
180,5 |
195,1 |
196,6 |
196,9 |
194,1 |
98,1 |
0,6 |
|
|
367,7 |
376,7 |
334,9 |
358,2 |
355,9 |
357,2 |
356,7 |
147,6 |
1,0 |
|
|
387,9 |
396,9 |
355,1 |
377,3 |
375,9 |
376,9 |
376,1 |
164,0 |
1,6 |
|
|
2400 |
200,4 |
204,1 |
175,4 |
192,5 |
193,1 |
193,8 |
191,2 |
89,1 |
0,3 |
|
250,6 |
154,4 |
225,6 |
241,5 |
243,1 |
243,5 |
240,5 |
107,0 |
0,6 |
|
|
515,5 |
526,8 |
475,7 |
506,0 |
501,1 |
503,5 |
503,9 |
160,9 |
1,0 |
|
|
636,4 |
647,8 |
596,6 |
625,8 |
621,8 |
623,8 |
623,9 |
178,9 |
1,6 |
|
|
2600 |
273,3 |
279,0 |
242,6 |
264,2 |
265,4 |
265,5 |
263,7 |
96,5 |
0,3 |
|
377,0 |
382,8 |
346,3 |
366,7 |
368,8 |
368,6 |
366,4 |
115,8 |
0,6 |
|
|
598,2 |
610,1 |
556,3 |
587,7 |
582,5 |
585,2 |
582,3 |
174,2 |
1,0 |
|
|
2800 |
285,3 |
291,5 |
252,2 |
274,2 |
276,5 |
276,2 |
273,8 |
124,8 |
0,3 |
|
446,9 |
453,1 |
413,9 |
435,8 |
438,1 |
437,9 |
435,4 |
0,6 |
||
|
648,9 |
661,7 |
603,8 |
636,1 |
631,7 |
634,2 |
633,8 |
208,5 |
1,0 |
|
|
3000 |
327,6 |
334,2 |
292,2 |
315,7 |
318,2 |
317,9 |
315,3 |
133,6 |
0,3 |
|
520,6 |
527,2 |
485,2 |
508,7 |
511,1 |
510,9 |
508,3 |
0,6 |
||
|
884,8 |
900,8 |
832,6 |
872,4 |
864,7 |
868,3 |
869,5 |
223,3 |
1,0 |
|
|
3200 |
394,8 |
40,1,8 |
357,1 |
382,0 |
384,7 |
384,4 |
381,7 |
142,5 |
0,3 |
|
622,8 |
629,9 |
585,2 |
610,1 |
612,8 |
612,5 |
609,7 |
0,6 |
||
|
1006,6 |
1023,6 |
951,1 |
991,4 |
987,6 |
989,0 |
990,3 |
238,0 |
1,0 |
|
|
3400 |
610,3 |
619,9 |
563,7 |
598,0 |
597,5 |
598,4 |
596,8 |
151,4 |
0,3 |
|
3600 |
710,8 |
72,1,0 |
661,6 |
697,8 |
697,3 |
698,3 |
696,5 |
160,3 |
0,3 |
|
3800 |
818,5 |
829,2 |
766,6 |
804,8 |
804,2 |
805,3 |
803,4 |
169,1 |
0,3 |
|
4000 |
930,0 |
941,3 |
875,4 |
915,6 |
914,9 |
916,1 |
914,1 |
178,0 |
0,3 |
|
Примечания: 1. Массы фланцев рассчитаны при плотности 7,85 г/см3. 2. Размеры, указанные в скобках, применять не рекомендуется. |
|||||||||
ИНФОРМАЦИОННЫЕ ДАННЫЕ
1. РАЗРАБОТАН И ВНЕСЕН Министерством тяжелого машиностроения СССР
2. РАЗРАБОТЧИКИ
Г.В. Мамонтов, А.Г. Вихман, С.И. Зусмановская, И.Е. Зейде, Б.С. Вольфсон, Н.П. Анисова, С.Н. Черкасова, А.М. Бубакин, Т.В. Булчинская, Т.Е. Бабкина, В.А. Заваров, В.И. Рачков, Н.С. Ананьева, Л.П. Перцев, В.В. Проголаев, В.В. Стогний, Л.П. Гапонова, Т.П. Голубова
3. УТВЕРЖДЕН И ВВЕДЕН В ДЕЙСТВИЕ Постановлением Государственного комитета СССР по управлению качеством продукции и стандартам от 29.11.90 № 2976
4. Срок проверки стандарта - 1997г.
Периодичность проверки - 5 лет
5. ВЗАМЕН ОСТ 26-426-79
СОДЕРЖАНИЕ
Хотите оперативно узнавать о новых публикациях нормативных документов на портале? Подпишитесь на рассылку новостей!