ГОСТ 28249-93 Короткие замыкания в электроустановках. Методы расчета в электроустановках переменного тока напряжением до 1 кВ
ГОСТ 28249-93
МЕЖГОСУДАРСТВЕННЫЙ СТАНДАРТ
КОРОТКИЕ ЗАМЫКАНИЯ
В ЭЛЕКТРОУСТАНОВКАХ
МЕТОДЫ РАСЧЕТА В ЭЛЕКТРОУСТАНОВКАХ
ПЕРЕМЕННОГО ТОКА НАПРЯЖЕНИЕМ ДО 1 кВ
МЕЖГОСУДАРСТВЕННЫЙ СОВЕТ ПО
СТАНДАРТИЗАЦИИ,
МЕТРОЛОГИИ И СЕРТИФИКАЦИИ
Минск
Предисловие
1 РАЗРАБОТАН Госстандартом России
ВНЕСЕН Техническим секретариатом Межгосударственного Совета по стандартизации, метрологии и сертификации
2 ПРИНЯТ Межгосударственным Советом по стандартизации, метрологии и сертификации 21 октября 1993 г.
За принятие проголосовали:
|
Наименование государства |
Наименование национального органа по стандартизации |
|
Республика Беларусь |
Белстандарт |
|
Республика Кыргызстан |
Кыргызстандарт |
|
Республика Молдова |
Молдовастандарт |
|
Российская Федерация |
Госстандарт России |
|
Республика Таджикистан |
Таджикстандарт |
|
Туркменистан |
Туркменглавгосинспекция |
|
Украина |
Госстандарт Украины |
3 ВВЕДЕН ВЗАМЕН ГОСТ Р 50270-92
МЕЖГОСУДАРСТВЕННЫЙ СТАНДАРТ
|
КОРОТКИЕ ЗАМЫКАНИЯ Методы расчета в
электроустановках Short-circuits
in electrical installations. |
ГОСТ |
Дата введения 01.01.95
Настоящий стандарт распространяется на трехфазные электроустановки напряжением до 1 кВ промышленной частоты, присоединенные к энергосистеме или к автономным источникам электроэнергии, устанавливает общую методику расчета токов симметричных и несимметричных коротких замыканий (КЗ) в начальный и произвольный момент времени с учетом параметров синхронных и асинхронных машин, трансформаторов, реакторов, кабельных и воздушных линий, шинопроводов и узлов комплексной нагрузки.
Стандарт не устанавливает методику расчета токов:
- при сложных несимметриях в электроустановках (например, одновременное КЗ и обрыв проводника фазы), при повторных КЗ и при КЗ в электроустановках с нелинейными элементами;
- при электромеханических переходных процессах с учетом изменения частоты вращения электрических машин;
- при КЗ внутри электрических машин и трансформаторов.
Пункты 1.5, 1.7, 2.4.2, 2.11, 2.12, 3.6 и приложения являются рекомендуемыми, остальные пункты - обязательными.
1. ОБЩИЕ ПОЛОЖЕНИЯ
1.3. Величины, подлежащие расчету, и допускаемая погрешность их расчета зависят от указанных п. 1.1 целей.
Допускаются упрощенные методы расчетов токов КЗ, если их погрешность не превышает 10 %.
Расчету для выбора и проверки электрооборудования по условиям КЗ подлежат:
1) начальное значение периодической составляющей тока КЗ;
2) апериодическая составляющая тока КЗ;
3) ударный ток КЗ;
4) действующее значение периодической составляющей тока КЗ в произвольный момент времени, вплоть до расчетного времени размыкания поврежденной цепи.
Для других целей, указанных в п. 1.1, расчету подлежат максимальное и минимальное значения периодической составляющей тока в месте КЗ в начальный и произвольный момент времени, вплоть до расчетного времени размыкания поврежденной цепи. Для целей выбора заземляющих устройств расчету подлежит значение тока однофазного КЗ.
1.4. При расчетах токов КЗ в электроустановках до 1 кВ необходимо учитывать:
1) индуктивные сопротивления всех элементов короткозамкнутой цепи, включая силовые трансформаторы, проводники, трансформаторы тока, реакторы, токовые катушки автоматических выключателей;
2) активные сопротивления элементов короткозамкнутой цепи;
3) активные сопротивления различных контактов и контактных соединений;
4) значения параметров синхронных и асинхронных электродвигателей.
1.5. При расчетах токов КЗ рекомендуется учитывать:
1) сопротивление электрической дуги в месте КЗ;
2) изменение активного сопротивления проводников короткозамкнутой цепи вследствие их нагрева при КЗ;
3) влияние комплексной нагрузки (электродвигатели, преобразователи, термические установки, лампы накаливания) на ток КЗ, если номинальный ток электродвигателей нагрузки превышает 1,0 % начального значения периодической составляющей тока КЗ, рассчитанного без учета нагрузки.
1.6. При расчетах токов КЗ допускается:
1) максимально упрощать и эквивалентировать всю внешнюю сеть по отношению к месту КЗ и индивидуально учитывать только автономные источники электроэнергии и электродвигатели, непосредственно примыкающие к месту КЗ;
2) не учитывать ток намагничивания трансформаторов;
3) не учитывать насыщение магнитных систем электрических машин;
4) принимать коэффициенты трансформации трансформаторов равными отношению средних номинальных напряжений тех ступеней напряжения сетей, которые связывают трансформаторы. При этом следует использовать следующую шкалу средних номинальных напряжений: 37; 24; 20; 15,75; 13,8; 10,5; 6,3; 3,15; 0,69; 0,525; 0,4; 0,23 кВ;
При составлении эквивалентных схем замещения параметры элементов исходной расчетной схемы следует приводить к ступени напряжения сети, на которой находится точка КЗ, а активные и индуктивные сопротивления всех элементов схемы замещения выражать в миллиомах.
1.8. При расчете токов КЗ в электроустановках, получающих питание непосредственно от сети энергосистемы, допускается считать, что понижающие трансформаторы подключены к источнику неизменного по амплитуде напряжения через эквивалентное индуктивное сопротивление системы. Значение этого сопротивления (хс) в миллиомах, приведенное к ступени низшего напряжения сети, рассчитывают по формуле
где
- среднее номинальное
напряжение сети, подключенной к обмотке низшего напряжения трансформатора, В;
- среднее номинальное напряжение сети, к
которой подключена обмотка высшего напряжения трансформатора, В;
=
- действующее
значение периодической составляющей тока при трехфазном КЗ у выводов обмотки
высшего напряжения трансформатора, кА;
Sк - условная мощность короткого замыкания у выводов обмотки высшего напряжения трансформатора, МВ×А.
При отсутствии указанных данных эквивалентное индуктивное сопротивление системы в миллиомах допускается рассчитывать по формуле
где
- номинальный ток
отключения выключателя, установленного на стороне высшего напряжения понижающего
трансформатора цепи.
Примечание. В случаях, когда понижающий трансформатор подключен к сети энергосистемы через реактор, воздушную или кабельную линию, (длиной более 1 км), необходимо учитывать не только индуктивные, но и активные сопротивления этих элементов.
1.9. При расчете токов КЗ в электроустановках с автономными источниками электроэнергии необходимо учитывать значения параметров всех элементов автономной электрической системы, включая автономные источники (синхронные генераторы), распределительную сеть и потребители.
2. РАСЧЕТ СОПРОТИВЛЕНИЙ РАЗЛИЧНЫХ ЭЛЕМЕНТОВ ЭЛЕКТРОУСТАНОВКИ
2.1. Активное и индуктивное сопротивления силовых трансформаторов
2.1.1. Активное и индуктивное сопротивления прямой последовательности понижающих трансформаторов (rт, хт) в миллиомах, приведенные к ступени низшего напряжения сети, рассчитывают по формулам:
где
- номинальная мощность трансформатора,
кВ×А;
- потери короткого замыкания
в трансформаторе, кВт;
- номинальное напряжение обмотки низшего
напряжения трансформатора, кВ;
ик - напряжение короткого замыкания трансформатора, %.
2.1.2. Активные и индуктивные сопротивления нулевой последовательности понижающих трансформаторов, обмотки которых соединены по схеме D/Y0, при расчете КЗ в сети низшего напряжения следует принимать равными соответственно активным и индуктивным сопротивлениям прямой последовательности. При других схемах соединения обмоток трансформаторов активные и индуктивные сопротивления нулевой последовательности необходимо принимать в соответствии с указаниями изготовителей.
2.2. Активное и индуктивное сопротивления реакторов
2.2.1. Активное сопротивление токоограничивающих реакторов (r1p = r2p = r0p) в миллиомах рассчитывают по формуле
(5)
где DРр.ном - потери активной мощности в фазе реактора при номинальном токе, Вт;
Iр.ном - номинальный ток реактора, А.
2.2.2. Индуктивное сопротивление реакторов (x1p = x2p = x0p) в миллиомах принимают как указано изготовителем или рассчитывают по формуле
(6)
где w - угловая частота напряжения сети, рад/с;
L - индуктивность катушки трехфазного реактора, Гн;
М - взаимная индуктивность между фазами реактора, Гн.
2.3. Активное и индуктивное сопротивления шинопроводов
При определении активного и индуктивного сопротивлений прямой и нулевой последовательностей шинопроводов следует использовать данные завода изготовителя, эксперимента или применять расчетный метод. Рекомендуемый метод расчета сопротивлений шинопроводов и параметры некоторых комплектных шинопроводов приведены в приложении 1.
2.4. Активное и индуктивное сопротивление кабелей
2.4.1. Значения параметров прямой (обратной) и нулевой последовательности кабелей, применяемых в электроустановках до 1 кВ, принимают, как указано изготовителем или в приложении 2.
(7)
где
- коэффициент,
учитывающий увеличение активного сопротивления кабеля. При приближенных
расчетах значение коэффициента
допускается принимать
равным 1,5. При уточненных расчетах коэффициент
следует определять в
соответствии с черт. 5-8 приложения 2 в зависимости от материала
и сечения жил кабеля, тока КЗ и продолжительности КЗ;
- активное сопротивление кабеля
при температуре
, равный плюс 20 °С, мОм.
2.5. Активное и индуктивное сопротивления воздушных линий и проводов
Методика расчета параметров воздушных линий и проводов приведена в приложении 3.
2.6. Активные сопротивления контактов и контактных соединений
Переходное сопротивление электрических контактов любого вида следует определять на основании данных экспериментов или с использованием расчетных методик. Данные о контактных соединениях приведены в приложении 4. При приближенном учете сопротивлений контактов принимают: rк = 0,1 мОм - для контактных соединений кабелей; rк = 0,01 мОм - для шинопроводов; rк = 1,0 мОм - для коммутационных аппаратов.
2.7. Активные и индуктивные сопротивления трансформаторов тока
При расчете токов КЗ в электроустановках напряжением до 1 кВ следует учитывать как индуктивные, так и активные сопротивления первичных обмоток всех многовитковых измерительных трансформаторов тока, которые имеются в цепи КЗ. Значения активных и индуктивных сопротивлений нулевой последовательности принимают равными значениям сопротивлений прямой последовательности. Параметры некоторых многовитковых трансформаторов тока приведены в приложении 5. Активным и индуктивным сопротивлением одновитковых трансформаторов (на токи более 500 А) при расчетах токов КЗ можно пренебречь.
2.8. Активные и индуктивные сопротивления катушек автоматических выключателей
Расчеты токов КЗ в электроустановках напряжением до 1 кВ следует вести с учетом индуктивных и активных сопротивлений катушек (расцепителей) максимального тока автоматических выключателей, принимая значения активных и индуктивных сопротивлений нулевой последовательности равными соответствующим сопротивлениям прямой последовательности. Значения сопротивлений катушек расцепителей и контактов некоторых автоматических выключателей приведены в приложении 6.
2.9. Параметры автономных источников электроэнергии и синхронных электродвигателей
При расчете начального
значения периодической составляющей тока КЗ автономные источники, а также
синхронные электродвигатели следует учитывать сверхпереходным сопротивлением по
продольной оси ротора (
), а при определении постоянной времени затухания
апериодической составляющей тока КЗ - индуктивным сопротивлением для токов
обратной последовательности x2 и активным сопротивлением
обмотки статора r. При приближенных расчетах принимают:
= 0,15; x2 =
; r = 0,15
.
2.10. Параметры асинхронных электродвигателей
При расчетах начального
значения периодической составляющей тока КЗ от асинхронных электродвигателей
последние следует вводить в схему замещения сверхпереходным индуктивным
сопротивлением. При необходимости проведения уточненных расчетов следует также
учитывать активное сопротивление статора. Их значения рекомендуется определять,
как указано в приложении 7. При приближенных расчетах принимают:
сверхпереходное индуктивное сопротивление асинхронного двигателя
= 0,18; активное сопротивление статора
асинхронного двигателя
= 0,36
.
2.11. Расчетные параметры комплексных нагрузок
2.11.1. При расчете токов КЗ от комплексных нагрузок следует учитывать их параметры прямой, обратной и нулевой последовательностей. Рекомендуемые значения сопротивлений прямой (Z1) и обратной (Z2) последовательностей отдельных элементов комплексной нагрузки приведены в табл. 1. Значения модулей полных сопротивлений прямой (Z1НГ), обратной (Z2НГ) и нулевой (Z0НГ) последовательностей некоторых узлов нагрузки в зависимости от их состава допускается определять, как указано в приложении 8.
Таблица 1
Параметры элементов комплексной нагрузки
|
Обозначения на схемах |
Cos jном |
Значения сопротивлений, отн. ед. |
||
|
|
|
|||
|
Асинхронные электродвигатели |
АД |
0,8 |
0,07 + j 0,18 |
0,07 + j 0,18 |
|
Синхронные электродвигатели |
СД |
0,9 |
0,03 + j 0,16 |
0,03 + j 0,16 |
|
Лампы накаливания |
ЛН |
1,0 |
1,0 |
1,33 |
|
Газоразрядные источники света |
ЛГ |
0,85 |
0,86 + j 0,53 |
0,38 + j 0,24 |
|
Преобразователи |
П |
0,9 |
0,9 + j 0,44 |
1,66 + j 0,81 |
|
Электротермические установки |
ЭУ |
0,9 |
1 + j 0,49 |
0,4 + j 0,2 |
2.11.2. В приближенных
расчетах для узлов, содержащих до 70 % асинхронных двигателей, допускается
значения модулей полных сопротивлений комплексной нагрузки принимать равными
=
= 0,4;
= 3,0.
2.12. Активное сопротивление дуги в месте КЗ
При определении минимального значения тока КЗ следует учитывать влияние на ток КЗ активного сопротивления электрической дуги в месте КЗ.
Приближенные значения активного сопротивления дуги приведены в табл. 2.
Для других расчетных условий КЗ значения активного сопротивления дуги допускается рассчитывать, по приложению 9.
3. РАСЧЕТ НАЧАЛЬНОГО ЗНАЧЕНИЯ ПЕРИОДИЧЕСКОЙ СОСТАВЛЯЮЩЕЙ ТОКА ТРЕХФАЗНОГО КЗ
3.1. Методика расчета начального действующего значения периодической составляющей тока КЗ в электроустановках до 1 кВ зависит от способа электроснабжения - от энергосистемы или от автономного источника.
Таблица 2
Значения активного сопротивления дуги
|
Активное сопротивление дуги (rд), мОМ, при КЗ за трансформаторами мощностью, кВ×А |
||||||
|
250 |
400 |
630 |
1000 |
1600 |
2500 |
|
|
КЗ вблизи выводов низшего напряжения трансформатора: |
|
|
|
|
|
|
|
- в разделке кабелей напряжением: |
|
|
|
|
|
|
|
0,4 кВ |
15 |
10 |
7 |
5 |
4 |
3 |
|
0,525 кВ |
14 |
8 |
6 |
4,5 |
3,5 |
2,5 |
|
0,69 кВ |
12 |
7 |
5 |
4 |
3 |
2 |
|
- в шинопроводе типа ШМА напряжением: |
|
|
|
|
|
|
|
0,4 кВ |
- |
- |
- |
6 |
4 |
3 |
|
0,525 кВ |
- |
- |
- |
5 |
3,5 |
2,5 |
|
0,69 кВ |
- |
- |
- |
4 |
3 |
2 |
|
КЗ в конце шинопровода типа ШМА длиной 100 - 150 м |
|
|
|
|
|
|
|
напряжением: |
|
|
|
|
|
|
|
0,4 кВ |
- |
- |
- |
6-8 |
5-7 |
4-6 |
|
0,525 кВ |
- |
- |
- |
5-7 |
4-6 |
3-5 |
|
0,69 кВ |
- |
- |
- |
4-6 |
3-5 |
2-4 |
3.2. При электроснабжении электроустановки от энергосистемы через понижающий трансформатор начальное действующее значение периодической составляющей трехфазного тока КЗ (Iпо) в килоамперах без учета подпитки от электродвигателей рассчитывают по формуле
(8)
где Uср.НН - среднее номинальное напряжение сети, в которой произошло короткое замыкание, В;
,
- соответственно
суммарное активное и суммарное индуктивное сопротивления прямой
последовательности цепи КЗ, мОм. Эти сопротивления равны:
![]()
![]()
где rт и xт - активное и индуктивное сопротивления прямой последовательности понижающего трансформатора, мОм;
rТА и xТА - активное и индуктивное сопротивления первичных обмоток трансформаторов тока, мОм;
хс - эквивалентное индуктивное сопротивление системы до понижающего трансформатора, мОм, приведенное к ступени низшего напряжения;
rр - активное и индуктивное сопротивления реакторов, мОм;
rкв и xкв - активное и индуктивное сопротивления токовых катушек автоматических выключателей, мОм;
rш и xш - активное и индуктивное сопротивления шинопроводов, мОм;
rк - суммарное активное сопротивление различных контактов, мОм;
r1кб, rвл и x1кб, xвл - активные и индуктивные сопротивления прямой последовательности кабельных и воздушных линий, мОм;
rд - активное сопротивление дуги в месте КЗ, мОм, принимаемое по данным табл. 2 или рассчитываемое как указано в приложении 9, в зависимости от условий КЗ.
3.3. Если электроснабжение электроустановки осуществляется от энергосистемы через понижающий трансформатор и вблизи места КЗ имеются синхронные и асинхронные электродвигатели или комплексная нагрузка, то начальное действующее значение периодической составляющей тока КЗ с учетом подпитки от электродвигателей или комплексной нагрузки следует определять как сумму токов от энергосистемы (см. п. 3.2) и от электродвигателей или комплексной нагрузки.
Начальное действующее значение периодической составляющей тока КЗ от синхронных электродвигателей (IпоСД) в килоамперах рассчитывают по формуле
(9)
где
- сверхпереходная ЭДС
синхронного электродвигателя (фазное значение), В;
и rСД - соответственно
сверхпереходное индуктивное и активное сопротивления электродвигателя, мОм;
значения этих сопротивлений допускается определять как указано в п. 2.9;
и
- суммарное индуктивное и
суммарное активное сопротивления прямой последовательности цепи, включенной
между электродвигателем и точкой КЗ, мОм.
Для синхронных
электродвигателей, которые до КЗ работали с перевозбуждением, сверхпереходную
ЭДС (
) в вольтах рассчитывают по формуле
(10)
где
- фазное напряжение
на выводах электродвигателя в момент, предшествующий КЗ, В;
- ток статора в момент, предшествующий КЗ, А;
- угол сдвига фаз напряжения и тока в момент,
предшествующий КЗ, град, эл.;
- сверхпереходное сопротивление по продольной
оси синхронного электродвигателя, мОм.
Для синхронных
электродвигателей, работавших до КЗ с недовозбуждением, сверхпереходную ЭДС (
) в вольтах рассчитывают по формуле
(11)
Начальное действующее значение периодической составляющей тока КЗ от асинхронных электродвигателей (IпоАД) в килоамперах рассчитывают по формуле
(12)
где
и rАД - соответственно
сверхпереходное индуктивное и активное сопротивления электродвигателя, мОм;
значения этих сопротивлений допускается определять, как указано в п. 2.10;
- сверхпереходная ЭДС
асинхронного электродвигателя, которую можно рассчитать по формуле
(13)
При необходимости учета комплексной нагрузки соответствующее начальное действующее значение периодической составляющей тока КЗ следует рассчитывать, как указано в приложении 10.
3.4. В электроустановках с автономными источниками электроэнергии начальное действующее значение периодической составляющей тока КЗ без учета подпитки от электродвигателей (Iпо) в килоамперах рассчитывают по формуле
(14)
где
и
- соответственно суммарное
активное и суммарное индуктивное сопротивления цепи КЗ, мОм. Эти сопротивления
равны:
![]()
![]()
где
- эквивалентная
сверхпереходная ЭДС (фазное значение), В; значение этой ЭДС следует
рассчитывать так же, как и для синхронных электродвигателей (см. п. 3.3).
3.5. При необходимости учета синхронных и асинхронных электродвигателей или комплексной нагрузки в автономной электрической системе начальное действующее значение периодической составляющей тока КЗ следует определять как сумму токов от автономных источников (см. п. 3.4) и от электродвигателей или комплексной нагрузки (см. п. 3.3).
3.6. При необходимости учета влияния на ток КЗ активного сопротивления электрической дуги рекомендуется использовать указания приложения 9 (п. 4).
4. РАСЧЕТ АПЕРИОДИЧЕСКОЙ СОСТАВЛЯЮЩЕЙ ТОКА КЗ
4.1. Наибольшее начальное значение апериодической составляющей тока КЗ (ia0) в общем случае считают равным амплитуде периодической составляющей тока в начальный момент КЗ
(15)
4.2. В радиальных сетях апериодическую составляющую тока КЗ в произвольный момент времени (iat) рассчитывают по формуле
(16)
где t - время, с;
Та - постоянная времени затухания апериодической составляющей тока КЗ с, равная
(17)
где
и
- результирующие индуктивное и
активное сопротивления цепи КЗ, мОм;
wс - синхронная угловая частота напряжения сети, рад/с.
При определении
и
синхронные
генераторы, синхронные и асинхронные электродвигатели должны быть введены в
схему замещения в соответствии с требованиями пп. 2.9 и 2.10.
Комплексная нагрузка должна быть введена в схему замещения в соответствии с требованиями разд. 2.
4.3. Если точка КЗ делит расчетную схему на радиальные, независимые друг от друга ветви, то апериодическую составляющую тока КЗ в произвольный момент времени следует определять как сумму апериодических составляющих токов отдельных ветвей по формуле
(18)
где т - число независимых ветвей схемы;
ia0i - начальное значение апериодической составляющей тока КЗ в i-й ветви, кА.
5. РАСЧЕТ УДАРНОГО ТОКА КЗ
5.1. Ударный ток трехфазного КЗ (iуд) в электроустановках с одним источником энергии (энергосистема или автономный источник) рассчитывают по формуле
, (19)
где
- ударный
коэффициент, который может быть определен по кривым черт. 1;
Та - постоянная времени затухания апериодической составляющей тока КЗ (см. п. 4.2);
jк - угол сдвига по фазе напряжения или ЭДС источника и периодической составляющей тока КЗ, который рассчитывают по формуле
![]()
tуд - время от начала КЗ до появления ударного тока, с, равное
![]()
Кривые зависимости ударного коэффициента Куд от отношений r/х и x/r
x - индуктивное сопротивление цепи КЗ, r - активное сопротивление цепи КЗ
Черт. 1
5.2. При расчете ударного тока КЗ на выводах автономных источников, а также синхронных и асинхронных электродвигателей допускается считать, что:
ударный ток наступает через 0,01 с после начала КЗ;
амплитуда периодической составляющей тока КЗ в момент времени t = 0,01 с равна амплитуде этой составляющей в начальный момент КЗ.
5.3. Ударный ток от асинхронного электродвигателя (iуд.АД) в килоамперах рассчитывают с учетом затухания амплитуды периодической составляющей тока КЗ по формуле
(20)
где Тр - расчетная постоянная времени затухания периодической составляющей тока статора, с;
Та - постоянная времени затухания апериодической составляющей тока статора, с.
При этом Тр и Та допускается рассчитывать по формулам


где wc - синхронная угловая частота, рад/с;
r1 и
- соответственно
активное сопротивление статора и активное сопротивление ротора, приведенное к
статору, которые допускается рассчитывать, как указано в приложении 7.
5.4. Если точка КЗ делит расчетную схему на радиальные, не зависимые друг от друга ветви, то ударный ток КЗ (iyд) определяют как сумму ударных токов отдельных ветвей по формуле
(21)
где т - число независимых ветвей схемы;
Тпоi - начальное действующее значение периодической составляющей тока КЗ в i-й ветви, кА;
tуд i - время появления ударного тока в i-й ветви, с;
Таi - постоянная времени затухания апериодической составляющей тока КЗ в i-й ветви, с.
6. РАСЧЕТ ПЕРИОДИЧЕСКОЙ СОСТАВЛЯЮЩЕЙ ТОКА КЗ ОТ АВТОНОМНЫХ ИСТОЧНИКОВ ЭЛЕКТРОЭНЕРГИИ В ПРОИЗВОЛЬНЫЙ МОМЕНТ ВРЕМЕНИ
6.1. В сложных автономных системах расчет периодической составляющей тока КЗ от источников электроэнергии (синхронных генераторов) в произвольный момент времени следует выполнять путем решения соответствующей системы дифференциальных уравнений переходных процессов с использованием ЭВМ.
Изменение периодической составляющей тока КЗ от синхронной машины
Черт. 2
6.2. В приближенных расчетах для определения действующего значения периодической составляющей тока КЗ в произвольный момент времени от автономных источников при радиальной схеме применяют кривые, приведенные на черт. 2. Расчетные кривые характеризуют изменение этой составляющей во времени при разных удаленностях точки КЗ. Значения периодической составляющей тока КЗ в произвольный момент времени отнесены к начальному значению этой составляющей, т.е.
![]()
Удаленность точки КЗ от
синхронной машины (
) характеризуется отношением действующего значения периодической
составляющей тока этой машины в начальный момент КЗ к ее номинальному току,
т.е.
![]()
Действующее значение периодической составляющей тока КЗ в произвольный момент времени от синхронной машины (или нескольких однотипных синхронных машин, находящихся в одинаковых условиях по отношению к точке КЗ) (Iпt), следует определять по формуле
(22)
причем при нескольких машинах под номинальным током следует понимать сумму номинальных токов всех машин.
7. РАСЧЕТ ПЕРИОДИЧЕСКОЙ СОСТАВЛЯЮЩЕЙ ТОКА КЗ ОТ СИНХРОННЫХ И АСИНХРОННЫХ ЭЛЕКТРОДВИГАТЕЛЕЙ В ПРОИЗВОЛЬНЫЙ МОМЕНТ ВРЕМЕНИ
7.1. Точный расчет периодической составляющей тока КЗ от синхронных и асинхронных электродвигателей в произвольный момент времени следует выполнять путем решения системы дифференциальных уравнений переходных процессов.
7.2. При приближенных расчетах для определения действующего значения периодической составляющей тока КЗ от синхронных электродвигателей в произвольный момент времени при радиальной схеме используют типовые кривые, приведенные на черт. 2.
7.3. При приближенных расчетах для определения действующего значения периодической составляющей тока КЗ от асинхронных электродвигателей в произвольный момент времени при радиальной схеме используют кривые, приведенные на черт. 3. Значения периодической составляющей тока КЗ в произвольный момент времени отнесены к начальному значению этой составляющей, т.е.

Удаленность точки КЗ от асинхронного электродвигателя характеризуется отношением действующего значения периодической составляющей тока этого электродвигателя в начальный момент КЗ к его номинальному току
![]()
Действующее значение
периодической составляющей тока КЗ в произвольный момент времени от асинхронного
электродвигателя (
)
(или нескольких асинхронных электродвигателей, находящихся в одинаковых
условиях по отношению к точке КЗ) рассчитывают по формуле
(23)
Изменение периодической составляющей тока КЗ от асинхронных двигателей
Черт. 3
8. РАСЧЕТ ТОКОВ НЕСИММЕТРИЧНЫХ КЗ
8.1 Составление схем замещения
8.1.1. Расчет токов несимметричных КЗ выполняют с использованием метода симметричных составляющих. При этом предварительно необходимо составить схемы замещения прямой, обратной и нулевой последовательностей.
8.1.2. В схему замещения прямой последовательности должны быть введены все элементы расчетной схемы, причем при расчете начального значения тока несимметричного КЗ автономные источники, синхронные и асинхронные электродвигатели, а также комплексная нагрузка должны быть введены сверхпереходными ЭДС и сверхпереходными сопротивлениями.
Схема замещения обратной последовательности также должна включать все элементы расчетной схемы. При этом ЭДС обратной последовательности синхронных и асинхронных машин, а также комплексной нагрузки, следует принимать равными нулю. Сопротивление обратной последовательности синхронных машин следует принимать по данным каталога, асинхронных машин - принимать равным сверхпереходному сопротивлению, а комплексных нагрузок - в соответствии с табл. 1.
Сопротивление обратной последовательности трансформаторов, реакторов, воздушных и кабельных линий следует принимать равным сопротивлению прямой последовательности.
8.2. Расчет токов однофазного КЗ
(24)
где
и
определяют в
соответствии с п. 3.2 настоящего стандарта;
и
- суммарное активное
и суммарное индуктивное сопротивления нулевой последовательности расчетной
схемы относительно точки КЗ, мОм. Эти сопротивления равны:
![]()
![]()
где r0т и x0т - активное и индуктивное сопротивления нулевой последовательности понижающего трансформатора;
r0ш и x0ш - активное и индуктивное сопротивления нулевой последовательности шинопровода;
r0кб и x0кб - активное и индуктивное сопротивления нулевой последовательности кабеля;
r0вл и x0вл - активное и индуктивное сопротивления нулевой последовательности воздушной линии (r0вл = r1вл, x0вл » 3x1вл).
(25)
где
- эквивалентная
сверхпереходная ЭДС автономных источников, В, которую определяют в соответствии
с п. 3.4.
Значения
и
определяют в
соответствии с п. 3.4, а
и
- по п. 8.2.1.
8.2.3. Начальное значение периодической составляющей тока однофазного КЗ с учетом синхронных и асинхронных электродвигателей в килоамперах рассчитывают, как указано в п. 8.2.2.
8.2.4. При необходимости определения периодической составляющей тока однофазного КЗ в произвольный момент времени применяют методы расчета, приведенные в разд. 2, 6 и 7.
8.3. Расчет токов двухфазного КЗ
8.3.1. При электроснабжении
электроустановок напряжением до 1 кВ от энергосистемы через понижающий
трансформатор начальное значение периодической составляющей тока двухфазного КЗ
(
) в килоамперах рассчитывают по формуле
(26)
где
![]()
![]()
8.3.2. В электроустановках с
автономными источниками энергии начальное значение периодической составляющей
тока двухфазного КЗ (
) в килоамперах рассчитывают по формуле
(27)
8.3.3.
Начальное значение периодической составляющей тока двухфазного КЗ с учетом
асинхронных электродвигателей (
)
в килоамперах рассчитывают по формуле
(28)
где
- эквивалентная ЭДС
асинхронных электродвигателей и источника электроэнергии, В;
и
- суммарные активное
и индуктивное сопротивления относительно точки КЗ (с учетом параметров
асинхронных электродвигателей), мОм
8.3.4. Начальное действующее значение периодической составляющей тока двухфазного КЗ с учетом синхронных электродвигателей в килоамперах определяют, как указано в п 8.3.3.
8.3.5. При необходимости определения периодической составляющей тока двухфазного КЗ в произвольный момент времени применяют методы расчета, приведенные в разд. 6 и 7.
ПРИЛОЖЕНИЕ 1
Рекомендуемое
РАСЧЕТ СОПРОТИВЛЕНИЙ ШИНОПРОВОДОВ
1. Необходимые для расчетов токов КЗ параметры шинопроводов могут быть взяты из нормативно-технической документации или получены расчетным методом. Параметры шинопроводов серии ШМА и ШРА даны в табл. 3.
Активное сопротивление одной фазы шинопровода (rш) в миллиомах при температуре J рассчитывают по формуле
(29)
где
- удельное
сопротивление материала шины при нормированной температуре
, Ом×мм2/м;
- нормированная температура, при которой
задано удельное сопротивление, °С;
l - длина шины одной фазы, м;
s - сечение шины, мм2;
Т - постоянная, зависящая от материала проводника, °С: для твердотянутой меди Т = 242 °С, для отожженной меди Т = 234 °С; для алюминия Т = 236 °С;
Кд - коэффициент добавочных потерь, учитывающий влияние поверхностного эффекта, эффекта близости, а также добавочных потерь от расположенных вблизи металлических элементов.
Значение коэффициента добавочных потерь можно оценить, исходя из результатов экспериментальных исследований токопроводов аналогичных конструкций или рассчитать (приблизительно) по формуле
![]()
где КJ - коэффициент, учитывающий изменение температуры шины (значения КJ приведены в приложении 3);
Кб - коэффициент близости;
Kпэ - коэффициент поверхностного эффекта.
Таблица 3
Параметры комплектных шинопроводов
|
Номинальное напряжение, кВ |
Номинальный ток, А |
Сопротивление фазы, мОм/м |
Сопротивление нулевого проводника, мОм/м |
|
|||
|
r1 |
x1 |
||||||
|
rнп |
xнп |
|
|||||
|
ШМА4-1250 |
0,38/0,66 |
1250 |
0,034 |
0,016 |
0,054 |
0,053 |
|
|
ШМА4-1650 |
0,38/0,66 |
1600 |
0,030 |
0,014 |
0,037 |
0,042 |
|
|
ШМА4-3200 |
0,38/0,66 |
3200 |
0,010 |
0,005 |
0,064 |
0,035 |
|
|
ШМА68П |
0,38/0,66 |
2500 |
0,020 |
0,020 |
0,070 |
0,045 |
|
|
ШМА68П |
0,38/0,66 |
4000 |
0,013 |
0,015 |
0,070 |
0,045 |
|
|
ШРА73 |
0,38 |
250 |
0,210 |
0,210 |
0,120 |
0,210 |
|
|
ШРА73 |
0,38 |
400 |
0,150 |
0,170 |
0,162 |
0,164 |
|
|
ШРА73 |
0,38 |
630 |
0,1 |
0,13 |
0,162 |
0,164 |
|
Значения коэффициентов Кб и Кпэ для медных и алюминиевых шин зависят от размеров поперечного сечения, расположения и числа шин. Для одиночных шин прямоугольного сечения, имеющих размеры 25´3 - 100´10 мм, при расположении шин «на ребро» значения коэффициента Кпэ составляют 1,02 - 1,1. Значения коэффициента Кпэ для пакетов шин допускается принимать как для одиночных шин.
Коэффициент добавочных потерь Кд для алюминиевых шин сечением 100´10 мм2 в зависимости от числа шин п должен иметь следующие значения: при п = 1 Кд » 1,18; при п = 2 Кд » 1,25; при п =3 Кд » 1,6; при п = 4 Кд » 1,72.
При прокладке шинопровода в галерее или туннеле коэффициент добавочных потерь следует брать на 0,25 больше, чем при его прокладке на открытом воздухе.
2. Индуктивное сопротивление прямой последовательности фазы шинопровода (x1ш) в миллиомах на метр рассчитывают по формуле
(30)
где d - расстояние между шинами, м;
g0 - среднее геометрическое расстояние, м, рассчитываемое по одной из приведенных ниже формул:
1) для шины прямоугольного сечения
g0 = 0,22 (b + h),
где b и h - размеры сторон прямоугольника;
2) для шины квадратного сечения
g0 = 0,45 b,
где b - размер стороны квадрата;
3) для трубчатой шины квадратичного сечения
g0 = 0,58 Свш,
где bвш - размер наружной (внешней) стороны квадратного сечения;
С - коэффициент, значения которого должны соответствовать приведенным в табл. 4.
Таблица 4
Значения коэффициента С
|
Значение коэффициента С |
|
|
0,1 |
0,78 |
|
0,2 |
0,79 |
|
0,3 |
0,81 |
|
0,4 |
0,83 |
|
0,5 |
0,85 |
|
0,6 |
0,88 |
|
0,7 |
0,91 |
|
0,8 |
0,94 |
|
0,9 |
0,97 |
|
1,0 |
1,00 |
Среднее геометрическое расстояние g0 для пакета шин можно рассчитать по следующим формулам:
1) для двухполосного пакета:
![]()
где b и h - соответственно толщина и ширина одной полосы шины (см. черт. 4), мм;
d - расстояние между продольными осями (центрами масс) сечений шин пакета (см. черт. 4), мм;
k - коэффициент, зависящий от отношения d12/h, его определяют по кривой, приведенной на черт. 4;
2) для трехполосного пакета
![]()
где d12, d23 и d13 - расстояния между центрами масс сечений соответствующих шин пакета,
k12, k23 и k13 - коэффициенты, зависящие от отношения d12/h, d23/h, d13/h и определяемые по кривой, приведенной на черт. 4.
Значения средних геометрических расстояний (g0) наиболее употребляемых пакетов шин с зазорами между шинами, равными толщине шины, должны соответствовать приведенным в табл. 5.
Коэффициент k для определения среднего геометрического расстояния между шинами прямоугольного сечения
Черт. 4
Таблица 5
Значения g0 некоторых пакетов шин
|
g0, см |
|
|
2(80´10) |
1,53 |
|
2(100´10) |
3,0 |
|
2(120´10) |
3,45 |
|
3(80´10) |
2,99 |
|
3(100´10) |
3,50 |
|
3(120´10) |
3,95 |
3. В качестве допустимой (расчетной) температуры нагрева шинопровода в продолжительном режиме следует принимать J = 70 °С.
4. Активное и индуктивное сопротивления нулевой последовательности фазы шинопровода (rош и xош) в миллиомах на метр принимают (ориентировочно)
rош = r1ш + 3 rип;
xош = (0,75¸9,4) x1ш.
ПРИЛОЖЕНИЕ 2
Справочное
АКТИВНЫЕ И ИНДУКТИВНЫЕ СОПРОТИВЛЕНИЯ КАБЕЛЕЙ
Таблица 6
Параметры кабеля с алюминиевыми жилами в алюминиевой оболочке
|
Сечение кабеля, мм2 |
Сопротивление трехжильного кабеля в алюминиевой оболочке, мОм/м |
|||
|
r1 = r2 |
x1 = x2 |
r0 |
x0 |
|
|
3´4 |
9,61 |
0,092 |
10,95 |
0,579 |
|
3´6 |
6,41 |
0,087 |
7,69 |
0,523 |
|
3´10 |
3,84 |
0,082 |
5,04 |
0,461 |
|
3´16 |
2,4 |
0,078 |
3,52 |
0,406 |
|
3´25 |
1,54 |
0,062 |
2,63 |
0,359 |
|
3´35 |
1,1 |
0,061 |
2,07 |
0,298 |
|
3´50 |
0,769 |
0,06 |
1,64 |
0,257 |
|
3´70 |
0,549 |
0,059 |
1,31 |
0,211 |
|
3´95 |
0,405 |
0,057 |
1,06 |
0,174 |
|
3´120 |
0,32 |
0,057 |
0,92 |
0,157 |
|
3´150 |
0,256 |
0,056 |
0,78 |
0,135 |
|
3´185 |
0,208 |
0,056 |
0,66 |
0,122 |
|
3´240 |
0,16 |
0,055 |
0,553 |
0,107 |
Таблица 7
Параметры кабеля с алюминиевыми жилами в свинцовой оболочке
|
Сечение кабеля, мм2 |
Сопротивление трехжильного кабеля в свинцовой оболочке, мОм/м |
|||
|
r1 = r2 |
x1 = x2 |
rс |
x0 |
|
|
3´4 |
9,61 |
0,092 |
11,6 |
1,24 |
|
3´6 |
6,41 |
0,087 |
8,38 |
1,2 |
|
3´10 |
3,84 |
0,082 |
5,78 |
1,16 |
|
3´16 |
2,4 |
0,078 |
4,32 |
1,12 |
|
3´25 |
1,54 |
0,062 |
3,44 |
1,07 |
|
3´35 |
1,1 |
0,061 |
2,96 |
1,01 |
|
3´50 |
0,769 |
0,06 |
2,6 |
0,963 |
|
3´70 |
0,549 |
0,059 |
2,31 |
0,884 |
|
3´95 |
0,405 |
0,057 |
2,1 |
0,793 |
|
3´120 |
0,32 |
0,057 |
1,96 |
0,742 |
|
3´150 |
0,256 |
0,056 |
1,82 |
0,671 |
|
3´185 |
0,208 |
0,056 |
1,69 |
0,606 |
|
3´240 |
0,16 |
0,055 |
1,55 |
0,535 |
Таблица 8
Параметры кабеля с алюминиевыми жилами в непроводящей оболочке
|
Сечение кабеля, мм2 |
Сопротивление трехжильного кабеля в непроводящей оболочке, мОм/м |
|||
|
r1 = r2 |
x1 = x2 |
r0 |
x0 |
|
|
3´4 |
9,61 |
0,092 |
11,7 |
2,31 |
|
3´6 |
6,41 |
0,087 |
8,51 |
2,274 |
|
3´10 |
3,84 |
0,082 |
5,94 |
2,24 |
|
3´16 |
2,4 |
0,078 |
4,5 |
2,2 |
|
3´25 |
1,54 |
0,062 |
3,64 |
2,17 |
|
3´35 |
1,1 |
0,061 |
3,3 |
2,14 |
|
3´50 |
0,769 |
0,06 |
2,869 |
2,08 |
|
3´70 |
0,549 |
0,059 |
2,649 |
2,07 |
|
3´95 |
0,405 |
0,057 |
2,505 |
2,05 |
|
3´120 |
0,32 |
0,057 |
2,42 |
2,03 |
|
3´150 |
0,256 |
0,056 |
2,36 |
2,0 |
Таблица 9
Параметры кабеля с алюминиевыми жилами в алюминиевой оболочке
|
Сечение кабеля, мм2 |
Сопротивление четырехжильного кабеля в алюминиевой оболочке, мОм/м |
|||
|
r1 = r2 |
x1 = x2 |
rс |
x0 |
|
|
3´4 + 1´2,5 |
9,61 |
0,098 |
10,87 |
0,57 |
|
3´6 + 1´4 |
6,41 |
0,094 |
7,6 |
0,463 |
|
3´10 + 1´6 |
3,84 |
0,088 |
4,94 |
0,401 |
|
3´16 + 1´10 |
2,4 |
0,084 |
3,39 |
0,336 |
|
3´25 + 1´16 |
1,54 |
0,072 |
2,41 |
0,256 |
|
3´35 + 1´16 |
1,1 |
0,068 |
1,94 |
0,232 |
|
3´50 + 1´25 |
0,769 |
0,066 |
1,44 |
0,179 |
|
3´70 + 1´35 |
0,549 |
0,065 |
1,11 |
0,145 |
|
3´95 + 1´50 |
0,405 |
0,064 |
0,887 |
0,124 |
Таблица 10
Параметры кабеля с алюминиевыми жилами в свинцовой оболочке
|
Сечение кабеля, мм2 |
Сопротивление четырехжильного кабеля в свинцовой оболочке, мОм/м |
|||
|
r1 = r2 |
x1 = x2 |
r0 |
x0 |
|
|
3´4 + 1´2,5 |
9,61 |
0,098 |
11,52 |
1,13 |
|
3´6 + 1´4 |
6,41 |
0,094 |
8,28 |
1,05 |
|
3´10 + 1´6 |
3,84 |
0,088 |
5,63 |
0,966 |
|
3´16 + 1´10 |
2,4 |
0,084 |
4,09 |
0,831 |
|
3´25 + 1´16 |
1,54 |
0,072 |
3,08 |
0,668 |
|
3´35 + 1´16 |
1,1 |
0,068 |
2,63 |
0,647 |
|
3´50 + 1´25 |
0,769 |
0,066 |
2,1 |
0,5 |
|
3´70 + 1´35 |
0,549 |
0,065 |
1,71 |
0,393 |
|
3´95 + 1´50 |
0,405 |
0,064 |
1,39 |
0,317 |
|
3´120 + 1´50 |
0,32 |
0,064 |
1,27 |
0,301 |
|
3´150 + 1´70 |
0,256 |
0,063 |
1,05 |
0,248 |
|
3´185 + 1´70 |
0,208 |
0,063 |
0,989 |
0,244 |
Таблица 11
Параметры кабеля с алюминиевыми жилами в непроводящей оболочке
|
Сечение кабеля, мм2 |
Сопротивление четырехжильного кабеля в непроводящей оболочке, мОм/м |
|||
|
r1 = r2 |
x1 = x2 |
r0 |
x0 |
|
|
3´4 + 1´2,5 |
9,61 |
0,098 |
11,71 |
2,11 |
|
3´6 + 1´4 |
6,41 |
0,094 |
8,71 |
1,968 |
|
3´10 + 1´6 |
3,84 |
0,088 |
5,9 |
1,811 |
|
3´16 + 1´10 |
2,4 |
0,084 |
4,39 |
1,558 |
|
3´25 + 1´16 |
1,54 |
0,072 |
3,42 |
1,258 |
|
3´35 + 1´16 |
1,1 |
0,068 |
2,97 |
1,241 |
|
3´50 + 1´25 |
0,769 |
0,066 |
2,449 |
0,949 |
|
3´70 + 1´35 |
0,549 |
0,065 |
2,039 |
0,741 |
|
3´95 + 1´50 |
0,405 |
0,064 |
1,665 |
0,559 |
|
3´120 + 1´50 |
0,32 |
0,064 |
1,54 |
0,545 |
|
3´150 + 1´70 |
0,256 |
0,063 |
1,276 |
0,43 |
Таблица 12
Параметры кабеля с медными жилами в стальной оболочке *
|
Сечение токопроводящей жилы, мм2 |
Сопротивление трехжильного кабеля, мОм/м, при температуре жилы 65 °С |
|||
|
r1 = r2 |
x1 = x2 |
r0 |
x0 |
|
|
3´6 |
3,54 |
0,094 |
4,07 |
1,69 |
|
3´10 |
2,13 |
0,088 |
2,66 |
1,65 |
|
3´16 |
1,33 |
0,082 |
1,86 |
1,61 |
|
3´25 |
0,85 |
0,082 |
1,38 |
1,57 |
|
3´35 |
0,61 |
0,079 |
1,14 |
1,54 |
|
3´50 |
0,43 |
0,078 |
0,96 |
1,51 |
|
3´70 |
0,3 |
0,065 |
0,83 |
1,48 |
|
3´95 |
0,22 |
0,064 |
0,75 |
1,45 |
|
3´120 |
0,18 |
0,062 |
0,71 |
1,43 |
|
3´150 |
0,14 |
0,061 |
0,67 |
1,41 |
|
3´185 |
0,115 |
0,061 |
0,65 |
1,39 |
|
3´240 |
0,089 |
0,06 |
0,62 |
1,36 |
* Заземление выполнено медным проводом сечением 120 мм2.
Таблица 13
Параметры кабеля с медными жилами в стальной оболочке
|
Сечение токопроводящей жилы, мм2 |
Сопротивление четырехжильного кабеля, мОм/м, при температуре жилы 65 °С |
|||
|
r1 = r2 |
x1 = x2 |
r0 |
x0 |
|
|
3´6 + 1´4 |
3,54 |
0,1 |
4,19 |
1,55 |
|
3´10 + 1´6 |
2,13 |
0,095 |
2,82 |
1,46 |
|
3´16 + 1´10 |
1,33 |
0,09 |
2,07 |
1,31 |
|
3´25 + 1´16 |
0,85 |
0,089 |
1,63 |
1,11 |
|
3´35 + 1´16 |
0,61 |
0,086 |
1,37 |
1,09 |
|
3´50 + 1´25 |
0,43 |
0,086 |
1,18 |
0,88 |
|
3´70 + 1´25 3´70 + 1´35 |
0,3 |
0,073 0,074 |
1,05 1,01 |
0,851 0,654 |
|
3´95 + 1´35 3´95 + 1´50 |
0,22 |
0,072 |
0,92 0,84 |
0,69 0,54 |
|
3´120 + 1´35 |
|
|
0,88 |
0,68 |
|
3´120 + 1´70 |
0,18 |
0,07 |
0,7 |
0,47 |
|
3´150 + 1´50 |
|
|
0,74 |
0,54 |
|
3´150 + 1´70 |
0,14 |
0,07 |
0,66 |
0,42 |
|
3´185 + 1´50 |
|
|
0,7 |
0,54 |
|
3´185 + 1´95 |
0,115 |
0,069 |
0,54 |
0,34 |
Таблица 14
Параметры кабеля с медными жилами в стальной оболочке
|
Сечение токопроводящей жилы, мм2 |
Сопротивление четырехжильного кабеля, мОм/м, при температуре жилы 65 °С |
|||
|
r1 = r2 |
x1 = x2 |
r0 |
x0 |
|
|
4´6 |
3,54 |
0,1 |
4,24 |
1,49 |
|
4´10 |
2,13 |
0,095 |
2,88 |
1,34 |
|
4´16 |
1,33 |
0,09 |
2,12 |
1,14 |
|
4´25 |
0,86 |
0,089 |
1,63 |
0,91 |
|
4´35 |
0,61 |
0,086 |
1,33 |
0,74 |
|
4´50 |
0,43 |
0,086 |
1,05 |
0,58 |
|
4´70 |
0,3 |
0,073 |
0,85 |
0,42 |
|
4´95 |
0,22 |
0,072 |
0,66 |
0,35 |
|
4´120 |
0,18 |
0,07 |
0,54 |
0,31 |
|
4´150 |
0,14 |
0,07 |
0,45 |
0,28 |
|
4´185 |
0,115 |
0,069 |
0,37 |
0,27 |
УВЕЛИЧЕНИЕ АКТИВНОГО СОПРОТИВЛЕНИЯ КАБЕЛЕЙ
Значения коэффициента, учитывающего увеличение активного сопротивления медного кабеля при нагреве его током КЗ, определяют в зависимости от сечения кабеля, тока КЗ и продолжительности КЗ по кривым, приведенным на черт. 5 или 6, а алюминиевого кабеля - по кривым, приведенным на черт. 7 или 8.
Данные, указанные на черт. 5-8, получены при следующих расчетных условиях: КЗ происходит в радиальной схеме, содержащей ветвь (трансформатор, кабель) с источником неизменной по амплитуде ЭДС;
температура кабеля изменяется от Jнач = 20 °С до Jдоп.к = 200 °С,
продолжительность КЗ (tоткл) составляет 0,2; 0,6; 1,0; 1,5 с.
Температуру нагрева кабеля определяют с помощью уравнения нагрева однородного проводника при адиабатическом процессе, преобразованного к виду

где Iпt - ток КЗ к моменту времени t, кА;
rJ и rJнорм - удельные сопротивления, Ом×м, материала кабеля при температуре J и начальной нормированной температуре Jнорм;
s - сечение кабеля, мм2;
l - плотность материала проводника, кг/м3;
g - ускорение силы тяжести, м/с2;
с0 - удельная теплоемкость материала кабеля при температуре J0 = Jнач = Jнорм, Дж/(кг×К);
b - температурный коэффициент теплоемкости, 1/К,
a - температурный коэффициент удельного сопротивления, 1/К.
Зависимости коэффициента увеличения активного сопротивления кабелей разных сечений с медными жилами от тока КЗ при продолжительностях КЗ 0,2 с (сплошные линии) и 0,6 с (пунктирные линии)
Черт. 5
Зависимости коэффициента увеличения активного сопротивления кабелей разных сечений с медными жилами от тока КЗ при продолжительностях КЗ 1,0 с (сплошные линии) и 1,5 с (пунктирные линии)
Черт. 6
Зависимости коэффициента увеличения активного сопротивления кабелей разных сечений с алюминиевыми жилами от тока КЗ при продолжительностях КЗ 0,2 с (сплошные линии) и 0,6 с (пунктирные линии)
Черт. 7
Зависимость коэффициента увеличения активного сопротивления кабелей с алюминиевыми жилами от тока КЗ при продолжительностях КЗ 1,5 с (сплошные линии) и 1,0 с (пунктирные линии)
Черт. 8
Изменение удельного сопротивления материала кабеля при повышении температуры определяют по выражению
![]()
где
![]()
ПРИЛОЖЕНИЕ 3
Рекомендуемое
РАСЧЕТНЫЕ СОПРОТИВЛЕНИЯ ПРОВОДОВ, ПРОЛОЖЕННЫХ ОТКРЫТО НА ИЗОЛЯТОРАХ, И ПРОВОДОВ ВОЗДУШНЫХ ЛИНИЙ
1. Расчетное сопротивление проводов
1.1. Активное сопротивление прямой последовательности одной фазы проводника (r) в миллиомах рассчитывают по формуле
где сJ - коэффициент, учитывающий увеличение сопротивления с повышением температуры (см. приложение 2). В качестве расчетной температуры нагрева для проводов с резиновой и пластмассовой изоляцией принимают J = 65 °С;
Кс = 1,02 - коэффициент, учитывающий увеличение сопротивления многопроволочных жил проводов и кабелей вследствие скрутки. Для однопроволочных проводов Кс = 1,0;
Кпэ - коэффициент поверхностного эффекта при переменном токе. Для медных и алюминиевых проводов коэффициент принимают равным единице;
- удельное сопротивление провода
при J = 20 °С. Для медных проводов
- 0,0178 Ом×мм2/м, для алюминиевых проводов
- 0,02994 Ом×мм2/м;
s - сечение проводника, мм2;
l - длина проводника, м
1.2. Индуктивное сопротивление прямой последовательности (x) одной фазы провода круглого сечения в миллиомах на метр рассчитывают по формуле
(32)
где а - расстояние между проводниками, м;
Rп - радиус проводника, м.
1.3. Если фазный и нулевой проводники выполнены из круглых проводов одинакового сечения и проложены параллельно, то индуктивное сопротивление цепи фаза - нуль (xф-н) в миллиомах на метр рассчитывают по формуле
При прямоугольной форме сечения нулевого проводника сопротивление цепи фаза - нуль определяют по сечению фазного проводника.
1.4. Активное и индуктивное сопротивления нулевой последовательности воздушных линий, имеющих нулевой провод с повторным заземлением, зависят от числа заземлений и коэффициента сезонности.
При определении активного и индуктивного сопротивлений петли фазный провод - нулевой провод (rф-н, хф-н) используют соответственно формулы 31 и 33 или расчетные данные, приведенные в табл. 15. Активное и индуктивное сопротивления петли с промежуточными заземлениями определяют умножением расчетных сопротивлений на соответствующие поправочные коэффициенты КR и Кx в зависимости от числа промежуточных заземлений (т), черт. 9, и на коэффициент сезонности Кс3 (табл. 16). Значения коэффициента КR на рис. 9а даны при разных сечениях проводов петли - фазного (указаны в числителе) и нулевого (указаны в знаменателе), а Кх на рис. 9б - при разных сечениях нулевого и любых сечениях фазного провода.
Поправочные коэффициенты (КR и Кx) к активному и индуктивному сопротивлениям петли «фазовый провод - нулевой провод воздушной линии»
Примечания:
1. На верхнем рисунке справа от кривых даны сечения проводов петли: в числителе - фазового провода, в знаменателе - нулевого провода.
2. На нижнем рисунке справа от кривых даны сечения нулевых проводов петли. Эти кривые можно с достаточной точностью использовать при всех возможных сочетаниях сечений фазового и нулевого проводов.
Черт. 9
Таблица 15
Значения сопротивления петли «фазный провод - нулевой провод» без учета заземляющих устройств
|
Активное (в числителе) и индуктивное (в знаменателе) сопротивления петли, мОм, при сечении нулевого провода, мм2 |
|||||
|
16 |
25 |
35 |
50 |
70 |
|
|
16 |
3,68 0,68 |
- |
- |
- |
- |
|
25 |
2,98 0,67 |
2,28 0,66 |
- |
- |
- |
|
35 |
- |
1,99 0,65 |
1,70 0,64 |
- |
- |
|
50 |
- |
1,73 0,64 |
1,44 0,63 |
1,18 0,62 |
- |
|
70 |
- |
- |
1,27 0,62 |
1,01 0,61 |
0,84 0,60 |
Таблица 16
Признаки климатических зон и
значения сезонного коэффициента ![]()
|
Данные, характеризующие климатические зоны, и тип применяемых электродов |
Климатические зоны |
|||
|
1 |
2 |
3 |
4 |
|
|
1. Климатические признаки зон |
||||
|
1. Средняя многолетняя температура (январь), °С |
(-15)-(-20) |
(-10)-(-14) |
0-(-10) |
0-(+15) |
|
2. Средняя многолетняя высшая температура (июль), °С |
(+16)-(+18) |
(+18)-(+22) |
(+22)-(+24) |
(+24)-(+26) |
|
3. Продолжительность замерзания вод, сут. |
170-190 |
150 |
100 |
0 |
|
2. Значение коэффициента Ксз |
||||
|
4. Вертикальные электроды длиной 3 м при глубине заложения их вершины 0,7-0,8 м |
0,61 |
0,67 |
0,77 |
0,91 |
|
5. То же, при длине электродов 5 м |
0,74 |
0,80 |
0,87 |
0,91 |
|
6. То же, для горизонтальных электродов длиной 10 м при глубине заложения 0,7-0,8 м |
0,18 |
0,28 |
0,4 |
0,67 |
* Сезонный коэффициент определяет снижение сопротивления по сравнению с максимальным сопротивлением в сезон промерзания или высыхания.
ПРИЛОЖЕНИЕ 4
Рекомендуемое
РАСЧЕТ СОПРОТИВЛЕНИЯ КОНТАКТОВ И КОНТАКТНЫХ СОЕДИНЕНИЙ
Значения переходных сопротивлений контактных соединений кабелей, разъемных контактов коммутационных аппаратов и шинопроводов в миллиомах приведены соответственно в табл. 17-19.
Таблица 17
Сопротивления контактных соединений кабелей
|
16 |
25 |
35 |
50 |
70 |
95 |
120 |
150 |
240 |
|
|
Сопротивление, мОм |
0,085 |
0,064 |
0,056 |
0,043 |
0,029 |
0,027 |
0,024 |
0,021 |
0,012 |
Таблица 18
Сопротивления контактных соединений шинопроводов
|
Номинальный ток, А |
250 |
400 |
630 |
1600 |
2500 |
4000 |
|
Серия шинопроводов |
ШРА-73 |
ШРА-73 |
ШРА-73 |
ШМА-73 |
ШМА-68Н |
ШМА-68Н |
|
Сопротивление контактного соединения, мОм |
0,009 |
0,006 |
0,004 |
0,003 |
0,002 |
0,001 |
Таблица 19
Приближенные значения сопротивлений разъемных контактов коммутационных аппаратов напряжением до 1 кВ
|
Активное сопротивление, мОм, разъемных соединений |
|||
|
автоматического выключателя |
рубильника |
разъединителя |
|
|
50 |
1,30 |
- |
- |
|
70 |
1,00 |
- |
- |
|
100 |
0,75 |
0,50 |
- |
|
150 |
0,65 |
- |
- |
|
200 |
0,60 |
0,40 |
- |
|
400 |
0,40 |
0,20 |
0,20 |
|
600 |
0,25 |
0,15 |
0,15 |
|
1000 |
0,12 |
0,08 |
0,08 |
|
3000 |
- |
- |
- |
ПРИЛОЖЕНИЕ 5
Справочное
ПАРАМЕТРЫ ИЗМЕРИТЕЛЬНЫХ ТРАНСФОРМАТОРОВ ТОКА
При отсутствии данных изготовителя об индуктивных (xТА) и активных (rТА) сопротивлениях измерительных трансформаторов тока допускается использовать значения, приведенные в табл. 20.
Таблица 20
Сопротивления первичных обмоток многовитковых трансформаторов тока
|
Сопротивление первичной обмотки многовиткового трансформатора, мОм, класса точности |
||||
|
1 |
3 |
|||
|
xТА |
rТА |
xТА |
rТА |
|
|
20/5 |
67 |
42 |
17 |
19 |
|
30/5 |
30 |
20 |
8 |
8,2 |
|
40/5 |
17 |
11 |
4,2 |
4,8 |
|
50/5 |
11 |
7 |
2,8 |
3 |
|
75/5 |
4,8 |
3 |
1,2 |
1,3 |
|
100/5 |
2,7 |
1,7 |
0,7 |
0,75 |
|
150/5 |
1,2 |
0,75 |
0,3 |
0,33 |
|
200/5 |
0,67 |
0,42 |
0,17 |
0,19 |
|
300/5 |
0,3 |
0,2 |
0,08 |
0,088 |
|
400/5 |
0,17 |
0,11 |
0,04 |
0,05 |
|
500/5 |
0,07 |
0,05 |
0,02 |
0,02 |
ПРИЛОЖЕНИЕ 6
Рекомендуемое
СОПРОТИВЛЕНИЕ КАТУШЕК АВТОМАТИЧЕСКИХ ВЫКЛЮЧАТЕЛЕЙ
При отсутствии данных изготовителем об индуктивных (xkb) и активных (rkb) сопротивлениях катушек расцепителей и переходных сопротивлениях подвижных контактов автоматических выключателей допускается использовать значения этих сопротивлений, приведенные в табл. 21.
Таблица 21
Сопротивления катушек и контактов автоматических выключателей
|
Сопротивление катушки и контакта, мОм |
||
|
rkb |
xkb |
|
|
50 |
7 |
4,5 |
|
70 |
3,5 |
2 |
|
100 |
2,15 |
1,2 |
|
140 |
1,3 |
0,7 |
|
200 |
1,1 |
0,5 |
|
400 |
0,65 |
0,17 |
|
600 |
0,41 |
0,13 |
|
1000 |
0,25 |
0,1 |
|
1600 |
0,14 |
0,08 |
|
2500 |
0,13 |
0,07 |
|
4000 |
0,1 |
0,05 |
Примечание. В таблице указаны суммарные сопротивления катушек и контактов автоматических выключателей (серий А 3700 «Электрон» и ВА), для которых эти сопротивления зависят от их номинального тока и не зависят от типа выключателя.
ПРИЛОЖЕНИЕ 7
Рекомендуемое
РАСЧЕТ ПАРАМЕТРОВ АСИНХРОННЫХ ЭЛЕКТРОДВИГАТЕЛЕЙ
При расчете периодической составляющей тока КЗ, обусловленного асинхронными электродвигателями напряжением до 1 кВ, необходимо учитывать не только их индуктивные, но и активные сопротивления.
Суммарное активное сопротивление, характеризующее асинхронный электродвигатель в начальный момент КЗ (rАД) в миллиомах рассчитывают по формуле
(35)
где r1 - активное сопротивление статора, мОм;
- активное сопротивление ротора, приведенное
к статору, при этом
в миллиомах
рассчитывают по формуле
(36)
где
- кратность пускового
момента электродвигателя по отношению к его номинальному моменту;
Рном - номинальная мощность электродвигателя, кВт;
Рмх - механические потери в электродвигателе (включая добавочные потери), кВт;
- кратность пускового тока
электродвигателя по отношению к его номинальному току;
Iном - номинальный ток электродвигателя, А;
sном - номинальное скольжение, отн. ед.
Активное сопротивление статора электродвигателя (r1) в миллиомах, если оно не задано изготовителем, рассчитывают по формуле
(37)
где sном - номинальное скольжение асинхронного электродвигателя, %.
Сверхпереходное индуктивное
сопротивление асинхронного электродвигателя (
) в миллиомах рассчитывают по формуле
(38)
где Uф.ном - номинальное фазное напряжение электродвигателя, В.
ПРИЛОЖЕНИЕ 8
Рекомендуемое
ПАРАМЕТРЫ КОМПЛЕКСНОЙ НАГРУЗКИ
1. В состав комплексной нагрузки могут входить асинхронные и синхронные электродвигатели, преобразователи, электротермические установки, конденсаторные батареи, лампы накаливания и газоразрядные источники света.
2. При определении начального
значения периодической составляющей тока КЗ комплексную нагрузку в схему прямой
последовательности следует вводить эквивалентной сверхпереходной ЭДС
и сопротивлением
прямой последовательности Z1НГ, а в схему обратной и
нулевой последовательностей - сопротивлениями обратной Z2НГ и нулевой Z0НГ последовательностей.
Зависимость параметров
комплексной нагрузки Z1НГ, Z2НГ, Z0НГ,
от ее состава.
Черт. 10
Зависимость параметров
комплексной нагрузки Z1НГ, Z2НГ, Z0НГ,
от ее состава.
3. Значения модулей полных
сопротивлений Z1НГ, Z2НГ, Z0НГ, а также эквивалентной
сверхпереходной ЭДС комплексной нагрузки
в относительных
единицах при отсутствии других, более полных данных, могут быть определены по кривым,
приведенным на черт. 10 и 11 в зависимости от относительного состава потребителей
узла нагрузки Pi/PS, где PS - суммарная номинальная активная
мощность нагрузки, кВт; Pi - установленная мощность i
потребителя нагрузки, кВт (
- асинхронные двигатели,
- синхронные
двигатели,
- лампы накаливания,
- электротермические
установки,
- газонаполненные
лампы,
- преобразователи).
Сопротивление прямой
(обратной, нулевой) последовательности
(
,
) в относительных единицах при номинальных условиях
допускается рассчитывать по формуле
(39)
где r1i и x1i - активная и индуктивная составляющие сопротивления прямой (обратной, нулевой) последовательности i-го потребителя, включая составляющие сопротивления элементов, связывающих потребитель с шинами узла (до 1 кВ); их значения в относительных единицах при суммарной номинальной мощности SS, кВ/А, и среднем номинальном напряжении той ступени напряжения сети, где она присоединена, приведены в табл. 1;
Si - полная установленная мощность i-го потребителя нагрузки, кВ×А.
ПРИЛОЖЕНИЕ 9
Рекомендуемое
УЧЕТ ВЛИЯНИЯ АКТИВНОГО СОПРОТИВЛЕНИЯ ДУГИ НА ТОК КЗ
1. Учет электрической дуги в месте КЗ рекомендуется производить введением в расчетную схему активного сопротивления дуги rд.
2. Переходное активное сопротивление дуги в месте КЗ (rд) в миллиомах зависит в основном от тока КЗ и длины дуги и рассчитывается по формуле
где Iпод - начальное действующее значение периодической составляющей тока в месте КЗ, кА, определяемое с учетом сопротивления дуги;
lд - длина дуги, см, которая может быть принята равной:
lд = 4а при а < 5 мм;
lд = 20,4
при а = (5¸50) мм;
lд = а при а > 50 мм.
где rS и xS - соответственно суммарное активное и суммарное индуктивное сопротивления цепи КЗ, мОм;
а - расстояние между фазами проводников, мм.
Для электроустановок 0,4 кВ активное сопротивление электрической дуги может быть определено по кривым, приведенным на черт. 12-22.
На черт. 12-21 представлены расчетные кривые зависимости активного сопротивления дуги rд от площади сечения (s) и длины алюминиевого кабеля (lкб), определяемой расстоянием от выводов низшего напряжения (0,4 кВ) трансформаторов различной мощности до места КЗ. Кривые построены с использованием формулы (40) при трехфазном и однофазном КЗ и при lд = 3а.
На черт. 22 представлены расчетные кривые зависимости активного сопротивления дуги от типа и длины шинопровода, подключенного к выводам 0,4 кВ трансформаторов различной мощности, определяемой расстоянием до моста КЗ. Кривые справедливы для шинопроводов серии ШМА и построены с использованием формулы (40) при условии, что lд = 2а.
При определении активного сопротивления дуги в случае КЗ в кабеле длиной lкб, подключенном к трансформатору через шинопровод длиной lш или через кабель другого сечения, результирующую длину проводника шинопровод - кабель (кабель - кабель) выражают через длину поврежденного кабеля:
(41)
где z1кб и z1ш - полные сопротивления прямой последовательности шинопровода и кабеля, мОм.
3. Влияние активного сопротивления дуги на ток КЗ можно также учитывать путем умножения расчетного тока КЗ, найденного без учета сопротивления дуги в месте КЗ, на зависящий от сопротивления цепи КЗ поправочный коэффициент Кс. Значение коэффициента Кс, полученного экспериментально при КЗ за трансформаторами мощностью 630-1000 кВ×А, можно определить по кривым черт. 23.
Сопротивление цепи КЗ (zк) определяют в зависимости от вида КЗ:
при трехфазном
;
при двухфазном
;
при однофазном ![]()
Приведенным на черт. 23 кривым Kcf(zк) соответствуют выражения
(42)
.
Зависимость rд = f(s, lкб) при трехфазном КЗ за трансформатором мощностью 630 кВ×А
Черт. 12
Зависимость rд = f(s, lкб) при трехфазном КЗ за трансформатором мощностью 750 кВ×А

Черт. 13
Зависимость rд = f(s, lкб) при трехфазном КЗ за трансформатором мощностью 1000 кВ×А

Черт. 14
Зависимость rд = f(s, lкб) при трехфазном КЗ за трансформатором мощностью 1600 кВ×А
Черт. 15
Зависимость rд = f(s, lкб) при трехфазном КЗ за трансформатором мощностью 2500 кВ×А

Черт. 16
Зависимость rд = f(s, lкб) при однофазном КЗ за трансформатором мощностью 400 кВ×А при схеме соединений
(сплошные линии) и
(пунктирные линии)

Черт. 17
Зависимость rд = f(s, lкб) при однофазном КЗ за трансформатором мощностью 630 кВ×А при схеме соединений
(сплошные линии) и
(пунктирные линии)

Черт. 18
Зависимость rд = f(s, lкб) при однофазном КЗ за трансформатором мощностью 1000 кВ×А при схеме соединений
(сплошные линии) и
(пунктирные линии)

Черт. 19
Зависимость rд = f(s, lкб) при однофазном КЗ за трансформатором мощностью 1600 кВ×А при схеме соединений
(сплошные линии) и
(пунктирные линии)

Черт. 20
Зависимость rд = f(s, lкб) при однофазном КЗ за трансформатором мощностью 2500 кВ×А
(
)
Черт. 21
Зависимость rд = f(тип, lш) при трехфазном КЗ за трансформаторами мощностью 1000, 1600 и 2500 кВ×А
Типы шинопроводов:
1 - ШМА-68-1000
2 - ШМА-73-1600
3 - ШМА-68-2500
4 - ШМА-68-4000
Черт. 22
Зависимость коэффициента Кс, найденного экспериментально, для начального момента КЗ (кривая 1) и установившегося КЗ (кривая 2) от сопротивления цепи КЗ
Черт. 23
ПРИЛОЖЕНИЕ 10
Рекомендуемое
УЧЕТ ВЛИЯНИЯ КОМПЛЕКСНОЙ НАГРУЗКИ НА ТОК КЗ
Метод учета комплексной нагрузки при расчете тока КЗ зависит от характера исходной схемы замещения комплексной нагрузки (черт. 24) и положения точки КЗ (черт. 25).
В радиальной схеме (черт. 25а) допускается не учитывать влияние статических потребителей (преобразователи, электротермические установки, электрическое освещение). Начальное значение периодической составляющей тока КЗ, ударный ток, а также периодическую составляющую тока КЗ в произвольный момент от асинхронных и синхронных электродвигателей следует рассчитывать в соответствии с требованиями разд. 3, 5, 7.
Состав узла комплексной нагрузки
АД - асинхронные двигатели; СД - синхронные двигатели; ЛН - лампы накаливания; ЛГ - лампы газоразрядные; П - преобразователи; ЭУ - электротермические установки; К - конденсаторные батареи; KЛ - кабельная линия; АГ - автономный источник электроэнергии; К1, К2, КЗ - точка КЗ; Т - трансформатор.
Черт. 24
Преобразование схемы замещения комплексной нагрузки
Черт. 25
При КЗ за общим для узла нагрузки сопротивлением (черт. 25б) начальное значение периодической составляющей тока трехфазного КЗ (поНГ) в килоамперах следует определять с учетом влияния двигательной и статической нагрузок, используя формулу
(43)
где
и
- эквивалентная ЭДС и
сопротивление прямой последовательности узла нагрузки; их значения в
относительных единицах определяют по кривым, приведенным на черт. 10 и 11 приложения 8 в
зависимости от относительного состава потребителей;
r1S и x1S - соответственно суммарное активное и суммарное индуктивное сопротивления цепи короткого замыкания, мОм (см. п. 3.4);
SS - суммарная номинальная мощность нагрузки, кВ×А;
Ucp.НН - среднее номинальное напряжение сети, соответствующее обмотке низшего напряжения трансформаторов, В.
Значения ударного тока и периодической составляющей тока КЗ в произвольный момент времени от электродвигателей следует определять в соответствии с требованиями разд. 5 и 7.
При коротком замыкании за общим для нагрузки и системы сопротивлением (черт. 25в) и близких значениях отношения х/r ветвей расчетной схемы начальное значение периодической составляющей тока КЗ (Iпок) допускается рассчитывать по формуле
(44)
где
- ЭДС узла нагрузки;
ni - коэффициент трансформации трансформатора;
z1НГ, zc, zк - модули сопротивлений ветвей исходной схемы замещения (черт. 25 в), причем

![]()
рассчитывается как указано в п. 3.2;
![]()
r1Sк и x1Sк - соответственно суммарное активное и суммарное индуктивное сопротивления цепи КЗ.
Ударный ток следует определять в соответствии с требованиями разд. 5.
ПРИЛОЖЕНИЕ 11
Рекомендуемое
ПРИМЕРЫ РАСЧЕТА ТОКОВ КЗ
Пример 1. Для схемы, приведенной на черт. 26 определить токи при трех-, двух- и однофазном КЗ в точке К1. Для трехфазного КЗ определить максимальные и минимальные значения тока КЗ.
1.1. Исходные данные
Система С
Sк = 200 МВ×А; Ucp.BH = 6,0 кВ.
Трансформатор Т: ТС = 1000/6
Sт.ном = 1000 кВ×А; UBH = 6,3 кВ;
UНH = 0,4 кВ; Рк ном = 11,2 кВ;
uк = 5,5 %.
Расчетная схема к примеру 1 и ее преобразование
Черт. 26
Автоматический выключатель «Электрон»
QF : rкв = 0,14 мОм; хкв = 0,08 мОм.
Шинопровод ШМА-4-1600Ш:
rш = 0,030 мОм/м; хш = 0,014 мОм/м;
rнп = 0,037 мОм/м; хнп = 0,042 мОм/м; lш = 10 м.
Болтовые контактные соединения: rк = 0,003 мОм; n = 4.
1.2. Расчет параметров схемы замещения
1.2.1. Параметры схемы замещения прямой последовательности
Сопротивление системы (хс), рассчитанное по формуле 1, составит:
![]()
Активное и индуктивное сопротивления трансформаторов (rт) и (xт), рассчитаны по формулам 3 и 4, составят:
![]()

Активное и индуктивное сопротивления шинопровода:
rш = 0,030×10 = 0,30 мОм; xш = 0,014×10 = 0,14 мОм.
Активное сопротивление болтовых контактных соединений:
rк = 0,003×4 = 0,012 мОм.
Активное сопротивление дуги определяют, как указано в приложении 9, черт. 22: rд = 5,6 мОм.
1.2.2. Параметры схемы замещения нулевой последовательности.
rот = 19,1 мОм; хот = 60,6 мОм;
rнп = 0,037×10 = 0,37 мОм; хнп = 0,042×10 = 0,42 мОм.
1.3. Расчет токов трехфазного КЗ
![]()
![]()
![]()
![]()
![]()
![]()
![]()
где Куд определяют по кривой черт. 2.
![]()
![]()
1.4. Расчет токов однофазного КЗ
![]()
![]()
![]()
![]()

Ток однофазного КЗ с учетом активного сопротивления дуги

1.5. Расчет токов двухфазного КЗ
![]()
Ток двухфазного КЗ с учетом активного сопротивления дуги:
![]()
Результаты расчета токов КЗ сведены в табл. 22.
Таблица 22
Результаты расчета токов КЗ к примеру 1
|
Вид КЗ |
Максимальное значение тока КЗ, кА |
Минимальное значение тока КЗ, кА |
|||||
|
Iпо |
iао |
iуд |
Iпо |
iао |
iуд |
||
|
К1 |
К(3) |
23,33 |
32,9 |
47,84 |
18,6 |
26,23 |
28,32 |
|
К1 |
К(1) |
8,13 |
- |
- |
7,46 |
- |
- |
|
К1 |
К(2) |
20,21 |
- |
- |
18,39 |
- |
- |
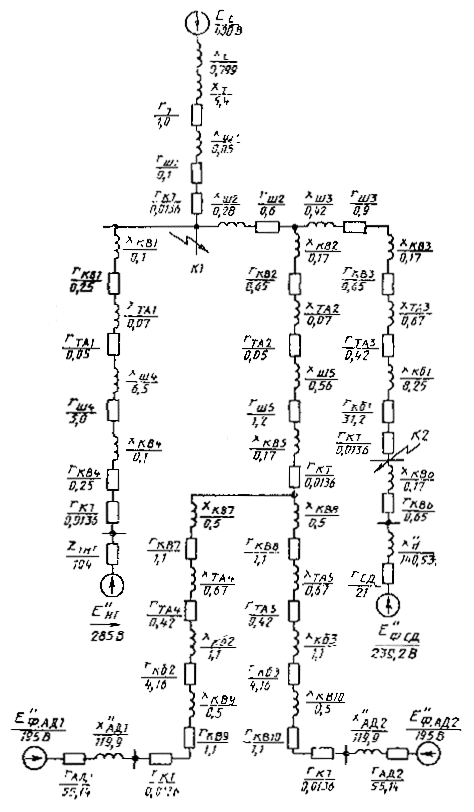
Пример. 2. Для схемы, приведенной на черт. 27, определить максимальные и минимальные значения токов при трехфазном КЗ в точках К1 и К2.
2.1. Исходные данные
Система С Ucp.BH = 10,5 кВ; Iоткл.ном = 11 кА.
Трансформатор Т. ТС = 1600/10,0
Sт.ном = 1600 кВ×А, UBH = 10,5 кВ;
UНH = 0,4 кВ, Рк.ном = 16 кВт, uк = 5,5 %
Шинопроводы
Ш1 : ШМА4-3200 : Iном = 3200 А, r1ш = 0,01 мОм/м;
х1ш = 0,005 мОм/м, l1 = 10 м.
Ш2, Ш3 : ШМА4-1600 : Iном = 1600 А, r1ш = 0,03 мОм/м;
х1ш = 0,014 мОм/м, l2 = 20 м, l3 = 30 м.
Ш4, Ш5 : ШРА-73У3 : Iном = 600 А, r1ш = 0,1 мОм/м;
х1ш = 0,13 мОм/м, l4 = 50 м, l5 = 40 м.
Кабельные линии
КЛ1, КЛ2, КЛ3 : ААШЬ = 3´185 : r1кб = 0,208 мОм/м; х1кб = 0,055 мОм/м;
l1 = 150 м, l2 = l3 = 20 м.
Измерительные трансформаторы тока
ТА1, ТА2 : Iном = 500 А, rТА1 = rТА2 = 0,05 мОм;
хТА1 = хТА2 = 0,07 мОм;
ТА3, ТА4, ТА5 : Iном = 200 А, rТА3 = rТА4 = rТА5 = 0,42 мОм;
хТА3 = хТА4 = хТА5 = 0,67 мОм.
Активное сопротивление болтовых контактных соединений:
rк = 0,03 мОм, n = 4.
Автоматические выключатели типа «Электрон»
QF1, QF4. Iном = 1000 А, rкв1 = r кв4 = 0,25 мОм;
xкв1 = х кв4 = 0,1 мОм;
QF2, QF3, QF5, QF6 :
Iном = 400 А, rкв2 = rкв3 = rкв5 = rкв6 = 0,65 мОм,
xкв2 = х кв3 = xкв5 = х кв6 = 0,17 мОм,
QF7, QF8, QF9, QF10 : Iном = 200 А;
rкв7 = rкв8 = rкв9 = rкв10 = 1,1 мОм;
xкв7 = х кв8 = xкв9 = rкв10 = 0,5 мОм.
Синхронный двигатель СД.
СД-12-24-12А : Р = 125 кВт; Uном = 380 В;
![]()
![]()
Расчетная схема к примеру 2
Черт. 27
Асинхронные двигатели АД1 и АД2.
А03-315М-6У3 : Р = 132 кВт, Iпуск/Iном = 7,0;
Uном = 380 В, Iном = 238,6 A, Mmax/Mном = bном = 2,6;
Mпуск/Mном = 1,6; Mmin/Mном = 0,8; cos jном = 0,9;
nс = 1000 об/мин; h = 93,5 %; sном = 1,7 %.
Схема замещения к примеру 2

Черт. 28
Комплексная нагрузка КН
Суммарная активная мощность составляет PS = 350 кВт, cos j = 0,8. В состав нагрузки входят асинхронные двигатели (АД), лампы накаливания (ЛН), преобразователи (П) в следующем соотношении: РАД =175 кВт, РЛН = 35 кВт, РП = 140 кВт.
2.2. Расчет параметров схемы замещения (черт. 23)
2.2.1 Параметры схемы замещения прямой последовательности
Сопротивление системы (хс), рассчитанное по формуле (2) настоящего стандарта, составит:
![]()
Активное (rт) и индуктивное (xt) сопротивления трансформаторов, рассчитанное по формулам (3), (4) настоящего стандарта, составят:
![]()

Активное и индуктивное сопротивления шинопроводов.
Ш1 : rш1 = 0,01×10 = 0,1 мОм; хш1 = 0,005×10 = 0,05 мОм;
Ш2 : rш2 = 0,03×20 = 0,6 мОм; хш2 = 0,014×20 = 0,28 мОм;
Ш3 : rш3 = 0,03×30 = 0,9 мОм; хш3 = 0,014×30 = 0,42 мОм;
Ш4 : rш4 = 0,1×50 = 5,0 мОм; хш4 = 0,13×50 = 6,5 мОм;
Ш5 : rш5 = 0,1×40 = 4,0 мОм; хш5 = 0,13×40 = 5,2 мОм;
Активное и индуктивное сопротивления кабельных линий:
КЛ1 : r1кб1 = 0,208×150 = 31,2 мОм; х1кб1 = 0,055×150 = 8,25 мОм;
КЛ2, КЛ3 : r1кб2 = r1кб3 = 0,208×20 = 4,16 мОм;
х1кб2 = х1кб2 = 0,055×20 = 1,1 мОм.
Расчет параметров АД1 и АД2.
Принимая Рмх
= 0,02×Рном; r1 = sном
= 0,017
, получаем:
![]()
![]()

![]()
![]()
![]()
![]()
Расчет параметров СД:
![]()
![]()
![]()
![]()
Расчет параметров комплексной нагрузки НГ
Параметры комплексной нагрузки определяют по кривым черт. 11а приложения 8, при этом
![]()
или
в именованных единицах:
![]()
2.3. Расчет токов трехфазного КЗ
2.3.1. Ток трехфазного КЗ в расчетной точке К1 без учета влияния электродвигателей и комплексной нагрузки
![]()
![]()
![]()
![]()
![]()
![]()
![]()
![]()
2.3.2. Необходимость учета влияния электродвигателей и комплексной нагрузки на ток при металлическом КЗ в точке К1, определенная в соответствии с п. 1.4 настоящего стандарта, показывает, что
больше, чем
, поэтому асинхронные двигатели следует учитывать.
меньше, чем 0,01×36380 = 363,8 А, поэтому синхронный двигатель не следует учитывать.
больше, чем 0,01×36380=363,8 А,
поэтому влияние комплексной нагрузки следует учитывать.
Таким образом, при расчете суммарного тока КЗ в точке К1 следует учитывать влияние асинхронных двигателей и комплексной нагрузки. Такой же вывод следует и при условии учета электрической дуги.
Расчет составляющей тока КЗ в точке К1 от комплексной нагрузки.
![]()
![]()
![]()

![]()

![]()
Расчет составляющей тока КЗ в точке К1 от асинхронных двигателей:
![]()
![]()
![]()
![]()
![]()
![]()
![]()

![]()
![]()
2.3.3. Ток трехфазного КЗ в расчетной точке К2 без учета влияния электродвигателей и комплексной нагрузки
![]()
![]()
![]()
![]()
![]()
![]()
![]()
При определении минимального значения тока следует учесть влияние электрической дуги и увеличение активного сопротивления кабеля вследствие нагревания его током КЗ:
![]()
где rд - сопротивление дуги, определяемое в соответствии с черт. 15 приложения 9, при этом в соответствии с (42) lкб1S = 158 м;
СJ - коэффициент, определяемый для tоткл = 0,6 с в соответствии с черт. 7 приложения 2.
![]()
![]()
![]()
![]()
Таблица 23
Результаты расчета токов КЗ к примеру 2
|
Точка КЗ |
Вид КЗ |
Составляющие тока КЗ по ветвям |
Максимальное значение тока КЗ, кА |
Минимальное значение тока КЗ, кА |
||||
|
Iпо |
iао |
iуд |
Iпо |
iао |
iуд |
|||
|
К1 |
К(3) |
Т |
36,38 |
54,45 |
79,75 |
28,6 |
40,45 |
44,9 |
|
К1 |
К(3) |
НГ |
1,46 |
2,06 |
2,06 |
1,42 |
2,0 |
2,0 |
|
К1 |
К(3) |
АД |
2,21 |
3,12 |
3,84 |
2,16 |
3,05 |
3,05 |
|
К1 |
К(3) |
K1 |
40,24 |
59,9 |
85,65 |
32,37 |
45,76 |
50,68 |
|
К2 |
К(3) |
Т |
6,02 |
8,5 |
8,5 |
4,19 |
5,93 |
5,93 |
ИНФОРМАЦИОННЫЕ ДАННЫЕ
ССЫЛОЧНЫЕ НОРМАТИВНО-ТЕХНИЧЕСКИЕ ДОКУМЕНТЫ
|
Обозначение НТД, на который дана ссылка |
Номер пункта |
|
ГОСТ 26522-85 |
СОДЕРЖАНИЕ
Хотите оперативно узнавать о новых публикациях нормативных документов на портале? Подпишитесь на рассылку новостей!























