ГОСТ 25809-96 Смесители и краны водоразборные. Типы и основные размеры
ГОСТ 25809-96
Группа Ж21
МЕЖГОСУДАРСТВЕННЫЙ СТАНДАРТ
СМЕСИТЕЛИ И КРАНЫ ВОДОРАЗБОРНЫЕ
Типы и основные размеры
Water supply mixing valves and taps.
Types and principal dimensions
ОКП 49 5110
Дата введения на территории
Российской Федерации 1998-01-01
Предисловие
1 РАЗРАБОТАН Научно-исследовательским институтом санитарной техники (НИИсантехники) Российской Федерации
ВНЕСЕН Минстроем России
2 ПРИНЯТ Межгосударственной Научно-технической Комиссией по стандартизации, техническому нормированию и сертификации в строительстве (МНТКС) 15 мая 1996 г.
За принятие проголосовали
|
|
|
|
Наименование государства
|
Наименование органа государственного управления строительством
|
|
|
|
|
|
|
|
|
|
|
|
|
|
|
|
|
|
|
|
|
3 ВВЕДЕН В ДЕЙСТВИЕ Постановлением Минстроя России от 25 декабря 1997 г. № 18-73 непосредственно в качестве государственного стандарта Российской Федерации с 1 января 1998 г.
4 ВЗАМЕН ГОСТ 25809-83
1 Область применения
Настоящий стандарт распространяется на водоразборные смесители и краны для умывальников, рукомойников, моек, раковин, ванн, душа, бидэ, предназначенные для подачи и смешения холодной и горячей (температурой до 75°С) воды, поступающей из централизованных или местных систем холодного и горячего водоснабжения при рабочем давлении от 0,05 до 0,63 МПа или от 0,05 до 1,0 МПа.
Обязательные требования изложены в пунктах 3.2, 3.4 - 3.16.
2 Нормативные ссылки
В настоящем стандарте использованы ссылки на следующие стандарты:
ГОСТ 8870-79 Колонки водогрейные для ванн. Технические условия
ГОСТ 19681-94 Арматура санитарно-техническая водоразборная. Общие технические условия
3 Типы и основные размеры
3.1 Обозначения, определяющие тип смесителя или крана: См - смеситель, Кр - кран, Ум - для умывальника, М - для мойки, В - для ванны, ВУ - общий для ванны и умывальника, Дш - для душа, Бд - для бидэ, К - для водогрейной колонки, Д - двухрукояточный, О - однорукояточный, Л - локтевой, Р - с подводками в раздельных отверстиях, Ц - центральный (с подводками, размещенными в одном отверстии), Б - набортный, Н - настенный, 3 - застенный, Шл - с душевой сеткой на гибком шланге, Шт - с душевой сеткой на штанге, Тр - с душевой сеткой на стационарной трубке, Щб - со щеткой с набортным креплением, Щн - со щеткой с настенным креплением, А - излив с аэратором, Ив - излив выдвижной, Ст - излив со струевыпрямителем, р - излив с развальцованным носиком.
3.2 Условное обозначение типа смесителя или крана в технической документации или при заказе должно состоять из букв: См - для смесителя или Кр - для крана, типа смесителя или крана, указанного последовательным набором буквенных обозначений, приведенных в 3.1, и обозначения настоящего стандарта.
В условное обозначение настенного смесителя перед обозначением настоящего стандарта добавляют цифры 10 или 15 в зависимости от межцентрового расстояния штуцеров 100 или 150 мм.
Пример условного обозначения типа смесителя для умывальника, однорукояточного, центрального, набортного, с аэратором:
См-УмОЦБА ГОСТ 25809-96
То же, для мойки двухрукояточного, центрального, набортного с аэратором:
См-МДЦБА ГОСТ 25809-96
То же, для ванны, однорукояточного, раздельного, настенного, с душевой сеткой на гибком шланге и штанге, со струевыпрямителем и межцентровым расстоянием 150 мм:
См-ВОРНШлШтСт-15 ГОСТ 25809-96
То же, общего для ванны и умывальника, двухрукояточного, раздельного, настенного, с душевой сеткой на гибком шланге, с аэратором и межцентровым расстоянием 150 мм:
См-ВУДРНШлА-15 ГОСТ 25809-96
То же, для душа, двухрукояточного, раздельного, настенного, с душевой сеткой на стационарной трубке и межцентровым расстоянием 150 мм:
См-ДшДРНТр-15 ГОСТ 25809-96
3.3 Форма и конструкция корпусов смесителей и кранов, переключателей воды, изливов, аэраторов, душевых трубок, шлангов, душевых сеток, щеток, маховичков вентильных головок или рукояток, деталей присоединения смесителей и кранов к сетям холодной и горячей воды, крепления душевых сеток к стене или на корпусе смесителя настоящим стандартом не регламентируются, а определяются рабочими чертежами.
3.4 Настенные смесители изготовляют с расстоянием между центрами штуцеров для присоединения патрубков подвода воды, равным 100 и 150 мм, в соответствии с заказами потребителей.
3.5 Изливы смесителей и кранов изготавливают с аэратором, струевыпрямителем или развальцованным носиком.
3.6 Основные и присоединительные размеры смесителей и кранов и предельные отклонения от размеров должны соответствовать указанным на рисунках 1-29 и в таблицах 1-11.
3.7 Центральные смесители для умывальников, моек изготовляют с литым тройником или с гибкими трубками, предназначенными для присоединения смесителя к сетям холодной и горячей воды, основные размеры которых указаны на рисунке 22.
3.8 Основные размеры седла клапана и резьбы седла для присоединения вентильных головок должны соответствовать указанным на рисунке 24.
3.9 Размер резьбы накидных гаек и штуцеров для присоединения душевых трубок и шлангов должен быть G =1/2-В, а поворотных изливов - G 3/4-В.
3.10 Размер резьбы узла присоединения душевой сетки к душевой трубке и трубке рукоятки гибкого шланга должен быть G 1/2-B.
3.11 Размеры резьбы узла присоединения аэратора к изливам должны соответствовать указанным на рисунке 25.
3.12 Смесители и краны центральные набортные должны иметь размер корпуса, обеспечивающий их монтаж на отверстии мойки, раковины, умывальника или рукомойника диаметром 34 мм.
3.13 Гибкие подводки центральных и набортных смесителей (рисунок 22) должны обеспечивать удобство монтажа (гибку без применения дополнительного инструмента).
3.14 Патрубки для присоединения настенных смесителей к сетям холодной и горячей воды должны иметь эксцентриситет не менее 3 мм и внутренние реборды или наружные лыски для завинчивания их в муфту или угольник.
3.15 Конструкция смесителей к водогрейным колонкам должна исключать возможность повышения давления в водяном баке колонки выше 0,1 МПа.
3.16 Предприятия-изготовители должны поставлять смесители и краны комплектно. В комплект входит смеситель или кран со всеми деталями (облицовочные шайбы, патрубки или узлы присоединения к сетям холодной или горячей воды, детали крепления, прокладки и т.д.), предусмотренными технической документацией.
3.17 Технические требования, правила приемки, методы испытаний, маркировка, упаковка, транспортирование, хранение, указания по монтажу и эксплуатации смесителей и кранов и гарантии изготовителя - по ГОСТ 19681.
3.18 Время действия порционных полуавтоматических смесителей и кранов не должно превышать 60 с.
Таблица
1
|
|
|
|
|
|
|
Область применения
|
|
мм, не менее
|
|
|
|
110
|
70
|
В смесителях для умывальников
|
|
180
|
130
|
В смесителях для моек с одной чашей
|
|
240
|
130
|
То же, с двумя чашами
|
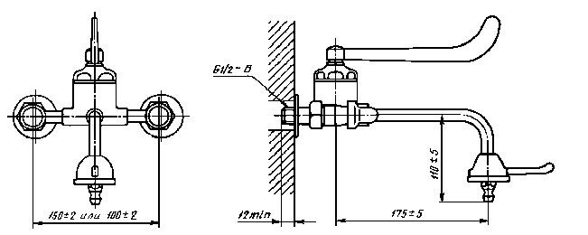
Рисунок 1 - Смеситель для умывальника и мойки двухрукояточный центральный набортный,
излив с аэратором. Типы См-УмДЦБА, См-МДЦБА

Таблица 2
|
|
|
|
|
|
|
Область применения
|
|
мм, не менее
|
|
|
|
110
|
70
|
В смесителях для умывальников
|
|
180
|
130
|
В смесителях для моек с одной чашей
|
|
240
|
130
|
То же, с двумя чашами
|
Рисунок 2 - Смеситель для умывальника и мойки двухрукояточный центральный
набортный, излив с аэратором. Типы См-УмДЦБА, См-МДЦБА

Рисунок 3 - Смеситель для умывальника однорукояточный локтевой
с подводками в раздельных отверстиях настенный. Тип См-УмОЛРН

Рисунок 4 - Смеситель для умывальника двухрукояточный с подводками
в раздельных отверстиях застенный, излив с аэратором. Тип См-УмДРЗА

Рисунок 5 - Смеситель для умывальника двухрукояточный с подводками
в раздельных отверстиях настенный, излив с аэратором. Тип См-УмДРНА

Таблица 3
|
|
|
|
|
|
|
Область применения
|
|
мм, не менее
|
|
|
|
110
|
70
|
В смесителях для умывальников
|
|
180
|
130
|
В смесителях для моек с одной чашей
|
|
240
|
130
|
То же, с двумя чашами
|
Рисунок 6 - Смеситель для умывальника и мойки двухрукояточный с подводками
в раздельных отверстиях набортный, излив с аэратором. Типы См-УмДРБА, См-МДРБА

Таблица 4
|
|
|
|
|
|
|
Область применения
|
|
мм, не менее
|
|
|
|
110
|
70
|
В смесителях для умывальников
|
|
180
|
130
|
В смесителях для моек с одной чашей
|
|
240
|
130
|
То же, с двумя чашами
|
Рисунок 7 - Смеситель для умывальника и мойки однорукояточный центральный
набортный, излив с аэратором. Типы См-УмОЦБА, См-МОЦБА

Таблица 5
|
|
|
|
|
Область применения
|
|
180
|
В смесителях для моек с одной чашей
|
|
240
|
То же, с двумя чашами
|
Рисунок 8 - Смеситель для мойки двухрукояточный центральный набортный
со щеткой с набортным креплением, излив с аэратором. Тип См-МДЦБЩбА

Таблица 6
|
|
|
|
|
Область применения
|
|
180
|
В смесителях для моек с одной чашей
|
|
240
|
То же, с двумя чашами
|
Рисунок 9 - Смеситель для мойки двухрукояточный центральный набортный
со щеткой с настенным креплением, излив с аэратором. Тип См-МДЦБЩнА

Таблица 7
|
|
|
|
|
Область применения
|
|
110
|
В смесителях для умывальников
|
|
180
|
В смесителях для моек с одной чашей
|
|
240
|
То же, с двумя чашами
|
Рисунок 10 - Смеситель для умывальника и мойки двухрукояточный
с подводками в раздельных отверстиях настенный, излив с аэратором. Типы См-УмДРНА, См-МДРНА

Таблица 8
|
|
|
|
|
Область применения
|
|
180
|
В смесителях для моек с одной чашей
|
|
240
|
То же, с двумя чашами
|
Рисунок 11 - Смеситель для мойки двухрукояточный с подводками в раздельных отверстиях
настенный со щеткой с настенным креплением, излив с развальцованным носиком. Тип См-МДРНЩнр
____________
*Справочный размер.
Рисунок 12 - Смеситель общий для ванны и умывальника двухрукояточный с подводками в раздельных отверстиях настенный с душевой сеткой на гибком шланге, излив с развальцованным носиком. Тип См-ВУДРНШлр

Рисунок 13 - Смеситель общий для ванны и умывальника двухрукояточный
с подводками в раздельных отверстиях настенный с душевой сеткой на штанге,
излив с развальцованным носиком. Тип См-ВУДРНШтр

_____________
*Справочный размер.
Рисунок 14 - Смеситель для ванны двухрукояточный с подводками в раздельных отверстиях
настенный с душевой сеткой на гибком шланге. Тип См-ВДРНШл

Рисунок 15 - Смеситель для ванны однорукояточный с подводками в раздельных
отверстиях настенный с душевой сеткой на гибком шланге, излив с аэратором. Тип См-ВОРНШлА

Рисунок 16 - Смеситель для ванны двухрукояточный с подводками в раздельных
отверстиях застенный. Тип См-ВДРЗ

_________
*Справочный размер.
Рисунок 17 - Смеситель для душа двухрукояточный с подводками в раздельных
отверстиях застенный с душевой сеткой на штанге. Тип См-ДшДРЗШт

______________
*Справочный размер.
Рисунок 18 - Смеситель для душа двухрукояточный с подводками в раздельных
отверстиях настенный с душевой сеткой на гибком шланге. Тип См-ДшДРНШл

_______
*Справочный размер.
Рисунок 19 - Смеситель для душа двухрукояточный с подводками
в раздельных отверстиях настенный с душевой сеткой на стационарной трубке. Тип См-ДшДРНТр
__________
*Справочный размер.
Таблица 9
В миллиметрах
|
|
|
|
|
А ±10
|
В ±20
|
Область применения
|
|
1112
|
530
|
В смесителях к колонкам типов КВЭ-I и КВЦ-I ГОСТ 8870
|
|
800
|
652
|
То же, типа КВЭ-II
|
=
(160±5) мм - в смесителях к колонке только
для ванн;
=
(310±6) мм - в смесителях к колонке, общих
для ванны и умывальника
Рисунок 20 - Смеситель для водогрейной колонки двухрукояточный настенный
с душевой сеткой на стационарной трубке. Тип См-КДНТр

Рисунок 21 - Смеситель для бидэ двухрукояточный центральный
набортный. Тип См-БдДЦБ

Рисунок 22 - Основные размеры гибких медных подводок для присоединения
центральных набортных смесителей к сетям холодной и горячей воды

Таблица 10
|
|
|
|
Условный
проход арматуры,
|
Размер
резьбы
|
|
15
|
М18х1-6Н, G1/2-B
|
|
20
|
G1/2-B
|
Рисунок 23 - Присоединительные размеры корпусов вентильных головок водоразборной
и смесительной санитарно-технической арматуры
Для вентильных головок с вращательным
и возвратно-поступательным движением клапана

Для вентильных головок с керамическими
запорными элементами

Рисунок 24 - Основные размеры седла клапана и резьб для присоединения вентильных головок
С внешней резьбой

С внутренней резьбой

Рисунок 25 - Размеры резьбы узла присоединения аэратора к изливам

Рисунок 26 - Размеры конца шпинделя вентильных головок
водоразборной санитарно-технической арматуры

Таблица 11
Размеры в миллиметрах
|
|
|
|
|
|
|
Тип крана
|
Резьба трубная
|
Строительная длина
|
Диаметр уплотнительного бурта
|
Длина цапфы
|
|
КрН15
|
G1/2-B
|
90
|
30
|
13
|
|
КрН20
|
03/4-В
|
105
|
35
|
14
|
Рисунок 27 -Кран водоразборный настенный. Тип КрН

___________
*Справочные размеры
Рисунок 28 - Кран водоразборный набортный. Типы КрЦБр, КрЦБА

___________
*Справочные размеры
Рисунок 29 - Кран туалетный настенный. Тип КрНр
Текст документа сверен по:
официальное издание
МНТКС - М.: ИПК Издательство
стандартов, 1998
Хотите оперативно узнавать о новых публикациях нормативных документов на портале? Подпишитесь на рассылку новостей!