ГОСТ 25722-83 Конвейеры ленточные. Наименование частей

ГОСУДАРСТВЕННЫЙ СТАНДАРТ СОЮЗА ССР
КОНВЕЙЕРЫ ЛЕНТОЧНЫЕ
НАИМЕНОВАНИЯ ЧАСТЕЙ
ГОСТ 25722-83
(СТ СЭВ 1331-78)
ГОСУДАРСТВЕННЫЙ КОМИТЕТ СССР ПО СТАНДАРТАМ
Москва
ГОСУДАРСТВЕННЫЙ СТАНДАРТ СОЮЗА ССР
|
КОНВЕЙЕРЫ ЛЕНТОЧНЫЕ Наименования частей Belt coveyors. Name of parts |
ГОСТ (СТ СЭВ 1331-78) |
Постановлением Государственного комитета СССР по стандартам от 14 апреля 1983 г. № 1839 срок введения установлен
с 01.01.84
1. Настоящий стандарт распространяется на стационарные, передвижные и переносные ленточные конвейеры и устанавливает наименования их частей.
Стандарт полностью соответствует СТ СЭВ 1331-78.
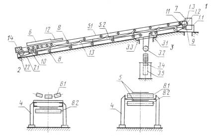
2. Наименования частей ленточных конвейеров должны соответствовать указанным на чертеже и в табл. 1, а их исполнений - на чертеже и в табл. 2.

|
Позиция |
Наименование части |
Позиция |
Наименование части |
|
1 |
Привод |
5 |
Конвейерная лента |
|
1.1 |
Опорная рама привода |
5.1 |
Верхняя ветвь |
|
1.2 |
Приводной барабан |
5.2 |
Нижняя ветвь |
|
1.3 |
Приводной механизм |
6 |
Загрузочное устройство |
|
2 |
Поворотное устройство |
7 |
Разгрузочное устройство |
|
2.1 |
Опорная конструкция поворотного устройства |
8 |
Роликоопора |
|
2.2 |
Оборотный барабан |
8.1 |
Верхняя роликоопора |
|
3 |
Натяжное устройство |
8.2 |
Нижняя роликоопора |
|
3.1 |
Опорная конструкция натяжного устройства |
9 |
Очиститель внешней стороны ленты |
|
3.2 |
Натяжной барабан |
10 |
Очиститель внутренней стороны ленты |
|
3.3 |
Отклоняющий барабан |
11 |
Очиститель барабана |
|
3.4 |
Натяжной груз |
12 |
Направляющий лоток |
|
3.5 |
Ограждение натяжного груза |
13 |
Устройство для аварийного выключения привода |
|
4 |
Став (опорная конструкция средней части конвейера) |
14 |
Ограждение барабана |
|
Позиция |
Наименование части |
Исполнение |
|
1 |
Привод |
Привод с редуктором и электродвигателем; привод с мотор-барабаном |
|
3 |
Натяжное устройство |
Грузовое натяжное устройство; винтовое натяжное устройство; лебедочное натяжное устройство |
|
5 |
Конвейерная лента |
Резинотканевая конвейерная лента; резинотросовая конвейерная лента; цельнопрокатная стальная конвейерная лента; проволочная конвейерная лента |
|
6 |
Загрузочное устройство |
Стационарная воронка; загрузочная тележка (передвижная воронка); питатель |
|
7 |
Разгрузочное устройство |
Лоток; плужковый сбрасыватель; барабанный передвижной разгружатель |
|
8 |
Роликоопора |
Желобчатая роликоопора; плоская роликоопора; гирляндная роликоопора (с шарнирным креплением роликов) |
Хотите оперативно узнавать о новых публикациях нормативных документов на портале? Подпишитесь на рассылку новостей!
Все ГОСТы >> ГОСТы «Строительная техника и оборудование, грузоперевозки >>