ГОСТ 2408.4-98 Топливо твердое минеральное. Метод определения углерода и водорода сжиганием при высокой температуре
ГОСТ 2408.4-98
(ИСО 609-96)
МЕЖГОСУДАРСТВЕННЫЙ СТАНДАРТ
ТОПЛИВО ТВЕРДОЕ МИНЕРАЛЬНОЕ
МЕТОД ОПРЕДЕЛЕНИЯ УГЛЕРОДА И
ВОДОРОДА СЖИГАНИЕМ
ПРИ ВЫСОКОЙ ТЕМПЕРАТУРЕ
МЕЖГОСУДАРСТВЕННЫЙ СОВЕТ
ПО СТАНДАРТИЗАЦИИ, МЕТРОЛОГИИ И СЕРТИФИКАЦИИ
Минск
Предисловие
1 РАЗРАБОТАН Межгосударственным Техническим комитетом по стандартизации МТК 179 «Уголь и продукты его переработки»
ВНЕСЕН Госстандартом России
2 ПРИНЯТ Межгосударственным Советом по стандартизации, метрологии и сертификации (протокол № 14-98 от 12 ноября 1998 г.)
За принятие проголосовали:
|
Наименование государства |
Наименование национального органа по стандартизации |
|
Республика Беларусь |
Госстандарт Беларуси |
|
Республика Казахстан |
Госстандарт Республики Казахстан |
|
Российская Федерация |
Госстандарт России |
|
Республика Узбекистан |
Узгосстандарт |
|
Украина |
Госстандарт Украины |
3 Настоящий стандарт представляет собой полный аутентичный текст международного стандарта ИСО 609-96 «Топливо твердое минеральное. Определение углерода и водорода методом высокотемпературного сжигания» и содержит дополнительные требования, отражающие потребности экономики страны
4 Постановлением Комитета Российской Федерации по стандартизации и метрологии от 12 августа 1999 г. № 247-ст межгосударственный стандарт ГОСТ 2408.4-98 (ИСО 609-96) введен в действие непосредственно в качестве государственного стандарта Российской Федерации с 1 июля 2000 г.
5 ВВЕДЕН ВПЕРВЫЕ
СОДЕРЖАНИЕ
|
7 Подготовка пробы для анализа. 8 Приложение А Расчет коэффициентов, используемых в формулах раздела 10. 11 |
ГОСТ 2408.4-98
(ИСО 609-96)
МЕЖГОСУДАРСТВЕННЫЙ СТАНДАРТ
ТОПЛИВО ТВЕРДОЕ МИНЕРАЛЬНОЕ
Метод определения углерода и водорода сжиганием при высокой температуре
Solid mineral fuels. Determination of carbon and hydrogen. High temperature combustion method
Дата введения 2000-07-01
1 Область применения
Настоящий стандарт распространяется на антрациты, каменные и бурые угли, лигниты, торф, кокс и горючие сланцы (далее - топливо) и устанавливает метод определения углерода и водорода сжиганием при высокой температуре.
Получаемые результаты испытания включают углерод карбонатов и водород, содержащийся во влаге топлива и гидратной воде минеральных веществ угля, поэтому одновременно проводят определение массовой доли влаги и диоксида углерода карбонатов в топливе и в результат анализа вносят соответствующие поправки.
Альтернативный метод определения углерода и водорода приведен в ГОСТ 2408.1.
Дополнительные требования, отражающие потребности экономики страны, выделены курсивом.
2 Нормативные ссылки
В настоящем стандарте использованы ссылки на следующие стандарты:
ГОСТ 2408.1-95 (ИСО 625-75) Топливо твердое. Методы определения углерода и водорода
ГОСТ 5556-81 Вата медицинская гигроскопическая. Технические условия
ГОСТ 5583-78 (ИСО 2046-73) Кислород газообразный технический и медицинский. Технические условия
ГОСТ 10742-71 Угли бурые, каменные, антрацит, горючие сланцы и угольные брикеты. Методы отбора и подготовки проб для лабораторных испытаний
ГОСТ 11022-95 (ИСО 1171-81) Топливо твердое минеральное. Методы определения зольности
ГОСТ 11303-75 Торф и продукты его переработки. Метод приготовления аналитических проб
ГОСТ 11305-83 Торф. Методы определения влаги
ГОСТ 11306-83 Торф и продукты его переработки. Методы определения зольности
ГОСТ 13455-91 (ИСО 925-80) Топливо твердое минеральное. Методы определения диоксида углерода карбонатов
ГОСТ 23083-78 Кокс каменноугольный, пековый и термоантрацит. Методы отбора и подготовки проб для испытаний
ГОСТ 25336-82 Посуда и оборудование лабораторные стеклянные. Типы, основные параметры и размеры
ГОСТ 27313-95 (ИСО 1170-77) Топливо твердое минеральное. Обозначение показателей качества и формулы пересчета результатов анализа для различных состояний топлива
ГОСТ 27314-91 (ИСО 589-81) Топливо твердое минеральное. Методы определения влаги
ГОСТ 27589-91 (ИСО 687-74) Кокс каменноугольный. Метод определения влаги в аналитической пробе
3 Сущность метода
Навеску топлива сжигают в токе кислорода при температуре 1350 °С в газонепроницаемой трубке. При этом весь водород превращается в воду, а углерод - в диоксид углерода. Эти продукты поглощаются соответствующими реактивами и определяются гравиметрически. Образующиеся при сжигании хлор и оксиды серы поглощаются серебряной сеткой, свернутой в короткий рулон, который помещают в выходном конце трубки.
4 Реактивы
Внимание - Соблюдайте осторожность при обращении с реактивами, многое из которых обладают токсическим и коррозионным действием.
Все реактивы должны быть квалификации ч.д.а. Для анализа применяют дистиллированную воду.
4.1 Магния перхлорат безводный, ангидрон, частицы размером от 0,7 до 1,2 мм.
Регенерация отработанного перхлората магния невозможна из-за его взрывоопасности.
Отработанный ангидрон удаляют из трубок и из раковины струей воды.
4.3 Оксид алюминия, мелкоизмельченный (размер частиц приблизительно 0,1 мм).
4.4 Натрия тетраборат, стандартный раствор для титрования, с (Na2B4O7) = 0,025 моль/дм3. Растворяют 9,5342 г тетрабората натрия 10-водного в воде и доводят объем раствора до 1 дм3.
Раствор тщательно перемешивают.
4.5 Пероксид водорода, раствор с массовой долей 30 %.
4.6 Сетка серебряная с размером отверстий 1 мм, изготовленная из проволоки диаметром 0,3 мм.
4.7 Кислород газообразный в баллоне по ГОСТ 5583, свободный от водорода. Предпочтительно использовать кислород, полученный из жидкого воздуха, а не электролизом. Кислород, полученный электролитическим путем, перед использованием пропускают через раскаленный оксид меди для удаления следов водорода.
4.8 Раствор смешанного индикатора.
4.8.1 Раствор А. Растворяют 0,125 г натриевой соли 2-(4-диметиламинофенилазо) бензойной кислоты (метилового красного) в 100 см3 воды.
4.8.2 Раствор Б. Растворяют 0,083 г 3,7-бис(диметиламино)-фенотиазин-5 или умхлорида (метиленового голубого) в 100 см3 воды. Хранят в посуде из темного стекла.
4.8.3 Смешанный раствор. Смешивают равные объемы растворов А и Б. Хранят в посуде из темного стекла. Смешанный раствор годен не более 1 недели.
4.9 Воздух сжатый.
4.10 Стекловата или вата гигроскопическая по ГОСТ 5556, высушенная при температуре 105 °С в течение 1 ч.
5 Аппаратура
5.1 Весы аналитические с точностью взвешивания до 0,1 мг. Допускается использовать аналитические весы с точностью взвешивания до 0,2 мг.
5.2 Посуда стеклянная градуированная по ГОСТ 25336.
5.3 Две очистительные системы:
а) для поглощения паров воды и диоксида углерода из кислорода, применяемого при сжигании;
б) для аналогичной очистки воздуха, применяемого для продувки поглотительной системы до и после определения.
Каждую очистительную систему собирают из нескольких U-образных трубок типа TX-U-2-200 или TX-U-3-200 по ГОСТ 25336 или трубок Мидвэйла, наполненных следующими реагентами в установленном порядке по ходу газа:
1) перхлорат магния (4.1) для поглощения воды;
2) аскарит (4.2) для поглощения диоксида углерода;
3) перхлорат магния (4.1) для поглощения воды, образующейся при взаимодействии диоксида углерода с аскаритом.
Очистительные системы должны быть достаточно емкими, чтобы избежать их частой перезарядки при продолжительном использовании.
Примечание - Свежезаряженные сосуды Мидвэйла, уже использованные в очистительной системе, могут быть впоследствии использованы в поглотительной системе. В качестве сосудов очистительной системы применяют также склянки типов СПЖ, CUT и СН-1 или 2 по ГОСТ 25336.
5.4 Установка для сжигания.
5.4.1 Нагревательная система - трубчатая электрическая печь или печи, предназначенные для нагрева трубки для сжигания (5.4.2) до 1350 °С на участке протяженностью 125 мм. При этом профиль распределения температур по длине трубки должен быть близким к профилю, показанному на рисунке 1. Нагревательная система включает также вспомогательную печь, которая обеспечивает нужную температуру нагрева (от 600 до 800 °С) рулона из серебряной сетки.
1 - трубка для сжигания; 2 - рулон из серебряной сетки; 3 - изолирующая обмотка из асбестового шнура
Рисунок 1 - Профиль распределения температуры по длине трубки для сжигания
Для нагревательной системы можно использовать печи:
а) с намоткой из молибденовой или вольфрамовой проволоки;
б) с намоткой из платиновой или платино-родиевой проволоки;
в) нагреваемые стержнями из карбида кремния.
Примечание - Печи, нагреваемые стержнями из карбида кремния, имеют наименьшую стоимость. На практике доказана их пригодность к работе.
5.4.2 Трубка для сжигания. Трубка изготовлена из огнеупорного глиноземного фарфора, непроницаемого для газов при температуре до 1400 °С. Длина трубки от 650 до 700 мм, наружный диаметр приблизительно 28 мм, толщина стенок 3 мм. Выходной конец трубки для сжигания следует покрывать подходящим теплоизолирующим материалом из минерального волокна для предотвращения конденсации паров воды.
5.4.3 Лодочка для сжигания. Изготовлена из неглазурованного фарфора, не содержащего железа. Способна выдерживать температуру до 1350 °С. Для сжигания проб каменных углей и коксов используются лодочки длиной приблизительно 60 мм, шириной 12,5 мм, глубиной 10 мм; для сжигания бурых углей и лигнитов используются лодочки длиной приблизительно 75 мм, шириной 15 мм, глубиной 10 мм.
Примечание - Лодочки не должны образовывать раковин, терять цвет или изменять массу при выдерживании их в течение 3 ч в атмосфере кислорода при 1350 °С. Лодочки используют для 10 - 20 определений, а затем их выбрасывают из-за накопления плавленой золы. При сжигании высокозольных углей перед взятием навески на дно лодочки помещают оксид алюминия, чтобы предотвратить сплавление золы с материалом лодочки.
5.5 Поглотительная система. Предназначена для поглощения воды и диоксида углерода, выделяющихся при сжигании пробы. Для сборки поглотительной системы используются сосуды Мидвэйла (рисунок 2), обеспечивающие большую зону реакции. Расширение зоны реакции позволяет уменьшить давление в системе и, тем самым избежать опасности утечки газов сжигания через каучуковую муфту, в которой проходит стержень толкателя. Вместо сосудов Мидвэйла в поглотительной системе могут быть использованы U-образные трубки типа TX-U-2-150 или TX-U-3-150 по ГОСТ 25336. Сосуды поглотительной системы должны обеспечивать полное поглощение образующихся паров воды и диоксида углерода, но при этом масса каждого сосуда с поглотителем должна быть не более 190 г.
1 - цветная эмалевая отметка; 2 - пустотелая пробка
Рисунок 2 - Сосуд Мидвэйла
Сосуды наполняют следующими реагентами в установленном порядке по ходу газа:
1) перхлорат магния (4.1) для поглощения воды, выделяющейся при сжигании пробы;
2) аскарит (4.2) для поглощения диоксида углерода, выделяющегося при сжигании пробы;
3) перхлорат магния (4.1) для поглощения воды, образующейся при взаимодействии диоксида углерода с аскаритом.
При заполнении сосудов над и под слоем каждого поглотителя помещают стекловату или гигроскопическую вату (4.10). Это позволяет предотвратить унос частиц поглотителя быстрым потоком кислорода и растрескивание стекла поглотительных сосудов в результате воздействия тепла реакции. Типичная поглотительная система из сосудов Мидвэйла изображена на рисунке 3. Поглотительный сосуд С является контрольным, с его помощью определяется необходимость замены поглотителя в сосуде В. Вода, образующаяся в поглотительном сосуде В в результате реакции между диоксидом углерода и гидроксидом натрия, поглощается в сосуде С.
А - сосуд для поглощения воды; В и С - сосуды для поглощения диоксида углерода
1 - стекловата (или вата гигроскопическая); 2 - гидроксид натрия на инертной основе (аскарит); 3 - перхлорат магния (ангидрон)
Рисунок 3 - Поглотительная система
Входную трубку поглотительного сосуда для воды вставляют в термостойкую пробку на всю ее протяженность (конец вставляемой трубки должен совпадать с внутренним концом пробки). Все соединения между трубками осуществляют с помощью отрезков каучуковых шлангов «стекло к стеклу».
5.6 Два измерителя потока газа, способных измерять скорость потока до 300 см3/мин.
5.7 Пробка термостойкая (из акрилонитрила или хлоропрена) для соединения поглотительной системы с трубкой для сжигания.
5.8 Толкатель кварцевый или стальной для продвижения лодочки в горячую зону трубки для сжигания, изготовленный из стержня или запаянной трубки диаметром 6 мм и длиной 450 мм, с концом, расплющенным в виде диска диаметром 12 мм.
Толкатель свободно проходит через стеклянную или металлическую Т-образную соединительную трубку, один конец которой плотно вставляют в каучуковую пробку, закрывающую входной конец трубки для сжигания, а другой загерметизирован каучуковой муфтой, в которой скользит толкатель. Муфта предотвращает утечку кислорода, входящего через ствол Т-образной соединительной трубки. Для определения положения лодочки в трубке для сжигания в процессе ее продвижения пользуются длиной толкателя от его расплющенного конца (от диска).
Примечание - Во избежание утечек каучуковую муфту следует периодически заменять.
5.9 Рулон из серебряной сетки для поглощения хлора и оксидов серы. Сворачивают серебряную сетку в рулон длиной 75 мм. Диаметр рулона должен обеспечивать тесный контакт его с внутренними стенками трубки для сжигания. По центру рулона пропускают прочную серебряную проволоку, чтобы облегчить удаление рулона из трубки.
5.10 Барботер, используемый при определении положения рулона из серебряной сетки. Барботер может представлять собой толстую трубку с отверстиями, вставленную в широкогорлый сосуд или склянку Дрекселя, имеющую на конце трубки, по которой поступает газ, перфорированный диск с размером отверстий от 0,015 до 0,040 мм. Диаметр склянки должен быть таким, чтобы диск был погружен в поглотительный раствор на глубину не менее 90 мм. Пригодна склянка диаметром 35 мм и высотой 150 мм. Соединяют барботер с кварцевой приемной трубкой или трубкой для сжигания.
Во избежание утечки через каучуковую муфту на входном конце вследствие сопротивления, оказываемого перфорированным диском барботера, соединяют барботер через регулятор давления с отсасывающим насосом. Это позволяет поддерживать слабое разрежение у входного конца трубки для сжигания.
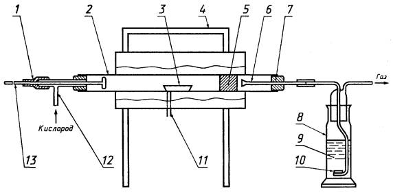
Собранная установка изображена на рисунке 4.
1 - каучуковая муфта; 2 - трубка для сжигания; 3 - лодочка для сжигания; 4 - печь; 5 - рулон из серебряной сетки; 6 - кварцевая приемная трубка; 7 - термостойкая пробка; 8 - барботер; 9 - раствор пероксида водорода; 10 - перфорированный стеклянный диск; 11 - термопара; 12 - Т-образная соединительная трубка; 13 - кварцевый или стальной толкатель
Рисунок 4 - Установка для определения углерода и водорода
5.11 Проволока из жаропрочного металла толщиной около 2,5 мм, длиной 450 мм с загнутым концом для извлечения лодочки из трубки для сжигания.
6 Подготовка аппаратуры
6.1 Подготовка трубки для сжигания
Помещают трубку в печь так, чтобы выходной конец трубки выступал на 75 мм. Оборачивают этот вступающий конец материалом из минерального волокна, чтобы предотвратить конденсацию паров воды на этом участке трубки. Во входной конец трубки для сжигания вставляют каучуковую пробку с установленными в ней Т-образной трубкой и кварцевым или стальным толкателем. К стволу стеклянной или стальной Т-образной трубки подсоединяют кислород через очистительную систему.
Примечание - В случае применения дополнительной печи выступающий конец трубки для сжигания может быть уменьшен до 40 мм.
6.2 Установка рулона из серебряной сетки
Вставляют рулон из серебряной сетки в выходной конец трубки для сжигания на глубину около 75 мм. Основная печь при рабочей температуре 1350 °С и дополнительная печь при соответствующей температуре (если она применяется) должны давать кривую распределения температур, аналогичную показанной на рисунке 1. С помощью термостойкой пробки соединяют барботер, содержащий 3 %-ный раствор пероксида водорода, с выходным концом трубки для сжигания и включают отсасывающий насос (см. рисунок 4).
Сжигают 0,5 г угля, содержащего 1 - 2 % серы (8.2), исключая подсоединение поглотительной системы. Обмывают кварцевую приемную трубку, собирая воду в коническую колбу вместимостью 250 см3. В ту же колбу переносят содержимое барботера, добавляют 2 - 3 капли смешанного индикатора и определяют количество хлора и оксидов серы, прошедших через серебряную сетку, титрованием пероксида водорода раствором тетрабората натрия до серо-стальной окраски титруемого раствора.
Продвигают рулон из серебряной сетки вглубь по 5 мм за один раз, повторяя каждый раз описанную процедуру до тех пор, пока не будет найдено такое положение сетки, при котором объем раствора тетрабората натрия, пошедший на титрование, станет не более 0,2 см3. Это означает, что 99 % оксидов серы удерживается рулоном из серебряной сетки. Строго придерживаются такого положения рулона при последующих определениях.
Отсоединяют барботер, регулятор давления и отсасывающий насос. С помощью жаропрочной проволоки извлекают использованную лодочку и помещают ее на толстую пластину из огнеупорного материала.
При продолжительном использовании рулон может уменьшаться в размерах, поэтому необходимо контролировать его диаметр, следя за тем, чтобы рулон плотно прилегал к стенкам трубки.
В нерабочем состоянии установки предохраняют рулон из серебряной сетки от атмосферных загрязнений, закрывая оба конца трубки для сжигания.
Примечание - Рулон из серебряной сетки может абсорбировать всю серу при содержании ее в пробе до 7 %. При более высоких содержаниях серы величину сжигаемой навески пробы следует пропорционально уменьшить. Сетку следует периодически очищать кипячением в воде (для удаления сульфата серебра), в концентрированном растворе аммиака (для удаления хлорида серебра) и снова в воде, после чего сетку высушивают. Общее количество серы, которое может абсорбировать рулон до его очистки, составляет не более 0,035 г.
6.3 Подготовка поглотительной системы
В начале каждого рабочего дня сосуды Мидвэйла продувают очищенным воздухом в течение 10 мин. После продувки отводы сосудов Мидвэйла закрывают, сосуды охлаждают в течение 20 мин, в защищенном от сквозняков месте, осторожно протирают мягкой тканью и быстро взвешивают. Повторяют эту процедуру до тех пор, пока изменение массы каждого сосуда станет не более 1 мг.
7 Подготовка пробы для анализа
Для испытания используют аналитическую пробу, приготовленную по ГОСТ 10742, ГОСТ 11303 или ГОСТ 23083 в зависимости от вида топлива. Пробу подсушивают до воздушно-сухого состояния. Для этого разложенную тонким слоем пробу выдерживают на воздухе до тех пор, пока по влажности она не достигнет равновесия с атмосферой лаборатории, т.е. пока масса пробы, выдерживаемой на воздухе, при последующем взвешивании изменится не более чем на 0,1 %.
Перед взятием навески для определения углерода и водорода воздушно-сухую пробу тщательно перемешивают не менее 1 мин предпочтительно механическим способом.
Одновременно берут отдельные навески для определения влаги по ГОСТ 11305, ГОСТ 12597, ГОСТ 27314 или ГОСТ 27589 в зависимости от вида топлива, зольности по ГОСТ 7846, ГОСТ 11022, ГОСТ 11306 или ГОСТ 12596 в зависимости от вида топлива, а также (при необходимости) для определения диоксида углерода карбонатов по ГОСТ 13455.
8 Проведение испытания
8.1 Подготовительные операции
Поднимают температуру печи или печей так, чтобы распределение температур соответствовало кривой, изображенной на рисунке 1. Проверяют правильность положения рулона из серебряной сетки. Приблизительно за 30 мин до достижения температуры 1350 °С через систему пропускают очищенный кислород (4.7 и 5.3). Устанавливают скорость потока кислорода 300 см3/мин.
Взвешивают около 0,5 г пробы с точностью до 0,1 мг. Помещают навеску в чистую сухую лодочку для сжигания, распределяя ее по дну ровным слоем. Засыпают навеску оксидом алюминия массой около 0,5 г (4.3) так, чтобы оксид алюминия полностью покрывал навеску пробы в лодочке. Подсоединяют приведенную в рабочее состояние и взвешенную поглотительную систему. Вставляют лодочку с навеской во входной конец трубки для сжигания так, чтобы центр лодочки находился на расстоянии 240 мм от центра самой горячей зоны. Вставляют каучуковую пробку с полностью отведенным кварцевым или стальным толкателем и продолжают продувку кислородом со скоростью 300 см3/мин. Через 1 мин продвигают лодочку вперед на 40 мм. В конце каждого из пяти следующих минутных интервалов с помощью толкателя продвигают лодочку вперед на 40 мм, каждый раз отводя толкатель в исходное положение для предотвращения его разрушения. После последнего продвижения центр лодочки должен оказаться в середине самой горячей зоны. Выдерживают лодочку в горячей зоне в течение 4 мин.
Примечание - При сжигании углей, у которых выделение летучих веществ происходит с большой скоростью, на ранних стадиях нагрева может произойти унос несгоревших частиц. Для уменьшения скорости продвижения вставляют лодочку с навеской так, чтобы ее центр был в 240 мм от центра самой горячей зоны. Через 1 мин продвигают лодочку вперед на 20 мм. В конце каждого из одиннадцати следующих минутных интервалов продвигают лодочку вперед на 20 мм. Выдерживают лодочку в центре горячей зоны в течение 4 мин.
Для неактивных коксов, например коксов с выходом летучих веществ менее 0,5 %, скорость продвижения лодочки также следует уменьшить в соответствии с описанной выше процедурой.
8.3 Заключительные операции
Отсоединяют поглотительную систему, присоединяют ее к системе очистки воздуха (5.3) и продувают в течение 10 мин очищенным воздухом со скоростью 200 - 250 см3/мин. Разъединяют поглотительные сосуды А, В и С, закрывают краны, на отводные трубки надевают предохранительные пробки и дают сосудам остыть в защищенном от сквозняков месте (примечание 1).
Протирают поглотительные сосуды Мидвэйла мягкой тканью, удаляют предохранительные пробки и быстро взвешивают сосуды (примечания 1 и 2).
С помощью жаропрочной проволоки с загнутым концом извлекают использованную лодочку и помещают ее на толстую пластину из огнеупорного материала.
Примечания
1 Сосуды Мидвэйла, а особенно те, в которых происходило поглощение диоксида углерода, остывают медленно, поэтому их выдерживают перед взвешиванием для достижения ими комнатной температуры до 60 мин. Отсоединенные сосуды Мидвэйла следует предохранять от атмосферных загрязнений. Для этого краны сосудов закрывают, а на отводные трубки надевают предохранительные пробки, представляющие собой кусочки каучуковой трубки, закрытые с одного конца стеклянными палочками. Перед взвешиванием предохранительные пробки снимают. Если увеличение массы поглотительного сосуда С превышает 0,05 г, содержимое поглотительного сосуда В, выбрасывают, сосуд В перезаряжают.
2 При протирании тканью сосудов Мидвэйла во влажной атмосфере возможно образование на них статического заряда, что может повлиять на результаты взвешивания, поэтому следует предусмотреть возможность поглощения статического электричества.
9 Контрольное определение
Проводят контрольное определение, как описано в разделе 8, при этом в лодочку помещают оксид алюминия без навески топлива.
Если увеличение массы поглотительного сосуда Мидвэйла во время контрольного определения превышает 0,001 г, содержимое сосуда выбрасывают и сосуд перезаряжают.
10 Обработка результатов
10.1 Массовая доля общего углерода
Массовую долю общего углерода в аналитической пробе топлива (Сtа), %, вычисляют по формуле
(1)
где m1 - масса навески, г;
т2 - увеличение массы поглотительных сосудов В и С при испытании, г;
т3 - увеличение массы поглотительных сосудов В и С при контрольном определении (раздел 9), г.
10.2 Массовая доля органического углерода
Массовую долю органического углерода в аналитической пробе топлива (Соа), %, вычисляют по формуле
(2)
где
- массовая доля диоксида
углерода карбонатов в аналитической пробе топлива, %.
10.3 Массовая доля общего водорода
Массовую долю общего водорода в аналитической пробе топлива (Нtа), %, вычисляют по формуле
(3)
где т1 - масса навески, г;
т4 - увеличение массы поглотительного сосуда А при испытании, г;
т5 - увеличение массы поглотительного сосуда А при контрольном определении (раздел 9), г;
Wa - массовая доля влаги в аналитической пробе топлива, %.
10.4 Дополнительная информация
Расчет коэффициентов, используемых в формулах, описан в приложении А.
За результат испытания принимают среднее арифметическое результатов двух параллельных определений с точностью до 0,1 % для углерода и до 0,01 % для водорода.
Пересчет результатов определения массовой доли углерода и водорода на другие состояния топлива - по ГОСТ 27313.
11 Точность результатов
11.1 Сходимость
Расхождение результатов двух определений, выполненных в разное время в одной и той же лаборатории одним исполнителем с использованием одной и той же аппаратуры из представительных навесок одной и той же аналитической пробы, не должно превышать значений, указанных в таблице 1.
11.2 Воспроизводимость
Расхождение средних результатов двух определений, выполненных в двух разных лабораториях из представительных навесок одной и той же пробы после последней стадии ее приготовления, не должно превышать значений, указанных в таблице 1, при уровне доверительной вероятности 95 %.
Таблица 1
|
Максимально допустимое расхождение между результатами, пересчитанными на одну и ту же массовую долю влаги |
||
|
сходимость, абс. % |
воспроизводимость, абс. % |
|
|
Углерод |
0,25 |
0,5 |
|
Водород |
0,12 |
0,25 |
11.3 Если расхождение между результатами двух определений превышает значение, приведенное в таблице 1, проводят третье определение. За результат испытания принимают среднее арифметическое результатов, находящихся в пределах допустимого расхождения. Если результат третьего определения находится в пределах допустимого расхождения по отношению к каждому из двух предыдущих результатов, то за результат испытания принимают среднее арифметическое результатов трех определений.
12 Протокол испытаний
Протокол испытаний должен включать:
а) ссылку на применяемый метод;
б) характеристику анализируемой пробы (идентификацию);
в) результаты испытаний и единицы, в которых они выражены;
г) особенности, замеченные в ходе определения;
д) любые произведенные операции, не включенные в настоящий стандарт или необязательные;
е) дату испытаний.
ПРИЛОЖЕНИЕ А
(справочное)
Расчет коэффициентов, используемых в формулах раздела 10
А.1 Общие сведения
При расчетах использованы относительные атомные массы, приведенные в таблице А. 1.
Таблица А.1
|
Символ |
Относительная атомная масса |
|
|
Углерод |
С |
12,011 |
|
Водород |
Н |
1,008 |
|
Кислород |
О |
15,999 |
Далее в формулах относительные атомные и молекулярные массы заменены химическими формулами в квадратных скобках.
А.2 Углерод (см. 10.1)
Массовую долю общего углерода в анализируемой пробе СД %, вычисляют по формуле
![]()
где т1 - масса навески, г;
m2 - увеличение массы поглотительных сосудов В и С при испытании, г;
m3 - увеличение массы поглотительных сосудов В и С при контрольном определении, г.
Следовательно
А.3 Водород (см. 10.3)
Массовую долю общего водорода в анализируемой пробе (Нtа), %, вычисляют по формуле
![]()
где m1 - масса навески, г;
m4 - увеличение массы поглотительного сосуда А при испытании, г;
m5 - увеличение массы поглотительного сосуда А при контрольном определении, г;
W5 - массовая доля влаги в аналитической пробе топлива, %.
Следовательно: ![]()
Ключевые слова: угли бурые, угли каменные, антрацит, лигниты, горючие сланцы, кокс, торф, общий углерод, общий водород, высокотемпературное сожжение, анализ
Хотите оперативно узнавать о новых публикациях нормативных документов на портале? Подпишитесь на рассылку новостей!
Все ГОСТы >> ГОСТы «Строительная техника и оборудование, грузоперевозки >>



