ГОСТ 23587-96 Монтаж электрический радиоэлектронной аппаратуры и приборов. Технические требования к разделке монтажных проводов и креплению жил
ГОСТ 23587-96
МЕЖГОСУДАРСТВЕННЫЙ СТАНДАРТ
Монтаж
электрический радиоэлектронной аппаратуры
и приборов
ТЕХНИЧЕСКИЕ ТРЕБОВАНИЯ
К РАЗДЕЛКЕ МОНТАЖНЫХ ПРОВОДОВ
И КРЕПЛЕНИЮ ЖИЛ
МЕЖГОСУДАРСТВЕННЫЙ СОВЕТ
ПО СТАНДАРТИЗАЦИИ, МЕТРОЛОГИИ И СЕРТИФИКАЦИИ
Минск
Предисловие
1 РАЗРАБОТАН Научно-исследовательским технологическим институтом приборостроения Министерства промышленной политики Украины
ВНЕСЕН Государственным комитетом Украины по стандартизации, метрологии и сертификации
2 ПРИНЯТ Межгосударственным Советом по стандартизации, метрологии и сертификации (протокол № 9 от 12 апреля 1996 г.)
За принятие проголосовали:
|
Наименование государства |
Наименование национального органа по стандартизации |
|
Азербайджанская Республика |
Азгосстандарт |
|
Республика Армения |
Армгосстандарт |
|
Республика Беларусь |
Госстандарт Республики Беларусь |
|
Республика Казахстан |
Госстандарт Республики Казахстан |
|
Кыргызская Республика |
Кыргызстандарт |
|
Республика Молдова |
Молдовастандарт |
|
Российская Федерация |
Госстандарт России |
|
Республика Таджикистан |
Таджикгосстандарт |
|
Туркменистан |
Главгосинспекция «Туркменстандартлары» |
|
Украина |
Госстандарт Украины |
3 Постановлением Государственного комитета Российской Федерации по стандартизации и метрологии от 15 февраля 2001 г. № 70-ст межгосударственный стандарт ГОСТ 23587-96 введен в действие непосредственно в качестве государственного стандарта Российской Федерации с 1 июля 2001 г.
4 ВЗАМЕН ГОСТ 23587-79
ГОСТ 23587-96
МЕЖГОСУДАРСТВЕННЫЙ СТАНДАРТ
Монтаж электрический радиоэлектронной аппаратуры и приборов
ТЕХНИЧЕСКИЕ
ТРЕБОВАНИЯ К РАЗДЕЛКЕ МОНТАЖНЫХ ПРОВОДОВ
И КРЕПЛЕНИЮ ЖИЛ
Electrical wiring of radio-electronic equipment and devices. Technical requirements for termination of hookup wires and wire strand attachment
Дата введения 2001-07-01
1 Область применения
Настоящий стандарт устанавливает технические требования к конструкциям разделки монтажных проводов и крепления к контакт-деталям, к наконечникам, к выводам электрорадиоэлементов (ЭРЭ), в изоляторах жил монтажных проводов (далее - жил), предназначенным для выполнения контактных соединений при электрическом монтаже (далее - монтаже), производимом внутри радиоэлектронной аппаратуры, приборов и устройств (далее - аппаратуры).
Стандарт не распространяется на конструкции разделки и крепления ленточных проводов, на конструкции крепления жил проводов к печатным платам, не устанавливает технических требований к технологическому процессу разделки проводов и крепления жил.
Требования настоящего стандарта обязательные.
2 Нормативные ссылки
В настоящем стандарте использованы ссылки на следующие стандарты:
ГОСТ 6309-93 Нитки швейные хлопчатобумажные и синтетические. Технические условия
ГОСТ 8325-93 (ИСО 3598-86) Стекловолокно. Нити крученые комплексные. Технические условия
ГОСТ 14312-79 Контакты электрические. Термины и определения
ГОСТ 15845-80 Изделия кабельные. Термины и определения
ГОСТ 23585-96* Монтаж электрический радиоэлектронной аппаратуры и приборов. Технические требования к разделке и соединению экранов проводов
ГОСТ 23588-79 Монтаж электрический радиоэлектронной аппаратуры и приборов. Технические требования к монтажу соединителей А и РП
ГОСТ 23589-79 Монтаж электрический радиоэлектронной аппаратуры и приборов. Технические требования к монтажу соединителей PC и МР
ГОСТ 23590-79 Монтаж электрический радиоэлектронной аппаратуры и приборов. Технические требования к монтажу соединителей 2РМ
ГОСТ 23591-79 Монтаж электрический радиоэлектронной аппаратуры и приборов. Технические требования к монтажу соединителей ШР, СШР, СШРГ и ШРГ
ГОСТ 27744-88 Изоляторы. Термины и определения
* В Российской Федерации действует ГОСТ 23585-79.
3 Определения
В настоящем стандарте применяют термины в соответствии с ГОСТ 14312, ГОСТ 15845 и ГОСТ 27744, а также следующие термины и определения:
контактный зажим: Устройство, обеспечивающее разъемное контактное соединение посредством подвижной контакт-детали.
хвостовик кабельного наконечника: Часть кабельного наконечника, предназначенная для присоединения к проводу или жиле кабеля.
кабельный наконечник: Контакт-деталь, обеспечивающая разъемное контактное соединение между проводом или жилой кабеля и выводом электротехнического устройства или контактным зажимом.
конструкция разделки провода: Участок провода со снятыми и соответствующим способом закрепленными (или не закрепленными) изоляцией и защитным покровом на длину, достаточную для крепления жилы к контакт-детали при электрическом монтаже.
ступенчатая конструкция разделки провода: Конструкция разделки провода с интервалом между торцами изоляции и защитного покрова.
изоляционная часть хвостовика кабельного наконечника: Составная часть хвостовика кабельного наконечника, предназначенная для присоединения к изоляции провода или жилы кабеля.
4 Общие требования
4.1 Конструкции разделки проводов и крепления жил к контакт-деталям, к наконечникам, к выводам ЭРЭ, в изоляторах должны соответствовать требованиям настоящего стандарта, государственных стандартов и технических условий на провода и материалы, конструкторской документации на аппаратуру.
4.2 Технические требования к конструкциям разделки проводов и крепления жил к контакт-деталям, к наконечникам, к выводам ЭРЭ, в изоляторах должны быть указаны в конструкторской документации со ссылкой на настоящий стандарт.
В конструкторской документации должны быть указаны вариант конструкции разделки провода (не указывают только вариант 1.1), размер ступени, материал крепления изоляции и защитного покрова.
4.3 Пример ссылки на настоящий стандарт в конструкторской документации на изделие, содержащее провод БПВЛ:
«Технические требования к разделке проводов и креплению жил по ГОСТ 23587, вариант 2.2. Размер ступени от 4 до 5 мм. Крепление изоляции клеем».
4.4 Требования к конструкциям разделки проводов и крепления жил, не предусмотренные настоящим стандартом, должны быть согласованы с заказчиком и указаны в конструкторской документации.
4.5 Требования к разделке экранов - по ГОСТ 23585.
4.6 Требования к конструкциям крепления проводов в электрические соединители - по ГОСТ 23588 - ГОСТ 23591.
5 Технические требования к конструкциям разделки проводов
5.1 Варианты бесступенчатых и ступенчатых конструкций разделки проводов приведены в таблицах 1 и 2.
Таблица 1 - Варианты бесступенчатых конструкций разделки проводов
|
Упрощенное изображение |
Способ крепления изоляции и защитного покрова |
|
|
1.1 |
|
Без крепления (рисунок 2) |
|
1.2 |
|
Клеем (рисунок 5) |
|
1.3 |
|
Электроизоляционной трубкой на клее (рисунок 6) |
|
1.4 |
|
Термоусаживаемой трубкой (рисунок 7) |
|
1.5 |
|
Бандажом из ниток, покрытым клеем (рисунок 8) |
Таблица 2 - Варианты ступенчатых конструкций разделки проводов
|
Упрощенное изображение |
Способ крепления изоляции и защитного покрова |
|
|
2.1 |
|
Без крепления (рисунок 1) |
|
2.2 |
|
Клеем (рисунок 9) |
|
2.3 |
|
Электроизоляционной трубкой на клее (рисунок 10) |
|
2.4 |
|
Термоусаживаемой трубкой (рисунок 11) |
|
2.5 |
|
Бандажом из ниток, покрытым клеем (рисунок 12) |
|
2.6 |
|
Бандажом из ниток, покрытым клеем (рисунок 13) |
5.2 Выбор варианта конструкции разделки провода следует проводить в зависимости от марки провода и условий эксплуатации аппаратуры.
5.3 Для проводов, имеющих защитный покров из волокнистых материалов, следует применять ступенчатую конструкцию разделки (рисунок 1), для прочих проводов - бесступенчатую (рисунок 2).
5.4 При ступенчатой конструкции разделки (рисунок 1) размер ℓ должен быть равен (3 - 6) b, где b - толщина изоляции по техническим условиям, мм.
При отсутствии данных в технических условиях величину b определяют экспериментально. Размер ступени должен быть увеличен:
- на 3 - 4 мм, если защитный покров крепят в соответствии с рисунком 11 (для проводов с малой толщиной изоляции) и рисунком 13;
- на длину изоляционной части хвостовика кабельного наконечника ℓ1 плюс 3 - 4 мм, если жила провода крепится к кабельному наконечнику в соответствии с рисунком 3.
5.5 Изоляция и защитный покров провода не должны иметь повреждений (прожогов, надрезов и т.д.). Длина местного потемнения и оплавления у торца изоляции не должна превышать 1 мм, а для проводов с площадью сечения более 0,75 мм2 - 2 мм.
5.6 Волокнистая изоляция не должна выступать из-под пластмассовой более чем на 1 мм (рисунок 4).
5.7 Изоляция или защитный покров на конце провода должны быть закреплены, если они не обладают достаточной механической прочностью к различным воздействиям на них при монтаже и эксплуатации аппаратуры (раскручиваются, разлохмачиваются, сдвигаются и т.п.).
1 - жила; 2 - изоляция; 3 - защитный покров
Рисунок 1
1 - жила; 2 - изоляция
Рисунок 2
1 - жила; 2 - изоляция; 3 - защитный покров
Рисунок 3
1 - жила; 2 - изоляция пластмассовая; 3 - волокнистая изоляция
Рисунок 4
5.8 Конструкция крепления изоляции или защитного покрова на конце провода зависит от их механической прочности, адгезионных свойств материалов и условий эксплуатации аппаратуры. Способы крепления изоляции и защитного покрова приведены на рисунках 5 - 13.
5.9 Длина неизолированного участка жилы должна быть достаточной для обеспечения ее механического крепления к контакт-детали.
5.10 Многопроволочная жила должна быть скручена в направлении заводского повива. Отслаивание отдельных проволочек жилы не допускается.
В проводах, имеющих жилу, скрученную из групп проволочек, при разделке должен быть сохранен или восстановлен шаг скрутки предприятия-изготовителя.
5.11 Длина нелуженого участка жилы у торца изоляции не должна превышать 1 мм (рисунок 14).
5.12 Перечень типов проводов с вариантами конструкций их разделки приведен в приложении А.
6 Технические требования к конструкциям крепления жил проводов
6.1 Технические требования к конструкциям крепления жил проводов к контакт-деталям
6.1.1 Конструкции крепления жил проводов, подготовленных по вариантам, приведенным в таблицах 1 и 2, к контакт-деталям, показаны на рисунках 15 - 36.
6.1.2 К плоским контакт-деталям провода сечением не более 0,35 мм2 должны быть прикреплены с выполнением полного оборота жилы провода вокруг контакта (рисунки 15 - 20), провода с площадью сечения более 0,35 мм2 - с выполнением не менее 3/4 оборота (рисунки 21 - 24). К цилиндрическим контакт-деталям из алюминия, плакированного медью, провода всех сечений должны быть прикреплены с выполнением полного оборота жилы вокруг контакта (рисунки 25 - 27).
6.1.3 Жила провода, закрепленная на контакт-детали, должна плотно ее огибать. Изгиб контакт-детали не допускается.
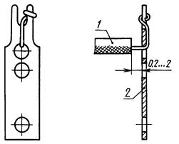
6.1.4 Длина неизолированного участка провода, закрепленного на контакт-детали, от торца изоляции до контакт-детали должна быть от 0,2 до 2 мм, для проводов с полиэтиленовой изоляцией - от 0,5 до 3 мм, за исключением случаев, показанных на рисунках 16 и 24. При расстоянии между соседними контакт-деталями менее 5 мм длина неизолированного участка провода не должна превышать 1,5 мм. Расстояние от конца цилиндрической контакт-детали до жилы провода должно быть не менее 0,5 мм, а от платы до жилы провода - не менее 1 мм (рисунок 26).
6.1.5 В каждом отверстии контакт-детали должно быть закреплено не более четырех жил проводов (рисунок 23). Проходную перемычку следует считать одной жилой.
6.1.6 Если размеры отверстия контакт-детали не позволяют крепить более одной жилы провода, следует использовать переходную контакт-деталь (рисунок 28).
6.1.7 Количество жил проводов, закрепляемых на цилиндрическую контакт-деталь, должно быть определено конструктором в зависимости от длины и механической прочности контакта, а также от диаметров проводов.
6.1.8 При креплении на контакт-детали нескольких проводов каждая жила провода должна быть закреплена отдельно (рисунки 23, 26, 28).
6.1.9 При креплении жил проводов на контакт-детали, расстояние между которыми менее 1,0 мм, на провода должны быть надеты электроизоляционные трубки.
6.1.10 Если невозможно крепление жилы провода на лепесток выполнить обжимом, провод должен быть закреплен в соответствии с рисунками 29, 30.
6.1.11 При креплении к контакт-деталям жилы провода с площадью сечения не более 0,2 мм2 провода должны быть подведены снизу (рисунки 31 - 33). В контактном соединении, выполненном в соответствии с рисунком 33, длина электроизоляционной трубки должна быть не менее длины контакт-детали.
1 - жила; 2 - изоляция Поверхность А покрыть клеем
Рисунок 5
1 - жила; 2 - изоляция; 3 - электроизоляционная трубка
Рисунок 6
1 - жила; 2 - изоляция; 3 - термоусаживаемая трубка
Рисунок 7
1 - жила; 2 - изоляция; 3 - бандаж из ниток Поверхность А покрыть клеем
Рисунок 8
1 - жила; 2 - изоляция; 3 - защитный покров
Поверхность А покрыть клеем
Рисунок 9
1 - жила; 2 - изоляция; 3 - защитный покров; 4 - электроизоляционная трубка
Рисунок 10
1 - жила; 2 - изоляция; 3 - защитный покров; 4 - термоусаживаемая трубка
Рисунок 11
1 - жила; 2 - изоляция; 3 - защитный покров; 4 - бандаж из ниток
Поверхность А покрыть клеем
Рисунок 12
1 - жила; 2 - изоляция; 3 - защитный покров; 4 - бандаж из ниток
Поверхность А покрыть клеем
Рисунок 13
1 - жила; 2 - изоляция
Рисунок 14
1 - провод; 2 - плоская контакт-деталь
Рисунок 15
1 - плоская контакт-деталь; 2 - плата; 3 - провода
Рисунок 16

1 - провод; 2 - плоская контакт-деталь; 3 - плата
Рисунок 17

1 - провод; 2 - плоская контакт-деталь
Рисунок 18

1 - провод; 2 - плоская контакт-деталь
Рисунок 19

1 - провод; 2 - плоская контакт-деталь
Рисунок 20
1 - провод; 2 - плоская контакт-деталь
Рисунок 21

1 - провод; 2 - плоская контакт-деталь
Рисунок 22
1 - провод; 2 - плоская контакт-деталь
Рисунок 23
1 - плоская контакт-деталь; 2 - плата, 3 - провод
Рисунок 24
1 - провод; 2 - цилиндрическая контакт-деталь;
3 - плата; 4 - втулка
Рисунок 25
1 - провод; 2 - плата; 3 - цилиндрическая контакт-деталь
Рисунок 26

1 - провод; 2 - плоская контакт-деталь
Рисунок 27
1 - провод; 2 - переходная контакт-деталь; 3 - плоская контакт-деталь
Рисунок 28
1 - провод; 2 - плоская контакт-деталь
Рисунок 29
1 - плата; 2 - провод; 3 - элемент
Рисунок 30
1 - цилиндрическая контакт-деталь, 2 - провод;
3- плата
Рисунок 31

1 - плоская контакт-деталь; 2 - провод, 3 - плата
Рисунок 32
1 - электроизоляционная трубка; 2 - плоская контакт-деталь; 3 - провод; 4 - плата
Рисунок 33
1 - провод; 2 - электроизоляционная трубка; 3 - плоская контакт-деталь, 4 - плата
Рисунок 34
1 - провод; 2 - плоская контакт-деталь; 3 - электроизоляционная трубка; 4 - плата
Рисунок 35
1 - провод; 2 - плоская контакт-деталь, 3 - плата
Рисунок 36
6.1.12 Проходные последовательные перемычки должны быть выполнены из одного отрезка неизолированного провода (рисунки 34, 35). Перемычки между соседними лепестками должны быть выполнены концом закрепляемого провода (рисунок 36).
6.2 Технические требования к конструкциям крепления жил проводов к наконечникам
6.2.1 Конструкции крепления жилы провода к кабельному наконечнику должны соответствовать рисункам 37 - 39. Для обеспечения надежного крепления провода его изоляция должна быть обжата хвостовиком кабельного наконечника. Повреждение изоляции провода при обжиме его наконечником не допускается.
6.2.2 При креплении к кабельному наконечнику жилы провода с защитным покровом из волокнистого материала разделка провода должна соответствовать требованиям 5.4.
6.2.3 При креплении к кабельному наконечнику жилы провода с наружной лавсановой или капроновой оплеткой хвостовик кабельного наконечника должен быть обжат по оплетке. Оплетка перед креплением провода к кабельному наконечнику должна быть покрыта лаком или клеем на длину не менее 10 мм.
6.2.4 При креплении к кабельному наконечнику жилы экранированного провода экран не должен входить в электроизоляционную трубку.
6.2.5 При пайке к кабельному наконечнику нескольких жил проводов с полиэтиленовой или поливинилхлоридной изоляцией длина неизолированного участка провода должна быть в пределах 5 - 10 мм. Электроизоляционная трубка должна перекрывать неизолированные участки жил и участок спекания изоляции на 5 - 8 мм.
6.2.6 Кабельный наконечник с обжимом жилы следует применять только для проводов с площадью сечения более 4 мм2 (рисунок 37).
6.2.7 К роликовому кабельному наконечнику должны быть прикреплены провода с площадью сечения не менее 0,35 мм2. Конструкция крепления жилы провода к роликовому кабельному наконечнику должна соответствовать рисунку 40. Жила провода должна быть разделена на две ровные пряди. Проволоки каждой пряди должны быть скручены между собой в сторону свивания жилы не менее чем на 1,5 витка. Пайка должна быть произведена по дуге не менее 220°.
6.2.8 При креплении к контактному зажиму жилы провода с площадью сечения не более 0,5 мм2 на нее должен быть надет трубчатый наконечник и соединен пайкой в соответствии с рисунком 41.
6.2.9 Под одним контактным зажимом должно быть подключено не более трех наконечников. Подключаемый наконечник должен быть закреплен между двумя контактирующими поверхностями; между гайкой и наконечником должна быть установлена шайба. Присоединение к контактному зажиму провода любого сечения без кабельного наконечника не допускается.
6.3 Технические требования к конструкциям крепления жил проводов к выводам ЭРЭ
6.3.1 Крепление жил проводов к выводам ЭРЭ должно быть выполнено в соответствии с 6.1.2 - 6.1.4 и 6.1.12.
6.3.2 Конструкция крепления жил проводов к контактам панелей пальчиковых ламп должна быть выполнена в соответствии с рисунком 42, к контактам ламповых октальных панелей - согласно рисунку 43.
6.3.3 При креплении жил проводов к контактам реле (рисунки 44 - 47) и аналогичным контактам других ЭРЭ на контакты должны быть надеты электроизоляционные трубки. При применении проводов с площадью сечения не более 0,2 мм2, если расстояние между паяными соединениями контакта более 2 мм, электроизоляционные трубки на контакты реле надевать не следует. При этом паяные соединения, контакты реле и неизолированные участки проводов должны быть покрыты влагозащитным лаком.
6.3.4 При креплении жил проводов к контактам шагового искателя на все контакты должны быть надеты электроизоляционные трубки длиной не менее 15 мм.
6.4 Технические требования к конструкциям крепления жил проводов в изоляторе
6.4.1 Конструкции крепления жилы провода в изоляторе должны соответствовать рисункам 48, 50 и 51. Если диаметр провода меньше внутреннего диаметра изолятора, провод должен быть вставлен в изолятор согласно рисунку 49.
1 - наконечник; 2 - токопроводящая жила; 3 - электроизоляционная трубка на клее или термоусаживаемая трубка, 4 - электроизоляция провода
Рисунок 37

1 - наконечник; 2 - хвостовик наконечника; 3 - токопроводящая жила; 4 - электроизоляционная трубка на клее или термоусаживаемая трубка; 5 - электроизоляция провода; 6- защитный покров
Рисунок 38

1 - наконечник, 2 - электроизоляционная трубка на клее или термоусаживаемая трубка; 3 - хвостовик наконечника; 4 - провод
Рисунок 39
1 - роликовый наконечник; 2 - электроизоляционная трубка или лента; 3 - провод
Рисунок 40
1 - провод; 2 - трубчатый наконечник; 3 - втулка; 4 - винт
Рисунок 41
1 - провод; 2 - панель лампы
Рисунок 42
1 - провод; 2 - панель лампы
Рисунок 43
1 - электроизоляционная трубка на клее; 2 - лепесток; 3 - провод
Рисунок 44

1 - провод; 2 - электроизоляционная трубка на клее; 3 - лепесток
Рисунок 45

1 - электроизоляционная трубка на клее
Примечание - При надевании трубок с натягом устанавливать их следует без клея
Рисунок 46

1 - электроизоляционная трубка на клее
Примечание - При надевании трубок с натягом устанавливать их следует без клея
Рисунок 47
1 - провод; 2 - плоская контакт-деталь; 3 - изолятор
Рисунок 48
1 - втулка; 2 - изолятор; 3 - провод
Рисунок 49
1 - изолятор; 2 - провод; 3 - электроизоляционная трубка
Примечание - При надевании трубок с натягом устанавливать их следует без клея
Рисунок 50
1 - изолятор; 2 - шпилька; 3 - шайба; 4 - шайба; 5 - гайка; 6-наконечник; 7- провод
Рисунок 51
ПРИЛОЖЕНИЕ А
(справочное)
Перечень типов проводов и варианты конструкций их разделки
Таблица А.1
|
Тип провода |
Вариант конструкции разделки |
Размер ступени, мм |
Материал крепления изоляции и защитного покрова провода |
|
БИФ, БИФЭ |
1.1 |
|
- |
|
БПВЛ, БПВЛЭ |
2.2 |
3 - 10 |
Клей типа ХВК-2а по нормативным документам |
|
|
2.3 |
3 - 10 |
Трубка электроизоляционная и клей типа ХВК-2а по нормативным документам |
|
БПДО |
1.1 |
- |
- |
|
БФС |
2.6 |
4 - 6 |
Нитки хлопчатобумажные по ГОСТ 6309, клей типа ХВК-2а по нормативным документам |
|
МГВ |
1.1 |
- |
- |
|
МГТФ, МГСТФ, МГТФЭ |
1.1 |
- |
- |
|
МГШВ, МШВ, МГШВЭ |
1.1 |
- |
- |
|
МДПО, МГДПО |
1.1 |
- |
- |
|
МК 26-11, МК 26-12 |
1.1 |
- |
- |
|
МК27-11,МК27-12 |
1.1 |
- |
- |
|
МЛП, МЛПГ, МЛПЭ, МЛТП, МЛТПГ |
1.1 |
- |
- |
|
МНВ |
1.1 |
- |
- |
|
МП 37-11,МПЭ 37-11 |
1.1 |
- |
- |
|
МП 37-12, МПЭ 37-12 |
1.1 |
- |
- |
|
МП 16-11, МП 17-11 |
1.1 |
- |
- |
|
МПМ, МПКМ, МПМУ, МПМЭ |
1.1 |
- |
- |
|
МПО, МПОУ, МПОЭ, МПОУЭ |
1.1 |
- |
- |
|
МПО 23-11, МПОЭ 23-11 |
1.2 |
- |
Клей типа ХВК-2а по нормативным документам |
|
МПО 33-11, МПОЭ 33-11, МПО 33-12, |
|
|
|
|
МПОЭ 33-12 |
2.5 |
4 - 6 |
Нитки хлопчатобумажные по ГОСТ 6309, клей типа ХВК-2а по нормативным документам |
|
МС 15-11, МСЭ 15-11 |
1.1 |
- |
- |
|
МС 16-12 |
1.1 |
- |
- |
|
МС 25-11, МСЭ 25-11 |
1.1 |
- |
- |
|
МС 13-11 |
1.1 |
- |
- |
|
МС 13-13, МС 14-14 |
1.1 |
- |
- |
|
МС 14-11, МС 14-12 |
1.1 |
- |
- |
|
МС 16-13, МСЭ 16-13 |
1.1 |
- |
- |
|
МС 16-11 |
1.1 |
- |
- |
|
МС 16-14 |
1.1 |
- |
- |
|
МС 17-11, МСЭ 17-11 |
1.1 |
- |
- |
|
МС 21-11. МСО 21-11 |
1.1 |
- |
- |
|
МС 26-12 |
1.1 |
- |
- |
|
МС 32-11, МСЭ 32-11 |
1.1 |
- |
- |
|
МСО 32-11 |
2.5 |
4 - 6 |
Нитки хлопчатобумажные по ГОСТ 6309, клей типа ХВК-2а по нормативным документам |
|
МСТП, МСТПГ, МСТПЭ, МСТПГЭ |
1.1 |
- |
- |
|
МСТПЛ |
2.2 |
2 - 7 |
Клей типа ХВК-2а по нормативным документам |
|
|
2.3 |
2 - 7 |
Трубка электроизоляционная и клей типа ХВК-2а по нормативным документам |
|
ПМОФ |
2.5 |
5 - 8 |
Нитки стеклянные по ГОСТ 8325, клей типа ХВК-2а по нормативным документам |
|
ПТЛ |
2.5 |
3 - 10 |
То же |
|
СКФ |
2.5 |
3 - 10 |
» |
|
ИС, ИСЭ |
1.1 |
- |
- |
|
227 МЭК 52 |
1.1 |
- |
- |
|
ИL 62 SYT |
1.1 |
- |
- |
|
CSA SQT |
1.1 |
- |
- |
|
227 МЭК 53 |
1.1 |
- |
- |
|
НВ |
1.1 |
- |
- |
|
ПВЗПО |
2.5 2.6 |
7 - 12 |
Нитки хлопчатобумажные по ГОСТ 6309, клей типа ХВК-2а по нормативным документам |
|
ПВМФО |
2.5 |
6 - 16 |
То же |
Ключевые слова: монтаж, радиоэлектронная аппаратура, приборы, технические требования, разделка, крепление, провод, жила, конструкция
СОДЕРЖАНИЕ
Хотите оперативно узнавать о новых публикациях нормативных документов на портале? Подпишитесь на рассылку новостей!














































