ГОСТ 21509-76 от 1977-01-01 Лотки железобетонные оросительных систем. Технические условия.

ГОСТ 21509-76

Группа Ж33

ГОСУДАРСТВЕННЫЙ СТАНДАРТ СОЮЗА ССР


ЛОТКИ ЖЕЛЕЗОБЕТОННЫЕ ОРОСИТЕЛЬНЫХ СИСТЕМ

Технические условия

Reinforced concrete shoots for irrigation systems.

Specifications

ОКП 58 5821

Дата введения 1977-01-01

УТВЕРЖДЕН  И ВВЕДЕН В ДЕЙСТВИЕ Постановлением Государственного комитета Совета Министров СССР по делам строительства от 31 декабря 1975 г. N 247

ПЕРЕИЗДАНИЕ  (ноябрь 1984 г.) с Изменением N 1, утвержденным в сентябре 1984 г.; Пост. N 159 от 12.09.84 (ИУС 2-85)


Настоящий  стандарт распространяется на железобетонные раструбные лотки параболического сечения, изготовляемые из тяжелого бетона средней плотностью 2200-2500 кг/куб.м включительно и предназначенные для устройства сборных распределительных каналов оросительных систем на расход воды до 5 куб.м/с.

Установленные  настоящим стандартом показатели технического уровня предусмотрены для лотков первой категории качества.

(Измененная  редакция, Изм N 1).



1. ТИПЫ, МАРКИ И РАЗМЕРЫ


1.1.  По условиям эксплуатации железобетонные параболические лотки подразделяют на следующие типы:

ЛР  - лотки, сооружаемые на сваях, стоечных опорах и плитах;

ЛРГ  - лотки, укладываемые в грунт.

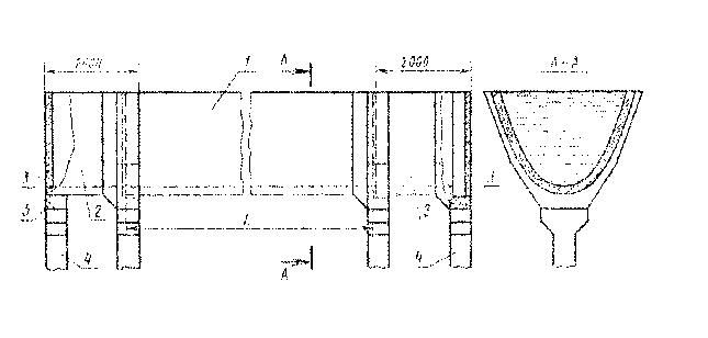
Форма,  основные размеры и показатели материалоемкости (расход бетона и стали) лотков должны соответствовать указанным на черт.1 и в табл.1

           

Черт.1



Таблица 1

(Левая часть)

















Марка

лотка


            

   Код ОКП  

                Основные размеры, мм








     

            

 


  

 


  

 


 

 


 

 


 

 




 


 

 




 




 



ЛР4  

58 5821 0401


    

    

    

 400


    

 450


    

 465


    

 540


    

 800


    

 908


    

 940


    

1058


  

50




ЛРГ4


58 5821 0394


    

    

    

    

    

    

    

    

    

    

  



ЛР6  

58 5821 0402


    

    

    

 600


    

 650


    

 665


    

 755


    

 980


    

1084


    

1114


    

1228


  

50




ЛРГ6


58 5821 0395


5980

    

    

    

    

    

    

    

    

    

  

400


ЛР8  

58 5821 0403


    

    

    

 800


    

 860


    

 875


    

 965


    

1132


    

1240


    

1270


    

1396


  

60




ЛРГ8


58 5821 0396


    

    

    

    

    

    

    

    

    

    

  



ЛР10


58 5821 0393


    

    

    

1000


    

1075


    

1090


    

1210


    

1674


    

1804


    

1834


    

1994


  

75



700


ЛРГ10

     

58 5821 0397

            

    

    

    

    

    

    

    

    

    

    

    

    

    

    

    

    

    

    

  

  





Таблица 1

(левая часть)







Марка

лотка


              

    Код ОКП   

 Расход материала   

Справочная

масса, т  

      

              

Бетон,куб.м


Сталь,кг


          

ЛР4   

 58 5821 0401


           

  0,430    

  26,89


          

   1,08   

ЛРГ4  

 58 5821 0394


           

  14,99


          

ЛР6   

 58 5821 0402


           

  0,568    

  33,95


          

   1,42   

ЛРГ6  

 58 5821 0395


           

  23,43


          

ЛР8   

 58 5821 0403


           

  0,767    

  42,65


          

   1,92   

ЛРГ8  

 58 5821 0396


           

  33,15


          

ЛР10  

 58 5821 0393


           

  1,320    

  68,62


          

   3,31   

ЛРГ10



 58 5821 0397


           

  61,04


          


Примечание.  Справочная масса лотка приведена для бетона средней плотностью 2400 кг/куб.м



1.2.  Лотки следует обозначать марками в соответствии с ГОСТ 23009-78.

Марка  лотка состоит из одной буквенно-цифровой группы и содержит обозначение типа лотка и номинальную высоту лотка в дециметрах, значение которой округляют до целого числа.

Пример  условного обозначения (марки) железобетонного раструбного лотка типа ЛР высотой 400 мм:


ЛР4.

1.1,  1.2. (Измененная редакция, Изм N 1).



2. ТЕХНИЧЕСКИЕ ТРЕБОВАНИЯ


2.1.  Лотки следует изготовлять в соответствии с требованиями настоящего стандарта и технологической документации, утвержденной в установленном порядке, по рабочим чертежам типовых конструкций серии 3.820.1-34с/85.

Лотки  следует изготовлять с применением термощитов-пригрузов.


2.2.  Значения действительных отклонений геометрических параметров не должны превышать предельных, указанных в табл.2.


                                            

 Таблица 2




   Вид отклонения

  геометрического

     параметра    

  Наименование геометрического   

            параметра            

                                 

Предельное

отклонение,

    мм


  Отклонение от       

  линейного           

  размера             

                      

                      

                      

                      

                      

                      

                      

                      

                      

                      

  Отклонение от       

  прямолинейности     

                      

                      

                      

  Отклонение от       

  перпендикулярности  

                      

                      

                      

                      

  Длина лотка                    

                                 

  Высота лотка марок: ЛР4, ЛРГ4  

ЛР6, ЛРГ6, ЛР8, ЛРГ8, ЛР10, ЛРГ10

                                 

    Толщина стенки лотка  марок:

ЛР4, ЛРГ4, ЛР6, ЛРГ6, ЛР8, ЛРГ8

ЛР10, ЛРГ10                      

                                 

  Положение закладных изделий:   

  в плоскости лотка              

  из плоскости лотка             

                                 

  Прямолинейность образующей     

поверхности лотка на длине:      

  1000 мм                        

  на всей длине                  

                                 

  Перпендикулярность торцевой    

поверхности к продольной оси лот-

ка марок:                        

ЛР4, ЛРГ4                        

ЛР6, ЛРГ6, ЛР8, ЛРГ8, ЛР10, ЛРГ10

                                 

    10

  

   8

    10

  

   +2,-1

   +3,-1

  

      5

      3

  


      5

     10

  



      6

      8



2.3.  Лотки должны быть водонепроницаемыми и выдерживать гидростатические испытания при нагружении расчетной эксплуатационной нагрузкой.

Лотки  должны удовлетворять требованиям ГОСТ 13015.0-83:

по  показателям фактической прочности бетона (в проектном возрасте и отпускной);

по  морозостойкости и водонепроницаемости бетона;

к  качеству материалов, применяемых для приготовления бетона;

к  бетону, а также к материалам для приготовления бетона лотков, применяемых в условиях воздействия агрессивных грунтов и грунтовых вод;

к  форме и размерам арматурных и закладных изделий и их положению в лотке;

к  маркам сталей для арматурных и закладных изделий, в том числе для монтажных петель;

по  отклонению толщины защитного слоя бетона;

по  защите от коррозии;

по  применению форм для изготовления лотков.


2.4.  Лотки следует изготовлять из тяжелого бетона марки по прочности на сжатие М300.


2.5.  Нормируемая отпускная прочность бетона должна составлять 70% марки бетона по прочности на сжатие.


2.6.  Заполнители, применяемые для приготовления бетона лотков, должны удовлетворять требованиям ГОСТ 10268-80. Наибольшая крупность заполнителя должна быть не более 15 мм.


2.7.  Бетон, применяемый для изготовления лотков, должен приготовляться на портландцементе марки не ниже 400 по ГОСТ 10178-76, а для изготовления лотков, предназначенных для эксплуатации в грунтах с агрессивными водами, - на сульфатостойком портландцементе по ГОСТ 22266-76.

Применение  шлакопортландцемента, пуццоланового портландцемента, а также портландцемента с активными добавками не допускается.


2.8.  Толщина защитного слоя бетона до рабочей арматуры должна быть не менее 15 мм.

Для  лотков, эксплуатируемых в условиях агрессивной среды, отклонения толщины защитного слоя бетона до арматуры не должны быть более плюс 3 мм.


2.9.  Сварные арматурные и закладные изделия должны удовлетворять требованиям ГОСТ 10922-75.

Продольные  стержни сеток ненапряженных лотков должны выполняться из горячекатаной стали периодического профиля диаметром 6 мм класса А-III по ГОСТ 5781-82.

Поперечное  армирование лотков должно выполняться из арматурной проволоки периодического профиля класса Вр-1 диаметром 5 мм по ГОСТ 6727-80.


2.1.-2.9.  (Измененная редакция, Изм N 1).


2.10.  (Исключен, Изм N 1).


2.11.  На внутренней поверхности раструба и на наружной поверхности конца лотка в зоне расположения уплотняющих материалов не допускаются наплывы и околы бетона, а также раковины диаметром более 3 мм и глубиной более 2 мм. Число раковин на площади 0,01 кв.м (100х100 мм) на любом участке указанной зоны поверхности должно быть не более трех. Остальная бетонная поверхность лотка должна быть категории А6 по ГОСТ 13015.0-83.

На  поверхности лотков не допускаются трещины, за исключением местных усадочных трещин шириной не более 0,1 мм на наружной поверхности раструба и технологического прилива в шелыге лотка.

(Измененная  редакция, Изм N 1).


2.12.  Закладные изделия фиксаторов в лотках типа ЛРГ следует изготовлять из стальной полосы марки ВСт.3сп2 по ГОСТ 103-76, арматуры класса А-1 по ГОСТ 5781-82 и приваривать к арматурной сетке раструба.


2.13.  Предприятия-изготовители лотков должны поставлять потребителям лотки в комплекте с уплотняющими материалами для герметизации стыковых соединений: жгуты из резины круглого сечения по ГОСТ 6467-79 или резиновые пористые прокладки по ГОСТ 19177-81.


2.12,  2.13. (Введены дополнительно, Изм N 1).



3. ПРАВИЛА ПРИЕМКИ И МЕТОДЫ ИСПЫТАНИЙ


        3.1. Приемку лотков следует производить партиями в соответствии с требованиями ГОСТ 13015.1-81 и настоящего стандарта.

Число  лотков в партии должно быть не более:

200  - для лотков высотой 400-800 мм;

100  - для лотков высотой 1000 мм.

3.2.  Приемку лотков по показателям морозостойкости и водонепроницаемости бетона следует проводить по результатам периодических испытаний.

3.3.  Приемку лотков по показателям их водонепроницаемости, прочности бетона (марке по прочности на сжатие и отпускной прочности), соответствия арматурных и закладных изделий проектной документации, прочности сварных соединений, точности геометрических параметров, толщины защитного слоя бетона до арматуры, ширины раскрытия усадочных трещин, категории бетонной поверхности следует проводить по результатам приемо-сдаточных испытаний и контроля.

Испытанию  на водонепроницаемость следует подвергать 1% лотков от партии, но не менее двух лотков.

3.4.  Приемку лотков по показателям точности геометрических параметров, толщины защитного слоя бетона до арматуры, качества бетонных поверхностей, контролируемым путем измерений, следует осуществлять по результатам одноступенчатого выборочного контроля.

3.5.  Размеры лотков, положение монтажных петель, толщину защитного слоя бетона до арматуры, а также качество поверхностей и внешний вид лотков проверяют по ГОСТ 13015-75.

Измерение  толщины стенки производят в торцах лотков равномерно по периметру сечения лотка не менее чем в пяти точках.

Неперпендикулярность  торцевых плоскостей лотка к его продольной оси определяют измерением наибольшего зазора между торцевой плоскостью лотка и металлическим проверочным угольником, установленным под прямым углом к борту лотка.

Определение  толщины защитного слоя бетона, размеров и расположения арматуры может производиться также просвечиванием ионизирующими излучениями по ГОСТ 17625-83.

3.6.  Прочность бетона на сжатие следует определять по ГОСТ 10180-78.

Контроль  и оценку однородности и прочности бетона лотков следует производить по ГОСТ 18105.1-80.

В  случае, если при проверке будет установлено, что фактическая отпускная прочность бетона лотков ниже требуемой отпускной прочности, то поставку лотков потребителю следует производить после достижения бетоном прочности, соответствующей марке бетона по прочности на сжатие.


3.7.  Морозостойкость бетона следует определять по ГОСТ 10060-76, водонепроницаемость бетона - по ГОСТ 12730.5-78.


3.1.-3.7.  (Измененная редакция, Изм. N 1).


3.8,  3.9 (Исключены, Изм. N 1).


3.10.  Испытание лотков на водонепроницаемость проводят на специальном стенде по схеме, приведенной на черт.2, в следующем порядке.

          

Схема гидростатических испытаний лотка на водонепроницаемость

1 - испытуемый лоток; 2 - укороченный лоток (2 шт.); 3 - заглушки;

4 - опоры лотков; 5 - прокладка.

Черт.2


     

При  перевозке лотков железнодорожным транспортом их погрузка и крепление должны производиться в соответствии с действующими инструкциями по перевозке грузов, утвержденными Министерством путей сообщения.

После  приложения каждой ступени нагрузки лоток выдерживают под этой нагрузкой в течение 15 мин и производят осмотр лотка с целью обнаружения трещин, течи или влажных пятен.

Лоток,  полностью заполненный водой, выдерживают в течение суток.


3.11.  Партию лотков считают выдержавшей испытание на водонепроницаемость, если во всех лотках, отобранных из этой партии в количестве, установленном в п.3.3, через сутки после их наполнения не будет обнаружено фильтрации воды в виде влажных пятен или течи.

При  получении неудовлетворительных результатов испытаний хотя бы на одном лотке, проводят повторное испытание удвоенного количества образцов, взятых из той же партии. При неудовлетворительном результате повторных испытаний партию считают не выдержавшей испытания.


3.10,  3.11. (Измененная редакция, Изм. N 1).



4. МАРКИРОВКА, ХРАНЕНИЕ И ТРАНСПОРТИРОВАНИЕ


4.1.  Маркировка лотков - по ГОСТ 13015.2-81. Маркировочные надписи и знаки следует наносить на наружной поверхности раструба лотка.


4.2.  Транспортирование и хранение лотков - по ГОСТ 13015.4-84 и настоящему стандарту.

Лотки  укладывают в штабели на специальных прокладках, исключающих возникновение распорных усилий, раструбами в разные стороны. Под нижний лоток устанавливают подкладки. Высота штабеля не должна превышать 2 м.


4.1,  4.2. (Измененная редакция, Изм. N 1).


4.3.  Проходы между штабелями следует устраивать в продольном направлении через каждые два смежных штабеля, а в поперечном - не реже чем через 25 м. Ширина проходов должна быть не менее 0,7 м, а величина зазоров между смежными штабелями - не менее 0,2 м.


4.4.  Перевозка лотков автотранспортом должна производиться на автомашинах, оборудованных специальными контейнерами.


4.5.  Лотки транспортируют как в рабочем, так и в нерабочем положении (дном вверх).


4.4,  4.5. (Измененная редакция, Изм. N 1).


4.6.  (Исключен, Изм. N 1).


4.7.  Требования к документу о качестве лотков, поставляемых потребителю, - по ГОСТ 13015.3-81.

(Измененная  редакция, Изм. N 1).




Текст документа сверен по:

официальное издание

М.: Издательство стандартов, 1985

Предоставлено компанией МГК "Информпроект".




Хотите оперативно узнавать о новых публикациях нормативных документов на портале? Подпишитесь на рассылку новостей!

Все ГОСТы >>    ГОСТы «Бетон, ЖБИ, кирпич, фасадные материалы >>



Смотрите также: Каталог «Бетон, ЖБИ, кирпич, фасадные материалы» >>
Компании «Бетон, ЖБИ, кирпич, фасадные материалы» >>
Статьи (67) >>
ГОСТы (206) >>
СНиПы (14) >>
ВСН (5) >>
Подписка на рассылки >>
Задать вопрос в форуме >>
Форум "Нормативные документы по устройству фундаментов" >>
Форум "Перекрытия" >>
Форум "Бетон, ЖБИ, кирпич, газоблоки, пеноблоки" >>
Форум "Кирпич, газобетон, керамические блоки" >>
Форум "Бетон и цемент" >>
Форум "Нормативные документы по бетону" >>
Форум "Фасады: отделка и ремонт. Облицовка цоколя" >>
наверх