ГОСТ 19804.6-83 Сваи полые круглого сечения и сваи-оболочки железобетонные составные с ненапрягаемой арматурой.
ГОСТ 19804.6-83 Сваи полые круглого сечения и сваи-оболочки железобетонные составные с ненапрягаемой арматурой. Конструкция и размеры (Черт.1-15)
ГОСТ 19804.6-83 Сваи полые круглого сечения и сваи-оболочки железобетонные составные с ненапрягаемой арматурой. Конструкция и размеры (Черт.16-21, Приложение)
ГОСТ 19804.6-83
Группа Ж33
ГОСУДАРСТВЕННЫЙ СТАНДАРТ СОЮЗА ССР
СВАИ ПОЛЫЕ КРУГЛОГО СЕЧЕНИЯ И СВАИ-ОБОЛОЧКИ
ЖЕЛЕЗОБЕТОННЫЕ СОСТАВНЫЕ С НЕНАПРЯГАЕМОЙ
АРМАТУРОЙ
Конструкция и размеры
Reinforced-concrete round hole built-up
piles and tubular piles
Structure and dimensions
ОКП 58 1721
Дата введения 1984-01-01
УТВЕРЖДЕН И ВВЕДЕН В ДЕЙСТВИЕ Постановлением Государственного комитета СССР по делам строительства от 2 февраля 1983 г. N 21
ПЕРЕИЗДАНИЕ июнь 1992 г.
1. Настоящий стандарт распространяется на железобетонные составные полые сваи круглого сечения (в дальнейшем - сваи) диаметром от 400 до 800 мм, сваи-оболочки диаметром от 1000 до 1600 мм с ненапрягаемой продольной арматурой, с болтовыми и сварными стыками и устанавливает конструкцию свай, свай-оболочек и их секций, а также конструкцию арматурных и закладных изделий к ним.
Сваи и сваи-оболочки и их секции должны удовлетворять всем требованиям ГОСТ 19804-91 и требованиям изложенным, в соответствующих разделах настоящего стандарта.
Условия расчета и применения свай и свай-оболочек даны в справочном приложении.
Марки свай и их секций имеют в обозначении буквы СК, марки свай-оболочек и их секций - СО или СОУ (усиленные). Марки свай и свай-оболочек и их секций с болтовыми стыками имеют в конце цифрового обозначения букву "б", со сварными стыками - буквы "св", например: СК6-40б, СО6-100св. Марки свай и их секций с наконечником имеют в конце цифрового обозначения букву "н", например, СК10-80свн.
2. Конструкция и размеры секций свай и свай-оболочек
2.1. Секции свай изготовляют с закрытым нижним концом (с наконечником) или с открытым нижним концом. Секции свай-оболочек изготовляют с открытым нижним концом.
Концы секций, образующих стык в свае или свае-оболочке, изготовляют с элементами, предназначенными для выполнения болтового или сварного стыка.
2.2. Форма, марки, номинальные размеры секций и их технические показатели (марка бетона по прочности на сжатие и расход материалов), а также места строповки должны соответствовать указанным на черт.1, 2 и в табл.1.
Секции свай без наконечника или сваи-оболочки
1 - место строповки при выемке из опалубки и транспортировании
(одинарная полоса); 2 - место строповки при подъеме на копер (двойная полоса);
3 - элемент стыка.
Черт. 1
Секции свай с наконечником
1 - место строповки при выемке из опалубки и транспортировании (одинарная полоса);
2 - место строповки при подъеме на копер (двойная полоса); 3 - элемент стыка
Черт. 2
Таблица 1
Номенклатура секций свай и свай-оболочек
|
|
|
|
|
|
|
|
|
|
|
|
|
|
|
|
|
|
|
|
|
||||||
|
сваи и сваи- оболочки
|
L
|
|
|
D
|
d
|
|
|
|
|
|
|
|
|
СК6-40б
|
6000
|
-
|
-
|
|
|
|
|
|
|
|
|
|
|
СК8-40б СК8-40бн
|
8000
|
1650
|
2400
|
|
|
|
|
|
|
|
|
|
|
СК10-40б СК10-40бн
|
10000
|
2100
|
2900
|
|
|
|
|
|
|
|
|
|
|
СК12-40б СК12-40бн
|
12000
|
2500
|
3500
|
400
|
240
|
|
|
|
|
|
|
|
|
СК14-40б СК14-40бн
|
14000
|
2900
|
4100
|
|
|
|
|
|
|
|
|
|
|
СК16-40б СК16-40бн
|
16000
|
3300
|
4700
|
|
|
|
|
|
|
|
|
|
|
СК18-40б СК18-40бн
|
18000
|
3700
|
5300
|
|
|
80
|
|
|
|
|
|
|
|
СК6-50б
|
6000
|
-
|
-
|
|
|
|
|
|
|
|
|
|
|
СК8-50б СК8-50бн
|
8000
|
1650
|
2400
|
|
|
|
|
|
|
|
|
|
|
СК10-50б СК10-50бн
|
10000
|
2100
|
2900
|
|
|
|
|
|
|
|
|
|
|
СК12-50б СК12-50бн
|
12000
|
2500
|
3500
|
500
|
340
|
|
|
|
|
|
|
|
|
СК14-50б СК14-50бн
|
14000
|
2900
|
4100
|
|
|
|
|
|
|
|
|
|
|
СК16-50б СК16-50бн
|
16000
|
3300
|
4700
|
|
|
|
|
|
|
|
|
|
|
СК18-50б СК18-50бн
|
18000
|
3700
|
5300
|
|
|
|
|
|
|
|
|
|
|
СК6-60б
|
6000
|
-
|
-
|
|
|
|
|
|
|
|
|
|
|
СК8-60б СК8-60бн
|
8000
|
1650
|
2400
|
|
|
|
|
|
|
|
|
|
|
СК10-60б СК10-60бн
|
10000
|
2100
|
2900
|
|
|
|
|
|
|
|
|
|
|
СК12-60б СК12-60бн
|
12000
|
2500
|
3500
|
600
|
400
|
|
|
|
|
|
|
|
|
СК14-60б СК14-60бн
|
14000
|
2900
|
4100
|
|
|
|
|
|
|
|
|
|
|
СК16-60б СК16-60бн
|
16000
|
3300
|
4700
|
|
|
100
|
|
|
|
|
|
|
|
СК18-60б СК18-60бн
|
18000
|
3700
|
5300
|
|
|
|
|
|
|
|
|
|
|
СК6-80б
|
6000
|
|
|
|
|
|
|
|
|
|
|
|
|
СК8-80б СК8-80бн
|
8000
|
|
|
800
|
600
|
|
|
|
|
|
|
|
|
СК10-80б СК10-80бн
|
10000
|
-
|
-
|
|
|
|
|
|
|
|
|
|
|
СК12-80б СК12-80бн
|
12000
|
|
|
|
|
|
|
|
|
|
|
|
|
СО6-100б
|
6000
|
|
|
|
|
|
|
|
|
|
|
|
|
СО8-100б
|
8000
|
|
|
1000
|
760
|
120
|
|
|
|
|
|
|
|
СО10-100б
|
10000
|
|
|
|
|
|
|
|
|
|
|
|
|
СО12-100б
|
12000
|
|
|
1000
|
760
|
|
|
|
|
|
|
|
|
СО6-120б
|
6000
|
|
|
|
|
|
|
|
|
|
|
|
|
СО8-120б
|
8000
|
|
|
1200
|
960
|
|
|
|
|
|
|
|
|
СО10-120б
|
10000
|
|
|
|
|
|
|
|
|
|
|
|
|
СО12-120б
|
12000
|
|
|
|
|
|
|
|
|
|
|
|
|
СО6-160б
|
6000
|
|
|
|
|
|
|
|
|
|
|
|
|
СО8-160б
|
8000
|
|
|
1600
|
1360
|
|
|
|
|
|
|
|
|
СО10-160б
|
10000
|
|
|
|
|
|
|
|
|
|
|
|
|
СО12-160б
|
12000
|
|
|
|
|
|
|
|
|
|
|
|
|
СК6-40св
|
6000
|
|
|
|
|
|
|
|
|
|
|
|
|
СК8-40cв СК8-40свн
|
8000
|
|
|
|
|
|
|
|
|
|
|
|
|
СК10-40св СК10-40свн
|
10000
|
|
|
|
|
|
|
|
|
|
|
|
|
СК12-40св СК12-40свн
|
12000
|
|
|
400
|
240
|
|
|
|
|
|
|
|
|
СК14-40св СК14-40свн
|
14000
|
2900
|
4100
|
|
|
|
|
|
|
|
|
|
|
СК16-40св СК16-40свн
|
16000
|
3300
|
4700
|
|
|
|
|
|
|
|
|
|
|
СК18-40св СК18-40свн
|
18000
|
3700
|
5300
|
|
|
80
|
|
|
|
|
|
|
|
СК6-50св
|
6000
|
|
|
|
|
|
|
|
|
|
|
|
|
СК8-50св СК8-50свн
|
8000
|
|
|
|
|
|
|
|
|
|
|
|
|
СК10-50св СК10-50свн
|
10000
|
-
|
-
|
|
|
|
|
|
|
|
|
|
|
СК12-50св СК12-50свн
|
12000
|
|
|
500
|
340
|
|
|
|
|
|
|
|
|
СК14-50св СК14-50свн
|
14000
|
2900
|
4100
|
|
|
|
|
|
|
|
|
|
|
СК16-50св СК16-50свн
|
16000
|
3300
|
4700
|
|
|
|
|
|
|
|
|
|
|
СК18-50св СК18-50свн
|
18000
|
3700
|
5300
|
|
|
|
|
|
|
|
|
|
|
СК6-60св
|
6000
|
|
|
|
|
|
|
|
|
|
|
|
|
СК8-60св СК8-60свн
|
8000
|
|
|
|
|
|
|
|
|
|
|
|
|
СК10-60св СК10-60свн
|
10000
|
|
|
|
|
|
|
|
|
|
|
|
|
СК12-60св СК12-60свн
|
12000
|
|
|
600
|
400
|
|
|
|
|
|
|
|
|
СК14-60св СК14-60свн
|
14000
|
2900
|
4100
|
|
|
|
|
|
|
|
|
|
|
СК16-60св СК16-60свн
|
16000
|
3300
|
4700
|
|
|
100
|
|
|
|
|
|
|
|
СК18-60св СК18-60свн
|
18000
|
3700
|
5300
|
|
|
|
|
|
|
|
|
|
|
СК6-80св
|
6000
|
|
|
|
|
|
|
|
|
|
|
|
|
СК8-80св СК8-80свн
|
8000
|
|
|
800
|
600
|
|
|
|
|
|
|
|
|
СК10-80св СК10-80свн
|
10000
|
|
|
|
|
|
|
|
|
|
|
|
|
СК12-80св СК12-80свн
|
12000
|
|
|
|
|
|
|
|
|
|
|
|
|
СО6-100св
|
6000
|
|
|
|
|
|
|
|
|
|
|
|
|
СО8-100св
|
8000
|
|
|
1000
|
760
|
|
|
|
|
|
|
|
|
СО10-100св
|
10000
|
|
|
|
|
|
|
|
|
|
|
|
|
СО12-100св
|
12000
|
|
|
|
|
|
|
|
|
|
|
|
|
СО6-120св СОУ6-120св
|
6000
|
-
|
-
|
|
|
|
|
|
|
|
|
|
|
СО8-120св СОУ8-120свн
|
8000
|
|
|
|
|
|
|
|
|
|
|
|
|
СО10-120св СОУ10-120св
|
10000
|
|
|
12000
|
960
|
120
|
|
|
|
|
|
|
|
СО12-120св СОУ12-120св
|
12000
|
|
|
|
|
|
|
|
|
|
|
|
|
СО6-160св СОУ6-160св
|
6000
|
|
|
|
|
|
|
|
|
|
|
|
|
СО8-160св СОУ8-160св
|
8000
|
|
|
|
|
|
|
|
|
|
|
|
|
СО10-160св СОУ10-160св
|
10000
|
|
|
16000
|
1360
|
120
|
|
|
|
|
|
|
|
СО12-160св СОУ12-160св
|
12000
|
|
|
|
|
|
|
|
|
|
|
|
2.3. В качестве крупного и мелкого заполнителей для бетона секций следует применять фракционированный щебень из естественного камня с размерами фракций 10 - 20 мм и природный обогащенный песок, отвечающие требованиям ГОСТ 26633-91. Применение гравия в качестве крупного заполнителя не допускается.
2.4. Секции следует армировать пространственными каркасами из стали следующих видов и классов:
продольная арматура - горячекатаная арматурная сталь класса А-III по ГОСТ 5781-82 или класса Ат-III по ГОСТ 10884-81 (только для стержней диаметром 10 мм и более);
поперечная арматура (спираль) - арматурная проволока класса Вр-I или В-I по ГОСТ 6727-80, арматура наконечника - горячекатаная арматурная сталь класса А-I по ГОСТ 5781-82.
Для изготовления наконечника и стыковых элементов секций следует применять листовую сталь толщиной 1 мм по ГОСТ 19903-74.
2.5. Арматурные каркасы следует изготовлять на навивочно-сварочных станках. Спираль следует приваривать к продольным стержням в каждом третьем пересечении или в каждом пересечении через два витка на третий.
На расстоянии 0,5 м от концов каркаса спираль должна быть приварена в каждом пересечении к продольным стержням.
Допускается изготовлять арматурные каркасы на специализированных стендах с обязательной контактной точечной сваркой пересечений продольной и поперечной арматуры.
2.6. Армирование секций с элементами болтовых стыков должно соответствовать указанному на черт. 3 и 4.
Спецификация арматурных изделий и элементов болтовых стыков на одну секцию приведена в табл. 2, выборка стали - в табл. 3.
Армирование секций свай и свай-оболочек
с элементами болтовых стыков
Черт. 3
Армирование секций свай с элементами болтовых стыков
и с наконечником
Черт. 4
Арматурный
каркас К6-40б
К12-160б
Черт. 5
Арматурный
каркас К8-40бн
К12-80бн
Черт. 6
Таблица 2
Спецификация арматурных изделий на секцию сваи
и сваи-оболочки с элементами болтовых стыков
|
|
|
|
|
|
|
|
|
|
|
|
|
|
|
|
|
|
|
|
|
|
|
|
|
|
|
|
|
|
|
|
|
|
|
|
|
|
|
|
|
|
|
|
|
|
|
|
|
|
|
|
|
|
|
|
|
|
|
|
|
|
Таблица 3
Выборка стали на секцию сваи и сваи-оболочки с
элементами болтовых стыков
|
|
|
|
|
|
|
|
|
|
|
|
|
|
|
|
|
|
|
|
|
|||||||||
|
|
|
|
|
|
||||||||
|
|
|
|
|
|
|
|
|
|||||
|
|
|
|
|
|
|
|
|
|
|
|
|
|
|
|
|
|
|
|
|
|
|
|
|
|
|
|
||
|
|
|
|
|
|
|
|
|
|
|
|
|
|
|
|
|
|
|
|
|
|
|
|
|
|
|
|
|
|
|
|
|
|
|
|
|
|
|
|
|
|
|
|
|
|
|
|
|
|
|
|
|
|
|
|
|
|
|
|
|
|
|
|
|
|
|
|
|
|
|
|
|
|
|
|
|
|
|
|
|
|
|
|
|
|
|
|
|
|
|
|
|
|
|
|
|
|
|
|
|
|
|
|
|
|
|
|
|
|
|
|
|
|
|
|
|
|
|
|
|
|
|
|
|
|
|
|
|
|
|
|
|
|
|
|
|
|
|
|
2.7. Форма и размеры арматурных каркасов секций с элементами болтовых стыков должны соответствовать указанным на черт. 5 и 6.
Ведомость стержней на один каркас приведена в табл. 4, выборка стали в табл. 5.
Таблица 4
Ведомость стержней на один каркас секции сваи и сваи-оболочки
с элементами болтовых стыков
|
|
|
|
|
|
|
|
|
|
|
|
|
|
|
|
|
||
|
|
|
|
|
|
|
|
|
|
|
|
|
|
|
|
|
|
|
|
|
|
|
|
|
|
|
|
|
|
|
|
|
|
|
|
|
|
|
|
|
|
|
|
|
|
|
|
|
|
|
|
|
|
|
|
|
|
|
|
|
|
|
|
|
|
|
|
|
|
|
|
|
|
|
|
|
|
|
|
|
|
|
|
|
|
|
|
|
|
|
|
|
|
|
|
|
|
|
|
|
|
|
|
|
|
|
|
|
|
|
|
|
|
|
|
|
|
|
|
|
|
|
|
|
|
|
|
|
|
|
|
|
|
|
|
|
|
|
|
|
|
|
|
|
|
|
|
|
|
|
|
|
|
|
|
|
|
|
|
|
|
|
|
|
|
|
|
|
|
|
|
|
|
|
|
|
|
|
|
|
|
|
|
|
|
|
|
|
|
|
|
|
|
|
|
|
|
|
|
|
|
|
|
|
|
|
|
|
|
|
|
|
|
|
|
|
|
|
|
|
|
|
|
|
|
|
|
|
|
|
|
|
|
|
|
|
|
|
|
|
|
|
|
|
|
|
|
|
|
|
|
|
|
|
|
|
|
|
|
|
|
|
|
|
|
|
|
|
|
|
|
|
|
|
|
|
|
|
|
|
|
|
|
|
|
|
|
|
|
|
|
|
|
|
|
|
|
|
|
|
|
|
|
|
|
|
|
|
|
|
|
|
|
|
|
|
|
|
|
|
|
|
|
|
|
|
|
|
|
|
|
|
|
|
|
|
|
|
|
|
|
|
|
|
|
|
|
|
|
|
|
|
|
|
|
|
|
|
|
|
|
|
|
|
|
|
|
|
|
|
|
|
|
|
|
|
|
|
|
|
|
|
|
|
|
|
|
|
|
|
|
|
|
|
|
|
|
|
|
|
|
|
|
|
|
|
|
|
|
|
|
|
|
|
|
|
|
|
|
|
|
|
|
|
|
|
|
|
|
|
|
|
|
|
|
|
|
|
|
|
|
|
|
|
|
|
|
|
|
|
|
|
|
|
|
|
|
|
|
|
|
|
|
|
|
|
|
|
|
|
|
|
|
|
|
|
|
|
|
|
|
|
|
|
|
|
|
|
|
|
|
|
|
|
|
|
|
|
|
|
|
|
|
|
|
|
|
|
|
|
|
|
|
|
|
|
|
|
|
|
|
|
|
|
|
|
|
|
|
|
|
Таблица 5
Выборка стали на каркас секции сваи и сваи-оболочки с элементами
болтовых стыков
|
|
|
|
|
|
|
|
|
|
|
|
|||
|
|
|
|
|
|
||
|
|
|
|
|
|
|
|
|
|
|
|
|
|
|
|
|
|
|
|
|
|
|
|
|
|
|
|
|
|
|
|
|
|
|
|
|
|
|
|
|
|
|
|
|
|
|
|
|
|
|
|
|
|
|
|
|
|
|
|
|
|
|
|
2.8. Армирование секций с элементами сварных стыков должно соответствовать указанному на черт. 7 и 8.
Спецификация арматурных изделий и элементов сварных стыков на одну секцию приведена в табл. 6, выборка стали - в табл. 7.
Армирование секций свай и свай-оболочек с элементами
сварных стыков
Черт. 7
Армирование секций свай и свай-оболочек с элементами
сварных стыков и с наконечниками
Черт. 8
Таблица 6
Спецификация арматурных изделий на секцию сваи и сваи-оболочки с элементами сварных стыков
|
|
|
|
|
|
|
|
|
|
|
|
|
|
|
||
|
|
|
|
|
|
|
|
|
|
|
|
|
|
|
|
|
|
|
|
|
|
|
|
|
|
|
|
|
|
|
|
|
|
|
|
|
|
|
|
|
|
|
|
|
|
|
|
|
|
|
|
|
|
|
|
|
|
|
|
|
|
|
|
Таблица 7
(Левая часть)
Выборка стали на секцию сваи и сваи-оболочки
с элементами сварных стыков
|
|
|
|
|
|
|
|
|
|
|
|
|
|
|
|
||||||||
|
|
|
|
|||||||
|
|
|
|
|
||||||
|
|
|
|
|
|
|
|
|
|
|
|
|
-
|
-
|
|
42,3
|
|
4,8
|
47,1
|
|
15,6
|
|
|
|
|
|
|
|
|
|
|
|
|
|
|
|
|
|
|
|
|
|
|
|
|
|
|
|
|
|
|
|
|
|
|
|
|
|
|
|
|
|
|
|
|
|
|
|
|
|
|
|
|
|
|
|
|
|
|
|
|
|
|
|
|
|
|
|
|
|
|
|
|
|
|
|
|
|
|
|
|
|
|
|
|
|
|
|
|
|
|
|
|
|
|
|
|
|
|
|
|
|
|
|
|
|
|
|
|
|
|
|
|
|
|
|
|
|
|
|
|
|
|
|
|
|
|
|
|
|
|
|
|
|
|
|
|
|
|
|
|
|
|
|
|
|
|
|
|
|
|
|
|
|
|
|
|
|
|
|
|
|
|
|
|
|
|
|
|
|
|
|
|
|
|
|
|
|
|
|
|
|
|
|
|
|
|
|
|
|
|
|
|
|
|
|
|
|
|
|
|
|
|
|
|
|
|
|
|
|
|
|
|
|
|
|
|
|
|
|
|
|
|
|
|
|
|
|
|
|
|
|
|
|
|
|
|
|
|
|
|
|
|
|
|
|
|
|
|
|
|
|
|
|
|
|
|
|
|
|
|
|
|
|
|
|
|
|
|
|
|
|
|
|
|
|
|
|
|
|
|
|
|
|
|
|
|
|
|
|
|
|
|
|
|
|
|
|
|
|
|
|
|
|
|
|
|
|
|
|
|
|
|
|
|
|
|
|
|
|
|
|
|
|
|
|
|
|
|
|
|
|
|
|
|
|
|
|
|
|
|
|
|
|
|
|
|
|
|
|
|
|
|
|
|
|
|
|
|
|
|
|
|
|
|
|
|
|
|
|
|
|
|
|
|
|
|
|
|
|
|
|
|
|
|
|
|
|
|
|
|
|
|
|
|
|
|
|
|
|
|
|
|
|
|
|
|
|
|
|
|
|
|
|
|
|
|
|
|
|
|
|
|
|
|
|
|
|
|
|
|
|
|
|
|
|
|
|
|
|
|
|
|
|
|
|
|
|
|
|
|
|
|
|
|
|
|
|
|
|
|
|
|
|
|
|
|
|
|
|
|
|
|
|
|
|
|
|
|
|
|
|
|
|
|
|
|
|
|
|
|
|
|
|
|
|
|
|
|
|
|
|
|
|
|
|
|
|
|
|
|
|
|
|
|
|
|
|
|
|
|
|
|
|
|
|
|
|
|
|
|
|
|
|
|
|
|
|
|
|
|
|
|
|
|
|
|
|
|
|
|
|
|
|
|
|
|
|
|
|
|
|
|
|
|
|
|
|
|
|
|
|
|
|
|
|
|
|
|
|
|
|
|
|
|
|
|
|
|
|
|
|
|
|
|
|
|
|
|
|
|
|
|
|
|
|
|
|
|
|
|
|
|
|
|
|
|
|
|
|
|
|
|
|
|
|
|
|
|
|
|
|
|
|
|
|
|
|
|
|
|
|
|
|
|
|
|
|
|
|
|
|
|
|
|
|
|
|
|
|
|
|
|
|
|
|
|
|
|
|
|
|
|
|
|
|
|
|
|
|
|
|
|
|
|
|
|
|
|
|
|
|
|
|
|
|
|
|
|
|
|
|
|
|
|
|
Таблица 7
Правая часть
|
|
|
|
|
|
|
|
|
|
|
|
|
|
||||
|
|
|
|
||||
|
|
|
|
|
|
||
|
|
|
|
|
|
|
|
|
|
|
|
|
|
|
||
|
|
|
|
|
|
|
|
|
|
|
|
|
|
|
|
|
|
|
|
|
|
|
|
|
|
|
|
|
|
|
|
|
|
|
|
|
|
|
|
|
|
|
|
|
|
|
|
|
|
|
|
|
|
|
|
|
|
|
|
|
|
|
|
|
|
|
|
|
|
|
|
|
|
|
|
|
|
|
|
|
|
|
|
|
|
|
|
|
|
|
|
|
|
|
|
|
|
|
|
|
|
|
|
|
|
|
|
|
|
|
|
|
|
|
|
|
|
|
|
|
|
|
|
|
|
|
|
|
|
|
|
|
|
|
|
|
|
|
|
|
|
|
|
|
|
|
|
|
|
|
|
|
|
|
|
|
|
|
|
|
|
|
|
|
|
|
|
|
|
|
|
|
|
|
|
|
|
|
|
|
|
|
|
|
|
|
|
|
|
|
|
|
|
|
|
|
|
|
|
|
|
|
|
|
|
|
|
|
|
|
|
|
|
|
|
|
|
|
|
|
|
|
|
|
|
|
|
|
|
|
|
|
|
|
|
|
|
|
|
|
|
|
|
|
|
|
|
|
|
|
|
|
|
|
|
|
|
|
|
|
|
|
|
|
|
|
|
|
|
|
|
|
|
|
|
|
|
|
|
|
|
|
|
|
|
|
|
|
|
|
|
|
|
|
|
|
|
|
|
|
|
|
|
|
|
|
|
|
|
|
|
|
|
|
|
|
|
|
|
|
|
|
|
|
|
|
|
|
|
|
|
|
|
|
|
|
|
|
|
|
|
|
|
|
|
|
|
|
|
|
|
|
|
|
|
|
|
|
|
|
|
|
|
|
|
|
|
|
|
|
|
|
|
|
|
|
|
|
|
|
|
|
|
|
|
|
|
|
|
|
|
|
|
|
|
|
|
|
|
|
|
|
|
|
|
|
|
|
|
|
|
|
|
|
|
|
|
|
|
|
|
|
|
|
|
|
|
|
|
|
|
|
|
|
|
|
|
|
|
|
|
|
|
|
|
|
|
|
|
|
|
|
|
|
|
|
|
|
|
|
|
|
|
|
|
|
|
|
|
|
|
|
|
|
|
|
|
|
|
|
|
|
|
|
|
|
|
|
|
|
|
|
|
|
|
|
|
|
|
|
|
|
|
|
|
|
|
|
|
|
|
|
|
|
|
|
|
|
|
2.9. Форма и размеры арматурных каркасов секций с элементами сварных стыков должны соответствовать указанным на черт. 9 - 12.
Ведомость стержней на один каркас приведена в табл. 8, выборка стали - в табл. 9.
Арматурный каркас К6-40св -К18-60св
Черт. 9
Арматурный каркас К8-40свн - К18-60свн
Черт. 10
Арматурный
каркас К6-80св
К12-160св,
КУ6-120св
КУ12-120св,
КУ6-160свК
У12-160св
Черт. 11
Арматурный
каркас К8-80свн
К12-80свн
Черт. 12
Таблица 8
Ведомость стержней на один каркас секции сваи и сваи-оболочки
с элементами сварных стыков
|
|
|
|
|
|
|
|
|
|
|
|
|
|
|
|
|
||
|
|
|
|
|
|
|
|
|
|
|
|
|
|
|
|
|
|
|
|
|
|
|
|
|
|
|
|
|
|
|
|
|
|
|
|
|
|
|
|
|
|
|
|
|
|
|
|
|
|
|
|
|
|
|
|
|
|
|
|
|
|
|
|
|
|
|
|
|
|
|
|
|
|
|
|
|
|
|
|
|
|
|
|
|
|
|
|
|
|
|
|
|
|
|
|
|
|
|
|
|
|
|
|
|
|
|
|
|
|
|
|
|
|
|
|
|
|
|
|
|
|
|
|
|
|
|
|
|
|
|
|
|
|
|
|
|
|
|
|
|
|
|
|
|
|
|
|
|
|
|
|
|
|
|
|
|
|
|
|
|
|
|
|
|
|
|
|
|
|
|
|
|
|
|
|
|
|
|
|
|
|
|
|
|
|
|
|
|
|
|
|
|
|
|
|
|
|
|
|
|
|
|
|
|
|
|
|
|
|
|
|
|
|
|
|
|
|
|
|
|
|
|
|
|
|
|
|
|
|
|
|
|
|
|
|
|
|
|
|
|
|
|
|
|
|
|
|
|
|
|
|
|
|
|
|
|
|
|
|
|
|
|
|
|
|
|
|
|
|
|
|
|
|
|
|
|
|
|
|
|
|
|
|
|
|
|
|
|
|
|
|
|
|
|
|
|
|
|
|
|
|
|
|
|
|
|
|
|
|
|
|
|
|
|
|
|
|
|
|
|
|
|
|
|
|
|
|
|
|
|
|
|
|
|
|
|
|
|
|
|
|
|
|
|
|
|
|
|
|
|
|
|
|
|
|
|
|
|
|
|
|
|
|
|
|
|
|
|
|
|
|
|
|
|
|
|
|
|
|
|
|
|
|
|
|
|
|
|
|
|
|
|
|
|
|
|
|
|
|
|
|
|
|
|
|
|
|
|
|
|
|
|
|
|
|
|
|
|
|
|
|
|
|
|
|
|
|
|
|
|
|
|
|
|
|
|
|
|
|
|
|
|
|
|
|
|
|
|
|
|
|
|
|
|
|
|
|
|
|
|
|
|
|
|
|
|
|
|
|
|
|
|
|
|
|
|
|
|
|
|
|
|
|
|
|
|
|
|
|
|
|
|
|
|
|
|
|
|
|
|
|
|
|
|
|
|
|
|
|
|
|
|
|
|
|
|
|
|
|
|
|
|
|
|
|
|
|
|
|
|
|
|
|
|
|
|
|
|
|
|
|
|
|
|
|
|
|
|
|
|
|
|
|
|
|
|
|
|
|
|
|
|
|
|
|
|
|
|
|
|
|
|
|
|
|
|
|
|
|
|
|
|
|
|
|
|
|
|
|
|
|
|
|
|
|
|
|
|
|
|
|
|
|
Таблица 9
Выборка стали на каркас секции сваи и сваи-оболочки с
элементами сварных стыков
|
|
|
|
|
|
|
|
|
|
|
|
|||
|
|
|
|
|
|
||
|
|
|
|
|
|
|
|
|
|
|
|
|
|
|
|
|
|
|
|
|
|
|
|
|
|
|
|
|
|
|
|
|
|
|
|
|
|
|
|
|
|
|
|
|
|
|
|
|
|
|
|
|
|
|
|
|
2.10. Форма, марки, номинальные размеры наконечников и их арматурных каркасов, а также технические показатели наконечников (марка бетона по прочности на сжатие и расход материалов) должны соответствовать указанным на черт. 13, 14 и в табл. 10.
Ведомость стержней и закладных изделий на один каркас наконечника приведена в табл. 11, выборка стали на один каркас наконечника - в табл. 12.
Арматурные выпуски наконечника следует соединить с продольной арматурой каркаса секции точечной сваркой по ГОСТ 14098-68 или вязальной проволокой до установки в опалубку. Наконечник следует устанавливать по шаблону.
Наконечники
Н40
Н80
Черт. 13
Каркасы
КН40К
Н80
Черт. 14
Таблица 10
Номенклатура наконечников
|
|
|
|
|
|
|
|
|
|
|
|
|
|
|
Масса наконеч- ника,
|
Расход стали на один
|
|
|
|
чника
|
(1 шт.)
|
Н
|
D
|
|
|
т
|
наконеч- ник, кг
|
|
|
|
|
|
|
|
|
|
|
|
|
|
|
|
|
|
|
|
|
|
|
|
|
|
|
|
|
|
|
|
|
|
|
|
|
|
Таблица 11
Ведомость стержней и закладных изделий на
один каркас наконечника
|
|
|
|
|
|
|
|
|
|
|
|
|
|
|
|
|
|
|
||||||
|
|
|
|
|
|
|
|
|
|
|
|
|
|
|
|
|
|
|
|
|
|
|
|
|
|
|
|
|
|
|
|
|
|
|
|
|
|
|
|
|
|
|
|
|
|
|
|
|
|
|
|
|
|
|
|
|
|
|
|
|
|
|
|
|
|
|
|
|
|
|
|
|
|
|
|
|
|
|
|
|
|
|
|
|
|
|
|
|
|
|
|
|
|
|
|
|
|
|
|
|
|
|
|
|
|
|
|
|
|
|
|
|
|
|
|
|
|
|
|
|
|
|
335
|
|
|
|
|
|
|
|
|
|
|
|
-
|
-
|
|
|
|
|
|
|
|
|
|
|
298
|
|
|
|
|
|
|
|
|
|
|
|
|
-
|
446
|
|
|
|
Таблица 12
Выборка стали на один каркас наконечника, кг
|
|
|
|
|
|
|
|
|
|
|
|
|
|
|
|
2.11. Концы секций с элементами сварных стыков должны быть усилены спиралями из проволоки класса Вр-I или В-I по ГОСТ 6727-80.
Ведомость стержней и выборка стали на одну спираль головы приведены в таб. 13.
Таблица 13
Ведомость стержней и выборка стали
на одну спираль головы
|
|
|
|
|
|
|
|
|
|
|
|
|
|
|
|
|
|
|
|
|
|
|
|
|
2.12. Форма, марки, номинальные размеры элементов болтовых стыков должны соответствовать указанным на черт. 15 и в табл. 14.
Элемент болтового стыка
Черт. 15
Таблица 14
Номенклатура элементов болтовых стыков
|
|
|
|
|
|
|
|
|
|
|
|
|
|
|
|
|
|
|
|
|
|
|
||||||||
|
|
|
|
|
|
|
|
|
|
|
|
|
|
|
|
|
|
|
|
|
|
|
|
|
|
|
|
|
|
|
|
|
|
|
|
|
|
|
|
|
|
|
|
|
|
|
|
|
|
|
|
|
|
|
|
|
|
|
|
|
|
|
|
|
|
|
|
|
|
|
|
|
|
|
|
|
|
|
|
|
|
|
|
|
|||||||||
|
|
|
|
|
|
|
|
|
|
|
|
|
|
|
|
|
|
|
|
|
|
|
|
|
|
|
|
|
|
|
|
|
|
|
|
|
|
|
|
|
|
|
|
|
|
|
|
|
|
|
|
|
|
|
|
|
|
|
|
|
|
|
|
|
|
|
|
|
|
|||||||||
|
|
|
|
|
|
|
|
|
|
|
|
|
|
|
|
|
|
|
|
|
|
|
|
|
|
|
|
|
|
|
|
|
|
|
|
|
|
|
|
|
|
|
|
|
|
|
|
|
|
|
|
|
|
|
|
|
|
|
|
|
|
|
|
|
|
|
|
|
|
|||||||||
|
|
|
|
|
|
|
|
|
|
|
|
|
|
|
|
|
|
|
|
|
|
|
|
|
|
|
|
|
|
|
|
|
|
|
|
|
|
|
|
|
|
|
|
|
|
|
|
|
|
|
|
|
|
|
|
|
|
|
|
|
|
|
|
|
|
|
|
|
|
|||||||||
|
|
|
|
|
|
|
|
|
|
|
|
|
|
|
|
|
|
|
|
|
|
|
|
|
|
|
|
|
|
|
|
|
|
|
|
|
|
|
|
|
|
|
|
|
|
|
|
|
|
|
|
|
|
|
|
|
|
|
|
|
|
|
|
|
|
|
|
|
|
|||||||||
|
|
|
|
|
|
|
|
|
|
|
|
|
|
|
|
|
|
|
|
|
|
|
|
|
|
|
|
|
|
|
|
|
|
|
|
|
|
|
|
|
|
|
|
|
|
|
|
|
|
|
|
|
|
|
|
|
|
|
|
|
|
|
|
|
|
|
|
|
|
|||||||||
|
|
|
|
|
|
|
|
|
|
|
|
|
|
|
|
|
|
|
|
|
|
|
|
|
|
|
|
|
|
|
|
|
|
|
|
|
|
|
|
|
|
|
|
|
|
|
|
|
|
|
|
|
|
|
|
|
|
|
|
|
|
|
|
|
|
|
Всего:
|
|
|
|||||||||
|
Примечание: В массу элемента вошла масса наплавленного металла.
|
|
|||||||||||||
2.13. Форма, марки, номинальные размеры элементов сварных стыков должны соответствовать указанным на черт. 16 и в табл. 15.
Элемент сварного стыка
Черт. 16
Таблица 15
|
|
|
|
|
|
|
|
|
|
|
|
|
|
|
|
|
|
|
|
|
|
|
|
|
||||||
|
|
|
|
|
|
|
|
|
|
|
|
|
|
|
|
|
|
|
|
|
|
|
|
|
|
|
|
|
|
|
|
|
|
|
|
|
|
|
|
|
|
|
|
|
|
|
|
|
|
|
|
|
|
|
|
|
|
|
|
|
|
|
|
|
|
|
|
|
|
|
|
|
|
|
|
|
|
|
|
|
|
|
|
||||||||||
|
|
|
|
|
|
|
|
|
|
|
|
|
|
|
|
|
|
|
|
|
|
|
|
|
|
|
|
|
|
|
|
|
|
|
|
|
|
|
|
|
|
-
|
|
|
|
|
|
|
|
|
|
|
|
|
|
|
|
|
|
|
|
|
|
|
|
|
|
|
||||||||||
|
|
|
|
|
|
|
|
|
|
|
|
|
|
|
|
|
|
|
|
|
|
|
|
|
|
|
|
|
|
|
|
|
|
|
|
|
|
|
|
|
|
|
|
|
|
|
|
|
|
|
|
|
|
|
|
|
|
|
|
|
|
|
|
|
|
|
|
|
||||||||||
|
|
|
|
|
|
|
|
|
|
|
|
|
|
|
|
|
|
|
|
|
|
|
|
|
|
|
|
|
|
|
|
|
|
|
|
|
|
|
|
|
|
-
|
|
|
|
|
|
|
|
|
|
|
|
|
|
|
|
|
|
|
|
|
|
|
|
|
|
|
||||||||||
|
|
|
|
|
|
|
|
|
|
|
|
|
|
|
|
|
|
|
|
|
|
|
|
|
|
|
|
|
|
|
|
|
|
|
|
|
|
|
|
|
|
|
|
|
|
|
|
|
|
|
|
|
|
|
|
|
|
|
|
|
|
|
|
|
|
|
|
|
||||||||||
|
|
|
|
|
|
|
|
|
|
|
|
|
|
|
|
|
|
|
|
|
|
|
|
|
|
|
|
|
|
|
|
|
|
|
|
|
|
|
|
|
|
|
|
|
|
|
|
|
|
|
|
|
|
|
|
|
|
|
|
|
|
|
|
|
|
|
|
|
||||||||||
|
|
|
|
|
|
|
|
|
|
|
|
|
|
|
|
|
|
|
|
|
|
|
|
|
|
|
|
|
|
|
|
|
|
|
|
|
|
|
|
|
|
|
|
|
|
|
|
|
|
|
|
|
|
|
|
|
|
|
|
|
|
|
|
|
|
|
|
|
||||||||||
|
Примечание: В массу элемента вошла масса наплавленного металла.
|
|
|||||||||||||
2.14. Соединение элемента болтового стыка с арматурным каркасом секции должно соответствовать указанному на черт. 17.
Узлы сопряжения арматурных каркасов с элементами болтовых стыков
1 - элемент болтового стыка Фб40-Фб50; 2 - элемент болтового стыка Фб60-Фб80;
3 - тип 14 СН 393-78; 4 - продольная арматура сваи; 5 - элемент болтового стыка Фб100-Фб160;
6 - продольная арматура сваи-оболочки
Черт. 17
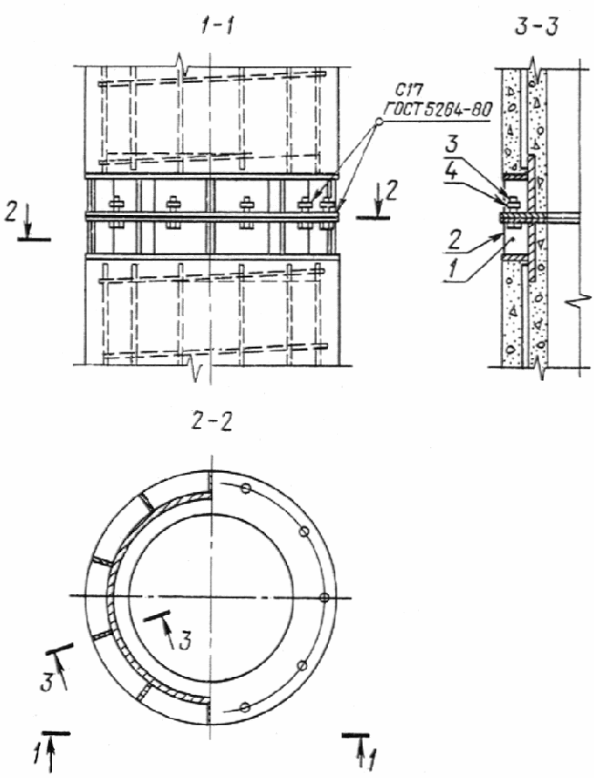
2.15. Соединение элемента сварного стыка с арматурным каркасом должно соответствовать указанному на черт. 18.
2.16. В целях обеспечения соосности составных свай и свай-оболочек установку стыковых элементов и сварку их с каркасами секций следует производить в специальных кондукторах.
2.17. Сварные соединения закладных изделий следует выполнять по ГОСТ 5264-80, арматурных изделий к закладным - по СН 393-78. Арматурные изделия, закладные детали и сварные соединения должны соответствовать требованиям ГОСТ 10922-75.
2.18. Отклонения от номинальных размеров элементов стыков секций не должны превышать величин, мм:
по наружному диаметру стыкового элемента для:
свай диаметром до 600 мм включительно .................. +2
" " " 800 мм и свай-оболочек ................ +5
по смещению болтовых отверстий ......................... +1
2.19. Отклонение от прямолинейности профиля торцевой плоскости стыкового элемента секции не должно превышать 1,5 мм.
2.20. Обвалы бетона на внутренней поверхности секции с обнажением арматуры не допускаются.
2.21. Щели и наплывы в местах соединения стыковых элементов с бетоном секций не допускаются.
Узлы сопряжения арматурных каркасов с элементами сварных стыков
1 - элемент сварного стыка Фсв40, Фсв50; 2 - элемент сварного стыка Фсв60, Фсв80;
3 - тип 14 СН 393-78; 4 - спираль головы; 5 - продольная арматура сваи; 6 - элемент стыка
Фсв100-Фсв160; 7 - продольная арматура сваи-оболочки
Черт. 18
3. Конструкция и размеры составных свай и свай-оболочек
3.1. Длина свай должна быть не менее 14 м и не более, м:
для свай диаметром 400 мм .............. 26
" " " 500 мм .............. 30
" " " 600 мм .............. 40
" " " 800 мм .............. 48
3.2. Длина свай-оболочек независимо от их диаметра должна быть не менее 14 м и не более 48 м.
3.3. При сборке свай и свай-оболочек следует использовать секции таких длин, при которых получается минимальное число стыков. Секции длиной 6 м следует применять для сборки свай и свай-оболочек длиной только 14 м, секции длиной 8, 10 и 12 м - для сборки свай и свай-оболочек длиной более 14 м.
3.4. Болтовой стык
3.4.1. Соединение секций свай и свай-оболочек при помощи болтов следует производить в соответствии с черт. 19 только при наращивании свай и свайоболочек в процессе погружения в вертикальном положении.
Болтовой стык
Черт. 19
3.4.2. Перед соединением секций на торцовые плоскости стыковых элеменов следует нанести антикоррозионное покрытие.
3.4.3. После затяжки болтов гайки и шов между стыковыми элементами заварить. Сварку секций производить электродами типа Э50А по ГОСТ 9467-75.
3.4.4. Спецификация стали на болтовой стык приведена в табл. 16.
Таблица 16
Спецификация стали на болтовой стык
|
|
|
|
|
|
|
|
|
|
|
|
|
|
|
|
|
|
|
|
|
|
|
|
|
|
|
|
|
|
|
|
|
|
|
|
|
|
|
|
|
|
|
|
|
|
|
|
|
|
|
|
|
|
|
|
|
|
|
|
|
|
|
|
3.5. Сварной стык
3.5.1. Соединение свай и свай-оболочек при помощи сварки следует производить в соответствии с черт. 20. Сварку секций производить электродами типа Э50А по ГОСТ 9467-75.
Сварной стык
Черт. 20
3.5.2. Сварной стык свай и свай-оболочек можно осуществлять как в вертикальном положении по мере наращивания секций в процессе погружения, так и в горизонтальном положении при укрупнительной сборке, которая может быть произведена как на предприятии-изготовителе, так и на строительной площадке.
Сварку стыков в горизонтальном положении следует производить на поворотных роликах. Длина укрупненных секций должна быть не более 20 м.
3.5.3. Спецификация стали на сварной стык приведена в табл. 17.
Таблица 17
Спецификация стали на сварной стык
|
|
|
|
|
|
|
|
|
|
|
|
|
|
|
|
|
|
|
4. Испытание секций свай и свай-оболочек на раскрытие трещин
4.1. Секции свай длиной 10 м и более с элементами болтовых стыков, секции и укрупненные секции свай длиной 14 м и более с элементами сварных стыков, а также укрупненные секции свай-оболочек длиной 18 м и более с элементами сварных стыков должны быть испытаны на раскрытие трещин путем укладки их на две опоры, расположенные по схеме, указанной на черт. 21.
Усиленные секции свай-оболочек (марки СОУ) испытанию на раскрытие трещин не подвергают.
Черт. 21
4.2. После укладки секции (укрупненной секции) на две опоры через 10 мин производят осмотр ее верхней поверхности над опорой. Секцию (укрупненную секцию) считают выдержавшей испытание, если ширина раскрытия трещин не превышает 0,2 мм.
5. Транспортирование секций и подъем их на копер
5.1.
Подъем секций (укрупненных секций)
следует производить захватами в местах,
отмеченных на поверхности секций: в
виде одинарной полосы на расстоянии
от торца - при транспортировании и выемке
из опалубки и после укрупненной сборки;
в виде двойной полосы на расстоянии
от торца - при подъеме на копер.
Полосы следует наносить на двух противоположных поверхностях секций. Длина полосы должна быть не менее 10 см для свай и 20 см для свай-оболочек
.
5.2. Разметку мест захвата следует производить в соответствии с указанной на черт. 1, 2 и в табл. 1 для секций свай и свай-оболочек и в табл. 18 для укрупненных секций свай и свай-оболочек со сварными стыками.
Таблица 18
|
|
|
|
|
|
|
|
|
|
|
|
|
|
|
|
|
|
|
|
|
|
|
|
|
|
|
|
|
|
|
|
|
|
|
|
|
|
|
|
|
5.3. Секции, для которых в табл. 1 не указаны места подъема при транспортировании и выемке из опалубки, допускается поднимать за торцы при помощи захватов специальной конструкции.
При складировании и транспортировании таких секций прокладки между ними следует располагать на расстоянии 0,5 м от торцов.
5.4. Подъем секций на копер следует производить за торец при помощи захвата специальной конструкции.
ПРИЛОЖЕНИЕ
Справочное
УСЛОВИЯ РАСЧЕТА И ПРИМЕНЕНИЯ СВАЙ И СВАЙ-ОБОЛОЧЕК
1.
Секции и укрупненные секции свай и
свай-оболочек со сварными стыками
рассчитаны на изгиб от усилий, возникающих
при подъеме на копер за одну точку,
расположенную от торца на расстоянии,
равном 0,294 длины цилиндрической части
сваи и сваи-оболочки, по прочности и по
кратковременному раскрытию трещин до
=
0,3 мм.
Коэффициент перегрузки к нагрузке от собственной массы не учитывают.
Коэффициент динамичности принят равным:
1,5 - при расчете по прочности;
1,25 - при расчете по раскрытию трещин.
2. Сваи и сваи-оболочки рассчитаны также на вибропогружение. Рекомендуемые марки вибропогружателей приведены в таблице.
|
|
|
|
|
|
|
|
|
|
|
|
|
3. При проектировании свайных фундаментов сваи и сваи-оболочки должны быть рассчитаны по прочности и раскрытию трещин на нагрузки, передаваемые на сваю или сваю-оболочку в строительный и эксплуатационный периоды. При этом допустимую ширину раскрытия трещин принимают в соответствии с требованиями СНиП II-21-75.
Допускается увеличивать поперечное сечение продольной арматуры, если это требуется по расчету. При этом в конце обозначения марки сваи или сваи-оболочки добавляют строчную букву "у" (усиленная) и в заказной спецификации дополнительно указывают класс, диаметр и число стержней продольной арматуры.
4.
При проверке свай и свай-оболочек по
прочности и раскрытию трещин до
=
0,2 мм на внецентренное сжатие от
эксплуатационных нагрузок М и N допускается
пользоваться графиками, приведенными
на черт. 1 - 10 настоящего приложения.
На графиках приняты обозначения: N - нормальная сила, тс, и М - изгибающий момент, относительно оси сваи или сваи-оболочки, тсм, передаваемые на сваю или сваю-оболочку при эксплуатации здания или сооружения. Предполагается, что свая или свая-оболочка по всей длине находится в грунте и ее продольный изгиб не учитывают.
Сваи диаметром 400 мм. Бетон М300 (болтовой стык)
Черт. 1
Сваи диаметром 500 мм. Бетон М300 (болтовой стык)
Черт. 2
Сваи диаметром 600 мм. Бетон М300 (болтовой стык)
Черт. 3
Сваи диаметром 800 мм. Бетон М400 (болтовой стык)
Черт. 4
Сваи-оболочки диаметром 1000, 1200, 1600 мм.
Бетон М400 (болтовой стык)
Черт. 5
Сваи диаметром 400 мм. Бетон М300 (сварной стык)
Черт. 6
Сваи диаметром 500 мм. Бетон М300 (сварной стык)
Черт. 7
Сваи диаметром 600 мм. Бетон М300 (сварной стык)
Черт. 8
Сваи диаметром 800 мм. Бетон М400 (сварной стык)
Черт. 9
Сваи-оболочки диаметром 1000, 1200, 1600 мм.
Бетон М400 (сварной стык)
Черт. 10
5. После выбора длины и диаметра сваи или сваи-оболочки (по геологическим условиям) устанавливают класс, диаметр и число стержней продольной арматуры в соответствии с настоящим стандартом.
6. Если точка с координатами М и N лежит ниже кривой, соответствующей принятому армированию сваи или сваи-оболочки, то выбранная свая или свая-оболочка удовлетворяет расчету по прочности и раскрытию трещин на эксплуатационные нагрузки М и N, если точка лежит выше - не удовлетворяет.
Текст документа сверен по:
официальное издание
Минстрой России. -
М.: Издательство стандартов,1992
Хотите оперативно узнавать о новых публикациях нормативных документов на портале? Подпишитесь на рассылку новостей!
Все ГОСТы >> ГОСТы «Бетон, ЖБИ, кирпич, фасадные материалы >>



















