ГОСТ 19330-99 Стойки железобетонные для опор контактной сети железных дорог. Технические условия

ГОСТ 19330-99

Группа Ж33

МЕЖГОСУДАРСТВЕННЫЙ СТАНДАРТ


СТОЙКИ ЖЕЛЕЗОБЕТОННЫЕ ДЛЯ ОПОР КОНТАКТНОЙ СЕТИ ЖЕЛЕЗНЫХ ДОРОГ

Технические условия

Centrifugal reinforced concrete posts for railway overhead line equipment

Specifications

ОКС  93.100

ОКСТУ  5863

Дата введения 2000-09-01


Предисловие


1  РАЗРАБОТАН: Всероссийским научно-исследовательским институтом железнодорожного транспорта (ВНИИЖТ МПС) при участии Научно-исследовательского института транспортного строительства (ЦНИИС) Российской Федерации

ВНЕСЕН  Госстроем России

2  ПРИНЯТ Межгосударственной научно-технической комиссией по стандартизации, техническому нормированию и сертификации в строительстве 20 мая 1999 г.

За  принятие проголосовали:



Наименование государства


Наименование органа государственного управления строительством


Республика Армения


Министерство по координации, территориальному управлению и градостроительной деятельности Республики Армения


Республика Беларусь


Министерство архитектуры и строительства Республики Беларусь


Республика Казахстан


Комитет по делам строительства Министерства энергетики, индустрии и торговли Республики Казахстан


Кыргызская Республика


Государственная инспекция по архитектуре и строительству при Правительстве Кыргызской Республики


Республика Молдова


Министерство окружающей среды и благоустройства территорий Республики Молдова


Российская Федерация


Госстрой России

     

Республика Таджикистан


Комитет по делам архитектуры и строительства при Правительстве Республики Таджикистан


Украина


Государственный комитет строительства, архитектуры и жилищной политики Украины


3  ВЗАМЕН ГОСТ 19330-91

4  ВВЕДЕН В ДЕЙСТВИЕ с 1 сентября 2000 г. в качестве государственного стандарта Российской Федерации постановлением Госстроя России от 19.05.2000 N 49

Введение


При  эксплуатации стоек по ГОСТ 19330-91 на электрифицированных железных дорогах выявилась их недостаточная долговечность, являющаяся следствием электрокоррозии арматуры из-за недостаточной электрической изоляции между закладными деталями контактной подвески и арматурой.

Настоящий  стандарт, разработанный взамен ГОСТ 19330-91, распространяется на стойки, конструкция которых предусматривает надежную изоляцию закладных деталей, что позволяет повысить их долговечность по сравнению со стойками по ГОСТ 19330-91. Кроме того, эта конструкция более технологична в изготовлении, чем стойки по ГОСТ 19330-91.

  

     1 Область применения

     

Настоящий  стандарт распространяется на железобетонные предварительно напряженные конические стойки кольцевого сечения, изготовленные из тяжелого бетона методом центрифугирования и предназначенные для опор контактной сети, сооружаемых на общей сети железных дорог и на железнодорожных подъездных путях предприятий в любых климатических условиях.

     

     2 Нормативные ссылки

В  настоящем стандарте использованы ссылки на межгосударственные стандарты, перечень которых приведен в приложении А .

 

     3 Основные параметры и размеры

  

3.1  Стойки следует изготавливать по рабочей и технологической документации, соответствующей требованиям настоящего стандарта.

Допускается  по согласованию между заказчиком и изготовителем изготавливать стойки, отличающиеся габаритами и размерами отдельных деталей стоек от приведенных в настоящем стандарте, при соблюдении остальных технических требований этого стандарта.

3.2  Стойки подразделяют на типы:

СС  - устанавливаемые в фундаменты стаканного типа или закапываемые непосредственно в грунт (нераздельные);

ССА  - с болтовым креплением к фундаменту (раздельные).

3.3  Форма и основные размеры стоек должны соответствовать указанным на рисунке 1  и в таблице 1.

Таблица 1

Размеры в миллиметрах








Типоразмер стойки







СС 108.6


10800


290


450


60


5000


СС 108.7


10800


290


450


75


5000


СС 136.6


13600


290


492


60


5800


СС 136.7


13600


290


492


75


5800


СС 156.6


15600


290


524


60


7100


СС 156.7


15600


290


524


75


7100


ССА 100.6


10000


290


435


60


4600


ССА 100.7


10000


290


435


75


4600


ССА 120.6


12000


290


465


60


5400


ССА 120.7


12000


290


465


75


5400


Примечания



1 Размер может изменяться в зависимости от конструкции заглушек.



2 В таблице: - толщина стенки стойки; - высота центра тяжести стойки.


3.4  Основные показатели стоек указаны в таблице 2.

Таблица 2





Марка стойки


Нормативный изгибающий момент, кНм (тсм)


Класс бетона по прочности на сжатие


Масса стойки, т


СС 108.6-2


59 (6,0)

В30


1,58


СС 108.6-3


79 (8,0)

В40


  

СС 108.7-4


98 (10,0)

В40


1,88


СС 136.6-2


59 (6,0)

В30


2,13


СС 136.6-3


79 (8,0)

В40


  

СС 136.7-4


98 (10,0)

В40


2,53


СС 156.6-5


49 (5,0)

В30


2,75


СС 156.6-6


66 (6,7)

В30


  

СС 156.6-7


88 (9,0)

В40


  

СС 156.7-8


111 (11,3)

В40


3,08


ССА 100.6-3


79 (8,0)

В40


1,44


ССА 100.7-4


98 (10,0)

В40


1,71


ССА 120.6-3


79 (8,0)

В40


1,81


ССА 120.7-4


98 (10,0)

В40


2,16


Примечание - Нормативный изгибающий момент относится к сечению стойки в уровне условного обреза фундамента, расположенному для стоек длиной 13600 мм и 10800 мм на расстоянии 9,6 м от вершины, для стоек длиной 15600 мм - на расстоянии 11,6 м от вершины, а для стоек длиной 10000 и 12000 мм - в нижнем сечении стойки.




3.5  Стойки типа СС для использования на участках контактной сети постоянного тока изготавливаются с установленным диагностическим проводником - металлическим стержнем, предназначенным для присоединения аппаратуры диагностики состояния подземной части стоек в процессе их эксплуатации. Диагностический проводник устанавливается в нижней части стоек в зоне вентиляционных отверстий.

3.6  На стойках длиной 13600 и 15600 мм должен быть установлен репер (металлический стержень, выступающий за внешнюю поверхность стойки, обозначающий положение условного обреза фундамента).

Допускается  совмещение репера и диагностического проводника.

3.7  На все стойки наносятся риски, определяющие положение их центра тяжести.

3.8  Стойки поставляют с установленными деталями для крепления консолей и кронштейнов:

стойки,  предназначенные для эксплуатации на участках контактной сети постоянного тока, - с несъемными изолирующими втулками, а также съемными втулками-прокладками и закладными болтами, установленными в отверстия при изготовлении стоек;

стойки,  предназначенные для эксплуатации на участках контактной сети переменного тока, - со съемными втулками-прокладками и закладными болтами.

СС длиной


ССА длиной

 _________

*  В скобках указан размер для стоек длиной 10,8 м

1 - верхняя заглушка; 2 - отверстия для установки закладных деталей для крепления консолей и кронштейнов;

3 - отверстия для вентиляции; 4 - нижняя заглушка; 5 - опорный башмак для крепления стойки к

фундаменту анкерными болтами

Рисунок 1


3.9  Стойки обозначают марками в соответствии с требованиями ГОСТ 23009. Марки стоек состоят из буквенно-цифровых групп, разделенных дефисами.

Первая  группа содержит обозначение типа стойки и номинальные габариты: длину стойки в дециметрах и через точку - толщину стенки в сантиметрах, значения которых округляют до целого числа.

Во  второй группе приводят цифру, соответствующую несущей способности стойки - нормативному изгибающему моменту (по таблице 2), и через точку - цифру, соответствующую классу напрягаемой арматуры:

1  - высокопрочная проволока класса Вр-II;

2  - стержневая арматура класса А-IV;

3  - стержневая арматура класса A-V.

В  третьей группе при необходимости отражают дополнительные характеристики, обозначаемые буквами: К - стойкость к воздействию сильноагрессивной среды; М - стойкость к воздействию температуры наружного воздуха ниже минус 55 °С; Э - возможность использования в условиях повышенной электрокоррозионной опасности на участках постоянного тока.

Примеры  условных обозначений (марок) стоек приведены в приложении Б.

Допускается  использовать условные обозначения (марки) стоек, указанные в рабочих чертежах, входящих в состав проектной документации по конкретному сооружению.

   

     4 Технические требования

 

4.1  Характеристики

4.1.1  Стойки должны удовлетворять требованиям по прочности, жесткости и трещиностойкости, установленным в рабочей документации.

4.1.2  Стойки следует изготавливать из тяжелого бетона, удовлетворяющего требованиям ГОСТ 26633, классов по прочности на сжатие не ниже указанных в таблице 2.

4.1.3  Нормируемая передаточная прочность бетона должна приниматься не ниже значений, указанных в таблице 3.

Таблица 3




Нормативный изгибающий момент, кНм (тсм)

Нормируемая передаточная прочность бетона при его классе по прочности на сжатие, МПа (кгс/см)

  

В30


В40


49 (5,0); 59 (6,0); 66 (6,7)


27,5 (280)

-

79 (8,0); 88 (9,0)


-

35,3 (360)

98 (10,0); 111 (11,3)


-

37,7 (385)

4.1.4  При поставке стоек в холодный период года нормируемая отпускная прочность бетона должна составлять не менее 90% прочности бетона на сжатие, соответствующей его классу. Холодный период года определяется в соответствии с ГОСТ 13015.0.

4.1.5  Фактическая прочность бетона (в проектном возрасте, передаточная, отпускная) должна быть не ниже требуемой, назначаемой в зависимости от нормируемой прочности и фактической однородности бетона по прочности в соответствии с требованиями ГОСТ 18105.

4.1.6  Поставка стоек с отпускной прочностью бетона ниже прочности, соответствующей его классу, производится при условии, если изготовитель гарантирует достижение бетоном требуемой прочности в возрасте 28 сут, определяемой по результатам испытаний контрольных образцов, изготовленных из бетонной смеси рабочего состава.

4.1.7  Морозостойкость бетона должна соответствовать марке, установленной в рабочей документации в зависимости от климатических условий района строительства и указанной в заказе на изготовление стоек.

Для  районов с расчетной температурой наружного воздуха минус 40 °С и выше марка по морозостойкости бетона стоек должна быть не менее F150, а для районов с расчетной температурой воздуха ниже минус 40 °С - не менее F200.

4.1.8  Бетон стоек должен быть особо низкой проницаемости и соответствовать марке по водонепроницаемости W8.

4.1.9  Для армирования стоек следует применять арматурную сталь:

в  качестве напрягаемой арматуры - высокопрочную проволоку периодического профиля класса Вр-II по ГОСТ 7348; допускается в качестве напрягаемой арматуры применять горячекатаную арматурную сталь класса A-IV марки 20ХГ2Ц, а при изготовлении стоек, предназначенных для использования только на участках контактной сети переменного тока, - класса A-V марки 23Х2Г2Т по ГОСТ 5781;

в  качестве продольной ненапрягаемой стержневой арматуры - сталь класса A-III марки 25Г2С или 35ГС по ГОСТ 5781;

в  качестве поперечной арматуры - проволоку класса Вр-I по  ГОСТ 6727 и стержневую горячекатаную сталь классов A-I марки Ст3сп и A-III по ГОСТ 5781 .

Диагностический  проводник и репер должны выполняться из арматурной стали класса A-I.

4.1.10  Форма и размеры арматурных изделий и их положение в стойках должны соответствовать указанным в рабочих чертежах.

Отклонения  действительных размеров арматурных каркасов от номинальных значений не должны превышать, мм:

длина  каркаса ±10;

диаметр  ±5;

шаг  спиральной арматуры ±5.

4.1.11  Армирование стоек должно производиться арматурными каркасами, при изготовлении которых необходимо соблюдать следующие требования:

каждое  усиливающее и монтажное кольцо должно быть привязано в трех точках к пучкам напрягаемой арматуры;

ненапрягаемая  арматура должна быть привязана к монтажным и усиливающим кольцам в каждом пересечении с ними (в вершине - к одному из трех усиливающих колец);

спираль  должна быть привязана в верхней и нижней частях стойки, а также в местах расположения монтажных колец в каждом третьем пересечении с напрягаемой арматурой; места привязки спирали должны соответствовать указанным в рабочих чертежах стоек.

4.1.12  Усилия в напрягаемой продольной арматуре по окончании натяжения должны соответствовать указанным в рабочих чертежах.

Отклонения  фактических значений усилий всей напрягаемой арматуры (пакета) от номинальных, указанных в рабочих чертежах, не должны превышать ±5%.

Обрывы  напрягаемых проволок или стержней не допускаются.

4.1.13  Толщина остаточного слоя шлама в нижнем торце стойки после центрифугирования не должна превышать 50 мм.

4.1.14  В отверстия, указанные в заказе на изготовление стоек, должны быть установлены предусмотренные в рабочих чертежах изолирующие элементы (втулки-прокладки) и детали для крепления консолей и кронштейнов.

4.1.15  Изолирующие элементы в стойках для контактной сети должны обеспечивать электрическое сопротивление между арматурой стоек и деталями для крепления консолей и кронштейнов не менее 10000 Ом (при сухой поверхности бетона, изолирующих элементов и деталей для крепления консолей и кронштейнов).

4.1.16  Отклонения действительных значений геометрических параметров стоек от номинальных не должны превышать предельных, указанных в таблице 4.

Таблица 4




Наименование отклонений геометрического параметра


Наименование геометрического параметра


Предельное отклонение, мм


Отклонение линейного размера


Длина стойки


±20


  

Наружный диаметр стойки (в сечениях, указанных в рабочих чертежах)


±5


  

Толщина стенки


+30; -5


  

Диаметр отверстия


±2


  

Расстояние между центрами соседних отверстий


±2


  

Размер, определяющий положение отверстия


±5


Отклонение от прямолинейности профиля поверхности стойки по образующей конуса на всей длине


-

13


4.1.17  Отклонение действительной толщины наружного защитного слоя бетона от номинальной, указанной в рабочих чертежах, не должно превышать ±5 мм по всей поверхности стойки. При этом фактическая толщина наружного защитного слоя бетона должна быть не менее 16 мм.

Отклонение  действительной толщины внутреннего защитного слоя бетона от номинальной в сторону уменьшения не должно превышать: местное - 10 мм, среднее - 5 мм. При этом фактическая толщина внутреннего защитного слоя бетона должна быть не менее 20 мм.

4.1.18  На наружной поверхности стоек, за исключением поверхности в месте стыка полуформ, не допускаются:

раковины  диаметром более 6 мм и глубиной более 3 мм;

более  одной раковины на 2 м длины стойки;

местные  наплывы (впадины) высотой (глубиной) более 3 мм;

сколы  бетона глубиной более 3 мм и длиной более 50 мм на 1 м длины стойки.

На  наружной поверхности стоек в месте стыка полуформ не допускаются:

раковины  и щели;

местные  наплывы (впадины) высотой (глубиной) более 3 мм и шириной более 2 мм;

уступы  (по стыку полуформ в зоне установки изолирующих элементов) высотой более 3 мм.

4.1.19  На наружной поверхности стоек не допускаются ржавые, жировые пятна и подтеки.

4.1.20  В бетоне стоек не допускаются трещины, за исключением поверхностных усадочных с шириной раскрытия не более 0,1 мм. Длина поверхностных усадочных трещин должна быть не более 50 мм, а их число - не более пяти на 1 м длины стойки.

4.1.21  Обвалы бетона внутренней поверхности стоек не допускаются.

4.1.22  В стойках в местах, указанных в рабочих чертежах, должны быть установлены диагностический проводник и репер.

Концевая  часть диагностического проводника должна выступать за поверхность опоры не более чем на 10 мм.

Выступающие  части диагностического проводника и репера должны быть окрашены или оцинкованы.

4.1.23  Торцы нераздельных стоек должны быть заделаны бетонными заглушками. Для контроля качества внутренней поверхности стоек в нижних заглушках рекомендуется устройство отверстий диаметром до 100 мм.

4.1.24  Нижние торцы раздельных стоек, предназначенных для установки в фундаменты стаканного типа, должны быть оштукатурены слоем цементного раствора, толщина которого должна превышать длину выступающих арматурных стержней или проволок не менее чем на 10 мм.

Допускается  при условии обрезки арматуры заподлицо с торцевой поверхностью покрытие нижних торцов стоек гидроизоляцией без последующего оштукатуривания. Гидроизоляция должна быть нанесена на предварительно выровненную цементным раствором торцевую поверхность стойки.

4.1.25  На наружную поверхность фундаментной части стоек типа СС длиной 15,6 и 13,6 м на протяжении 4 м должно быть нанесено гидроизоляционное покрытие.

4.1.26  Металлические башмаки стоек типа ССА должны быть защищены от коррозии.

4.1.27  Стойки, предназначенные для эксплуатации в агрессивной среде, должны иметь антикоррозийную защиту по всей поверхности воздействий.

Виды  гидроизоляционных и антикоррозийных покрытий должны соответствовать указанным в рабочих чертежах стоек или в заказе на их изготовление. Выбор покрытий должен определяться требованиями действующих нормативных документов в области защиты строительных конструкций от коррозии.

4.2  Требования к материалам

4.2.1  Материалы, применяемые для изготовления тяжелого бетона, должны удовлетворять требованиям ГОСТ 26633. При этом следует использовать:

в  качестве вяжущего - портландцемент по ГОСТ 10178, а для стоек, закапываемых непосредственно в грунт, при наличии сильноагрессивных грунтов - сульфатостойкий цемент по ГОСТ 22266;

в  качестве крупного заполнителя - щебень по ГОСТ 8267 с наибольшей крупностью зерен не более 20 мм.

4.2.2  Арматурная сталь должна удовлетворять требованиям стандартов, указанных в рабочих чертежах стоек.

4.2.3  Втулки и болты должны удовлетворять требованиям нормативно-технической документации, на которую имеются ссылки в рабочих чертежах стоек.

4.2.4  Башмаки раздельных стоек должны быть изготовлены из стального проката по ГОСТ 19903. Прокат для стоек, предназначенных для районов с расчетной температурой наружного воздуха минус 40 °С и выше должен быть изготовлен из стали марки С245, а для районов с расчетной температурой ниже минус 40 °С - из стали марки С345 по ГОСТ 27772.

4.2.5  Материалы, применяемые для устройства антикоррозионных покрытий, должны быть экологически безопасными и удовлетворять требованиям стандартов или технических условий, указанных в рабочих чертежах или в заказах на изготовление стоек.

4.3  Маркировка

4.3.1  Маркировка стоек выполняется по ГОСТ 13015.2.

4.3.2  Маркировочные надписи следует наносить не менее чем на 250 мм выше условного обреза фундамента.

4.3.3  Риски, определяющие положение центра тяжести стоек, должны быть нанесены в местах, указанных в рабочих чертежах.

  

     5 Правила приемки

5.1  Приемку стоек техническим контролем предприятия-изготовителя осуществляют партиями в соответствии с общими правилами ГОСТ 13015.1 и дополнительными требованиями настоящего стандарта.

5.2  По результатам входного контроля должно проверяться качество материалов, применяемых для приготовления бетона, качество арматурной стали и стали для закладных деталей, качество изолирующих элементов и закладных деталей для крепления консоли контактной сети, качество материалов для гидроизоляционных и антикоррозионных покрытий.

5.3  По результатам операционного контроля должны проверяться: соответствие бетона требованиям ГОСТ 26633; вид и диаметры арматурной стали; соответствие размеров арматурного каркаса проектным; положение арматурного каркаса и закладных деталей, диагностического проводника, репера и изолирующих элементов в форме; количество и положение мест привязки арматуры к монтажным кольцам; контролируемое натяжение арматуры; отсутствие обрывов напрягаемой арматуры; соответствие видов материалов, используемых для гидроизоляционных и антикоррозионных покрытий, предусмотренным в рабочих чертежах или в заказе на изготовление стоек; геометрические размеры форм.

5.4  Приемку стоек по прочности, жесткости и трещиностойкости, по показателям морозостойкости и водонепроницаемости бетона, а также по отклонениям от прямолинейности профиля поверхности стоек проводят по результатам периодических испытаний и измерений.

Испытания  стоек по прочности, жесткости и трещиностойкости проводят нагружением при постановке на производство, при внесении в них конструктивных изменений и при изменении технологии изготовления или качества исходных материалов, а также не реже одного раза в месяц.

Испытания  морозостойкости и водонепроницаемости бетона, а также измерения отклонений от прямолинейности профиля поверхности стоек проводят при постановке стоек на производство, при изменении технологии изготовления или качества исходных материалов, но не реже одного раза в 6 мес.

5.5  Для оценки жесткости и трещиностойкости испытаниям нагружением по ГОСТ 8829 подвергают две стойки из одной партии; для оценки прочности - одну стойку из отобранных для испытаний на жесткость и трещиностойкость.

Стойки  признаются выдержавшими испытания, если результаты испытаний удовлетворяют следующим требованиям:

-  разрушение стойки произошло при нагрузке, более или равной контрольной нагрузке по проверке прочности;

-  прогиб стоек на уровне контактного провода (7,3 м от уровня условного обреза фундамента) при контрольной нагрузке по проверке жесткости не превышает контрольный прогиб более чем на 10%;

-  нагрузка, при которой появились первые поперечные трещины (обнаруженные при помощи лупы с четырехкратным увеличением), более или равна контрольной нагрузке по образованию трещин.

Значения  контрольных нагрузок приведены в 6.1.3.

5.5.1  При испытании по жесткости в случае, если прогиб при контрольной нагрузке хотя бы одной стойки превышает контрольный более чем на 15%, стойки признают не удовлетворяющими требованиям по жесткости.

Если  прогиб при контрольной нагрузке хотя бы одной из стоек превышает контрольный более чем на 10%, но менее чем на 15%, то проводят дополнительное испытание еще двух стоек из данной партии. Стойки признают удовлетворяющими требованиям по жесткости, если величина измеренного прогиба в этих двух стойках не превышает величину контрольного прогиба более чем на 15%.

5.5.2  При испытаниях на трещиностойкость в случае появления хотя бы в одной из испытанных стоек трещин при нагрузке менее контрольной проводят испытания еще двух стоек из данной партии. Если ни в одной из них не появятся трещины при нагрузке менее контрольной, стойки признают удовлетворяющими требованиям по трещиностойкости.

5.5.3  Возможность использования стоек, не удовлетворяющих требованиям настоящего стандарта по прочности, жесткости и трещиностойкости, определяется по согласованию между изготовителем, заказчиком и проектной организацией.

5.6  Приемку стоек по показателям прочности бетона, точности геометрических параметров (кроме отклонений от прямолинейности), толщины защитного слоя бетона, качеству наружной и внутренней поверхности, значению электрического сопротивления проводят по результатам приемосдаточного контроля и испытаний.

5.7  Приемочный контроль по показателям прочности бетона осуществляют по результатам испытаний образцов бетона или неразрушающими методами в соответствии с ГОСТ 18105.

Проверку  отпускной прочности бетона неразрушающими методами осуществляют путем выборочного контроля не менее 10% стоек общего их числа в партии, но не менее трех стоек.

Число  контролируемых участков должно быть не менее 30 в партии и не менее трех на каждой контролируемой стойке. Расположение контролируемых участков должно быть указано в рабочих чертежах стоек.

5.8  Приемку стоек по показателям точности геометрических параметров, по количеству, ширине раскрытия и длине усадочных трещин, толщине защитного слоя бетона, качеству поверхностей, толщине остаточного слоя шлама, отсутствию обвалов бетона осуществляют по результатам выборочного одноступенчатого контроля стоек из партии. Объем выборок и оценка результатов контроля - по ГОСТ 13015.1.

5.8.1  Контроль толщины наружного защитного слоя бетона неразрушающими методами осуществляется на контролируемых участках, число которых должно быть не менее 9 на каждой стойке в выборке. Расположение контролируемых участков должно быть указано в рабочих чертежах стоек.

5.8.2  Контроль толщины внутреннего защитного слоя бетона путем линейных измерений осуществляется на каждом торце стоек в выборке путем измерений в четырех точках (по концам взаимно перпендикулярных диаметров). За среднее отклонение от номинальной толщины защитного слоя бетона на каждом торце стойки принимается среднеарифметическое результатов этих четырех измерений.

5.9  Приемку стоек по значению электрического сопротивления между арматурой и закладными деталями, наличию предусмотренных проектом закладных деталей, гидроизоляционных и антикоррозионных покрытий, отсутствию жировых и ржавых пятен на внешней поверхности, наличию маркировочных надписей и рисок, указывающих положение центра тяжести стойки, проводят путем сплошного контроля стоек в партии.

5.10  При контроле заказчиком качества поставленных стоек должны соблюдаться правила приемки, установленные настоящим стандартом.

По  требованию заказчика предприятие-изготовитель обязано сообщить результаты лабораторных испытаний.

5.11  На поставляемую партию стоек составляют паспорт в соответствии с ГОСТ 13015.3. Дополнительно в паспорте указывают марки бетона по морозостойкости и водонепроницаемости, класс и диаметр проволочной или стержневой арматуры, виды материалов для антикоррозионных покрытий, а также ограничения по области применения стоек.

    

     6 Методы контроля и испытаний

6.1  Испытания стоек нагруженном для определения их прочности, жесткости и трещиностойкости следует проводить по ГОСТ 8829  с учетом требований настоящего стандарта.

6.1.1  Испытания стоек на прочность, жесткость и трещиностойкость проводят при положительной температуре воздуха и испытываемой стойки.

Стойки,  хранившиеся при отрицательной температуре, выдерживают в теплом помещении до приобретения ими положительной температуры. При переносе стоек со склада в помещение разность между температурой бетона стоек и температурой воздуха внутри помещений не должна превышать 35 °С. При этом в помещении должна быть температура не ниже плюс 15 °С. Температуру стойки измеряют термометром, помещенным во внутреннюю полость стойки.

Допускается  испытывать стойки в зимнее время на открытом воздухе при температуре до минус 10 °С; при этом стойки до испытания должны быть выдержаны в теплом помещении, прогреты и в начале испытания иметь температуру не менее плюс 5 °С.

6.1.2  Схему испытания и загружения стоек следует принимать по рисунку 2 и таблице 5.

           

Таблица 5

В миллиметрах














15600


11400


2450


4300


4000


1600


13600


9400


2450


2300


4000


1600


10800


8000


1050


2300


1200


1600


12000


8000


-

4700


-

4000


10000


8000


-

2700


-

2000


По  согласованию изготовителя с заказчиком и проектной организацией допускается испытание стоек по другим схемам, обеспечивающим выполнение требований настоящего стандарта.


а)

     


б)

     

1 - шарнирно-скользящая опора; 2 - шарнирно-неподвижные опоры; 3 - упор в торце; 4 - измерительная рейка;

5 - неподвижный репер; 6 - стальные хомуты; 7 - прямая консоль; 8 - тяга; 9 - трос;

10 - уровень контактного провода; 11 - уровень условного обреза фундамента;

Р - усилие натяжения при испытании; А, Б и В - места замера перемещений; С - расстояние между осями хомутов пяты и тяги консоли; L - общая длина стойки; - расстояние между центрами опор; - расстояние между центрами упоров в фундаментной части; - расстояние от верхнего торца стойки до уровня контактного провода; - расстояние от уровня условного обреза фундамента до нижнего торца стойки.

При  испытании стоек ССА упоры 2 убираются, стойки закрепляются анкерными болтами в месте расположения упора 3. Размер в скобках относится к стойкам длиной 15600 мм.

Рисунок 2 - Схема испытаний стойки

а - расположение опор по длине стойки (вид сбоку);

б - схема приложения нагрузки (вид сверху)


6.1.3  Величины контрольных нагрузок (усилий натяжения троса при испытаниях стоек) , определенные с учетом коэффициентов безопасности в соответствии с ГОСТ 8829, указаны в таблице 6.

Таблица 6







Испытание


Контрольная нагрузка (усилие натяжения троса), кН (кгс), для испытания стоек, рассчитанных на нормативный изгибающий момент , кНм (тсм)

Учтенное значение коэффициента безопасности


  

49 (5,0)

59 (6,0);

66 (6,7)


79 (8,0);

88 (9,0)

98 (10,0);

111 (11,3)

  

По проверке жесткости и трещиностойкости


 


9,22

(940)


12,36

(1260)

16,48

(1680)

20,60

(2100)

1,0


По проверке прочности


14,81

(1510)


19,71

(2010)

26,28

(2680)

32,95

(3360)

1,6


           

6.1.4  Нагрузку к испытываемой стойке прикладывают ступенями, указанными в приложении В. До начала испытаний следует произвести обжатие испытательной системы нагрузкой, соответствующей не более 0,1 (нормативного изгибающего момента).

Стойку  выдерживают 10 мин после приложения каждой ступени нагрузки до значения, соответствующего 1,0 .

После  приложения контрольной нагрузки по проверке жесткости и трещиностойкости, соответствующей 1,0 , стойку выдерживают под этой нагрузкой в течение 30 мин. При нагрузке, соответствующей 1,1 и более, стойку выдерживают 5 мин после приложения каждой ступени нагрузки до полного разрушения стойки.

Величину  усилия натяжения троса при испытаниях следует устанавливать по динамометру, удовлетворяющему требованиям ГОСТ 13837.


6.1.5  Определение величины прогиба стойки в плоскости приложения нагрузки выполняют с точностью до 1 мм для каждой ступени нагрузки в точке А, указанной на рисунке 2, с учетом перемещений в точках Б и В.

6.1.6  При испытаниях по жесткости контрольный прогиб стоек под действием контрольной нагрузки по проверке жесткости принимают равным, мм:

100  - для стоек с нормативным изгибающим моментом до 88 кНм (9 тсм) включительно;

125  - для стоек с нормативным изгибающим моментом свыше 88 кНм (9 тсм).

6.2  Прочность бетона стоек на сжатие следует определять по ГОСТ 10180 на серии образцов, изготовленных из бетонной смеси рабочего состава и хранившихся в условиях, установленных ГОСТ 18105 .

Допускается  контроль прочности центрифугированного бетона осуществлять по результатам испытаний вибрированных эталонных образцов-кубов после их термовлажностной обработки паром. Результаты испытаний учитываются с повышающим коэффициентом перехода, равным 1,25.

При  проверке прочности бетона методами неразрушающего контроля фактическую отпускную прочность бетона на сжатие определяют ультразвуковым методом по ГОСТ 17624 или приборами механического действия по ГОСТ 22690.

Допускается  применение других стандартизованных методов неразрушающего контроля.

На  каждом участке проводят не менее одной группы измерений.

При  применении ультразвукового метода должно осуществляться поверхностное прозвучивание стоек по линии, перпендикулярной направлению рабочей арматуры.

6.3  Морозостойкость бетона стоек следует определять по ГОСТ 10060.0-ГОСТ 10060.3 на серии образцов, изготовленных из бетонной смеси рабочего состава.

6.4  Водонепроницаемость бетона стоек следует определять по ГОСТ 12730.5.

6.5  Силу натяжения арматуры, контролируемую по окончании натяжения, измеряют по ГОСТ 22362.

6.6  Размеры стоек, отклонение от прямолинейности их поверхности, положение и диаметр отверстий, ширину раскрытия поверхностных технологических трещин, размеры раковин, наплывов и сколов бетона стоек следует проверять методами, установленными ГОСТ 26433.1.

6.7  Толщину наружного защитного слоя бетона до арматуры следует определять по ГОСТ 17625 или ГОСТ 22904, внутреннего защитного слоя бетона - путем линейных измерений по ГОСТ 26433.1.

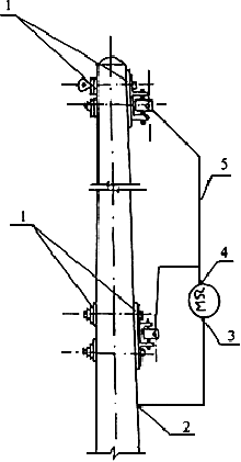
6.8  Величины электрического сопротивления стоек при сухой поверхности бетона, изолирующих элементов и деталей для крепления консолей и кронштейнов определяют по схеме, приведенной на рисунке 3, мегаомметром, удовлетворяющим требованиям ГОСТ 23706 и рассчитанным на использование измерительного напряжения сети до 500 В.

           

а)


б)

     

1 - изолирующие элементы; 2 - выпуск диагностического проводника; 3 - земля; 4 - линия; 5 - провод

Рисунок 3 - Схема измерения электрического сопротивления между деталями для крепления консолей

 и кронштейнов и арматурой

а - полного сопротивления; б - сопротивления одной детали

При  необходимости измерений электрического сопротивления стоек во влажном состоянии их проводят по схеме, приведенной на рисунке 4, дополнительно укладывая на изолирующую прокладку экран из медной проволоки и соединяя его с клеммой "Экран" мегаомметра.

      

1 - изолирующий элемент; 2 - стальная шайба; 3 - арматура; 4 - стойка; 5 - клемма "Экран"; 6 - земля; 7 - линия;

8 - экран из медной проволоки диаметром 3 мм

Рисунок 4 - Схема измерения электрического сопротивления между деталью для крепления консоли (кронштейна)

и арматурой с использованием экрана

6.9  Контроль соответствия требованиям настоящего стандарта показателей стоек, перечисленных в 5.9 (кроме электрического сопротивления), осуществляют визуально.

     7 Транспортирование и хранение

7.1  Транспортировать и хранить стойки следует в соответствии с требованиями ГОСТ 13015.4  и настоящего стандарта.

7.2  Стойки следует транспортировать и хранить в горизонтальном положении в штабелях, рассортированными по маркам.

7.3  При укладке стоек в штабели следует чередовать ряды, в которых стойки уложены верхними торцами в одну сторону, с рядами, в которых стойки уложены нижними торцами в ту же сторону. Число рядов стоек в штабеле по высоте должно быть не более пяти. Допускается хранение и перевозка стоек в шесть рядов при условии укладки нижнего ряда на деревянные прокладки с вырубками глубиной не менее 50 мм и радиусом, равным радиусу опор в местах их опирания.

7.4  При хранении стоек в штабелях и их перевозке между горизонтальными рядами стоек следует укладывать прокладки. Прокладки должны располагаться на расстоянии 1/5 длины стойки от каждого ее конца. Толщина прокладки должна быть назначена с таким расчетом, чтобы была обеспечена сохранность стоек от повреждения деталями для крепления консолей и кронштейнов, а также в результате разного прогиба стоек под действием собственного веса. На концах прокладок должны иметься ограничительные бруски, препятствующие скатыванию стоек.

7.5  Погрузка и разгрузка стоек должны производиться кранами при помощи траверс или стропов в соответствии со схемами подъема, приведенными в рабочей документации.

7.6  В зимнее время вывоз стоек на склад готовой продукции следует производить после их остывания, при этом перепад температур наружного воздуха и бетона стоек должен быть не более 35 °С.

7.7  Транспортирование стоек тракторами и автомобилями разрешается только при наличии прицепов, оборудованных специальными турникетами с гнездами для стоек и соответствующими средствами крепления.

7.8  Стойки, находившиеся длительное время в качестве резерва на складах потребителей, должны при использовании по назначению соответствовать требованиям настоящего стандарта.

     8 Требования к эксплуатации

8.1  При эксплуатации стоек должен обеспечиваться необходимый уровень их несущей способности, установленный настоящим стандартом.

8.2  При эксплуатации стоек электрическое сопротивление между арматурой и закладными деталями не должно быть менее 10000 Ом.

8.3  Периодичность и используемые методы контроля принимаются в соответствии с требованиями эксплуатационно-технической документации.

8.4  При восстановлении гидроизоляционных и антикоррозионных покрытий должны использоваться материалы, не содержащие веществ, которые могут вызвать загрязнение окружающей среды.

При  нанесении защитных покрытий должны приниматься меры против разбрызгивания составов, стекания их со стоек и попадания в грунт и грунтовые воды.

ПРИЛОЖЕНИЕ А

(рекомендуемое)

Перечень нормативных документов, на которые имеются ссылки в настоящем стандарте

ГОСТ  5781-82. Сталь горячекатаная для армирования железобетонных конструкций. Технические условия

ГОСТ  6727-80. Проволока из низкоуглеродистой стали холоднотянутая для армирования железобетонных конструкций. Технические условия

ГОСТ  7348-81. Проволока из углеродистой стали для армирования предварительно напряженных железобетонных конструкций

ГОСТ  8267-93. Щебень и гравий из плотных горных пород для строительных работ. Технические условия

ГОСТ  8829-94. Изделия строительные железобетонные и бетонные заводского изготовления. Методы испытаний нагружение. Правила оценки прочности, жесткости и трещиностойкости

ГОСТ  10060.0-95. Бетоны. Методы контроля морозостойкости. Общие требования

ГОСТ  10060.1-95. Бетоны. Базовый метод определения морозостойкости

ГОСТ  10060.2-95. Бетоны. Ускоренные методы определения морозостойкости при многократном замораживании и оттаивании

ГОСТ  10060.3-95. Бетоны. Дилатометрический метод ускоренного определения морозостойкости

ГОСТ  10178-85. Портландцемент и шлакопортландцемент. Технические условия

ГОСТ  10180-90. Бетоны. Методы определения прочности по контрольным образцам

ГОСТ  12730.5-84. Бетоны. Методы определения водонепроницаемости

ГОСТ  13015.0-83. Конструкции и изделия бетонные и железобетонные сборные. Общие технические требования

ГОСТ  13015.1-81. Конструкции и изделия бетонные и железобетонные сборные. Приемка

ГОСТ  13015.2-81. Конструкции и изделия бетонные и железобетонные сборные. Маркировка

ГОСТ  13015.3-81. Конструкции и изделия бетонные и железобетонные сборные. Документ о качестве

ГОСТ  13015.4-84. Конструкции и изделия бетонные и железобетонные сборные. Правила транспортирования и хранения

ГОСТ  13837-79. Динамометры общего назначения. Технические условия

ГОСТ  17624-87. Бетоны. Ультразвуковой метод определения прочности

       ГОСТ 17625-83. Конструкции и изделия железобетонные. Радиационный метод определения толщины защитного слоя бетона, размеров и расположения арматуры

       ГОСТ 18105-86. Бетоны. Правила контроля прочности

       ГОСТ 19903-74. Прокат листовой горячекатаный. Сортамент

       ГОСТ 22266-94. Цементы сульфатостойкие. Технические условия

       ГОСТ 22362-77. Конструкции железобетонные. Методы измерения силы натяжения арматуры

ГОСТ  22690-88. Бетоны. Определение прочности механическими методами неразрушающего контроля

       ГОСТ 22904-93. Конструкции железобетонные. Магнитный метод определения толщины защитного слоя бетона и расположения арматуры

       ГОСТ 23009-78. Конструкции и изделия бетонные и железобетонные сборные. Условные обозначения (марки)

ГОСТ  23706-93. Приборы аналоговые показывающие электроизмерительные прямого действия и вспомогательные части к ним. Часть 6. Особые требования к омметрам (приборам для измерения полного сопротивления) и приборам для измерения активной проводимости

ГОСТ  26433.1-89. Система обеспечения точности геометрических параметров в строительстве. Правила выполнения измерений. Элементы заводского изготовления

       ГОСТ 26633-91. Бетоны тяжелые и мелкозернистые. Технические условия

ГОСТ  27772-88. Прокат для строительных стальных конструкций. Общие технические условия

ПРИЛОЖЕНИЕ Б

(рекомендуемое)

Примеры маркировки стоек

При  маркировке стоек следует применять обозначения дополнительных характеристик, отражающих условия эксплуатации стоек:

М  - для стоек, предназначенных для районов с расчетной температурой наружного воздуха ниже минус 55 °С;

К  - для стоек, предназначенных для эксплуатации в случаях воздействия сильноагрессивной газообразной среды, а также в грунтах и грунтовых водах с сильноагрессивными степенями воздействия на железобетонные конструкции с обязательным нанесением защитного покрытия на наружную поверхность стоек;

Э  - для стоек, предназначенных для установки на участках постоянного тока.

Пример  условного обозначения (марки) стойки типа СС длиной 10800 мм, толщиной стенки 75 мм, с нормативным изгибающим моментом, равным 98 кНм, с напрягаемой арматурой из высокопрочной проволоки класса Вр-II, предназначенной для применения в районах с расчетной температурой наружного воздуха ниже минус 55 °С при неагрессивной, слабо- и среднеагрессивной степенях воздействия газообразной среды на железобетонные конструкции или при грунтовых водах с неагрессивной и слабоагрессивной степенями воздействия:

СС 108.7-4.1-М

то  же, при применении напрягаемой стержневой арматуры класса A-V:

СС 108.7-4.3-М

то  же, стойки типа СС длиной 13600 мм, толщиной стенки 60 мм, с нормативным изгибающим моментом, равным 79 кНм, с напряженной арматурой из высокопрочной проволоки класса Вр-II, предназначенной для применения в районах с расчетной температурой наружного воздуха минус 55 °С и выше при сильноагрессивной степени воздействия газообразной среды или грунта и с защитным покрытием на наружной поверхности:

СС 136.6-3.1-К

то  же, стойки типа ССА длиной 10000 мм, толщиной стенки 60 мм, с нормативным изгибающим моментом, равным 79 кНм, с напрягаемой арматурой из высокопрочной проволоки класса Вр-II, предназначенной для применения в районах с расчетной температурой наружного воздуха до минус 55 С и выше при неагрессивной, слабо- и среднеагрессивной степенях воздействия газообразной среды или при грунтах и грунтовых водах с неагрессивной и среднеагрессивной степенями воздействия:

ССА100.6-3.1

Такую  же стойку, предназначенную для установки на участках постоянного тока, следует маркировать так:

ССА100.6-3.1-Э

 

ПРИЛОЖЕНИЕ В

(обязательное)

Ступени приложения нагрузки при испытании стоек опор контактной сети


Таблица B.1







Ступени нагрузки


Изгибающий момент в уровне условного обреза фундамента в долях


Усилие натяжения троса , кН (кгс), для стоек с нормативным изгибающим моментом , кНм (тсм)


  

  

49 (5,0)

59 (6,0)

66 (6,7)

79 (8,0)

88 (9,0)

98 (10,0)

111 (11,3)


1


0,00


0,00 (0)

0,00 (0)

0,00 (0)

0,00 (0)


2


0,20


1,84 (188)

2,47 (251)

3,31 (335)

4,11 (419)


3


0,40


3,69 (377)

4,94 (502)

6,62 (670)

8,21 (828)


4


0,60


5,53 (565)

7,42 (754)

9,93 (1005)

12,32 (1257)


5


0,80


7,38 (754)

9,89 (1005)

13,24 (1341)

16,43 (1676)


6


0,90


8,30 (848)

11,13 (1131)

14,90 (1508)

18,48 (1885)


7


0,95


8,76 (895)

11,74 (1194)

15,73 (1592)

19,51 (1990)


8


1,00


9,22 (942)

12,36 (1257)

16,55 (1676)

20,53 (2095)


9


1,05


9,68 (990)

12,98 (1320)

17,38 (1760)

21,56 (2200)


10


1,10


10,14 (1037)

13,60 (1382)

18,21 (1843)

22,59 (2304)


11


1,20


11,06 (1131)

14,83 (1508)

19,86 (2011)

24,64 (2514)


12


1,30


11,99 (1225)

16,07 (1634)

21,52 (2179)

26,69 (2723)


13


1,40


12,91 (1320)

17,31 (1760)

23,17 (2346)

28,75 (2933)


14


1,50


13,83 (1414)

18,54 (1885)

24,83 (2514)

30,80 (3143)


15


1,60


14,75 (1508)

19,78 (2011)

26,49 (2682)

32,85 (3352)


     

     

Текст документа сверен по:

официальное издание

М.: ГУП ЦПП, 2000

Предоставлено компанией МГК "Информпроект".




Хотите оперативно узнавать о новых публикациях нормативных документов на портале? Подпишитесь на рассылку новостей!

Все ГОСТы >>    ГОСТы «Бетон, ЖБИ, кирпич, фасадные материалы >>



Смотрите также: Каталог «Бетон, ЖБИ, кирпич, фасадные материалы» >>
Компании «Бетон, ЖБИ, кирпич, фасадные материалы» >>
Статьи (67) >>
ГОСТы (206) >>
СНиПы (14) >>
ВСН (5) >>
Подписка на рассылки >>
Задать вопрос в форуме >>
Форум "Нормативные документы по устройству фундаментов" >>
Форум "Перекрытия" >>
Форум "Бетон, ЖБИ, кирпич, газоблоки, пеноблоки" >>
Форум "Кирпич, газобетон, керамические блоки" >>
Форум "Бетон и цемент" >>
Форум "Нормативные документы по бетону" >>
Форум "Фасады: отделка и ремонт. Облицовка цоколя" >>
наверх