ГОСТ 17584-72 от 01.01.1973 г. Муфты и соединительные детали чугунные для асбестоцементных напорных труб.
ГОСТ 17584-72
Группа Г18
ГОСУДАРСТВЕННЫЙ СТАНДАРТ СОЮЗА ССР
МУФТЫ И СОЕДИНИТЕЛЬНЫЕ ДЕТАЛИ
ЧУГУННЫЕ ДЛЯ АСБЕСТОЦЕМЕНТНЫХ
НАПОРНЫХ ТРУБ
Саst iron joining rings and fittings
for asbestos cement pressure pipes
Дата введения 1973-01-01
в части тройников и полумуфт 1974-01-01
ИНФОРМАЦИОННЫЕ ДАННЫЕ
1. РАЗРАБОТАН Научно-исследовательским и проектным институтом асбестоцементной промышленности “НИИасбестцемент” Минстройматериалов СССР
РАЗРАБОТЧИКИ
М.Е.Чеченин (руководитель темы), Г.А.Пугачев, Л.М.Лейбенгруб
ВНЕСЕН Министерством промышленности строительных материалов СССР
2. УТВЕРЖДЕН И ВВЕДЕН В ДЕЙСТВИЕ Постановлением Госстроя СССР от 10.03.72 N 37
3. ВВЕДЕН ВПЕРВЫЕ
4. ССЫЛОЧНЫЕ НОРМАТИВНО-ТЕХНИЧЕСКИЕ ДОКУМЕНТЫ
|
|
|
|
Обозначение НТД, на который дана ссылка
|
Номер пункта
|
|
ГОСТ 1412-85
|
2.1, 3.5
|
|
ГОСТ 1759.0-87
|
2.5
|
|
ГОСТ 5228-89
|
Вводная часть
|
|
ГОСТ 5631-79
|
2.4
|
|
ГОСТ 5915-70
|
2.5
|
|
ГОСТ 7798-70
|
2.5
|
|
ГОСТ 9812-74
|
2.4
|
|
ГОСТ 11506-73
|
3.6
|
|
ГОСТ 12815-80
|
1.1
|
|
ГОСТ 15590-70
|
2.5
|
|
ГОСТ 22042-76
|
2.5
|
|
ГОСТ 22536.0-87
|
3.5
|
|
ГОСТ 22536.1-88
|
3.5
|
|
ГОСТ 22536.2-87
|
3.5
|
|
ГОСТ 22536.3-88
|
3.5
|
|
ГОСТ 22536.4-88
|
3.5
|
|
ГОСТ 22536.5-87
|
3.5
|
|
ГОСТ 22536.6-88
|
3.5
|
|
ГОСТ 22536.7-88
|
3.5
|
|
ГОСТ 22536.8-87
|
3.5
|
|
ГОСТ 22536.9-88
|
3.5
|
|
ГОСТ 22536.10-88
|
3.5
|
|
ГОСТ 22536.11-87
|
3.5
|
|
ГОСТ 22536.12-88
|
3.5
|
|
ГОСТ 22536.14-88
|
3.5
|
|
ГОСТ 26645-85
|
1.4
|
5. ПЕРЕИЗДАНИЕ (август 1993 г.) с Изменением N 1, утвержденным в июне 1978 года (ИУС 8-78)
Настоящий стандарт распространяется на муфты и детали чугунные, предназначаемые для соединения асбестоцементных напорных труб систем водоснабжения и мелиорации, работающих под давлением до 15-ти, присоединения их к металлическим фланцам арматуры и устройства отводов.
Герметичность соединений труб обеспечивается за счет сжатия резиновых колец, изготовляемых по ГОСТ 5228.
(Измененная редакция, Изм. N 1.)
1. СОРТАМЕНТ
1.1. Наименование, комплектность деталей, а также их обозначения должны соответствовать указанным в табл.1.
1.2. Муфты и соединительные детали (тройники и полумуфты) состоят из чугунной втулки и фланцев, стягиваемых болтами.
1.3. Муфты и соединительные детали должны изготовляться в соответствии с требованиями настоящего стандарта по технической документации, утвержденной в установленном порядке.
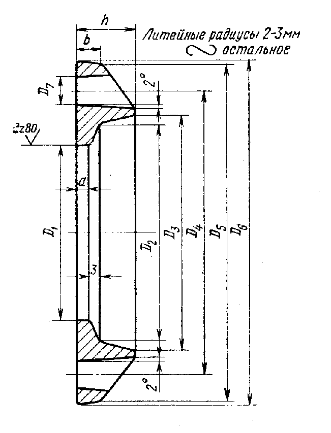
Конструкция, размеры и справочная масса втулок и фланцев, а также размеров болтов должны соответствовать указанным в табл.2-6 и на черт.1-7.
1.4. Допускаемые
отклонения размеров
,
и
втулок
и фланцев должны быть не ниже II класса
точности, а остальных размеров - не ниже
III класса точности по ГОСТ 26645.
1.3, 1.4. (Измененная редакция, Изм. N 1).
Таблица 1
|
|
|
|
|
|
|
|
|
Наименование комплекта
|
Муфта
|
Тройник
|
Полумуфта
|
|||
|
Общий вид
|
|
|
|
|||
|
Наименование деталей
|
Фланец
|
Втулка
|
Фланец
|
Втулка- тройник
|
Фланец
|
Втулка
|
|
Условное обозначение
Номер чертежа Номер таблицы
|
ФЧМ 1 - 3 2
|
ВЧМ 4 3
|
ФЧМ 1 -3 2
|
ВТЧМ 5 4
|
ФЧ 6 5
|
ВЧ 7 6
|
|
Назначение
|
Для соединения труб в водо- и газопроводах
|
Для устройства отводов
|
Для присоединения металлических фланцев арматуры и соединительных частей (ГОСТ 12815,
|
|||
Примечание: Поставка тройников и полумуфт должна производиться с 01.01.74.
Таблица 2
Размеры в мм
|
|
|
|
|
|
|
|
|
|
|
|
|
|
|
|
|
|
|
|
Для асбесто- цементных труб
|
Размеры фланцев ФЧМ
|
Спра- вочная
|
Болты
|
||||||||||||||
|
Услов- ный про- ход
|
Наруж- ный диа- метр
|
D1
|
D2
|
D3
|
D4
|
D5
|
D6
|
D7
|
D8
|
r1
|
r2
|
a
|
h
|
масса, кг
|
диа- метр
|
дли- на
|
кол.
|
|
100
|
122
|
125
|
146
|
150
|
160
|
186
|
176
|
14
|
16
|
16
|
14
|
5
|
23
|
1,4
|
М12
|
110
|
3
|
|
150
|
168
|
171
|
194
|
198
|
208
|
236
|
230
|
20
|
22
|
20
|
18
|
6
|
24
|
2,0
|
М16
|
130
|
3
|
|
200
|
224
|
227
|
252
|
256
|
269
|
297
|
291
|
20
|
22
|
20
|
18
|
6
|
24
|
2,7
|
М16
|
130
|
4
|
|
250
|
274
|
278
|
305
|
309
|
319
|
354
|
345
|
24
|
26
|
24
|
22
|
8
|
30
|
4,3
|
М20
|
160
|
4
|
|
300
|
324
|
328
|
357
|
361
|
373
|
408
|
399
|
24
|
26
|
24
|
22
|
8
|
30
|
5,6
|
М20
|
160
|
5
|
|
350
|
373
|
377
|
408
|
413
|
425
|
465
|
451
|
24
|
26
|
24
|
22
|
9
|
34
|
8,2
|
М20
|
180
|
5
|
|
400
|
427
|
431
|
464
|
469
|
482
|
522
|
508
|
24
|
26
|
24
|
22
|
9
|
34
|
9,0
|
М20
|
180
|
5
|
|
500
|
528
|
533
|
568
|
573
|
585
|
625
|
611
|
24
|
26
|
24
|
22
|
10
|
36
|
11,5
|
М20
|
180
|
5
|
Фланец ФЧМ
для труб
=
100-150 мм

Черт.1
Фланец ФЧМ
для труб
=
200-250 мм
Черт.2
Фланец ФЧМ
для труб
=
300-500 мм
Черт.3
Втулка ВЧМ

Черт.4
Таблица 3
Размеры в мм
|
|
|
|
|
|
|
|
|
|
|
Асбестоцементные трубы
|
Размеры втулок ВЧМ для муфт
|
Спра- вочная
|
||||||
|
Условный проход
|
Наружный диаметр
|
|
|
|
|
|
|
масса, кг
|
|
100 150 200 250 300 350 400 500
|
122 168 224 274 324 373 427 528
|
125 171 227 278 328 377 431 533
|
143 191 249 302 354 405 461 565
|
129 175 231 282 332 382 436 538
|
147 195 253 306 358 410 465 570
|
50 70 70 80 90 90 100 100
|
9 10 11 12 13 14 15 16
|
1,3 2,8 4,0 6,9 8,8 10,9 14,4 19,5
|
Втулка-тройник ВТЧМ

Черт.5
Таблица 4
Размеры в мм
|
|
|
|
|
|
|
|
|
|
|
|
|
|
|
|
|
|
|
|
Асбестоцементные трубы
|
Размеры втулок-тройников ВТЧМ
|
Спра- воч- ная
|
Болты
|
||||||||||||||
|
Условный проход
|
Наружный диаметр
|
|
|
|
|
|
|
|
|
|
|
|
|
мас- са, кг
|
Дли- на
|
Диа- метр
|
Кол.
|
|
100
|
122
|
125
|
143
|
129
|
50
|
102
|
125
|
165
|
20
|
4
|
9
|
17
|
110
|
6,0
|
180
|
М12
|
3
|
|
100
|
122
|
125
|
143
|
129
|
100
|
158
|
180
|
220
|
20
|
4
|
9
|
19
|
160
|
9,0
|
220
|
М12
|
3
|
|
150
|
168
|
171
|
191
|
175
|
50
|
102
|
125
|
165
|
20
|
4
|
10
|
17
|
110
|
7,5
|
180
|
М16
|
3
|
|
150
|
168
|
171
|
191
|
175
|
100
|
158
|
180
|
220
|
20
|
4
|
10
|
19
|
160
|
11,8
|
220
|
М16
|
3
|
|
150
|
168
|
171
|
191
|
175
|
150
|
212
|
240
|
285
|
24
|
8
|
10
|
21
|
210
|
15,5
|
270
|
М16
|
3
|
|
200
|
224
|
227
|
249
|
231
|
50
|
102
|
125
|
165
|
20
|
4
|
11
|
17
|
110
|
9,8
|
180
|
М16
|
4
|
|
200
|
224
|
227
|
249
|
231
|
100
|
158
|
180
|
220
|
20
|
4
|
11
|
19
|
160
|
15,2
|
220
|
М16
|
4
|
|
200
|
224
|
227
|
249
|
231
|
150
|
212
|
240
|
285
|
24
|
8
|
11
|
21
|
210
|
21,3
|
270
|
М16
|
4
|
|
300
|
324
|
328
|
354
|
332
|
100
|
158
|
180
|
220
|
20
|
4
|
13
|
19
|
160
|
20,7
|
250
|
М20
|
5
|
|
300
|
324
|
328
|
354
|
332
|
150
|
212
|
240
|
285
|
24
|
8
|
13
|
21
|
210
|
28,3
|
300
|
М20
|
5
|
Таблица 5
Размеры в мм
|
|
|
|
|
|
|
|
|
|
|
|
|
|
|
|
|
|
Асбестоцементные трубы
|
Размеры фланцев ФЧ
|
Спра- воч- ная
|
Болты
|
||||||||||||
|
Условный проход
|
Наружный диаметр
|
|
|
|
|
|
|
|
|
|
|
мас- са, кг
|
диа- метр
|
длина
|
кол.
|
|
100
|
122
|
125
|
146
|
150
|
180
|
218
|
220
|
19
|
5
|
8
|
23
|
2,4
|
М16
|
140
|
4
|
|
150
|
168
|
171
|
194
|
198
|
240
|
283
|
285
|
23
|
6
|
9
|
24
|
4
|
М20
|
140
|
8
|
|
200
|
224
|
227
|
252
|
256
|
295
|
338
|
340
|
23
|
6
|
9
|
24
|
5
|
М20
|
140
|
8
|
|
250
|
274
|
278
|
305
|
309
|
350
|
393
|
395
|
23
|
8
|
11
|
30
|
7,9
|
М20
|
150
|
12
|
|
300
|
324
|
328
|
357
|
361
|
400
|
443
|
445
|
23
|
8
|
11
|
30
|
8,5
|
М20
|
150
|
12
|
|
350
|
373
|
377
|
408
|
413
|
460
|
502
|
505
|
23
|
9
|
12
|
34
|
12,4
|
М20
|
150
|
16
|
|
400
|
427
|
431
|
464
|
469
|
515
|
562
|
565
|
26
|
9
|
12
|
34
|
14,5
|
М22
|
150
|
16
|
|
500
|
528
|
588
|
533
|
573
|
620
|
667
|
670
|
26
|
10
|
13
|
36
|
20,5
|
М22
|
150
|
20
|
Таблица 6
Размеры в мм
|
|
|
|
|
|
|
|
|
|
Асбестоцементные трубы
|
Размеры втулок ВЧ
|
Справочная масса, кг
|
|||||
|
Условный проход
|
Наружный диаметр
|
|
|
|
|
|
|
|
100 150 200 250 300 350 400 500
|
122 168 224 274 324 373 427 528
|
125 171 227 278 328 377 431 533
|
143 191 249 302 354 405 461 567
|
100 150 200 250 300 350 399 498
|
158 212 268 320 370 430 482 585
|
9 10 11 12 13 14 15 16
|
2,2 3,4 5,0 6,7 8,5 11,2 13,8 18,4
|
Фланец ФЧ

Черт. 6
Втулка ВЧ

Черт.7
2. ТЕХНИЧЕСКИЕ ТРЕБОВАНИЯ
2.1. Втулки и фланцы должны отливаться из чугуна марки не ниже СЧ 12-28 по ГОСТ 1412.
2.2. Отливки деталей не должны иметь дефектов: недолива, неслитин, пригаров, заливов, пористости, трещин, раковин глубиной более 15% номинальной толщины стенки.
Допускается заварка дефектных мест с последующей зачисткой. Общее количество заваренных мест не должно быть более двух на деталь.
При неровной поверхности отливки допускается местная зачистка глубиной не более 1 мм только под гайки или головки болтов.
На изделиях высшей категории качества дефекты не допускаются.
2.3. Втулки должны быть водонепроницаемы и выдерживать без разрушения давление:
25 ати - при условном проходе до 300 мм;
20 ати - при условном проходе св. 300 мм, а втулки муфт высшей категории качества - 30 ати при условном проходе до 300 мм и 25 ати - при условном проходе св.300 мм.
2.4. Поверхности втулок и фланцев должны быть покрыты нефтяным битумом, температура размягчения которого должна быть не ниже 65 °С. Битум должен отвечать требованиям ГОСТ 9812. Покрытие должно быть прочным, гладким и не иметь видимых глазом трещин, не должно быть липким и растворимым в воде. Покрытие поверхности втулок битумом должно производиться после их гидравлического испытания.
Примечание. Поверхности втулок и фланцев муфт, предназначенных для систем мелиорации, допускается покрывать битумным лаком БТ 577 по ГОСТ 5631.
2.5. Размеры болтов и гаек должны соответствовать ГОСТ 7798 и ГОСТ 5915, а технические требования к ним - ГОСТ 1759.0.
Допускается применение болтов грубой точности с уменьшенной головкой по ГОСТ 15590, а также шпилек соответствующей длины и диаметра резьбы по ГОСТ 22042 с гайками.
2.4-2.5. (Измененная редакция, Изм. N 1).
2.6. Болты и гайки должны быть оцинкованы.
Примечание. Допускается по согласованию с потребителем поставка неоцинкованных болтов и гаек.
2.7. Готовые детали должны быть приняты техническим контролем предприятия-изготовителя.
3. МЕТОДЫ ИСПЫТАНИЙ
3.1. Муфты и соединительные детали должны поставляться комплектно партиями. Размер партии устанавливают соглашением между предприятием-изготовителем и потребителем.
3.2. Приемку муфт и соединительных деталей производят путем проведения приемочного контроля по внешнему виду и размерам, а также по водонепроницаемости.
Для проверки по внешнему виду и размерам отбирают 5% фланцев, втулок и др. деталей, а для испытания гидравлическим давлением - 1% втулок от партии, но не менее 5 шт.
При приемке изделий высшей категории качества для проверки по всем показателям отбирают 10% изделий от партии.
Если при контрольной проверке хотя бы одно изделие по какому-либо показателю не будет удовлетворять требованиям настоящего стандарта, производят повторную проверку по этому показателю удвоенного количества изделий, отобранных от той же партии. В случае неудовлетворительных результатов повторной проверки партию бракуют.
(Измененная редакция, Изм. N 1).
3.3. Проверка размеров должна проводиться универсальным инструментом или шаблонами.
3.4. Гидравлические испытания втулок проводят на специальном прессе.
При установке на прессе торцы втулок герметизируют резиновыми кольцами. Испытание проводят нагнетанием воды в испытуемую втулку. Величину давления определяют по манометру.
Под гидравлическим давлением, указанным в п.2.3, втулка должна находиться не менее 15 с. При испытании втулку слегка обстукивают стальным молотком массой 700 г.
Если в процессе этого испытания на наружной поверхности втулки не образуется капелек воды, то ее считают выдержавшей испытание на водонепроницаемость.
3.5. Методы испытаний физико-механических показателей и химического анализа чугуна втулок и фланцев должны соответствовать указанным в ГОСТ 1412 и ГОСТ 22536.0 - ГОСТ 22536.14.
3.6. Температура размягчения битума должна определяться по ГОСТ 11506.
4. МАРКИРОВКА, ТРАНСПОРТИРОВАНИЕ И ХРАНЕНИЕ
4.1. На наружной поверхности каждой муфты или детали должны быть указаны: товарный знак предприятия-изготовителя, буква В на муфтах, предназначенных для систем питьевого водоснабжения, буква М на муфтах для систем мелиорации, условное обозначение детали, диаметр труб, для которых они предназначены, а на втулке-тройнике дополнительно указывают диаметр отвода.
На муфтах и деталях высшей категории качества должно быть нанесено изображение государственного Знака качества. Например, на втулке-тройнике, предназначенной для соединения асбестоцементных труб для мелиорации с диаметром условного прохода 150 мм и устройства отвода с условным проходом 50 мм, должны быть указаны после товарного знака наименование детали и диаметр труб: М-ВТЧМ-150/50, а на фланцах, комплектующих такую втулку, должно быть соответственно указано: М-ФЧ-150.
4.2. Предприятие-изготовитель должно сопровождать каждую партию изделий паспортом (сертификатом), в котором указывают:
а) наименование завода-изготовителя;
б) номер партии;
в) наименование комплекта;
г) результаты гидравлических испытаний втулок;
д) температуру размягчения битума;
е) обозначение настоящего стандарта.
(Измененная редакция, Изм. N 1).
4.3. Втулки, фланцы и болты для муфт, тройников и полумуфт перевозят комплектно, для этого их связывают проволокой или стягивают болтами.
При перевозке чугунных деталей, связанных проволокой, необходимое количество болтов отправляют в ящиках одновременно с чугунными деталями.
4.4. Муфты, тройники и полумуфты должны храниться под навесом уложенными раздельно в стопы и должны быть защищены от воздействия атмосферных осадков.
5. ГАРАНТИИ ИЗГОТОВИТЕЛЯ
5.1. Предприятие-изготовитель должно гарантировать соответствие поставляемых изделий требованиям настоящего стандарта.
5.2. Гарантийный срок эксплуатации (хранения) изделий при условии соблюдения потребителем правил транспортирования и хранения, предусмотренных настоящим стандартом, - 12 мес со дня сдачи муфт (других изделий) в эксплуатацию, но не более 18 мес со дня отгрузки с предприятия, а муфт (других изделий) высшей категории качества - два года со дня сдачи в эксплуатацию, но не более двух с половиной лет со дня отгрузки с предприятия-изготовителя.
Раздел 5. (Введен дополнительно, Изм. N 1).
Текст документа сверен по:
официальное издание
М.: Издательство стандартов, 1994
Хотите оперативно узнавать о новых публикациях нормативных документов на портале? Подпишитесь на рассылку новостей!