ГОСТ 17013-71 Сверла кольцевые твердосплавные. Основные размеры
ГОСУДАРСТВЕННЫЕ СТАНДАРТЫ СОЮЗА ССР
ИНСТРУМЕНТ ТВЕРДОСПЛАВНЫЙ
ДЛЯ ОБРАЗОВАНИЯ
ОТВЕРСТИЙ В СТРОИТЕЛЬНЫХ
МАТЕРИАЛАХ
СВЕРЛА КОЛЬЦЕВЫЕ ТВЕРДОСПЛАВНЫЕ
Основные размеры
ГОСТ 17013-71
МОСКВА - 1973
ГОСУДАРСТВЕННЫЙ СТАНДАРТ СОЮЗА ССР
|
СВЕРЛА КОЛЬЦЕВЫЕ ТВЕРДОСПЛАВНЫЕ Основные размеры Carbide annular drills. Main sizes |
ГОСТ 17013-71 |
Постановлением Государственного комитета стандартов Совета Министров СССР от 3/VI 1971 г. № 1072 срок введения установлен
с 1/1 1973 г.
Несоблюдение стандарта преследуется по закону
1. Настоящий стандарт распространяется на твердосплавные кольцевые сверла для сверления отверстий различного назначения в кирпиче, гипсолите, бетоне и железобетоне (с принудительным удалением буровой мелочи) ручными электрическими сверлильными машинами.
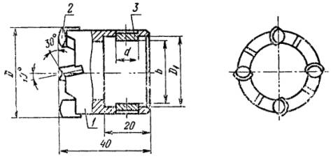
2. Основные размеры сверл должны соответствовать указанным на чертеже и в таблице.

1 - корпус; 2 - пластинка твердосплавная по технической документации, утвержденной в установленном порядке; 3 - шип
Размеры в мм
|
D |
d1 (пред. откл. по А3) |
d |
b |
Количество пластинок |
|
16 |
11 |
4 |
8 |
3 |
|
20 |
15 |
6 |
12 |
|
|
25 |
18 |
15 |
4 |
|
|
(30) |
24 |
21 |
||
|
32 |
10 |
20 |
||
|
(36) |
28 |
24 |
||
|
40 |
32 |
28 |
||
|
(45) |
36 |
32 |
||
|
50 |
42 |
38 |
||
|
75 |
68 |
64 |
6 |
|
|
85 |
78 |
74 |
Примечание. Размеры сверл, заключенные в скобки, применять не рекомендуется.
Пример условного обозначения кольцевого сверла диаметром 16 мм:
Сверло СК-16 ГОСТ 17013-71
Технические требования - по ГОСТ 17017-71.
Хотите оперативно узнавать о новых публикациях нормативных документов на портале? Подпишитесь на рассылку новостей!