ГОСТ 16892-71* Кондукторы скальчатые портальные с пневматическим зажимом. Конструкция
ГОСТ 16892-71
|
МЕЖГОСУДАРСТВЕННЫЙ СТАНДАРТ |
КОНДУКТОРЫ СКАЛЬЧАТЫЕ ПОРТАЛЬНЫЕ С ПНЕВМАТИЧЕСКИМ ЗАЖИМОМ
КОНСТРУКЦИЯ
ИПК ИЗДАТЕЛЬСТВО СТАНДАРТОВ
Москва
ИНФОРМАЦИОННЫЕ ДАННЫЕ
1. РАЗРАБОТАН И ВНЕСЕН Министерством станкостроительной и инструментальной промышленности СССР
РАЗРАБОТЧИКИ
А.З. Старосельский (руководитель темы), В.В. Андреев, В.Г. Карасева, В.Д. Поляков, Л.В. Смирнов, Т.А. Шестакова
2. УТВЕРЖДЕН И ВВЕДЕН В ДЕЙСТВИЕ Постановлением Государственного комитета стандартов Совета Министров СССР от 13.04.71 № 729
3. ВЗАМЕН МН 3228-62, МН 3229-62
4. ССЫЛОЧНЫЕ НОРМАТИВНО-ТЕХНИЧЕСКИЕ ДОКУМЕНТЫ
|
Обозначение НТД, на который дана ссылка |
Номер пункта |
|
ГОСТ 16893-71 |
|
|
ГОСТ 16896-71 |
|
|
ГОСТ 16897-71 |
|
|
ГОСТ 16898-71 |
|
|
ГОСТ 16899-71 |
|
|
ГОСТ 16900-71 |
|
|
ГОСТ 16901-71 |
|
|
ГОСТ 18460-91 |
5. Ограничение срока действия снято Постановлением Госстандарта СССР от 21.02.89 № 279
6. ПЕРЕИЗДАНИЕ (август 1999 г.) с Изменениями № 1, 2, утвержденными в июне 1980 г., феврале 1989 г. (ИУС 8-80, 5-89)
МЕЖГОСУДАРСТВЕННЫЙ СТАНДАРТ
|
КОНДУКТОРЫ СКАЛЬЧАТЫЕ ПОРТАЛЬНЫЕ С ПНЕВМАТИЧЕСКИМ ЗАЖИМОМ Конструкция Portal rack-and-pinion-operated jigs with air-actuated clamp. Design |
ГОСТ |
Дата введения 01.07.72
1. Настоящий стандарт распространяется на скальчатые портальные кондукторы с пневматическим зажимом, предназначенные для закрепления деталей при механической обработке отверстий на сверлильных станках.
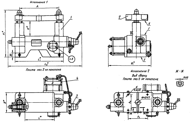
2. Конструкция и основные размеры кондукторов должны соответствовать указанным на чертеже и в таблице.

* Размеры для справок.
1 - корпус; 2 - плита по ГОСТ 16893; 3 - пневмораспределитель по ГОСТ 18467; 4 - цилиндр пневматический
Размеры, мм
|
Обозначения кондуктора |
Плиты по ГОСТ 16893-71 |
Применяемость |
Исполнение |
А (пред. откл. ± 0,01) |
А1 |
А2 |
В |
L |
H |
d (поле допуска H7) |
B1 |
L1 |
L2 |
H1 |
D |
Усиление зажима, H |
Масса, кг ≈ |
||
|
Пред. откл. ± 0,02 |
min |
max |
min |
max |
|||||||||||||||
|
7300-0251 |
7030-1212 |
|
1 |
320 |
- |
- |
160 |
240 |
120 |
180 |
- |
345 |
390 |
598 |
382 |
442 |
125 |
5000 |
65 |
|
7300-0252 |
7030-1222 |
|
2 |
160 |
125 |
12 |
160 |
8500 |
105 |
||||||||||
|
7300-0253 |
7030-1213 |
|
1 |
400 |
- |
- |
220 |
320 |
200 |
- |
415 |
470 |
678 |
422 |
502 |
||||
|
7300-0254 |
7030-1223 |
|
2 |
210 |
180 |
16 |
|||||||||||||
|
7300-0255 |
7030-1214 |
|
1 |
500 |
- |
- |
300 |
420 |
160 |
280 |
- |
530 |
570 |
778 |
462 |
582 |
150 |
||
|
7300-0256 |
7030-1224 |
|
2 |
280 |
250 |
20 |
|||||||||||||
Примечания:
1. Кондукторы исполнения 1 комплектуются плитами типа А, исполнения 1; исполнения 2 - плитами типа Б, исполнения 1. Комплектование другими плитами оговаривается при заказе.
2. Дополнительная комплектация кондукторов принадлежностями по ГОСТ 16896 - ГОСТ 16901 оговаривается при заказе.
Пример условного обозначения кондуктора исполнения 1, размером А - 320 мм:
Кондуктор 7300-0251 ГОСТ 16892-71
3. Допуски параллельности поверхности Г относительно поверхности Е - 0,02 мм на длине 100 мм, поверхности Б относительно поверхности Е - 0,02 мм на длине 100 мм на любой высоте расположения плиты.
(Измененная редакция, Изм. № 2).
4. Технические требования к пневматическому зажиму кондуктора устанавливаются по ГОСТ 18460.
5. Движение плиты должно быть плавным без толчков и заеданий.
6. Маркировать: обозначения кондуктора и настоящего стандарта.
(Измененная редакция, Изм. № 2).
7, 8. (Исключены, Изм. № 2).
Хотите оперативно узнавать о новых публикациях нормативных документов на портале? Подпишитесь на рассылку новостей!
Все ГОСТы >> ГОСТы «Строительная техника и оборудование, грузоперевозки >>