ГОСТ 14098-91. Соединения сварные арматуры и закладных изделий железобетонных конструкции.
ГОСТ 14098-91
Группа Ж33
МЕЖГОСУДАРСТВЕННЫЙ СТАНДАРТ
СОЕДИНЕНИЯ СВАРНЫЕ АРМАТУРЫ И ЗАКЛАДНЫХ ИЗДЕЛИЙ ЖЕЛЕЗОБЕТОННЫХ КОНСТРУКЦИЙ
Типы, конструкции и размеры
Welded joints of reinforcement and inserts for reinforced concrete structures. Types, constructions and dimensions
МКС 91.190
ОКП 58 8000
Дата введения 1992-07-01
ИНФОРМАЦИОННЫЕ ДАННЫЕ
1. РАЗРАБОТАН И ВНЕСЕН Государственным комитетом СССР по строительству и инвестициям
РАЗРАБОТЧИКИ
А.М.Фридман, канд. техн. наук (руководитель темы); Э.Ф.Горохова; Е.Н.Бондарец; Л.А.Зборовский; В.В.Баконин
2. УТВЕРЖДЕН И ВВЕДЕН В ДЕЙСТВИЕ Постановлением Государственного комитета СССР по строительству и инвестициям от 28.11.91 N 19
3. ВЗАМЕН ГОСТ 14098-85
4. ССЫЛОЧНЫЕ НОРМАТИВНО-ТЕХНИЧЕСКИЕ ДОКУМЕНТЫ
|
|
|
|
Обозначение НТД, на который дана ссылка
|
Номер пункта, приложения
|
|
ГОСТ 2601-84
|
|
|
ГОСТ 5264-80
|
|
|
ГОСТ 5781-82
|
|
|
ГОСТ 8713-79
|
|
|
ГОСТ 10884-94
|
|
|
ГОСТ 10922-90
|
|
5. ПЕРЕИЗДАНИЕ. Май 2004 г.
Настоящий стандарт распространяется на сварные соединения стержневой арматуры и арматурной проволоки диаметром 3 мм и более, сварные соединения стержневой арматуры с прокатом толщиной от 4 до 30 мм, выполняемые при изготовлении арматурных и закладных изделий железобетонных конструкций, а также при монтаже сборных и возведении монолитных железобетонных конструкций.
Стандарт устанавливает типы, конструкцию и размеры указанных сварных соединений, выполняемых контактной и дуговой сваркой.
Стандарт не распространяется на сварные соединения закладных изделий, не имеющих анкерных стержней из арматурной стали.
1. Обозначения типов сварных соединений и способов их сварки приведены в табл.1.
Таблица 1
|
|
|
|
|
|
|
Тип сварного соединения
|
Способ и технологические особенности сварки
|
|||
|
Наименование
|
Обозна- чение, номер
|
Наименование
|
Обозначе- ние
|
Положение стержней при сварке
|
|
К1
|
Контактная точечная двух стержней
|
Кт
|
Любое
|
|
|
К2
|
То же, трех стержней
|
Кт
|
|
|
|
К3
|
Дуговая ручная прихватками
|
Рр
|
|
|
С1
|
Контактная стержней одинакового диаметра
|
Ко
|
Горизон- тальное
|
|
|
С2
|
То же, разного диаметра
|
Кн
|
"
|
|
|
С3
|
Контактная стержней одинакового диаметра с последующей механической обработкой
|
Км
|
"
|
|
|
С4
|
То же, с предварительной механической обработкой
|
Кп
|
"
|
|
|
С5
|
Ванная механизированная под флюсом в инвентарной форме
|
Мф
|
"
|
|
|
С6
|
Дуговая механизированная порошковой проволокой в инвентарной форме
|
Мп
|
"
|
|
|
С7
|
Ванная одноэлектродная в инвентарной форме
|
Рв
|
"
|
|
|
С8
|
Ванная механизированная под флюсом в инвентарной форме
|
Мф
|
Верти- кальное
|
|
|
С9
|
Дуговая механизированная порошковой проволокой в инвентарной форме
|
Мп
|
"
|
|
|
С10
|
Ванная одноэлектродная в инвентарной форме
|
Рв
|
"
|
|
|
С11
|
Ванная механизированная под флюсом в инвентарной форме спаренных стержней
|
Мф
|
Горизон- тальное
|
|
|
С12
|
Дуговая механизированная порошковой проволокой в инвентарной форме спаренных стержней
|
Мп
|
"
|
|
|
С13
|
Ванная одноэлектродная в инвентарной форме спаренных стержней
|
Рв
|
"
|
|
|
С14
|
Дуговая механизированная порошковой проволокой на стальной скобе-накладке
|
Мп
|
"
|
|
|
С15
|
Ванно-шовная на стальной скобе-накладке
|
Рс
|
"
|
|
|
С16
|
Дуговая механизированная открытой дугой голой легированной проволокой (СОДГП) на стальной скобе-накладке
|
Мо
|
"
|
|
|
С17
|
Дуговая механизированная порошковой проволокой на стальной скобе-накладке
|
Мп
|
Верти- кальное
|
|
|
С18
|
Дуговая механизированная открытой дугой голой легированной проволокой (СОДГП) на стальной скобе-накладке
|
Мо
|
"
|
|
|
С19
|
Дуговая ручная многослойными швами на стальной скобе- накладке
|
Рм
|
"
|
|
|
С20
|
Дуговая ручная многослойными швами без стальной скобы- накладки
|
Рм
|
"
|
|
|
С21
|
Дуговая ручная швами с накладками из стержней
|
Рн
|
Любое
|
|
|
С22
|
То же, швами с удлиненными накладками из стержней
|
Ру
|
"
|
|
|
С23
|
Дуговая ручная швами без дополнительных технологических элементов
|
Рэ
|
"
|
|
|
С24
|
Ванная механизированная под флюсом в комбинированных несущих и формующих элементах
|
Мф
|
Горизон- тальное
|
|
|
С25
|
Дуговая механизированная порошковой проволокой в комбинированных несущих и формующих элементах
|
Мп
|
"
|
|
|
С26
|
Ванная одноэлектродная в комбинированных несущих и формующих элементах
|
Рс
|
"
|
|
|
С27
|
Ванная механизированная под флюсом в комбинированных несущих и формующих элементах
|
Мф
|
Верти- кальное
|
|
|
С28
|
Дуговая механизированная порошковой проволокой в комбинированных несущих и формующих элементах
|
Мп
|
"
|
|
|
С29
|
Ванная одноэлектродная в комбинированных несущих и формующих элементах
|
Рс
|
"
|
|
|
С30
|
Ванная механизированная под флюсом в комбинированных несущих и формующих элементах спаренных стержней
|
Мф
|
Горизон- тальное
|
|
|
С31
|
Дуговая механизированная порошковой проволокой в комбинированных несущих и формующих элементах спаренных стержней
|
Мп
|
"
|
|
|
С32
|
Ванная одноэлектродная в комбинированных несущих и формующих элементах спаренных стержней
|
Рс
|
"
|
|
Н1
|
Дуговая ручная швами
|
Рш
|
Любое
|
|
|
Н2
|
Контактная по одному рельефу на пластине
|
Кр
|
Горизон- тальное
|
|
|
Н3
|
То же, по двум рельефам на пластине
|
Кп
|
"
|
|
|
Н4
|
Контактная по двум рельефам на арматуре
|
Ка
|
"
|
|
Т1
|
Дуговая механизированная под флюсом без присадочного металла
|
Мф
|
Верти- кальное
|
|
|
Т2
|
Дуговая ручная с малой механизацией под флюсом без присадочного металла
|
Рф
|
"
|
|
|
Т3
|
Дуговая механизированная под флюсом без присадочного металла по рельефу
|
Мж
|
Верти- кальное
|
|
|
Т6*
|
Контактная рельефная сопротивлением
|
Кс
|
"
|
|
|
Т7
|
Контактная непрерывным оплавлением
|
Ко
|
"
|
|
|
Т8
|
Дуговая
механизированная в углекислом газе
|
Мв
|
"
|
|
|
Т9
|
Дуговая ручная в выштампованное отверстие
|
Рв
|
"
|
|
|
Т10
|
Дуговая
механизированная в
|
Мс
|
"
|
|
|
Т11
|
То же, в цекованное отверстие
|
Мц
|
"
|
|
|
Т12
|
Дуговая ручная валиковыми швами в раззенкованное отверстие
|
Рз
|
"
|
|
|
Т13
|
Ванная одноэлектродная в инвентарной форме
|
Ри
|
Горизон- тальное
|
____________
* Соединения Т4 и Т5 (в редакции ГОСТ 14098-85) исключены.
2. Условное обозначение сварного соединения имеет следующую структуру:
Пример условного обозначения стыкового соединения, выполненного ванной механизированной сваркой под флюсом в инвентарной форме, положение стержней вертикальное:
3. Для конструктивных элементов сварных соединений приняты обозначения:
- номер профиля
(номинальный диаметр стержня) по ГОСТ
5781 (на рисунках таблиц изображен условно);
- внутренний
диаметр стержня периодического профиля
по ГОСТ 5781;
- наружный диаметр
стержня периодического профиля по ГОСТ
5781;
- номинальный
меньший диаметр стержня в сварных
соединениях;
- меньший диаметр
выштампованного, раззенкованного или
цекованного отверстия в плоском элементе;
- больший диаметр
выштампованного, раззенкованного или
цекованного отверстия в плоском элементе;
- диаметр рельефа
на плоском элементе;
- диаметр грата
в стыковых и наплавленного металла в
тавровых соединениях;
- диаметр обточенной
части стержня;
- радиус кривизны
рельефа;
- суммарная
толщина стержней после сварки
в месте пересечения;
- ширина сварного
шва; суммарная величина вмятин;
,
- величина вмятин от электродов в
крестобразном соединении;
- величина
осадки в крестобразном соединении;
высота сечения сварного шва;
- высота усиления
наплавленного металла;
- высота усиления
корня сварного шва;
-
высота скобы-накладки;
- глубина
проплавления (Т8, Т9);
- длина сварного
шва;
,
-
зазоры до сварки между торцами стержней
при различных разделках;
- ширина флангового
шва (С24-С32);
- длина скоб-накладок,
накладок и нахлестки стержней;
,
-
длина сварного шва (С22);
-
длина обточенной части одного стержня
(С4);
- общая длина
обточенной части соединений С3 и С4;
- длина вставки
в соединениях типа С11-С13;
- притупления: в
разделке торцов стержней под ванную
сварку; в плоском элементе соединения
Т12;
-
толщина: стальной скобы-накладки,
плоских элементов тавровых и
нахлесточных соединений;
- высота рельефа
и выштампованного профиля на плоском
элементе; катет шва в соединениях С24-С32
и Н1;
- зазор между
стержнем и плоским элементом в соединениях
Н2 и Н3;
- ширина рельефа
на плоском элементе;
-
длина рельефа на плоском элементе;
- высота
наплавленного металла или "венчика"
в тавровых соединениях;
;
- размеры наплавленного металла в
соединении Т13;
,
,
,
,
,
,
,
-
угловые размеры конструкти
вных элементов сварных соединений.
4. Термины и пояснения должны соответствовать приложению 1 и ГОСТ 2601.
5. При выборе рациональных типов сварных соединений и способов сварки следует руководствоваться приложением 2.
6. На конструкции сварных соединений, не предусмотренные настоящим стандартом, следует разрабатывать рабочие чертежи с технологическим описанием условий сварки и ведомственный нормативный документ, учитывающий требования действующих стандартов и утвержденный в установленном порядке.
7. Допускается замена типов соединений и способов их сварки, указанных в чертежах типовых и индивидуальных рабочих проектов зданий и сооружений, на равноценные по эксплуатационным качествам в соответствии с приложением 2.
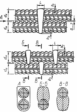
8. Конструкции крестообразных соединений арматуры, их размеры до и после сварки должны соответствовать приведенным на черт.1 и в табл.2, 3.
Черт.1
Таблица 2
|
|
|
|
|
|
|
|
|
|
|
|
|||||||||||||||||||||||||||||||||||||||||||||||||||||||||||||||||||||||||||||||||||||||||||||||||||||||||||||||||||||||||||||||||||||||||||||||||||||||||||||||||||||||||||||||||||||||||||||||||||||||||||||||||||||||||||||||||||||||||||||||||||||||||||||||||||||||||||||||||||||||||||||||||||||||||||||||||||||||||||||||||||||||||||||||||||||||||||||||||||||||||||||||||||||||||||||||||||||||||||||||||||||||||||||||||||||||||||||||||||||||||||||||||||||||||||||||||||||||||||||||||||||||||||||||||||||||||||||||||||||||||||||||||||||||||||||||||||||||||||||||||||||||||||||||||||||||||||||||||||||||||||||||||||||||||||||||||||||||||||||||||||||||||||||||||||||||||||||||||||||||||||||||||||||||||||||||||||||||||||||||||||||||||||||||||||||||||||||||||||||||||||||||||||||||||||||||||||||||||||||||||||||||||||||||||||||||||||||||||||||||||||||||||||||||||||||||||||||||||||||||||||||||||||||||||||||||||||||||||||||||||||||||||||||||||||||||||||||||||||||||||||||||||||||||||||||||||||||
|
Обозна- чение типа соеди- нения, способа сварки
|
Соединение арматуры
|
Класс арма- туры
|
мм
|
Величина ГОСТ
10922 для соединений с отношением
диаметров
|
Минимальная
величина
обеспечива- ющая не- нормируемую прочность
|
|
|||||||||||||||||||||||||||||||||||||||||||||||||||||||||||||||||||||||||||||||||||||||||||||||||||||||||||||||||||||||||||||||||||||||||||||||||||||||||||||||||||||||||||||||||||||||||||||||||||||||||||||||||||||||||||||||||||||||||||||||||||||||||||||||||||||||||||||||||||||||||||||||||||||||||||||||||||||||||||||||||||||||||||||||||||||||||||||||||||||||||||||||||||||||||||||||||||||||||||||||||||||||||||||||||||||||||||||||||||||||||||||||||||||||||||||||||||||||||||||||||||||||||||||||||||||||||||||||||||||||||||||||||||||||||||||||||||||||||||||||||||||||||||||||||||||||||||||||||||||||||||||||||||||||||||||||||||||||||||||||||||||||||||||||||||||||||||||||||||||||||||||||||||||||||||||||||||||||||||||||||||||||||||||||||||||||||||||||||||||||||||||||||||||||||||||||||||||||||||||||||||||||||||||||||||||||||||||||||||||||||||||||||||||||||||||||||||||||||||||||||||||||||||||||||||||||||||||||||||||||||||||||||||||||||||||||||||||||||||||||||||||||||||||||||||||||||||||||||
|
|
до сварки
|
после сварки
|
|
|
1,00
|
0,50
|
0,33
|
0,25
|
|
|
|||||||||||||||||||||||||||||||||||||||||||||||||||||||||||||||||||||||||||||||||||||||||||||||||||||||||||||||||||||||||||||||||||||||||||||||||||||||||||||||||||||||||||||||||||||||||||||||||||||||||||||||||||||||||||||||||||||||||||||||||||||||||||||||||||||||||||||||||||||||||||||||||||||||||||||||||||||||||||||||||||||||||||||||||||||||||||||||||||||||||||||||||||||||||||||||||||||||||||||||||||||||||||||||||||||||||||||||||||||||||||||||||||||||||||||||||||||||||||||||||||||||||||||||||||||||||||||||||||||||||||||||||||||||||||||||||||||||||||||||||||||||||||||||||||||||||||||||||||||||||||||||||||||||||||||||||||||||||||||||||||||||||||||||||||||||||||||||||||||||||||||||||||||||||||||||||||||||||||||||||||||||||||||||||||||||||||||||||||||||||||||||||||||||||||||||||||||||||||||||||||||||||||||||||||||||||||||||||||||||||||||||||||||||||||||||||||||||||||||||||||||||||||||||||||||||||||||||||||||||||||||||||||||||||||||||||||||||||||||||||||||||||||||||||||||||||||||
|
|
|
|
3-5
|
0,35-0,50
|
0,28-0,45
|
0,24-0,40
|
0,22-0,35
|
0,17
|
30-90°
|
|||||||||||||||||||||||||||||||||||||||||||||||||||||||||||||||||||||||||||||||||||||||||||||||||||||||||||||||||||||||||||||||||||||||||||||||||||||||||||||||||||||||||||||||||||||||||||||||||||||||||||||||||||||||||||||||||||||||||||||||||||||||||||||||||||||||||||||||||||||||||||||||||||||||||||||||||||||||||||||||||||||||||||||||||||||||||||||||||||||||||||||||||||||||||||||||||||||||||||||||||||||||||||||||||||||||||||||||||||||||||||||||||||||||||||||||||||||||||||||||||||||||||||||||||||||||||||||||||||||||||||||||||||||||||||||||||||||||||||||||||||||||||||||||||||||||||||||||||||||||||||||||||||||||||||||||||||||||||||||||||||||||||||||||||||||||||||||||||||||||||||||||||||||||||||||||||||||||||||||||||||||||||||||||||||||||||||||||||||||||||||||||||||||||||||||||||||||||||||||||||||||||||||||||||||||||||||||||||||||||||||||||||||||||||||||||||||||||||||||||||||||||||||||||||||||||||||||||||||||||||||||||||||||||||||||||||||||||||||||||||||||||||||||||||||||||||||||
|
|
|
|
|
4-6
|
|
|
|
|
|
|
|||||||||||||||||||||||||||||||||||||||||||||||||||||||||||||||||||||||||||||||||||||||||||||||||||||||||||||||||||||||||||||||||||||||||||||||||||||||||||||||||||||||||||||||||||||||||||||||||||||||||||||||||||||||||||||||||||||||||||||||||||||||||||||||||||||||||||||||||||||||||||||||||||||||||||||||||||||||||||||||||||||||||||||||||||||||||||||||||||||||||||||||||||||||||||||||||||||||||||||||||||||||||||||||||||||||||||||||||||||||||||||||||||||||||||||||||||||||||||||||||||||||||||||||||||||||||||||||||||||||||||||||||||||||||||||||||||||||||||||||||||||||||||||||||||||||||||||||||||||||||||||||||||||||||||||||||||||||||||||||||||||||||||||||||||||||||||||||||||||||||||||||||||||||||||||||||||||||||||||||||||||||||||||||||||||||||||||||||||||||||||||||||||||||||||||||||||||||||||||||||||||||||||||||||||||||||||||||||||||||||||||||||||||||||||||||||||||||||||||||||||||||||||||||||||||||||||||||||||||||||||||||||||||||||||||||||||||||||||||||||||||||||||||||||||||||||||||
|
|
|
|
|
5,5-40
|
0,25-0,50
|
0,21-0,45
|
0,18-0,40
|
0,16-0,35
|
0,12
|
|
|||||||||||||||||||||||||||||||||||||||||||||||||||||||||||||||||||||||||||||||||||||||||||||||||||||||||||||||||||||||||||||||||||||||||||||||||||||||||||||||||||||||||||||||||||||||||||||||||||||||||||||||||||||||||||||||||||||||||||||||||||||||||||||||||||||||||||||||||||||||||||||||||||||||||||||||||||||||||||||||||||||||||||||||||||||||||||||||||||||||||||||||||||||||||||||||||||||||||||||||||||||||||||||||||||||||||||||||||||||||||||||||||||||||||||||||||||||||||||||||||||||||||||||||||||||||||||||||||||||||||||||||||||||||||||||||||||||||||||||||||||||||||||||||||||||||||||||||||||||||||||||||||||||||||||||||||||||||||||||||||||||||||||||||||||||||||||||||||||||||||||||||||||||||||||||||||||||||||||||||||||||||||||||||||||||||||||||||||||||||||||||||||||||||||||||||||||||||||||||||||||||||||||||||||||||||||||||||||||||||||||||||||||||||||||||||||||||||||||||||||||||||||||||||||||||||||||||||||||||||||||||||||||||||||||||||||||||||||||||||||||||||||||||||||||||||||||||
|
|
|
|
|
10-40
|
0,33-0,60
|
0,28-0,52
|
0,24-0,46
|
0,22-0,42
|
0,17
|
|
|||||||||||||||||||||||||||||||||||||||||||||||||||||||||||||||||||||||||||||||||||||||||||||||||||||||||||||||||||||||||||||||||||||||||||||||||||||||||||||||||||||||||||||||||||||||||||||||||||||||||||||||||||||||||||||||||||||||||||||||||||||||||||||||||||||||||||||||||||||||||||||||||||||||||||||||||||||||||||||||||||||||||||||||||||||||||||||||||||||||||||||||||||||||||||||||||||||||||||||||||||||||||||||||||||||||||||||||||||||||||||||||||||||||||||||||||||||||||||||||||||||||||||||||||||||||||||||||||||||||||||||||||||||||||||||||||||||||||||||||||||||||||||||||||||||||||||||||||||||||||||||||||||||||||||||||||||||||||||||||||||||||||||||||||||||||||||||||||||||||||||||||||||||||||||||||||||||||||||||||||||||||||||||||||||||||||||||||||||||||||||||||||||||||||||||||||||||||||||||||||||||||||||||||||||||||||||||||||||||||||||||||||||||||||||||||||||||||||||||||||||||||||||||||||||||||||||||||||||||||||||||||||||||||||||||||||||||||||||||||||||||||||||||||||||||||||||||
|
|
|
|
|
6-40
|
0,40-0,80
|
0,35-0,70
|
0,30-0,62
|
0,28-0,55
|
0,20
|
|
|||||||||||||||||||||||||||||||||||||||||||||||||||||||||||||||||||||||||||||||||||||||||||||||||||||||||||||||||||||||||||||||||||||||||||||||||||||||||||||||||||||||||||||||||||||||||||||||||||||||||||||||||||||||||||||||||||||||||||||||||||||||||||||||||||||||||||||||||||||||||||||||||||||||||||||||||||||||||||||||||||||||||||||||||||||||||||||||||||||||||||||||||||||||||||||||||||||||||||||||||||||||||||||||||||||||||||||||||||||||||||||||||||||||||||||||||||||||||||||||||||||||||||||||||||||||||||||||||||||||||||||||||||||||||||||||||||||||||||||||||||||||||||||||||||||||||||||||||||||||||||||||||||||||||||||||||||||||||||||||||||||||||||||||||||||||||||||||||||||||||||||||||||||||||||||||||||||||||||||||||||||||||||||||||||||||||||||||||||||||||||||||||||||||||||||||||||||||||||||||||||||||||||||||||||||||||||||||||||||||||||||||||||||||||||||||||||||||||||||||||||||||||||||||||||||||||||||||||||||||||||||||||||||||||||||||||||||||||||||||||||||||||||||||||||||||||||||
|
|
|
|
|
6-32
|
0,40-0,60
|
0,35-0,46
|
0,30-0,46
|
0,28-0,42
|
|
|
|||||||||||||||||||||||||||||||||||||||||||||||||||||||||||||||||||||||||||||||||||||||||||||||||||||||||||||||||||||||||||||||||||||||||||||||||||||||||||||||||||||||||||||||||||||||||||||||||||||||||||||||||||||||||||||||||||||||||||||||||||||||||||||||||||||||||||||||||||||||||||||||||||||||||||||||||||||||||||||||||||||||||||||||||||||||||||||||||||||||||||||||||||||||||||||||||||||||||||||||||||||||||||||||||||||||||||||||||||||||||||||||||||||||||||||||||||||||||||||||||||||||||||||||||||||||||||||||||||||||||||||||||||||||||||||||||||||||||||||||||||||||||||||||||||||||||||||||||||||||||||||||||||||||||||||||||||||||||||||||||||||||||||||||||||||||||||||||||||||||||||||||||||||||||||||||||||||||||||||||||||||||||||||||||||||||||||||||||||||||||||||||||||||||||||||||||||||||||||||||||||||||||||||||||||||||||||||||||||||||||||||||||||||||||||||||||||||||||||||||||||||||||||||||||||||||||||||||||||||||||||||||||||||||||||||||||||||||||||||||||||||||||||||||||||||||||||||
|
|
|
|
10-32
|
|
|
|
|
|
|
|||||||||||||||||||||||||||||||||||||||||||||||||||||||||||||||||||||||||||||||||||||||||||||||||||||||||||||||||||||||||||||||||||||||||||||||||||||||||||||||||||||||||||||||||||||||||||||||||||||||||||||||||||||||||||||||||||||||||||||||||||||||||||||||||||||||||||||||||||||||||||||||||||||||||||||||||||||||||||||||||||||||||||||||||||||||||||||||||||||||||||||||||||||||||||||||||||||||||||||||||||||||||||||||||||||||||||||||||||||||||||||||||||||||||||||||||||||||||||||||||||||||||||||||||||||||||||||||||||||||||||||||||||||||||||||||||||||||||||||||||||||||||||||||||||||||||||||||||||||||||||||||||||||||||||||||||||||||||||||||||||||||||||||||||||||||||||||||||||||||||||||||||||||||||||||||||||||||||||||||||||||||||||||||||||||||||||||||||||||||||||||||||||||||||||||||||||||||||||||||||||||||||||||||||||||||||||||||||||||||||||||||||||||||||||||||||||||||||||||||||||||||||||||||||||||||||||||||||||||||||||||||||||||||||||||||||||||||||||||||||||||||||||||||||||||||||||||
_______________
* Здесь и далее размеры соединений арматуры специального назначения классов Aс-II и Ac-III идентичны таковым классов A-II и A-III.
Примечания:
1.
Величины
,
не совпадающие с приведенными, следует
округлять до ближайшей величины,
указанной в таблице.
2.
В соединениях типа К1-Кт из арматуры
классов Aт-IVK и Aт-V диаметрами 10-32 мм
стержни меньшего диаметра
должны
быть из арматуры классов Вр-I, A-I, A-II и
A-III.
Таблица 3
мм
|
|
|
|
|
|
|
|
|
|
Обозначение типа соеди- нения, спо- соба сварки
|
Соединение арматуры
|
Класс арма- туры
|
Марка стали
|
|
|
|
|
|
|
до сварки
|
после сварки
|
|
|
|
|
|
|
К3-Рр
|
|
|
A-I
|
-
|
10-40
|
0,5 но не менее 8
|
0,3 но не менее 6
|
|
|
|
|
A-II
|
Cт5пс
|
10-18
|
|
|
|
|
|
|
|
Cт5сп
|
10-28
|
|
|
|
|
|
|
|
10ГТ
|
10-32
|
|
|
|
|
|
|
A-III
|
25Г2С
|
10-28
|
|
|
|
|
|
|
Aт-IIIC
|
Cт5пс, Cт5сп
|
10-32
|
|
|
|
|
|
|
Aт-IVC
|
25Г2С, 28C, 27ГC
|
|
|
|
|
|
|
|
Aт-IVК
|
08Г2С, 10ГС2
|
|
|
|
|
|
|
|
Aт-V
|
20ГС
|
|
|
|
Примечание. Значение временного сопротивления срезу в соединениях К3-Рр не нормируется. Эксплуатационные характеристики этих соединений при растяжении рабочих стержней приведены в приложении 2.
9. Отношения диаметров стержней следует принимать для соединений типа К1 - от 0,25 до 1,00, типа К2 - от 0,50 до 1,00.
10. Для соединений типов К1 и К2 величину осадки (черт.1) определяют по формулам:
-
для двух стержней
-
для трех стержней
,
где
-
суммарная толщина стержней после сварки
в месте пересечения, мм;
-
суммарная величина вмятин
мм.
Величины
относительных осадок
для
соединений типа К1 должны соответствовать
приведенным в табл.2. Величины относительных
осадок
для
соединений типа К2 следует принимать в
два раза меньше приведенных в табл.2, но
не менее 0,10.
11. Конструкции стыковых соединений арматуры, их размеры до и после сварки должны соответствовать приведенным в табл.4-17.
Таблица 4
Размеры в мм
|
|
|
|
|
|
|
|
|
|
Обозначение типа соедине- ния, спо- соба сварки
|
Соединение арматуры
|
Класс арма- туры
|
|
|
|
±10°
|
|
|
|
до сварки
|
после сварки
|
|
|
|
|
|
|
|
|
|
10-18
|
|
0,85-1,0
|
90°
|
|
|
|
|
|
20-40
|
|
|
|
|
|
|
|
|
10-32
|
|
|
|
|
|
|
|
|
10-22
|
|
|
|
|
|
|
|
|
10-32
|
|
|
|
|
|
|
|
|
|
|
|
|
|
|
|
|
|
|
|
|
|
|
|
|
|
|
|
|
|
|
Примечания:
1. Арматура класса A-IV, кроме стали марки 80С.
2. Арматура класса Aт-V только с использованием локальной термической обработки.
3.
Для отношения
<
0,85 см. п.12.
Таблица 5
Размеры в мм
|
|
|
|
|
|
|
|
|
|
|
|
Обозначе- ние типа соединения, способа сварки
|
Соединение арматуры
|
Класс арма- туры
|
|
|
|
|
|
±10°
|
|
|
|
до сварки
|
после сварки
|
|
|
|
|
|
|
|
|
С3-Км
|
|
|
A-II, A-III
|
10-40
|
|
|
|
|
90°
|
|
|
|
|
A-IV, A-V
|
10-32
|
|
|
|
|
|
|
С4-Кп
|
|
|
A-VI
|
10-22
|
|
|
|
|
|
|
|
|
|
Aт-IIIC, Aт-IVC, Aт-V, Aт-VCK
|
10-32
|
|
|
|
|
|
См. примечания 1, 2 к табл.4.
Таблица 6
Размеры в мм
|
|
|
|
|
|
|
|
|
|
|
|
|
|
|
Обозначение типа соеди- нения, спо- соба сварки
|
Соединение арматуры
|
Класс арма- туры
|
|
|
|
|
-10°
|
|
|
|
|
|
|
|
до сварки
|
после сварки
|
|
|
|
|
|
|
|
|
|
|
|
С5-Мф, С6-Мп, С7-Рв
|
|
|
A-I, A-II, A-III
|
20-40
|
0,5-1,0
|
|
5-12
|
90°
|
10-15°
|
|
|
|
Примечания:
1. Размеры в знаменателе относятся к одноэлектродной сварке.
2.
При отношении
<
1 линейные размеры относятся к стержню
большего диаметра.
Таблица 7
Размеры в мм
|
|
|
|
|
|
|
|
|
|
|
|
|
|
|
|
|
|
Обозначение типа соеди- нения, спо- соба сварки
|
Соединение арматуры
|
Класс арма- туры
|
|
|
|
|
|
-10°
|
|
|
|
|
|
|
|
|
|
до сварки
|
после сварки
|
|
|
|
|
|
|
|
|
|
|
|
|
|
|
С8-Мф, С9-Мп, С10-Рв
|
|
|
A-I, A-II, A-III
|
20-40
|
0,5-1,0
|
|
8-20
|
|
90°
|
40-50°
|
10-15°
|
20-25°
|
|
|
|
Примечания:
1. При сварке одноэлектродной и порошковой проволокой разделку стержней со скосом нижнего стержня производить не следует.
2.
Разделку с обратным скосом нижнего
стержня применять при сварке стержней
диаметром
32
мм.
3. Размеры в знаменателе относятся к одноэлектродной сварке.
4.
При отношении
<
1 линейные размеры относятся к стержню
большего диаметра.
Таблица 8
Размеры в мм
|
|
|
|
|
|
|
|
|
|
|
|
|
|
Обозначение типа соеди- нения, спо- соба сварки
|
Соединение арматуры
|
Класс арма- туры
|
|
|
-10°
|
|
|
|
|
|
|
|
|
до сварки
|
после сварки
|
|
|
|
|
|
|
|
|
|
|
С11-Мф, С12-Мп, С13-Рв
|
|
|
A-III
|
32-40
|
|
90°
|
12-15°
|
|
|
|
|
Примечания:
1.
В соединениях типа С13 разделку под
углом
допускается не производить.
2. Размеры в знаменателе относятся к соединению, в котором сварной шов заполняет полностью сечение двурядной арматуры.
Таблица 9
Размеры в мм
|
|
|
|
|
|
|
|
|
|
|
|
|
|
Обозначение типа соеди- нения, спо- соба сварки
|
Соединение арматуры
|
Класс арма- туры
|
|
|
|
|
|
|
|
|
|
|
|
до сварки
|
после сварки
|
|
|
|
|
|
|
|
|
|
|
|
|
A-I, A-II, A-III
|
20-40
|
0,5-1,0
|
8-12
|
|
|
|
|
|
|
С15-Рс
|
|
|
|
|
|
12-15
|
-
|
|
|
|
|
|
С16-Мо
|
|
|
|
|
|
10-20
|
|
|
|
|
|
|
|
|
Aт-IIIC, Aт-IVC
|
20-32
|
0,5-1,0
|
Те же значения, в зависимости от способа сварки
|
|
|
|
|
|
Примечания:
1.
Для
=
20-25 мм
=
6 мм,
=
28-40 мм
=
8 мм.
2.
При отношении
=
0,5-0,8 следует применять скобу-вкладыш
(см. приложение 3).
Таблица 10
Размеры в мм
|
|
|
|
|
|
|
|
|
|
|
|
|
|
|
|
Обозначение типа соеди- нения, спо- соба сварки
|
Соединение арматуры
|
Класс арма- туры
|
|
|
|
-10°
|
|
|
|
|
|
|
|
|
|
до сварки
|
после сварки
|
|
|
|
|
|
|
|
|
|
|
|
|
С17-Мп
|
|
|
A-I, A-II, A-III
|
20-40
|
0,5-1,0
|
6-8
|
90°
|
30-40°
|
|
|
|
|
|
|
С18-Mo
|
|
|
|
|
|
|
|
|
|
|
|
|
|
|
С19-Рм
|
|
|
|
|
|
|
|
|
|
|
|
|
|
|
С17-Мп С18-Мо С19-Рм
|
|
|
Aт-IIIC, Aт-IVC
|
20-32
|
0,5-1,0
|
|
|
|
|
|
|
|
|
Примечания:
1.
Для
=
20-25 мм
=
6 мм, для
=
28-40 мм
=
8
мм.
2. См. примечание 2 к табл.9.
Таблица 11
Размеры в мм
|
|
|
|
|
|
|
|
|
|
|
|
|
|
|
|
Обозна- чение типа соеди- нения, способа сварки
|
Соединение арматуры
|
Класс арма- туры
|
|
|
|
|
|
|
|
|
|
|
|
|
|
до сварки
|
после сварки
|
|
|
|
|
±2°
|
|
|
||||
|
С20-Рм
|
|
|
A-I, A-II, A-III
|
20-40
|
0,5-1,0
|
3-4
|
55°
|
110°
|
140°
|
25°
|
15°
|
|
|
Таблица 12
мм
|
|
|
|
|
|
|
|
|
|
|
Обозна- чение типа сое- динения, способа сварки
|
Соединение арматуры
|
Класс арма- туры
|
|
|
|
|
|
|
|
|
до сварки
|
после сварки
|
|
|
|
|
|
|
|
С21-Рн
|
|
|
A-I
|
10-40
|
|
но
|
но
|
но
|
|
|
|
|
A-II, A-III
|
|
|
|
|
|
|
|
|
|
A-IV
|
10-32
|
|
|
|
|
|
|
|
|
A-V
|
|
|
|
|
|
|
|
|
|
A-VI
|
10-22
|
|
|
|
|
|
|
|
|
Aт-IIIC
|
6-32
|
|
|
|
|
|
|
|
|
Aт-IVC, Aт-V, Aт-VCK
|
10-32
|
|
|
|
|
Примечания:
1. Соединения арматуры классов A-IV, A-V, A-VI, Aт-VCK, Aт-V следует выполнять со смещенными накладками, накладывая швы в шахматном порядке.
2.
Допускается применять сварку самозащитными
порошковыми проволоками и в углекислом
газе
;
последнее кроме стали классов A-II и
Aт-IIIC.
3.
Допускаются двусторонние швы длиной
4
для соединений арматуры классов
A-I, A-II, A-III.
4. Соединения арматуры класса Aт-V допускаются только из стали марки 20ГС.
Таблица 13
мм
|
|
|
|
|
|
|
|
|
|
|
||||||
|
Обозначение типа соеди- нения, спо- соба сварки
|
Соединение арматуры
|
Класс арма- туры
|
|
|
|
|
|
|
|||||||
|
|
до сварки
|
после сварки
|
|
|
|
|
|
|
|
||||||
|
С22-Рy
|
См. С21, но накладки смещены
|
|
Aт-V
|
14
|
|
|
|
но
|
но
|
||||||
|
|
|
|
|
16
|
|
|
|
|
|
||||||
|
|
|
|
|
18
|
|
|
|
|
|
||||||
|
|
|
|
|
20, 22
|
|
|
|
|
|
||||||
|
|
|
|
|
25, 28
|
|
|
|
|
|
||||||
|
|
|
|
Aт-VI
|
14
|
|
|
|
|
|
||||||
|
|
|
|
|
16
|
|
|
|
|
|
||||||
|
|
|
|
|
18
|
|
|
|
|
|
||||||
|
|
|
|
|
20, 22
|
|
|
|
|
|
||||||
|
|
|
|
|
25, 28
|
|
|
|
|
|
||||||
Таблица 14
мм
|
|
|
|
|
|
|
|
|
|
Обозна- чение типа соединения, способа сварки
|
Соединение арматуры
|
Класс арма- туры
|
|
|
|
|
|
|
|
до сварки
|
после сварки
|
|
|
|
|
|
|
С23-Рэ
|
|
|
A-I
|
10-40
|
|
|
но
|
|
|
|
|
A-II, A-III
|
10-25
|
|
|
|
|
|
|
|
Aт-IIIC
|
10-18
|
|
|
|
|
|
|
|
Aт-IVC
|
10-18
|
|
|
|
Примечания:
1.
Допускаются двусторонние швы длиной
4
для соединений арматуры классов A-I и
A-II (из стали марки 10ГТ).
2.
Допускается применять сварку самозащитными
порошковыми проволоками и в углекислом
газе
;
последнее кроме арматуры классов A-II и
Aт-IIIC (из стали марки Ст5).
Таблица 15
Размеры в мм
|
|
|
|
|
|
|
|
|
|
|
|
|
|
|
Обозначение типа соеди- нения, спо- соба сварки
|
Соединение арматуры
|
Класс арма- туры
|
|
|
|
|
|
|
|
|
|
|
|
|
до сварки
|
после сварки
|
|
|
|
|
|
|
|
|
|
|
|
С24-Мф, С25-Мп, С26-Рc
|
|
|
A-I, A-II, A-III
|
20-40
|
0,5-1,0
|
|
5-10°
|
|
|
|
|
|
|
|
|
Ат-IIIС, Ат-IVC
|
20-32
|
|
|
|
|
|
|
|
|
Примечания:
1. Размеры в знаменателе относятся к одноэлектродной сварке.
2.
Для
=
20-25 мм
=8
мм, для
=
28-40 мм
=
10 мм.
3. См. примечание 2 к табл.9.
Таблица 16
Размеры в мм
|
|
|
|
|
|
|
|
|
|
|
|
|
|
|
|
|
Обозначение типа соедине- ния, способа сварки
|
Соединение арматуры
|
Класс арма- туры
|
|
|
|
|
|
-10°
|
|
|
|
|
|
|
|
|
до сварки
|
после сварки
|
|
|
|
|
|
|
|
|
|
|
|
|
|
С27-Мф С28-Мп С29-Рс
|
|
|
A-I, A-II, A-III
|
20-40
|
0,5-1,0
|
|
|
40-50°
|
90°
|
|
|
|
|
|
|
|
|
Aт-IIIC, Aт-IVC
|
20-32
|
|
|
|
|
|
|
|
|
|
|
Примечания:
1. Размеры в знаменателе относятся к одноэлектродной сварке.
2.
Для
=
20-25 мм
=8
мм, для
=
28-40 мм
=
10 мм.
3. См. примечание 2 к табл.9.
Таблица 17
Размеры в мм
|
|
|
|
|
|
|
|
|
|
|
|
|
|
|
|
Обозначение типа соедине- ния, способа сварки
|
Соединение арматуры
|
Класс арма- туры
|
|
|
-10°
|
|
|
|
|
|
|
|
|
|
|
до сварки
|
после сварки
|
|
|
|
|
|
|
|
|
|
|
|
|
С30-Мф С31-Мп С32-Рc
|
|
|
A-III
|
32-40
|
12-18
|
90°
|
12-15°
|
|
|
|
|
|
10
|
12.
В соединениях типов С2-Кн отношение
допускается
от 0,3 до 0,85 при предварительном нагреве
стержня большего диаметра в режиме
сопротивления, используя для этого
вторичный контур стыковых сварочных
машин и специальные устройства.
13. Конструкции нахлесточных соединений арматуры, их размеры до и после сварки должны соответствовать приведенным в табл.18-21.
Таблица 18
мм
|
|
|
|
|
|
|
|
|
|
|
Обозначение типа соеди- нения, спо- соба сварки
|
Соединение арматуры с пластиной
|
Класс арма- туры
|
|
|
|
|
|
|
|
|
до сварки
|
после сварки
|
|
|
|
|
|
|
|
Н1-Рш
|
|
|
A-I
|
10-40
|
|
|
но
|
|
|
|
|
|
A-II, A-III
|
|
|
|
|
|
|
|
|
|
A-IV
|
10-22
|
но
|
|
|
|
|
|
|
|
A-V
|
10-32
|
|
|
|
|
|
|
|
|
A-VI
|
10-22
|
|
|
|
|
|
|
|
|
Aт-IIIC
|
10-32
|
но
|
|
|
|
|
|
|
|
Aт-IVC, Aт-V, Aт-VCK
|
|
|
|
|
|
Примечания:
1. Соединения арматуры классов Aт-V допускаются только из стали марки 20ГС.
2.
Допускается применять сварку самозащитными
порошковыми проволоками и в углекислом
газе
;
последнее кроме арматуры классов A-II и
Aт-IIIC (из стали марки Ст5).
Таблица 19
Размеры в мм
|
|
|
|
|
|
|
|
|
|
|
|
|
|
Обозначение типа соеди- нения, спо- соба сварки
|
Соединение aрматуры с пластиной
|
Класс арма- туры
|
|
|
|
|
|
|
|
±3°
|
|
|
|
до сварки
|
после сварки
|
|
|
|
|
|
|
|
|
|
|
Н2-Кр
|
|
|
A-I
|
6-16
|
|
|
|
|
|
но не менее 4
|
90°
|
|
|
|
|
A-II
|
10-16
|
|
|
|
|
|
|
|
|
|
|
|
A-III, Aт-IIIC
|
6-16
|
|
|
|
|
|
|
|
Таблица 20
Размеры в мм
|
|
|
|
|
|
|
|
|
|
|
|
|
|
Обозначение типа соеди- нения, спо- соба сварки
|
Соединение aрматуры с пластиной
|
Класс арма- туры
|
|
|
|
|
|
|
|
±3°
|
|
|
|
до сварки
|
после сварки
|
|
|
|
|
|
|
|
|
|
|
Н3-Кп
|
|
|
A-I, A-II
|
12-16
|
|
|
|
|
|
но не менее 4
|
90°
|
|
|
|
|
A-III, Aт-IIIC
|
|
|
|
|
|
|
|
|
Таблица 21
Размеры в мм
|
|
|
|
|
|
|
|
|
|
|
|
|
|
Обозначение типа соеди- нения, спо- соба сварки
|
Соединение aрматуры с пластиной
|
Класс арма- туры
|
|
|
|
|
|
|
|
±3°
|
|
|
|
до сварки
|
после сварки
|
|
|
|
|
|
|
|
|
|
|
Н4-Кa
|
|
|
A-I
|
8-16
|
|
|
|
|
|
4-6
|
90°
|
|
|
|
|
A-II
|
10-16
|
|
|
|
|
|
|
|
|
|
|
|
A-III
|
8-16
|
|
|
|
|
|
|
|
14. Конструкции тавровых соединений арматуры с плоскими элементами закладных изделий, их размеры до и после сварки должны соответствовать приведенным в табл.22-29.
Таблица 22
Размеры в мм
|
|
|
|
|
|
|
|
|
|
|
|
|
Обозначение типа соеди- нения,способа сварки
|
Соединение aрматуры с пластиной
|
Класс арма- туры
|
|
|
|
|
|
|
|
|
|
|
до сварки
|
после сварки
|
|
|
|
|
|
|
|
|
|
Т1-Мф Т2-Рф
|
|
|
A-I
|
8-40
|
|
|
3-10
|
|
|
85-90°
|
|
|
|
|
A-II
|
10-25
|
|
|
|
|
|
|
|
|
|
|
|
28-40
|
|
|
|
|
|
|
|
|
|
|
A-III
|
8-25
|
|
|
|
|
|
|
|
|
|
|
|
28-40
|
|
|
|
|
|
|
|
|
|
|
Aт-IIIC
|
10-18
|
|
|
|
|
|
|
Примечание. Соединения типа Т2 из арматуры класса Aт-IIIC допускается выполнять до диаметра 14 мм.
Таблица 23
Размеры в мм
|
|
|
|
|
|
|
|
|
|
|
|
|
|
|
|
Обозначение типа соеди- нения,способа сварки
|
Соединение aрматуры с пластиной
|
Класс арма- туры
|
|
|
|
|
|
|
|
|
|
|
|
|
|
до сварки
|
после сварки
|
|
|
|
|
|
|
|
|
|
|
|
|
Т3-Мж
|
|
|
A-I
|
8-25
|
|
|
5-15
|
|
|
85-90°
|
|
|
|
|
|
|
|
A-II
|
10-25
|
|
|
|
|
|
|
|
|
|
|
|
|
|
A-III
|
8-25
|
|
|
|
|
|
|
|
|
|
|
|
|
|
Aт-IIIС
|
8-14
|
|
|
|
|
|
|
|
|
|
Таблица 24
Размеры в мм
|
|
|
|
|
|
|
|
|
|
|
|
|
|
Обозначение типа соеди- нения, спо- соба сварки
|
Соединение aрматуры с пластиной
|
Класс арма- туры
|
|
|
|
|
|
|
|
|
|
|
|
до сварки
|
после сварки
|
|
|
|
|
|
|
|
|
|
|
Т6-Kc
|
|
|
A-I
|
6-20
|
|
|
|
|
|
|
|
|
|
|
|
A-II
|
10-20
|
|
|
|
|
|
|
|
|
|
|
|
A-III
|
6-20
|
|
|
|
|
|
|
|
Таблица 25
Размеры в мм
|
|
|
|
|
|
|
|
|
|
|
|
Обозначение типа соеди- нения, спо- соба сварки
|
Соединение aрматуры с пластиной
|
Класс арма- туры
|
|
|
|
|
|
|
|
|
|
до сварки
|
после сварки
|
|
|
|
|
|
|
|
|
Т7-Ko
|
|
|
|
10-20
|
|
|
|
|
85-90°
|
|
|
|
|
|
|
|
|
|
|
|
|
|
|
|
|
22-40
|
|
|
|
|
|
|
|
|
|
|
10-22
|
|
|
|
|
|
Таблица 26
Размеры в мм
|
|
|
|
|
|
|
|
|
|
|
|
|
Обозначение типа соеди- нения, спо- соба сварки
|
Соединение aрматуры с пластиной
|
Класс
арма- туры
|
|
|
|
|
|
|
|
|
|
|
до сварки
|
после сварки
|
|
|
|
|
|
|
|
|
|
|
|
|
10-36
|
|
|
|
|
|
|
|
|
|
|
|
|
|
|
|
|
|
|
|
|
|
|
A-III
|
|
|
|
|
|
|
|
|
|
|
|
Aт-IIIC
|
10-22
|
|
|
|
|
|
|
Таблица 27
Размеры в мм
|
|
|
|
|
|
|
|
|
|
|
|
|
|
Обозначение типа соеди- нения, спо- соба сварки
|
Соединение aрматуры с пластиной
|
Класс арма- туры
|
|
|
|
|
|
|
|
|
|
|
|
до сварки
|
после сварки
|
|
|
|
|
|
|
|
|
|
|
|
|
|
12
|
|
|
|
|
0-1
|
4-5
|
22-26
|
|
|
|
|
|
14
|
|
|
|
|
|
|
26-30
|
|
|
|
|
|
16
|
|
|
|
|
|
|
28-32
|
|
T11-Mц
|
|
|
|
18
|
|
|
|
|
0-2
|
5-6
|
30-35
|
|
|
|
|
|
20
|
|
|
|
|
|
|
35-42
|
|
|
|
|
|
22
|
|
|
|
|
|
|
38-44
|
|
|
|
|
|
25
|
|
|
|
|
|
|
46-48
|
Примечания:
1. Арматура классa Aт-IIIC может применяться диаметром до 18 мм.
2.
Для арматуры классов A-III и Aт-IIIC значение
0,55.
Таблица 28
Размеры в мм
|
|
|
|
|
|
|
|
|
|
|
|
|
|
|
Обозначение типа соеди- нения, спо- соба сварки
|
Соединение aрматуры с пластиной
|
Класс арма- туры
|
|
|
±2
|
|
±5°
|
|
|
при
±1
|
||
|
|
до сварки
|
после сварки
|
|
|
|
|
|
|
|
|
|
|
|
T12-Рз
|
|
|
A-I
|
8-40
|
|
|
1-2
|
2-3
|
50°
|
|
|
|
|
|
|
|
A-II
|
10-40
|
|
|
|
|
|
|
|
|
|
|
|
|
A-III
|
8-40
|
|
|
|
|
|
|
|
|
|
|
|
|
Aт-IIIC
|
8-18
|
|
|
|
|
|
|
|
|
_____________
*
При
12
мм допускается выполнять соединения
без подварочного шва.
Таблица 29
Размеры в мм
|
|
|
|
|
|
|
|
|
|
|
|
|
|
Обозначение типа соеди- нения, спо- соба сварки
|
Соединение aрматуры с пластиной
|
Класс арма- туры
|
|
|
|
|
|
|
|
|
|
|
|
до сварки
|
после сварки
|
|
|
|
|
|
|
|
|
|
|
T13-Ри
|
|
|
A-I, A-II, A-III
|
16
|
|
10-14
|
30
|
24
|
2-3
|
15-20°
|
|
|
|
|
|
|
18
|
|
|
32
|
27
|
|
|
|
|
|
|
|
|
20
|
|
12-16
|
34
|
29
|
|
|
|
|
|
|
|
|
22
|
|
|
38
|
31
|
|
|
|
|
|
|
|
|
25
|
|
|
41
|
33
|
|
|
|
|
|
|
|
|
28
|
|
|
44
|
38
|
|
|
|
|
|
|
|
|
32
|
|
|
52
|
44
|
|
|
|
|
|
|
|
|
36
|
|
|
57
|
47
|
|
|
|
|
|
|
|
|
40
|
|
|
61
|
52
|
|
|
|
15. Механические свойства сварных соединений должны удовлетворять требованиям ГОСТ 10922.
16. Основные типы, конструктивные элементы и размеры сварных соединений из листового, полосового и профильного металлопроката, используемых в закладных и соединительных изделиях железобетонных конструкций, должны удовлетворять требованиям ГОСТ 5264 и ГОСТ 8713.
ПРИЛОЖЕНИЕ 1
Обязательное
ТЕРМИНЫ И ПОЯСНЕНИЯ
Таблица 30
|
|
|
|
Термин
|
Пояснение
|
|
Процесс, при котором расплавление торцов стыкуемых стержней происходит, в основном, за счет тепла ванны расплавленного металла
|
|
Процесс ванной сварки, при котором подача сварочной проволоки в зону сварки производится автоматически, а управление дугой или держателем - вручную
|
|
Процесс ванной сварки, при котором электродный материал в виде одиночного (штучного) электрода подается в зону сварки вручную
|
|
Процесс сварки, при котором электродный материал в виде порошковой проволоки подается в зону сварки автоматически
|
|
Приспособление многоразового (медь, графит) использования, обеспечивающее формирование наплавленного металла при ванной сварке и легкое удаление после сварки
|
|
Вспомогательный элемент, обеспечивающий формирование сварочного шва, являющийся неотъемлемой частью соединения и воспринимающий часть нагрузки при работе соединения в конструкции
|
|
Соединение стержней, сваренных в месте пересечения
|
|
Величина вдавливания стержней друг в друга на участке, нагретом при контактной сварке до пластичного состояния
|
|
Элементы, состоящие из остающейся стальной полускобы-накладки и инвентарной медной полуформы
|
|
Процесс, в котором весь цикл сварки выполняется в заданном автоматическом режиме
|
|
Процесс, в котором вспомогательные операции частично механизированы, а весь цикл сварки выполняется вручную
|
ПРИЛОЖЕНИЕ 2
Cправочное
ОЦЕНКА ЭКСПЛУАТАЦИОННЫХ КАЧЕСТВ СВАРНЫХ СОЕДИНЕНИЙ
Комплексная оценка в баллах эксплуатационных качеств сварных соединений (прочность, пластичность, ударная вязкость, металлографические факторы и др.) в зависимости от типа соединения и способа сварки, марки стали и диаметра арматуры, а также температуры эксплуатации (изготовления) при статических нагрузках приведена в табл.31. При оценке эксплуатационных качеств при многократно повторяемых нагрузках значения баллов следует ориентировочно снижать на один по сравнению с принятыми значениями при статических нагрузках. При этом дополнительно следует пользоваться нормативными документами на проектирование железобетонных конструкций зданий и сооружений различного назначения.
Баллы для сварных соединений арматуры назначены из условия соблюдения регламентированной технологии изготовления арматурных и закладных изделий.
Для сварных соединений горячекатаной арматурной стали:
5 - гарантируется равнопрочность исходному металлу и пластичное разрушение;
4 - сварное соединение удовлетворяет требованиям ГОСТ 5781, предъявляемым к стали в исходном состоянии;
3 - сварное соединение удовлетворяет требованиям ГОСТ 10922, предъявляемым к сварным соединениям.
Для сварных соединений термомеханически упрочненной арматурной стали:
5 - сварное соединение удовлетворяет требованиям ГОСТ 10884, предъявляемым к стали в исходном состоянии, и характеризуется пластичным разрушением;
4 - временное сопротивление разрыву сварного соединения может быть ниже нормируемого по ГОСТ 10884 до 5%;
3 - временное сопротивление разрыву сварного соединения может быть ниже нормируемого по ГОСТ 10884 до 10%.
Оценка эксплуатационных качеств сварных соединений при статической нагрузке
Таблица 31
|
|
|
|
|
|
|
|
|
|
|
|
|
|
|
|
|
|
|
|
|
|
|
|
|
|
|
|
|
Обозна- чение соеди- нения
|
Темпе- ратура эксплуа- тации (изготов- ления), °С
|
Арматурные стали, классы, марки, диаметры, мм
|
||||||||||||||||||||||||
|
|
|
А-II
|
А-III
|
Ат-IIIС
|
A-IV
|
Aт-IVC
|
A-V
|
Aт-V
|
A-VI
|
Aт-VI
|
||||||||||||||||
|
|
|
Ст5сп
|
Ст5пс, Ст5Гпс
|
10ГТ, до 32
|
35ГС
|
25Г2С
|
Ст5сп, Ст5пс
|
20ХГ2Ц, 20ХГ2Т
|
25Г2С, 27ГС, 28С
|
23Х2Г2Т
|
20ГС, 20ГС2
|
22X2Г2С, до 22
|
20ГС, 20ГС2, до 32
|
|||||||||||||
|
|
|
До 28
|
До 40
|
До 28
|
До 40
|
|
До 18
|
До 28
|
До 40
|
До 18
|
До 28
|
До 40
|
До 32
|
|
|
|||||||||||
|
|
5
|
4
|
4
|
5
|
5
|
4
|
5
|
5
|
4
|
5
|
НД
|
5
|
НД
|
4
|
НД
|
4
|
|||||||||
|
|
|
|
|
3
|
|
4
|
|
|
4
|
|
|
|
|
|
|
|
|
|||||||||
|
|
|
4
|
3
|
НД
|
|
3
|
4
|
|
3
|
4
|
|
4
|
|
3
|
|
3
|
||||||||||
|
|
|
НД
|
|
НД
|
3
|
|
|
|
|
|
НД
|
|
НД
|
|||||||||||||
|
|
3
|
НД
|
3
|
НД
|
5
|
НД
|
3
|
НД
|
4
|
НД
|
4
|
НД
|
3
|
НД
|
|||||||||||
|
|
|
НД
|
||||||||||||||||||||||||
|
|
5
|
4
|
5
|
5
|
4
|
5
|
4
|
5
|
4
|
5
|
4
|
НД
|
3
|
НД
|
|||||||||||
|
|
|
|
3
|
|
|
|
|
|
|
|
|
|
|
|
|
|||||||||||
|
|
|
4
|
НД
|
|
4
|
3
|
4
|
3
|
4
|
3
|
4
|
3
|
НД
|
|||||||||||||
|
|
|
НД
|
|
НД
|
3
|
НД
|
3
|
НД
|
3
|
|
|
|||||||||||||||
|
|
5
|
4
|
4
|
5
|
ТН
|
5
|
4
|
ТН
|
5
|
4
|
НД
|
||||||||||||||
|
|
|
4
|
|
3
|
|
|
4
|
3
|
|
4
|
3
|
|
||||||||||||||
|
|
|
3
|
НД
|
|
|
3
|
|
|
|
|
|
|||||||||||||||
|
|
|
НД
|
|
|
НД
|
|
3
|
|
|
|||||||||||||||||
|
|
НЦ
|
3
|
НЦ
|
4
|
НЦ
|
||||||||||||||||||||
|
|
|
|
|
|
3
|
|
||||||||||||||||||||
|
|
|
|
|
|
|
|
||||||||||||||||||||
|
|
|
|
НД
|
|
|
|
||||||||||||||||||||
Продолжение табл.31
|
|
|
|
|
|
|
|
|
|
|
|
|
|
|
|
|
|
|
|
|
|
Обозна- чение соеди- нения
|
Темпе- ратура эксплуа- тации (изготов- ления), °С
|
Арматурные стали, классы, марки, диаметры, мм
|
|||||||||||||||||
|
|
|
А-II
|
А-III
|
Ат-IIIС
|
A-IV
|
Aт-IVC
|
A-V
|
Aт-V
|
A-VI
|
Aт-VI
|
|||||||||
|
|
|
Ст5сп
|
Ст5пс, Ст5Гпс
|
10ГТ, до 32
|
35ГС
|
25Г2С
|
Ст5сп, Ст5пс
|
20ХГ2Ц, 20ХГ2Т
|
25Г2С, 27ГС, 28С
|
23Х2Г2Т
|
20ГС, 20ГС2
|
22X2Г2С, до 22
|
20ГС, 20ГС2, до 32
|
||||||
|
|
|
До 28
|
До 40
|
До 28
|
До 40
|
|
До 18
|
До 28
|
До 40
|
До 18
|
До 28
|
До 40
|
До 32
|
|
|
||||
|
|
5
|
4
|
4
|
5
|
ТН
|
5
|
3
|
ТН
|
5
|
4
|
5
|
НД
|
||||||
|
|
|
4
|
|
3
|
|
|
4
|
|
|
4
|
3
|
|
|
||||||
|
|
|
3
|
НД
|
|
|
3
|
|
|
|
|
4
|
|
|||||||
|
|
|
НД
|
|
|
НД
|
|
3
|
|
3
|
|
|||||||||
|
|
5
|
5
|
4
|
4
|
5
|
ТН
|
5
|
4
|
ТН
|
5
|
5
|
НД
|
||||||
|
|
|
|
4
|
|
3
|
|
|
4
|
|
|
|
4
|
|
||||||
|
|
|
4
|
3
|
3
|
|
|
|
3
|
|
4
|
|
|
|||||||
|
|
|
НД
|
4
|
|
НД
|
|
3
|
3
|
|
||||||||||
|
|
5
|
5
|
5
|
4
|
5
|
5
|
4
|
5
|
5
|
5
|
4
|
5
|
4
|
4
|
||||
|
|
|
|
4
|
4
|
|
|
|
|
|
4
|
|
|
|
|
3
|
||||
|
|
|
4
|
3
|
|
4
|
3
|
4
|
|
4
|
3
|
4
|
3
|
3
|
|
|||||
|
|
|
3
|
|
|
3
|
|
3
|
|
НД
|
|
НД
|
|
НД
|
НД
|
|||||
|
|
НЦ
|
4
|
НД
|
4
|
||||||||||||||
|
|
|
|
3
|
|
3
|
||||||||||||||
|
|
|
|
|
|
|
||||||||||||||
|
|
|
|
НД
|
|
НД
|
||||||||||||||
|
|
4
|
НД
|
4
|
НД
|
5
|
4
|
НД
|
4
|
НД
|
4
|
НД
|
4
|
НД
|
|||||
|
|
|
|
|
3
|
|
|
|
|
|
|
|
|
|
|
|||||
|
|
|
3
|
|
НД
|
|
4
|
3
|
|
3
|
|
3
|
|
3
|
|
|||||
|
|
|
НД
|
|
|
|
|
НД
|
|
|
|
|
|
|
|
|||||
Продолжение табл.31
|
|
|
|
|
|
|
|
|
|
|
|
|
|
|
|
|
|
|
|
|
|
Обозна- чение соеди- нения
|
Темпе- ратура эксплуа- тации (изготов- ления), °С
|
Арматурные стали, классы, марки, диаметры, мм
|
|||||||||||||||||
|
|
|
А-II
|
А-III
|
Ат-IIIС
|
A-IV
|
Aт-IVC
|
A-V
|
Aт-V
|
A-VI
|
Aт-VI
|
|||||||||
|
|
|
Ст5сп
|
Ст5пс, Ст5Гпс
|
10ГТ, до 32
|
35ГС
|
25Г2С
|
Ст5сп, Ст5пс
|
20ХГ2Ц, 20ХГ2Т
|
25Г2С, 27ГС, 28С
|
23Х2Г2С
|
20ГС, 20ГС2
|
22X2Г2С, до 22
|
20ГС, 20ГС2, до 32
|
||||||
|
|
|
До 28
|
До 40
|
До 28
|
До 40
|
|
До 18
|
До 28
|
До 40
|
До 18
|
До 28
|
До 40
|
До 32
|
|
|
||||
|
|
5
|
5
|
5
|
5
|
5
|
ТН
|
5
|
4
|
ТН
|
5
|
4
|
5
|
НД
|
|||||
|
|
|
|
4
|
|
4
|
|
|
|
|
|
|
|
|
|
|||||
|
|
|
4
|
|
3
|
|
|
4
|
3
|
|
4
|
|
|
|||||||
|
|
|
3
|
|
|
|
3
|
|
|
3
|
4
|
|
||||||||
|
|
НЦ
|
4
|
НЦ
|
4
|
НД
|
|||||||||||||
|
|
|
|
3
|
|
3
|
|
|||||||||||||
|
|
|
|
|
|
|
|
|||||||||||||
|
|
|
|
НД
|
|
НД
|
|
|||||||||||||
|
|
4
|
3
|
4
|
3
|
5
|
5
|
4
|
3
|
5
|
4
|
4
|
5
|
4
|
5
|
4
|
|||
|
|
|
|
|
3
|
|
|
|
|
|
|
|
3
|
|
3
|
|
3
|
|||
|
|
|
|
НД
|
|
4
|
3
|
|
4
|
3
|
|
4
|
|
4
|
|
|||||
|
|
|
3
|
|
4
|
НД
|
3
|
|
НД
|
3
|
НД
|
3
|
НД
|
|||||||
|
|
5
|
НД
|
5
|
НД
|
5
|
5
|
НД
|
5
|
НД
|
5
|
НД
|
|||||||
|
|
|
|
|
|
|
|
|
|
|
|
|
|
|||||||
|
|
|
4
|
|
4
|
|
|
4
|
|
4
|
|
4
|
|
|||||||
|
|
|
3
|
|
3
|
|
|
3
|
|
|
|
|
|
|||||||
|
|
5
|
4
|
5
|
4
|
3
|
5
|
4
|
4
|
НД
|
|||||||||
|
|
|
4
|
3
|
|
|
НД
|
4
|
3
|
|
|
|||||||||
|
|
|
|
|
|
3
|
|
|
|
3
|
|
|||||||||
|
|
|
|
НД
|
4
|
НД
|
|
|
НД
|
|
||||||||||
Продолжение табл.31
|
|
|
|
|
|
|
|
|
|
|
|
|
|
|
|
|
|
|
|
|
|
Обозна- чение соеди- нения
|
Темпе- ратура эксплу- атации (изготов- ления), °С
|
Арматурные стали, классы, марки, диаметры, мм
|
|||||||||||||||||
|
|
|
А-II
|
А-III
|
Ат-IIIС
|
A-IV
|
Aт-IVC
|
A-V
|
Aт-V
|
A-VI
|
Aт-VI
|
|||||||||
|
|
|
Ст5сп
|
Ст5пс, Ст5Гпс
|
10ГТ, до 32
|
35ГС
|
25Г2С
|
Ст5сп, Ст5пс
|
20ХГ2Ц, 20ХГ2Т
|
25Г2С, 27ГС, 28С
|
23Х2Г2С
|
20ГС, 20ГС2
|
22X2Г2С, до 22
|
20ГС, 20ГС2, до 32
|
||||||
|
|
|
До 28
|
До 40
|
До 28
|
До 40
|
|
До 18
|
До 28
|
До 40
|
До 18
|
До 28
|
До 40
|
До 32
|
|
|
||||
|
|
5
|
НД
|
4
|
НД
|
5
|
4
|
НД
|
5
|
4
|
НД
|
||||||||
|
|
|
|
|
|
|
|
|
|
|
|
|
||||||||
|
|
|
4
|
|
3
|
|
|
3
|
|
4
|
3
|
|
||||||||
|
|
|
3
|
|
|
|
4
|
|
|
3
|
|
|
||||||||
|
|
5
|
4
|
5
|
4
|
5
|
4
|
4
|
5
|
4
|
4
|
5
|
НД
|
||||||
|
|
|
|
|
4
|
|
|
|
3
|
|
|
3
|
|
|
||||||
|
|
|
4
|
3
|
|
3
|
|
3
|
|
4
|
3
|
|
4
|
|
||||||
|
|
|
3
|
НД
|
3
|
НД
|
4
|
|
НД
|
3
|
|
НД
|
|
|
||||||
|
|
5
|
4
|
5
|
4
|
5
|
5
|
4
|
5
|
4
|
3
|
НД
|
|||||||
|
|
|
|
|
|
|
|
4
|
|
|
|
|
|
|||||||
|
|
|
4
|
3
|
4
|
3
|
|
|
3
|
4
|
3
|
|
|
|||||||
|
|
|
3
|
|
3
|
|
4
|
3
|
|
3
|
|
|
|
|||||||
|
|
5
|
4
|
4
|
5
|
4
|
5
|
4
|
3
|
НД
|
|||||||||
|
|
|
4
|
|
3
|
|
|
4
|
|
|
|
|||||||||
|
|
|
3
|
3
|
НД
|
|
3
|
|
3
|
|
|
|||||||||
|
|
|
НД
|
НД
|
|
4
|
НД
|
3
|
|
НД
|
|
|||||||||
|
|
5
|
4
|
4
|
5
|
НЦ
|
5
|
4
|
НЦ
|
5
|
4
|
НД
|
|||||||
|
|
|
4
|
|
3
|
|
|
4
|
|
|
4
|
|
|
|||||||
|
|
|
|
3
|
НД
|
|
|
3
|
3
|
|
|
3
|
|
|||||||
|
|
|
3
|
НД
|
|
4
|
|
НД
|
|
3
|
|
|
||||||||
Примечания:
1. Эксплуатационные качества всех типов сварных соединений арматуры класса A-I марок Ст3сп и Ст3пс должны оцениваться так же, как арматуры класса A-II марки 10ГТ, а класса A-I марки Ст3кп - как арматуры класса A-II марки Ст5сп и Ст5пс.
2. Эксплуатационные качества крестообразных соединений проволочной арматуры классов Вр-I и Вр-600 настоящим приложением не регламентируют в связи с отсутствием требований к химическому составу стали. Требования к качеству таких соединений приведены в ГОСТ 10922.
3. Арматура класса A-II марки 10ГТ может применяться до температуры минус 70 °С включ.
4. Сварные соединения арматуры класса Aт-VCK оценивают на один балл ниже соединений из арматуры класса Aт-V при температуре эксплуатации до минус 40 °С включ.
5. Сварные соединения С16-Мо, С18-Мо и Н4-Ка оценивают на один балл ниже соединений, приведенных в той же группе.
6. Буквы НД, ТН и НЦ соответственно обозначают, что соединения к применению не допускаются, соединения технологически невыполнимы и соединения, применение которых нецелесообразно.
ПРИЛОЖЕНИЕ 3
Cправочное
КОНСТРУКЦИЯ И РАЗМЕРЫ СОЕДИНЕНИЙ АРМАТУРЫ С ОТНОШЕНИЕМ ДИАМЕТРОВ ОТ 0,5 ДО 0,8
Таблица 32
С14-Мп, С15-Рс, С16-Мо
|
|
|
|
До сварки
|
После сварки
|
|
|
|
Таблица 33
С24-Мф, С25-Мп, С26-Рс
|
|
|
|
До сварки
|
После сварки
|
|
|
|
Примечание.
Электронный текст документа
подготовлен ЗАО "Кодекс" и сверен по:
официальное издание
М.: ИПК Издательство стандартов, 2004
Хотите оперативно узнавать о новых публикациях нормативных документов на портале? Подпишитесь на рассылку новостей!
Все ГОСТы >> ГОСТы «Металлопрокат, металлоконструкции, метизы, ковка, композитные материалы >>












































































